|
|
(21), (22) Заявка: 2005100320/12, 11.01.2005
(24) Дата начала отсчета срока действия патента:
11.01.2005
(43) Дата публикации заявки: 20.06.2006
(46) Опубликовано: 20.02.2007
(56) Список документов, цитированных в отчете о поиске:
КОЧЕГАРОВ В.Г. и др. Технология и машины лесосечных работ. – М.: Лесная промышленность, 1990. SU 1821091 A1, 15.06.1993. RU 2249942 C2, 10.01.2005. SU 1491407 A1, 07.07.1989. СА 1200735 А, 18.02.1986.
Адрес для переписки:
620100, г.Екатеринбург, Сибирский тракт, 37, Уральский государственный лесотехнический университет, патентный отдел
|
(72) Автор(ы):
Мехренцев Андрей Вениаминович (RU), Герц Эдуард Федорович (RU), Иванов Виктор Вячеславович (RU)
(73) Патентообладатель(и):
ГОУ ВПО Уральский государственный лесотехнический университет (RU)
|
(54) СПОСОБ РАЗРАБОТКИ ЛЕСОСЕКИ ПРИ НЕСПЛОШНЫХ РУБКАХ
(57) Реферат:
Способ разработки лесосеки при несплошных рубках включает разбивку делянок на пасеки, устройство трелевочных волоков, валку назначенных в рубку деревьев вершиной в направлении волока, а также последующую трелевку. Изреживание полупасек осуществляют разрубкой коридоров под углом 30-35° к волоку, причем необходимая степень изреживания достигается за счет коридоров, разрубаемых со смежных волоков. Коридоры, разрубаемые со смежных полупасек, пересекаются, формируя насаждение мозаичной структуры, ячейки которой ограничены разрубленными коридорами. При использовании лесозаготовительных машин с грузонесущим манипулятором с одной рабочей позиции разрубается 2-3 коридора, из которых два разрубаются под углом 30-35°, а третий, дополнительный, – перпендикулярно волоку. Разработка пасеки пересекающимися коридорами обеспечивает возможность изреживания древостоя без риска повреждения деревьев, оставляемых на доращивание, и создает условия эффективного лесовыращивания. 1 з.п. ф-лы, 3 ил., 1 табл.
Изобретение относится к лесной промышленности и лесному хозяйству и может быть использовано при проведении рубок в лесных насаждениях.
Известен способ разработки лесосеки, включающий разбивку ее на пасеки, по середине которой прокладывается волок шириной 3 метра, примыкающий к магистральному волоку, под углом 30-40° к которому с расстоянием 10-20 метров прорубают прямолинейные визиры шириной около 1 метра, таким образом, между визирами, образуются ленты леса шириной 10-20 метров, на которых проводится валка деревьев вершинами в сторону от визиров, по которым деревья, хлысты или сортименты подтрелевываются к трелевочному волоку (Кочегаров В.Г. и др. Технология и машины лесосечных работ. – М: Лесная промышленность, 1990, с.355-357) – прототип.
Известен способ разработки лесосек, включающий вырубку леса на взаимно пересекающихся участках с криволинейными сторонами, участками, близкими по форме к эллипсу формируя оставляемые участки леса в виде фигур, близких по форме к квадратам с вогнутыми сторонами, с шахматным расположением по площади проведения рубок и вызов их с площади рубки по проложенным дорогам с оставлением межкоридорных участков леса (заявка РФ №97102021).
Однако проведение такими способами рубок ориентировано на спелые и перестойные насаждения и не может реализовываться при рубках ухода.
Техническая задача изобретения – снижение вероятности риска повреждения деревьев, оставляемых на доращивание.
Поставленная задача достигается тем, что пасека делится волоком на полупасеки, изреживание которых осуществляется разрубкой коридоров под углом 30-35° к волоку, причем необходимая степень изреживания достигается при валке деревьев бензиномоторной пилой за счет коридоров, разрубаемых со смежных волоков, при этом коридоры пересекаются, формируя насаждение мозаичной структуры, ячейки которой ограничены разрубленными коридорами. При использовании лесозаготовительной машины с грузонесущим манипулятором с одной рабочей позиции разрубается 2-3 коридора, из которых два разрубаются под углом 30-35°, а третий, дополнительный, – перпендикулярно волоку.
Сравнение заявляемого решения с прототипом показывает, что оно отличается от прототипа следующими признаками:
изреживание полупасек осуществляется разрубкой коридоров под углом 30-35° к волоку;
необходимая степень изреживания достигается за счет коридоров разрубаемых со смежных волоков;
коридоры, разрубаемые со смежных полупасек, пересекаются, формируя насаждение мозаичной структуры, ячейки которой ограничены разрубленными коридорами.
Поэтому заявляемое изобретение соответствует критерию «новизна».
Изобретение может быть реализовано с использованием известной техники, поэтому оно соответствует критерию «промышленная применимость».
Сравнение заявляемого решения с другими техническими решениями показывает, что разработка пасеки пересекающимися коридорами обеспечивает возможность изреживания древостоя в заданной степени без риска повреждения деревьев оставляемых на доращивание и создает условия эффективного лесовыращивания, при этом заявляемая совокупность признаков не выявлена при проведении патентно-информационных исследований, поэтому заявляемое изобретение соответствует критерию «изобретательский уровень».
Способ осуществляется в зависимости от системы машин, используемой для проведения рубок следующим образом.
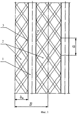
Перед проведением рубки в насаждении делянка делится на пасеки шириной В (Фиг.1), которая при валке назначенных в рубку деревьев бензиномоторной пилой вершиной в направлении волока и последующей трелевке деревьев или хлыстов трактором с чекерным оборудованием или другой лебедочной трелевочной системой определяется как сумма высоты ствола дерева и расстояния выноса каната с учетом длины и усилия, необходимого для выноса каната, и угла примыкания коридора к волоку. B=b+2·(l+hd)·sin , где b – ширина волока, м; l – расстояние выноса каната, м; hd – высота дерева, м; – угол примыкания коридора к волоку, град (Фиг.1).
Трелевочный волок 1 (Фиг.1) прокладывается посередине пасеки и делит ее на две полупасеки 2 (Фиг.1) шириной bn (Фиг.1).
С целью уменьшения риска повреждения деревьев, оставляемых на доращивание, отвод и валка деревьев на полупасеках начинается в непосредственной близости от волока с постепенным удалением.
Каждое следующее дерево для валки назначается из числа тех, которые могут быть повалены на свободную площадку, образованную с учетом предыдущего поваленного дерева, располагавшегося ближе к волоку.
Таким образом, формируется коридор 3 (Фиг.1), ширина которого bk обеспечивает беспрепятственную валку деревьев с шириной кроны ba. Величина угла примыкания коридора к волоку с учетом условия минимального повреждения деревьев, оставляемых на доращивание, составляет не более 30-35°.
Длина разрубаемого коридора lk определяется как сумма высоты ствола дерева и расстояния выноса каната:
lk=l+hd.
Необходимая степень изреживания С может быть достигнута за счет изменения расстояния между коридорами и их шириной. Расстояния между коридорами а (Фиг.1) и угол их примыкания к волоку определяют площадь и форму формируемых ячеек.

где а – расстояние между коридорами, м (Фиг.1).

где Sc – площадь сформированной ячейки, м2.
При использовании манипуляторной лесозаготовительной машины, например ЛП-19А (ЛЗМ), разработка пасеки осуществляется следующим образом. На каждой рабочей позиции (Фиг.2 п.6, Фиг.3 п.8) ЛЗМ разрубает волок и технологические коридоры от 1 до 3, которые располагаются перпендикулярно (Фиг.2 п.5, Фиг.3 п.9) или под углом 30-45° к волоку (Фиг.2 п.4, Фиг.3 п.7), используя вылет манипулятора. На смежных волоках рабочие позиции могут располагаться в шахматном порядке (Фиг.2) или на прямых, перпендикулярных волокам (Фиг.3). Ширина пасеки В в этом случае будет определяться как сумма ширины волока и длины разрабатываемого коридора с учетом максимального вылета манипулятора и угла примыкания коридора к волоку.
В=b+2·R·sin( )
Величина угла примыкания коридора к волоку определяется с учетом условия минимального повреждения деревьев, оставляемых на доращивание, а также эффективного вылета манипулятора и расстояния между коридорами.

где а – расстояние между стоянками ЛЗМ, м (Фиг.2, Фиг.3);
R – эффективный вылет манипулятора, м.
Длина разрубаемого коридора lk определяется длиной эффективного вылета манипулятора.
Необходимая степень изреживания С может быть достигнута за счет изменения расстояния между рабочими позициями ЛЗМ на смежных волоках и, соответственно, угла примыкания коридора к волоку (Фиг.3).
Для сравнительного анализа предлагаемого способа рубки и известных способов в условиях Урала были взяты таксационные характеристики реальной лесосеки. Теоретический расчет предлагаемого способа велся по усредненным значениям, по формулам приведенным выше. В качестве сравнения были использованы результаты исследования равномерных способов рубки (Г.К.Виногоров, Ю.Н.Ягудин. Основные технологические принципы несплошных рубок. Труды ЦНИИМЭ, 1974, сб.141, с 15-27). Результаты проведения сравнительного анализа представлены в табл. №1.
Применение данного способа позволит сократить суммарный экологический ущерб на 29-38% по сравнению с известными способами за счет уменьшения числа поврежденных деревьев и уничтоженного подроста.
При валке деревьев бензомоторной пилой и трелевке деревьев или хлыстов трактором с чекерным оборудованием или другой лебедочной трелевочной системой изреживание полупасек осуществляется за счет разрубки коридоров, доля которых определяется степенью изреживания при реализации заданного способа рубок. При этом исключается повреждение элементов леса между коридорами в процессе валки и будет максимально снижено при перемещении деревьев или хлыстов на волок к месту формирования пачки для трелевки. Оставление отбойного дерева в точке примыкания коридора к пасечному волоку практически исключит повреждение деревьев, оставляемых на доращивание и подрост.
При использовании ЛЗМ с грузонесущим манипулятором создаются более благоприятные условия для сохранения лесорастительной среды и уменьшения площади лесосеки, занятой волоками. А также повышается ее производительность в связи с тем, что не требуются большие затраты времени на заезды на полупасеки и выезды с них, так как с одной рабочей позиции разрубается 2-3 коридора.
Таблица 1. Сравнительная оценка способов рубки |
| Параметры |
Предлагаемый способ рубки |
Разработка леса широкими пасеками |
Разработка леса пасеками средней ширины |
Разработка леса узкими пасеками |
| 1 |
2 |
3 |
4 |
5 |
| Площадь лесосеки, га |
8,1 |
8,1 |
8,1 |
8,1 |
| Состав насаждения |
10С |
10С |
10C |
10C |
| Общее количество деревьев, шт |
6480 |
6480 |
6480 |
6480 |
| Возраст древостоя, лет |
80 |
80 |
80 |
80 |
| Тип леса |
С-брус |
С-брус |
С-брус |
С-брус |
| Полнота |
0,6 |
0,6 |
0,6 |
0,6 |
| Запас, м3/га |
160 |
160 |
160 |
160 |
| Средний объем хлыста, м3 |
0,58 |
0,58 |
0,58 |
0,58 |
| Ширина пасеки, м |
30-60 |
60-100 |
35-60 |
20-30 |
| Ширина волока, м |
3-5 |
3-5 |
3-5 |
3-5 |
| Ширина разрубаемого коридора, м |
2-4 |
– |
– |
– |
| Расстояние между коридорами, м |
5-20 |
– |
– |
– |
| Площадь формируемой ячейки, м2 |
10-30 |
– |
– |
– |
| Деревья, подлежащие валке, % |
20 |
20 |
20 |
20 |
| Деревья, мешающие валке (включая подрост), % |
– |
29 |
26 |
24 |
| Поврежденные деревья (включая подрост), % |
17-18 |
27 |
25 |
23 |
| Мешающие и поврежденные деревья (включая подрост), % |
17-18 |
56 |
51 |
47 |
Заявляемый способ разработки лесосеки по сравнению с известными позволит выполнить рубки ухода и главного пользования низкой интенсивности:
– минимизация повреждений компонентов формируемого насаждения;
– усиление роста остающихся на доращивание деревьев;
– сохранение производительности почв, водоохранно-защитных и других экологических функций.
Формула изобретения
1. Способ разработки лесосеки при несплошных рубках в лесных насаждениях, включающий разбивку делянок на пасеки, устройство трелевочных волоков, валку назначенных в рубку деревьев вершиной в направлении волока, а также последующую трелевку, отличающийся тем, что изреживание полупасек осуществляют разрубкой коридоров под углом 30-35° к волоку, причем необходимая степень изреживания достигается за счет коридоров, разрубаемых со смежных волоков, при этом коридоры, разрубаемые со смежных полупасек, пересекаются, формируя насаждение мозаичной структуры, ячейки которой ограничены разрубленными коридорами.
2. Способ по п.1, отличающийся тем, что при использовании лесозаготовительной машины с грузонесущим манипулятором с одной рабочей позиции разрубают 2-3 коридора, из которых два разрубают под углом 30-35°, а третий, дополнительный, – перпендикулярно волоку.
РИСУНКИ
MM4A – Досрочное прекращение действия патента СССР или патента Российской Федерации на изобретение из-за неуплаты в установленный срок пошлины за поддержание патента в силе
Дата прекращения действия патента: 12.01.2007
Извещение опубликовано: 20.06.2008 БИ: 17/2008
|
|