|
|
(21), (22) Заявка: 2005117518/12, 07.06.2005
(24) Дата начала отсчета срока действия патента:
07.06.2005
(46) Опубликовано: 20.02.2007
(56) Список документов, цитированных в отчете о поиске:
SU 227746 А, 25.09.1968. SU 254927 А, 17.10.1969. RU 2256316 C1, 20.07.2005. RU 2249936 C1, 20.04.2005. SU 1261575 A1, 07.10.1986.
Адрес для переписки:
440014, г.Пенза, ул. Ботаническая, 30, ФГОУ ВПО “Пензенская государственная сельскохозяйственная академия”
|
(72) Автор(ы):
Щербаков Сергей Иванович (RU), Ивлиев Евгений Сергеевич (RU)
(73) Патентообладатель(и):
ФГОУ ВПО “Пензенская государственная сельскохозяйственная академия” (RU)
|
(54) УСТРОЙСТВО ДЛЯ ВНУТРИПОЧВЕННОГО ЛОКАЛЬНОГО ВНЕСЕНИЯ МИНЕРАЛЬНЫХ УДОБРЕНИЙ
(57) Реферат:
Изобретение относится к сельскохозяйственному машиностроению и может быть использовано при допосевном внутрипочвенном локально-ленточном внесении удобрений. Устройство содержит однодисковый сошник, включающий поводок-корпус, плоский диск, семянаправитель, туконаправитель, ограждающий щиток с окном и пятой туконаправитель смонтирован на однодисковом сошнике и снабжен установленным непосредственно за ограждающим щитком делителем минеральных удобрений. Делитель выполнен в виде конуса с углом при вершине. Вершина конуса делителя расположена строго в плоскости симметрии туконаправителя. Семянаправитель выполнен в виде двух отдельных патрубков, каждый из которых установлен на отдельном, независимом однодисковом сошнике. Однодисковые сошники установлены с возможностью регулирования глубины и ширины хода независимо друг от друга в широких пределах. Такое конструктивное выполнение позволит повысить эффективность использования минеральных удобрений путем внесения основной дозы минеральных удобрений при посеве в стороне и ниже посевного материала и обеспечить плотный контакт туков с почвой. 5 ил.
Изобретение относится к сельскохозяйственному машиностроению, в частности к устройствам для заделки основной дозы минеральных удобрений при допосевном внутрипочвенном локально-ленточном внесении.
Известны устройства для внутрипочвенного локального внесения минеральных удобрений при посеве зерновых культур. Например: однодисковый сошник А.С. СССР №227746, МПК А 01 C 7/20, БИ №30, 25.09.68, двухстрочный килевидный сошник А.С. СССР №254917, МПК А 01 С 7/20, БИ №32 от 17.10.69, однодисковый сошник А.С. 207509, МПК А 01 С 7/20, БИ №2 от 22.12.67, комбинированный сошник А.С. 193196, МПК А 01 С 7/20, БИ №6 от 02.03.67 и др.
Указанные устройства обладают рядом недостатков: не обеспечивают стабильную заделку удобрений по глубине и ширине высевающего рядка; не обеспечивают плотного контакта удобрений с почвой; внесение удобрений происходит практически в зону размещения зернового рядка, что согласно агротехническим требованиям является недопустимым при внесении основной дозы минеральных удобрений при посеве; хаотичное (не фиксированное) расположение тукового рядка относительно зернового, что не соответствует агротребованиям дифференцированного применения минеральных удобрений; отсутствует регулировка глубины и ширины хода тукового сошника относительно зернового; поднятие почвы рабочими органами.
Известно устройство для локального внесения минеральных удобрений при посеве (А.С. 193196, МПК А 01 С 7/20, БИ №6 от 02.03.67), включающее в себя установленные на общей оси два разновеликих диска. Малый диск снабжен патрубком для высева семян, большой диск – патрубком для высева туков. Нижний конец тукового патрубка смещен вперед и расположен ниже выпускного зернового патрубка. На концах патрубков установлены направители, выполненные в виде плоских пластин.
Недостатками данного устройства являются: невозможность внесения основной дозы минеральных удобрений при посеве в виду того, что большая доза туков из-за тонкой почвенной прослойки может сжечь корневую систему растений; нестабильный процесс размещения зернового рядка из-за постоянного воздействия следом идущего тукового патрубка; не обеспечивается плотного контакта вносимых туков с почвой.
Известно устройство для локального внесения минеральных удобрений при посеве (А.С. 207509, МПК А 01 С 7/20, БИ №2 от 22.12.67), содержащее корпус, плоский диск, установленный под углом к направлению движения и к поверхности почвы, семянаправитель и туконаправитель, чистик и ограждающий щиток.
Недостатками данного устройства являются: внесение минеральных удобрений происходит в зону размещения посевного материала, что исключает возможность внесения основной дозы минеральных удобрений при посеве; хаотичное (не фиксированное) расположение тукового рядка относительно зернового, что не соответствует агротребованиям дифференцированного применения минеральных удобрений; не обеспечивается плотного контакта вносимых туков с почвой.
Известно устройство для локального внесения минеральных удобрений при посеве (А.С. СССР №254917, МПК А 01 С 7/20, БИ №32 от 17.10.69), состоящего из наральника с крепящимся к нему семенным каналом, в котором установлен распределитель, ножа-питателя с каналом для удобрений.
Недостатками данного устройства являются: отсутствие регулировки глубины и ширины расположения минеральных удобрений относительно зернового рядка; поднятие почвы крайними зерновыми ножами-питателями, вследствие чего не обеспечивается плотного контакта вносимых туков с почвой.
Из известных наиболее близким по технической сущности является однодисковый сошник (А.С. СССР №227746, МПК А 01 С 7/20, БИ №30 25.09.68), состоящего из поводка-корпуса, плоского диска, установленного под углом к направлению движения и поверхности почвы, семянаправителя и туконаправителя, ограждающего щитка с окном и пятой, установленной под углом к поверхности оградительного щитка. Во время работы диск сошника открывает борозду, в которую высеваются туки, закрываемые частично почвой, осыпающейся через окно в щеке, и дополнительно почвой, осыпающейся под действием пяты, которая образует борозду с уплотненным дном для семян. Семена засыпаются почвой заделывающими органами.
Недостатками данного устройства являются: нечеткое разделение минерального и зернового рядков – возможность перекрытия бороздок; невозможность внесения основной дозы минеральных удобрений при посеве из-за недостаточной зоны почвенной прослойки; невозможность регулирования глубины и ширины расположения минеральных удобрений относительно зернового рядка; нестабильный процесс размещения зернового рядка из-за постоянного воздействия следом идущего тукового патрубка; не обеспечивается плотного контакта вносимых туков с почвой.
Заявленное изобретение направлено на устранение вышеотмеченных недостатков известного устройства. От его использования может быть получен следующий результат: возможность обеспечения стабильного процесса внесения основной дозы минеральных удобрений по ширине и глубине, с фиксированным расположением туков относительно зернового рядка; возможность внесения основной дозы минеральных удобрений при посеве в стороне и ниже посевного материала на требуемых расстояниях, варьируемые в широких пределах (технология дифференцированного применения минеральных удобрений); обеспечение плотного контакта туков с почвой.
Задача решена тем, что в устройстве для внутрипочвенного локального внесения минеральных удобрений установлен туконаправитель у которого непосредственно за ограждающим щитком установлен делитель минеральных удобрений, представляющий собой конус с углом при вершине, причем вершина конуса делителя расположена строго в плоскости симметрии туконаправителя, а семянаправитель выполнен в виде двух отдельных патрубков, каждый из которых установлен на отдельном независимом друг от друга однодисковом сошнике с возможностью регулирования глубины и ширины хода однодисковых сошников, независимо друг от друга в широких пределах.
На фиг.1 схематично изображена технологическая схема устройства для дифференцированного внесения стартовой и основной доз минеральных удобрений при посеве зерновых культур.
На фиг.2 показано устройство для внутрипочвенного локального внесения минеральных удобрений в аксонометрической проекции.
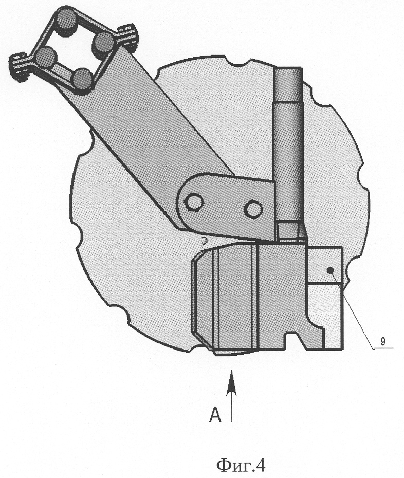
На фиг.3 показан однодисковый сошник с туконаправителем и делителем минеральных удобрений в аксонометрической проекции, на фиг.4 – в ортогональных проекциях фиг.3. Вид А (снизу) на фиг.5 в ортогональной проекции фиг.4.
Устройство для внесения основной дозы минеральных удобрений при посеве включает в себя однодисковый сошник, состоящий из поводка-корпуса 1 (фиг.2, 3), плоского диска 2, установленного на поводке-корпусе под углом к направлению движения и поверхности почвы с закрепленным на поводке-корпусе 1 туконаправителя 4, который, в свою очередь, связан с туковым бункером посредством трубопровода. С боковой стороны к туконаправителю 4 прикреплен ограждающий щиток 5, с окном 6, пятой 7. Непосредственно за ограждающим щитком 5 на туконаправителе 4 установлен делитель минеральных удобрений 9, представляющий собой конус с углом при вершине, причем вершина конуса делителя расположена строго в плоскости симметрии туконаправителя 4. Поводок-корпус опирается на независимую полураму посредством резиновых вставок 8, которые, в свою очередь, играют для него роль демпферного устройства. Семянаправитель 3 выполнен в виде двух отдельных патрубков, каждый из которых соединен с зерновым (туковым и зерновым – в зависимости от технологии посева) бункером и установлен на отдельном независимом друг от друга однодисковом сошнике, прикрепленных также к независимой полураме посредством резиновых вставок 8, с целью регулирования глубины и ширины хода данных однодисковых сошников, независимо друг от друга в широких пределах.
Таким образом, однодисковый сошник с туконаправителем 4 и делителем минеральных удобрений 9 прикреплен к одной независимой полураме, а однодисковые сошники с семянаправителями 3 – к другой, образуя тем самым устройство для внутрипочвенного локального внесения минеральных удобрений.
Работа данного устройства для внутрипочвенного локального внесения минеральных удобрений происходит следующим образом.
При движении устройства для внутрипочвенного локального внесения минеральных удобрений на заданной глубине, почва под действием плоского диска 2, установленного под углом к направлению движения и к поверхности почвы, а также ограждающего щитка 5, перемещается в стороны, что приводит к раскрытию бороздки. Из тукового бункера посредством туконаправителя 4 гранулы туков беспорядочно падают на дно образованной бороздки. В то время, когда бороздка остается еще открытой, а гранулы туков «успокоились», делитель минеральных удобрений 9, жестко прикрепленный на туконаправителе 4 непосредственно за ограждающим щитком 5, представляющий собой конус с углом при вершине, рассекает хаотично образованный рядок, деля его на две равные части. При этом гранулы туков перемещаются в стороны от вершины конуса делителя минеральных удобрений 9 по его наклонным образующим на величину основания конуса, которая выбирается в зависимости от выбранного междурядья и агротехнических требований дифференцированного применения минеральных удобрений при посеве.
Таким образом, происходит внесение основной дозы минеральных удобрений путем внедрения гранул туков двух образованных рядков наклонными образующими конуса делителя минеральных удобрений 9 со строго фиксированным расположением относительно зерновых рядков, образованными следом идущими однодисковыми сошниками с семянаправителями 3, прикрепленными к независимой полураме, с возможностью регулирования глубины и ширины (междурядья) хода в широких пределах, в зависимости от принятой технологии посева. Процесс образования и раскрытия бороздки для однодисковых сошников с семянаправителями 3 аналогичен описанному выше для однодискового сошника с туконаправителем 4 и делителем минеральных удобрений 9, с той лишь разницей, что в семянаправители 3 подаются семена (или семена и стартовая доза минеральных удобрений – в зависимости от технологии посева) из зернового (или зерново-тукового – см. фиг.1) бункера, и хаотично образованная зерновая (или зернотуковая) бороздка не подвергается делению, так как отсутствует делитель на данных сошниках.
Таким образом, гранулы туков внедряются в почву с плотным контактом и приближаются к зерновым рядкам на расстояние, заданное основанием конуса делителя минеральных удобрений, обеспечивая тем самым выполнение агротехнических требований на посев зерновых культур с одновременным дифференцированным внесением минеральных удобрений в стороне и глубже зернового материала.
После прохода устройства для внутрипочвенного локального внесения минеральных удобрений почва, под действием заделывающих органов, закрывает бороздки.
Согласно приведенной технологической схеме устройства для внутрипочвенного локального внесения минеральных удобрений при посеве зерновых культур (фиг.1, 2) на один туконаправитель, выполненный на однодисковом сошнике с делителем минеральных удобрений 9, представляющий собой конус с углом при вершине, приходится два семянаправителя 3, каждый из которых установлен отдельно на независимых однодисковых сошниках.
Формула изобретения
Устройство для внутрипочвенного локального внесения минеральных удобрений, содержащее однодисковый сошник, включающий поводок-корпус, плоский диск, семянаправитель, туконаправитель, ограждающий щиток с окном и пятой, отличающееся тем, что туконаправитель смонтирован на однодисковом сошнике и снабжен установленным непосредственно за ограждающим щитком делителем минеральных удобрений, выполненным в виде конуса с углом при вершине, причем вершина конуса делителя расположена строго в плоскости симметрии туконаправителя, а семянаправитель выполнен в виде двух отдельных патрубков, каждый из которых установлен на отдельном, независимом однодисковом сошнике, при этом однодисковые сошники установлены с возможностью регулирования глубины и ширины хода независимо друг от друга в широких пределах.
РИСУНКИ
MM4A – Досрочное прекращение действия патента СССР или патента Российской Федерации на изобретение из-за неуплаты в установленный срок пошлины за поддержание патента в силе
Дата прекращения действия патента: 08.06.2007
Извещение опубликовано: 27.01.2009 БИ: 03/2009
|
|