|
|
(21), (22) Заявка: 2004117866/09, 29.10.2002
(24) Дата начала отсчета срока действия патента:
29.10.2002
(30) Конвенционный приоритет:
14.11.2001 DE 10156535.6
(43) Дата публикации заявки: 10.01.2006
(46) Опубликовано: 10.02.2007
(56) Список документов, цитированных в отчете о поиске:
RU 2121187 C1, 27.10.1998. SU 1707641 A1, 23.01.1992. JP 58071524 A, 28.04.1983. WO 01/33594 A1, 10.01.2001. DE 3009504 A1, 04.06.1981.
(85) Дата перевода заявки PCT на национальную фазу:
15.06.2004
(86) Заявка PCT:
DE 02/04061 (29.10.2002)
(87) Публикация PCT:
WO 03/046939 (05.06.2003)
Адрес для переписки:
129010, Москва, ул. Б. Спасская, 25, стр.3, ООО “Юридическая фирма Городисский и Партнеры”, пат.пов. Ю.Д.Кузнецову, рег.№ 595
|
(72) Автор(ы):
НОВАКОВСКИ Анджей (DE)
(73) Патентообладатель(и):
СИМЕНС АКЦИЕНГЕЗЕЛЛЬШАФТ (DE)
|
(54) СИЛОВОЙ ВЫКЛЮЧАТЕЛЬ
(57) Реферат:
Изобретение относится к электротехнике, в частности к силовому выключателю с подвижной в аксиальном направлении контакт-деталью и с движущимся в случае коммутации в аксиальном направлении потоком, который коаксиально окружен устройством направления потока, которое имеет в боковой поверхности по крайней мере одно отверстие истечения для отклонения по крайней мере части потока дугогасящего газа в направлении истечения, причем направление истечения направлено тангенциально, в основном перпендикулярно, к аксиальному направлению. Технический результат – повышение эффективности дугогашения за счет оптимизации отклонения потока дугогасящего газа. 6 з.п. ф-лы, 7 ил.
Изобретение относится к силовому выключателю с подвижной в аксиальном направлении контакт-деталью и с движущимся в случае коммутации в аксиальном направлении потоком дугогасящего газа, который коаксиально окружен устройством направления потока, которое имеет в боковой поверхности по крайней мере одно отверстие истечения для отклонения по крайней мере одной части потока дугогасящего газа в направление истечения.
Подобный силовой выключатель является известным, например, из патента DE 19953560 C1. Там описан силовой выключатель, размыкающий блок которого расположен внутри герметизирующего корпуса. Возможно возникающий в процессе выключения размыкающего блока силового выключателя дугогасящий газ там отводится от раствора контактов частично внутри полой контактной трубы. На конце полой контактной трубы, обращенном от раствора контактов, контактная труба имеет выходные отверстия, из которых выступает дугогасящий газ. Дугогасящий газ выходит в пространство, которое ограничено устройством направления потока. Это устройство направления потока является в основном цилиндрическим и содержит в своей боковой поверхности отверстия истечения. Через эти отверстия истечения дугогасящий газ может выступать из ограниченного устройством направления потока пространства и вытекать в окружающий размыкающий блок силового выключателя объем, заполненный изолирующим газом.
Для направления выступающего из отверстий истечения дугогасящего газа в определенное направление в соответствие отверстиям истечения приданы отклоняющие колпаки. Эти отклоняющие колпаки отклоняют выступающий дугогасящий газ в аксиальное направление размыкающего блока. Это отклонение является необходимым, чтобы предотвратить прямое обтекание герметизирующего корпуса дугогасящим газом. При подобном обтекании существовала бы возможность ослабления газовой изоляции.
Придание в соответствие отверстиям истечения отклоняющих колпаков представляет собой сложную конструкцию, поскольку отклоняющие колпаки приданы в соответствие каждому отверстию истечения по отдельности и каждый отклоняющий колпак должен быть по отдельности закреплен на устройстве направления потока. Вследствие относительно сложного размещения отверстий истечения и отклоняющих колпаков относительно друг друга также простой способ изготовления, например способ литья, для подобного расположения не рекомендуется.
В основе настоящего изобретения лежит задача выполнения силового выключателя названного выше вида так, чтобы оптимизировать отклонение дугогасящего газа, выступающего из отверстия истечения.
Эта задача в случае силового выключателя названного выше вида решается согласно изобретению за счет того, что направление истечения направлено тангенциально к боковой поверхности, в основном перпендикулярно, к аксиальному направлению.
За счет тангенциального к боковой поверхности направления истечения участок пути, стоящий в распоряжении для оттока, удлиняется. В случае сложной, имеющей неровности и изрезанной боковой поверхности устройства направления потока для определения тангенциального направления должна определяться соответствующая оболочка, чтобы устанавливать соответственно выгодное тангенциальное направление. Под тангенциальным направлением следует понимать также направления, которые отклоняются от математически строгой касательной до 45° внутри азимутальной плоскости. При соответствующем выборе размеров использование отклоняющих колпаков, которые приданы в соответствие отверстиям истечения, не является необходимым. За счет этого происходит уменьшение числа необходимых деталей и наряду с упрощенным отклонением дугогасящего газа тем самым также уменьшение расходов на изготовление. Вследствие упрощенной конструкции для изготовления направляющего устройства потока могут использоваться также простые технологии литья. Путем фрезерования, сверления или другой подходящей технологии отверстия истечения могут быть введены в боковую поверхность. Наряду с упрощенным направлением дугогасящего газа может достигаться, кроме того, улучшенное завихрение дугогасящего газа.
Далее может быть предусмотрено, что множество отверстий истечения сопоставлены друг с другом так, что их соответствующие направления истечения пересекаются.
Если направления истечения множества сопоставленнных друг с другом отверстий истечения пересекаются, то за счет этого достигается завихрение и охлаждение оттекающего дугогасящего газа. За счет этого завихрения, например, достигается интенсивным образом смешивание загрязненного дугогасящего газа со свежим изолирующим газом. Дополнительные завихрительные устройства тем самым не требуются. Одновременно за счет подобного завихрения предотвращается возможное ослабление газовой изоляции выключателя.
Другая предпочтительная форма выполнения может предусматривать, что устройство направления потока на боковой поверхности содержит возвышение и/или углубление, на боковых сторонах которых расположено/расположены отверстие/отверстия истечения.
Если отверстия истечения поставлены в соответствие возвышениям и/или углублениям, то за счет этого простым образом могут быть выгодно расположены направления истечения отдельных отверстий истечения. При расположении возвышений на устройстве направления потока достигается, кроме того, увеличение пространства, ограниченного устройством направления потока. За счет этого возможным является лучшее охлаждение горячего дугогасящего газа внутри размыкающего блока силового выключателя.
Предпочтительным образом может быть предусмотрено, что направление/направления истечения расположено/расположены вертикально к области боковой поверхности, непосредственно окружающей отверстие/отверстия истечения.
Подобным выполнением достигается выгодное воздействие на направляющее действие отверстий истечения. Так является достаточным при подобном варианте выполнения вводить отверстия истечения в устройство направления потока, например, посредством сверления или фрезерования и отказываться от дополнительных устойств (например, сопел) для улучшения направляющего действия.
В качестве предпочтительной формы выполнения может быть далее предусмотрено, что возвышение/возвышения и/или углубление/углубления проходят в основном в аксиальном направлении подобно перемычке или, соответственно, подобно каналу.
При аксиальном прохождении подобных перемычке или, соответственно, подобных каналу возвышений или углублений, на возвышениях или углублениях получаются выгодные возможности для размещения отверстий истечения вдоль аксиально протяженных боковых поверхностей. За счет продольной протяженности рядом друг с другом в аксиальном направлении могут быть расположены многие отверстия, за счет чего количество истекающего дугогасящего газа вдоль аксиальной протяженности выгодно распределяется. Дополнительно может быть предусмотрено, что возвышения и/или углубления дополнительно поддерживают завихрение дугогасящего газа, выходящего из выходных отверстий. Поддерживающим образом выходным отверстиям могут быть приданы в соответствие дополнительные завихрительные тела или отражательные поверхности для оказания влияния на поток дугогасящего газа.
Наряду с уже описанными вариантами выполнения согласно изобретению, кроме того, предусмотрено выполнять силовой выключатель с подвижной в аксиальном направлении контакт-деталью и с потоком дугогасящего газа, движущимся в случае коммутации в аксиальном направлении, который коаксиально окружен устройством направления потока, которое содержит в боковой поверхности первое и второе отверстия истечения для отклонения по крайней мере части потока дугогасящего газа в первое и второе направления истечения так, что первое и второе направление истечения в основном направлены в аксиальном направлении и первое направление оттока и второе направление оттока пересекаются.
Если предусмотрена возможность истечения дугогасящего газа в основном в аксиальном направлении, то особенно выгодным является, если оба направления оттока двух отверстий истечения пересекаются друг с другом. В области пересечения направлений оттока происходит интенсивное завихрение потоков дугогасящего газа друг с другом, а также при известных условиях с холодным изолирующим газом. Далее, поток дугогасящего газа за счет завихрения после выхода из устройства направления потока замедляется.
Предпочтительная форма выполнения может далее предусматривать, что устройство направления потока содержит на боковой поверхности возвышение и/или углубления, на боковых сторонах которых расположены первое и/или второе отверстия истечения.
За счет расположения отверстий истечения на боковых сторонах возвышений или углублений создана возможность выгодного сопоставления первого и второго отверстий истечения так, что простыми средствами может достигаться пересечение направлений истечения отдельных отверстий истечения.
Далее может быть предусмотрено, что первое и/или второе направления истечения расположены вертикально к областям боковой поверхности, непосредственно окружающим первое и второе отверстия истечения.
Как уже описано, также здесь при подобном расположении отверстий истечения относительно областей боковой поверхности получаются выгодные предпосылки для направляющих действий отверстий истечения. Выходящий дугогасящий газ фокусируется и является просто направляемым на определенную область. Непреднамеренное рассеивание струи дугогасящего газа таким образом сводится к минимуму.
Предпочтительным образом далее может быть предусмотрено, что возвышение/возвышения и/или углубление/углубления проходят вокруг аксиального направления кольцеобразно и/или кольцеобразно с прерываниями.
В случае кольцеобразного и/или кольцеобразного с прерываниями расположения возвышений и/или углублений получается неровная структура боковой поверхности устройства направления потока, за счет чего дугогасящий газ, оттекающий в аксиальном направлении, очень интенсивно завихряется. Неровная структура может обуславливать завихрение дугогасящего газа как внутри устройства направления потока, так и после покидания устройства направления потока.
В последующем изобретение показывается на чертежах на примере выполнения и ниже описывается более подробно.
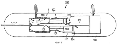
Фигура 1 показывает сечение через схематически представленный силовой выключатель, изолированный сжатым газом,
Фигура 2 – сечение через устройство направления потока и герметизирующий корпус силового выключателя, изолированного сжатым газом,
Фигура 3 – схематическое представление завихрения дугогасящего газа,
Фигура 4 – вид сбоку устройства направления потока в первом варианте выполнения,
Фигура 5 – вид сбоку устройства направления потока во втором варианте выполнения,
Фигура 6 – вид сбоку устройства направления потока в третьем варианте выполнения,
Фигура 7 – вид сбоку устройства направления потока в четвертом варианте выполнения.
Представленный на Фигуре 1 силовой выключатель 100 содержит герметизирующий корпус 101. Герметизирующий корпус 101 может быть изготовлен из электрически проводящего материала или из электрически изолирующего материала. Внутри герметизирующего корпуса 101 расположен размыкающий блок 102 силового выключателя 100. Герметизирующий корпус 101 заполнен изолирующим газом, например SF6. Размыкающий блок 102 содержит контактный узел 103. Контактный узел 103 содержит неподвижный контакт номинального тока 104 и подвижный контакт номинального тока 105. Кроме того, предусмотрены неподвижный дугогасительный контакт 106 и подвижный дугогасительный контакт 107. Как подвижный контакт номинального тока 105, так и подвижный дугогасительный контакт 107 являются подвижными в аксиальном направлении. Нижняя половина Фигуры 1 показывает контактный узел 103 во включенном состоянии, верхняя половина Фигуры 1 показывает контактный узел 103 во время процесса выключения. Подвижный дугогасительный контакт 107 выполнен трубчатым, так что в процессе выключения возникающий посредством горящей при известных обстоятельствах электрической дуги 108 дугогасящий газ внутри подвижного дугогасительного контакта 107 может отводиться от раствора контактов контактного узла 103. На обращенном от контактного узла 103 конце подвижного дугогасительного контакта 107 предусмотрены выходные отверстия 109, 110, из которых дугогасящий газ может выступать в пространство, которое окружено устройством направления потока 1. Расположение устройства направления потока 1 не ограничено областью обращенного к контактному узлу 103 конца подвижного дугогасительного контакта 107. Подобное устройство направления потока 1 может альтернативно или дополнительно предусматриваться также в области неподвижного контакта номинального тока 104, чтобы отклонять там оттекающий в его направлении дугогасящий газ.
Фигура 2 показывает поперечное сечение через устройство отклонения потока 1, а также герметизирующий корпус 101.
Устройство отклонения потока 1 имеет в основном круглое поперечное сечение. Внутри него расположены несколько накладок 4а, b, с, d, е, f. Накладки 4a, b, c, d, e, f служат как для механического крепления устройства отклонения потока 1 на размыкающем блоке 102, так и для электрического контактирования размыкающего блока 102. Имеющее цилиндрическую форму основное тело устройства отклонения потока 1 содержит несколько возвышений 5а, b, с, d, е, f. Возвышения 5a, b, c, d, e, f в основном образованы за счет расширения определенных участков боковой поверхности цилиндрического основного тела относительно продольной оси цилиндра 6 радиально наружу. Переходы от первоначальной боковой поверхности цилиндра к радиально наружу расширенным областям образованы наклонными боковыми сторонами 7а, b, с, d, е, f, g, h, i, j, k, l. Боковые стороны 7a, b, с, d, е, f, g, h, i, j, k, l содержат соответственно отверстия истечения 10а, b, с, d, е, f, g, h, i, j, k, l для отклонения по крайней мере части дугогасящего газа, произведенного в размыкающем блоке 102. Каждое отверстие истечения 10а, b, с, d, е, f, g, h, i, j, k, l направляет часть дугогасящего газа в направление оттока. Направления оттока при этом расположены соответственно таким образом, что они направлены вертикально к соответствующим наклонным боковым сторонам 7a, b, c, d, e, f, g, h, i, j, k, l. Направления оттока соответствующих составляющих дугогасящего газа показаны символически на Фигуре 3 стрелками. Вследствие выбранного положения отверстий истечения 10а, b, с, d, e, f, g, h, i, j, k, l друг относительно друга направления оттока двух противоположных отверстий истечения соседних возвышений соответственно пересекаются. За счет этого достигается, что дугогасящий газ хорошо перемешивается после прохождения через соответствующие отверстия истечения. Это перемешивание схематически представлено на Фигуре 3.
Представленный на Фигуре 4 первый вариант устройства отклонения потока 1а показывает вид сбоку. Одинаково действующие компоновки показаны на фигурах одинаковыми ссылочными позициями. В первом варианте на устройство отклонения потока 1а приформован соединительный патрубок 16 для подключения электрического провода. Первый вариант устройства отклонения потока 1а имеет цилиндрическую основную форму, на боковой поверхности которой расположены несколько возвышений 5a, b, c, d. Возвышения 5a, b, c, d проходят в виде перемычки вдоль аксиального направления. Один конец первого варианта устройства отклонения потока 1а, как во всех описанных вариантах, закрыт для того, чтобы вдуваемый в первом варианте устройства отклонения потока 1а дугогасящий газ мог оттекать через расположенные в возвышениях 5a, b, c, d отверстия истечения 10b, c, d, f. В первом варианте устройства отклонения потока 1а возвышения 5a, b, c, d имеют внешнюю форму усеченных пирамид. В боковых сторонах (гранях) усеченных пирамид расположено множество отверстий истечения 10b, c, d, f. Отверстия истечения 10b, c, d, f в первом варианте устройства отклонения потока 1а выполнены в виде продолговатого отверстия. Может быть предусмотрено, что соответственно два отверстия истечения 10с, d двух соседних возвышений 5b,с соответственно сопоставлены друг с другом лежащими противоположно, и направления оттока непосредственно сопоставленных друг с другом отверстий оттока 10c, d пересекаются. Представленный на Фигуре 5 второй вариант устройства отклонения потока 1b содержит на своей цилиндрической боковой поверхности несколько углублений 11a, b, c, d. В боковых сторонах углублений 11a, b, c, d расположены следующие отверстия истечения 12а, b, с, d, е, f. Направления оттока отверстий истечения 12d, e, непосредственно лежащих друг против друга в одном углублении 11с, направлены так, что они пересекаются друг с другом. Представленный на Фигуре 6 третий вариант устройства отклонения потока 1с показывает в качестве примера другие возможные варианты выполнения возвышений или, соответственно, углублений. Возвышения или, соответственно, углубления на боковой поверхности устройства отклонения потока могут быть расположены во множестве различных форм. Выполнение соответствующих отверстий истечения может быть при этом очень различным, например круглым, овальным или других подходящих форм, и, например, в виде вертикальных или наклонных сверленых отверстий/фрезерований. Если сверленые отверстия/фрезерования введены в боковую поверхность устройства отклонения потока под тупым или острым углом, то эта “наклонность” обуславливает то, что независимо от выполнения боковой поверхности отверстия истечения позволяют дугогасящему газу оттекать в определенных направлениях истечения. Наряду с описанными возвышениями или, соответственно, углублениями, имеющими форму усеченных пирамид, предпочтительным образом могут быть использованы также другие формы. Выгодными формами являются, например, форма шарового сегмента 13а, b, усеченного тетраэдра 14 или иначе выполненных многоугольных тел 15. Для достижения выгодной диэлектрической конфигурации кромки тел и переходы кромок тел к другим поверхностям снабжены скруглениями.
Представленный на Фигуре 7 четвертый вариант устройства отклонения потока 1d содержит в своей боковой поверхности возвышение 17, проходящее кольцееобразно вокруг аксиального направления, а также несколько возвышений, которые образуют кольцееобразное возвышение 17а с прерываниями. На боковых сторонах возвышений 17, 17а расположены отверстия истечения 19a, b, c, d, e, f. Направления истечения отверстий истечения 19а, b, с, d, e, f проходят в аксиальном направлении, причем направления истечения соответственно сопоставленных друг с другом отверстий истечения 19a, f; 19b, e; 19с, d пересекаются. В видоизмененных формах для достижения одинакового действия вместо возвышений на направлении оттока 1d могут быть предусмотрены углубления или отверстия истечения могут быть ориентированы под углом к окружающей их поверхности.
Для дополнительного завихрения рабочего газа, выступающего из выходных отверстий, с ними могут сопоставляться дополнительные завихряющие тела или отражательные поверхности, которые оказывают влияние на направление дугогасящего газа. Например, на Фигуре 7 представлено входящее в газовый поток завихряющее тело 18.
Независимо от отдельных вариантов устройства отклонения потока все описанные возвышения являются выполнимыми так же, как и соответствующие углубления, и наоборот и комбинируемыми с завихряющими телами или отражательными поверхностями.
Формула изобретения
1. Силовой выключатель (100) с подвижной в аксиальном направлении контакт-деталью (105, 107) и с движущимся в случае коммутации в аксиальном направлении потоком дугогасящего газа, который коаксиально окружен устройством направления потока (1, 1a, b, с, d), которое содержит в боковой поверхности первое и второе отверстия истечения (10а, b, с, d, e, f, g, h, i, j, k, l; 19a, b, c, d, e, f) для отклонения по крайней мере части потока дугогасящего газа в первое и второе направления истечения (10а, b, с, d, e, f, g, h, i, j, k, l; 19a, b, с, d, e, f), отличающийся тем, что часть потока дугогасящего газа, выступающая из первого отверстия истечения (10а, с, e, g, i, k; 19a, b, с), отклонена относительно части потока дугогасящего газа, выступающей из второго отверстия истечения (10b, d, e, f, h, j, l; 19d, e, f), и потоки дугогасящего газа пересекаются.
2. Силовой выключатель (100) по п.1, отличающийся тем, что устройство направления потока (1, 1a, b, с) имеет на боковой поверхности возвышение (5а, b, с, d, e, f; 16, 17) и/или углубление (11а, b, с, d), на боковых сторонах которых расположены первое и/или второе отверстие истечения (10а, b, с, d, e, f, g, h, i, k, l; 19a, b, с, d, e, f).
3. Силовой выключатель (100) одному из пп.1, 2, отличающийся тем, что первое и/или второе направление истечения (10а, b, с, d, e, f, g, h, i, k, l; 19a, b, с, d, e, f) расположены вертикально к областям боковой поверхности, непосредственно окружающим первое и/или второе отверстие истечения.
4. Силовой выключатель (100) по п.2, отличающийся тем, что возвышение/возвышения (17, 17а) и/или углубление/углубления (11а, b, с, d) проходят вокруг аксиального направления по кольцу и/или по прерванному кольцу.
5. Силовой выключатель (100) по п.2, отличающийся тем, что возвышение/возвышения (5а, b, с, d, e, f) и/или углубление/углубления (11а, b, с, d) проходят в основном в аксиальном направлении подобно перемычке или, соответственно, подобно каналу.
6. Силовой выключатель (100) по п.3, отличающийся тем, возвышение/возвышения (17, 17а) и/или углубление /углубления (11a, b, с, d) проходят вокруг аксиального направления по кольцу и/или по прерванному кольцу.
7. Силовой выключатель (100) по п.3, отличающийся тем, что возвышение/возвышения (5а, b, с, d, e, f) и/или углубление/углубления (11а, b, с, d) проходят в основном в аксиальном направлении подобно перемычке или, соответственно, подобно каналу.
РИСУНКИ
|
|