|
|
(21), (22) Заявка: 2004108130/14, 15.08.2002
(24) Дата начала отсчета срока действия патента:
15.08.2002
(30) Конвенционный приоритет:
22.08.2001 (пп.1-11) SE 0102805-9
(43) Дата публикации заявки: 10.03.2005
(46) Опубликовано: 10.02.2007
(56) Список документов, цитированных в отчете о поиске:
ЕР 0291984 А1, 23.11.1988. WO 0020206 А1, 13.04.2000. RU 2149933 C1, 27.05.2000.
(85) Дата перевода заявки PCT на национальную фазу:
22.03.2004
(86) Заявка PCT:
SE 02/01455 (15.08.2002)
(87) Публикация PCT:
WO 03/017902 (06.03.2003)
Адрес для переписки:
129010, Москва, ул. Б.Спасская, 25, стр.3, ООО “Юридическая фирма Городисский и Партнеры”, пат.пов. Ю.Д.Кузнецову, рег.№ 595
|
(72) Автор(ы):
АЛЬМБЕРГ Кристиан (SE)
(73) Патентообладатель(и):
СКА ХАЙДЖИН ПРОДАКТС АБ (SE)
|
(54) АБСОРБИРУЮЩЕЕ ИЗДЕЛИЕ
(57) Реферат:
Предложено абсорбирующее изделие, такое как подгузник или защитное приспособление, используемое при недержании, выполненное с парой поясных элементов, которые прикреплены к задней части, в альтернативном варианте – к передней части изделия и которые предназначены для скрепления их вместе вокруг талии пользователя с помощью скрепляющих средств. При этом указанная передняя часть, в альтернативном варианте – задняя часть, выполнена со скрепляющим средством, предназначенным для крепления его к поясным элементам таким образом, что изделие будет принимать форму, подобную форме трусов. При этом поясные элементы образованы из гибкого ламината из, по меньшей мере, двух слоев волокнистого материала, скрепленных вместе с образованием рисунка соединения, созданного посредством ультразвуковой сварки, лазерной сварки и/или термоскрепления. Указанный рисунок соединения имеет зону соединения, занимающую не более 10%, и указанный ламинат имеет прочность на раздирание, составляющую по меньшей мере 22 Н. Изобретение позволяет повысить прочность изделия на раздирание. 10 з.п. ф-лы, 2 ил.
Область техники, к которой относится изобретение
Настоящее изобретение относится к абсорбирующему изделию, такому как подгузник и защитное приспособление, используемое при недержании, содержащему проницаемый для жидкостей верхний лист, не проницаемый для жидкостей задний лист и абсорбирующее тело, заключенное между ними, при этом указанное изделие имеет переднюю часть, заднюю часть и промежностную часть, расположенную между передней и задней частями, и дополнительно выполнено с парой поясных элементов, прикрепленных к задней части изделия, и в альтернативном варианте – к передней части изделия, и которые предназначены для скрепления их вместе вокруг талии пользователя, при этом указанная передняя часть и в альтернативном варианте – задняя часть выполнена со скрепляющим средством, предназначенным для крепления его к поясным элементам таким образом, что изделие будет принимать форму, подобную форме трусов, при этом поясные элементы образуют часть поясных частей трусов.
Предпосылки создания изобретения
Подгузники и защитные приспособления, используемые при недержании и предназначенные для взрослых, страдающих недержанием, обычно имеют часть в виде предмета одежды, удерживающую абсорбирующее тело на месте рядом с телом пользователя, и скрепляющие средства, которые удерживают часть в виде предмета одежды на месте также тогда, когда пользователь совершает движения. Широко распространенным типом скрепляющих средств являются липкие ленты или застежки из крючков и петель типа “липучки”, которые обеспечивают непосредственное крепление передней и задней частей абсорбирующего изделия друг к другу. Кроме того, известно, например, из документов ЕР-А-0287388, ЕР-А-0409307, ЕР-А-0605012 и FR-А-2586558 скрепление передней и задней частей изделия посредством пояса. Поясные элементы обычно прикреплены к задней части подгузника и предназначены для скрепления их вместе вокруг талии пользователя, в этом случае скрепляющие средства, предусмотренные на передней части подгузника, предназначены для крепления их к наружной стороне поясных элементов. Пояс обеспечивает улучшенные возможности регулирования прилегания подгузника. Пояс дополнительно обеспечивает возможность более простой смены подгузника или защитного приспособления, используемого при недержании, особенно в том случае, когда пользователь стоит.
Одна проблема, связанная с этими поясами, заключается в том, что они могут вызвать раздражение кожи пользователя вследствие того, что пояс находится в непосредственном контакте с кожей пользователя и подлежит довольно сильному затягиванию для обеспечения достаточного прилегания подгузника или защитного приспособления, используемого при недержании, и достаточной защиты от утечек. Из-за плотного контакта и трения между поясом и кожей будет происходить механическое истирание кожи, которое вызывает раздражение и даже повреждения кожи. Следовательно, важно, чтобы материал, используемый для образования внутренней стороны пояса, был мягким и благоприятным для кожи. Материалы для поясов, позволяющие решить данную проблему, раскрыты в документах WO 00/27330 и WO 01/00129.
Другая проблема, которая может возникнуть при использовании поясов, состоит в том, что они могут разорваться при затягивании их вокруг талии. Эта проблема является особенно острой для поясов, которые полностью изготовлены из волокнистого материала, часто из двух или более слоев нетканых материалов, соединенных вместе в ламинат. Пояса, в которых один слой представляет собой пластиковую пленку, часто являются прочными, но их недостаток состоит в том, что они являются тугими и относительно жесткими и поэтому не так удобными для ношения.
Задача и наиболее важные признаки изобретения
Задача настоящего изобретения заключается в том, чтобы создать пояс для абсорбирующих изделий, который будет удобным в ношении и прочным на раздирание. В соответствии с изобретением это обеспечивается за счет того, что поясные элементы содержат гибкий ламинат из, по меньшей мере, двух слоев волокнистого материала, скрепленных вместе с образованием рисунка соединения, созданного посредством ультразвуковой или лазерной сварки и/или каландрования с использованием тепла, при этом указанный рисунок соединения имеет зону соединения, занимающую не более 10%, и указанный ламинат имеет прочность на раздирание, составляющую, по меньшей мере, 22 Н.
В соответствии с одним вариантом осуществления указанный ламинат имеет прочность на раздирание, составляющую, по меньшей мере, 24 Н, предпочтительно, по меньшей мере, 25 Н и более предпочтительно, по меньшей мере, 30 Н.
В соответствии с дополнительными предпочтительными вариантами осуществления рисунок соединения имеет зону соединения, занимающую не более 8% и предпочтительно – не более 5%.
В соответствии с дополнительной особенностью изобретения рисунок соединения имеет плотность расположения мест соединения, составляющую 1-15 мест соединения на 1 см2 и, предпочтительно, 1-10 мест соединения на 1 см2.
В соответствии с одним вариантом осуществления указанный ламинат содержит, по меньшей мере, три слоя волокнистого материала, один наружный слой, служащий в качестве материала с петлями для застежки типа застежки из крючков и петель (“липучки”), средний слой из сравнительно прочного на раздирание волокнистого материала и внутренний слой из мягкого и благоприятного для кожи волокнистого материала.
Примером сравнительно прочного на раздирание волокнистого материала, пригодного для образования указанного среднего слоя, является нетканый материал, содержащий непрерывные волокна, такой как нетканый материал фильерного способа производства и/или нетканый материал, полученный аэродинамическим способом из расплава.
В соответствии с одним вариантом осуществления изобретения указанный наружный слой, служащий в качестве поверхности для крепления указанных скрепляющих средств, в основном в качестве материала с петлями для застежки типа застежки из крючков и петель, является крепированным.
Описание чертежей
Изобретение будет в дальнейшем описано более подробно со ссылкой на вариант осуществления, показанный на сопровождающих чертежах.
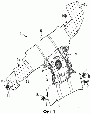
Фиг.1 – схематичный вид в перспективе выполненного с поясом подгузника согласно изобретению,
Фиг.2 – схематичный местный вид, выполненный в виде вырыва и иллюстрирующий ламинат согласно изобретению.
Описание вариантов осуществления
На фиг.1 представлен вариант осуществления подгузника или защитного приспособления 1, используемого при недержании, содержащего проницаемый для жидкостей верхний лист 2, не проницаемый для жидкостей задний лист 3 и абсорбирующее тело 4, заключенное между ними. Проницаемый для жидкостей верхний лист 2 может представлять собой любой материал, используемый для данной цели, например нетканый материал, такой как нетканый материал фильерного способа производства, образованный из непрерывных волокон, нетканый материал, полученный аэродинамическим способом из расплава, термоскрепленный волокнистый холст, такой как волокнистый холст, полученный путем кардочесания. Верхний лист также может представлять собой слой из так называемых жгутов волокна (пакли), скрепленных с образованием некоторого рисунка соединения, или перфорированную пластиковую пленку.
Не проницаемый для жидкостей задний лист 3 также может представлять собой любой материал, используемый для данной цели, такой как пластиковая пленка, нетканый материал, покрытый не проницаемым для жидкостей материалом, гидрофобный нетканый материал, который противодействует проникновению жидкостей, и/или ламинат из пластиковой пленки и нетканого материала. В качестве материалов для заднего листа также могут быть использованы воздухопроницаемые материалы, которые являются проницаемыми для воздуха и водяного пара, но которые противодействуют проникновению жидкостей, по меньшей мере, до определенного давления.
Верхний лист 2 и материал заднего листа 3 имеют несколько бóльшую протяженность в плоскости по сравнению с абсорбирующим телом 4 и простираются за края абсорбирующего тела 4. Слои 2 и 3 соединены друг с другом в зоне их выступающих частей, например, путем склеивания, или термосварки, или ультразвуковой сварки.
Абсорбирующее тело 4 может представлять собой абсорбирующее тело любого типа, используемое для данной цели. К примерам широко используемых абсорбирующих материалов относятся вспушенная измельченная целлюлоза, слои тонкой бумаги, полимеры с высокой абсорбционной способностью (так называемые суперабсорбенты), абсорбирующие вспененные материалы, абсорбирующие нетканые материалы. Общеизвестно соединение вспушенной измельченной целлюлозы с суперабсорбентами в абсорбирующем теле. Также общеизвестно использование абсорбирующих тел, содержащих слои из различных материалов с различными свойствами с точки зрения способности впитывать жидкости, способности распределять жидкости и удерживающей способности. Это хорошо известно для специалиста в данной области техники и поэтому нет необходимости описывать это подробно. Тонкие абсорбирующие тела, которые широко используются, например, в подгузниках для детей и в защитных приспособлениях, используемых при недержании, часто имеют спрессованную смешанную или слоистую структуру из вспушенной измельченной целлюлозы и суперабсорбента.
Подгузник предназначен для охватывания нижней части туловища пользователя подобно паре абсорбирующих трусов. Он имеет переднюю часть 5, предназначенную для ношения во время использования на передней части тела пользователя, заднюю часть 6, предназначенную для ношения во время использования на задней части тела пользователя, и более узкую промежностную часть 7, которая расположена между передней и задней частями и которая предназначена для ношения в промежностной части тела пользователя между ногами. Передняя часть 5 выполнена с парой язычков 8, несущих скрепляющее средство, такое как материал 9 с крючками застежки типа так называемой застежки из крючков и петель, или скрепляющее средство другого типа, такое как липкая лента.
Термин “материал с крючками” используется для обозначения части механического скрепляющего средства, имеющего зацепляющийся “крючкообразный” элемент. Тем не менее, он не предназначен для того, чтобы ограничивать форму зацепляющихся элементов только “крючками”, но охватывает любую форму зацепляющихся элементов, однонаправленных или двунаправленных, известных в данной области техники как элементы, предназначенные для механического сцепления с взаимодействующим скрепляющим материалом с петлями.
Два поясных элемента 10а и 10b одним концом прикреплены, например, приклеены или приварены посредством ультразвуковой сварки к задней части 6 подгузника. Противоположные концы поясных элементов 10а, 10b предназначены для скрепления поясных элементов вместе, например, с помощью язычка 11 на одном поясном элементе 10а, при этом указанный язычок несет материал 12 с крючками застежки типа так называемой застежки из крючков и петель («липучки»). Материал 12 с крючками на язычке 11 предназначен для присоединения к наружной стороне противолежащего поясного элемента 10b. Вместо застежки 12 типа застежки из крючков и петель может быть использовано возможное скрепляющее средство другого типа, такое как липкая лента.
Язычки 8, несущие материал с крючками или соответствующее средство крепления передней части 5, предназначены для крепления к наружной стороне поясных элементов 10а, 10b для скрепления подгузника вместе с образованием желательной формы, подобной форме трусов.
В альтернативном варианте осуществления поясные элементы 10а, 10b прикреплены к передней части 5 подгузника, и затем их скрепляют вместе на спине пользователя. В этом случае язычки 8, несущие скрепляющее средство, например материал с крючками или липкую ленту, предусмотрены на задней части 6 подгузника.
Наружная сторона поясных элементов 10а, 10b должна служить в качестве принимающей поверхности, взаимодействующей со скрепляющими средствами на язычках 8 и 11. Для застежек из крючков и петель материал на наружной стороне поясных частей должен служить в качестве материала с петлями. Термин «петля» в этой связи не ограничен только материалами, в которых отдельные, по отдельности образованные петли материала приспособлены для приема крючкообразных элементов и сцепления с крючкообразными элементами взаимодействующего материала с крючками, но к материалам с петлями также относится волокнистый нетканый материал, в котором отдельные волокна служат для сцепления с крючкообразными элементами, и при этом из таких волокон не образованы отдельные петли.
Для застежек с липкими лентами материал на наружной стороне поясных элементов 10а, 10b должен служить в качестве поверхности присоединения для липких лент. Некоторые нетканые материалы служат как в качестве материала с петлями для застежек из крючков и петель, так и в качестве поверхности крепления, допускающей повторное прикрепление липкой ленты. Это раскрыто в документе WO 01/00129.
Ширина поясных элементов должна составлять 5-20 см, предпочтительно, 7-15 см.
Поясные элементы согласно данному изобретению содержат гибкий ламинат из, по меньшей мере, двух слоев волокнистого материала, скрепленных вместе с образованием рисунка 13 соединения, созданного посредством ультразвуковой сварки, лазерной сварки и/или термоскрепления. Следовательно, по меньшей мере, некоторые из волокон в слоях волокнистого материала должны обладать способностью к расплавлению посредством таких способов скрепления. В одном варианте осуществления, проиллюстрированном на фиг.2, ламинат содержит три слоя 14, 15 и 16. Рисунок 13 соединения должен иметь зону соединения, занимающую не более 10%, и ламинат должен иметь прочность на раздирание, составляющую по меньшей мере 22 Н. Это обеспечит сопротивление поясных элементов раздиранию, когда пояс затягивают вокруг талии пользователя. Испытания подтвердили, что частота раздирания при обычном использовании поясов, имеющих прочность на раздирание, составляющую 21 Н и менее, была неприемлемо высокой. Предпочтительно прочность на раздирание должна составлять, по меньшей мере, 24 Н, более предпочтительно, по меньшей мере, 25 Н и наиболее предпочтительно, по меньшей мере, 27 Н. У тех поясов, которые имели прочность на раздирание, составляющую 29 Н или больше, не было вообще никакого раздирания.
Прочность на раздирание
Прочность на раздирание определяют путем использования метода испытания EDANA TEAR 70.3-96, модифицированного таким образом, что используются следующие условия: время выдерживания по меньшей мере 4 ч, температура 23°С и относительная влажность 50%.
Зона соединения и плотность расположения мест соединения
Зона соединения, занимающая более 10%, приведет к увеличенному количеству признаков раздирания или «надрезов» и к увеличенному риску раздирания поясных элементов.
Предпочтительно зона соединения должна занимать не более 8% и более предпочтительно – не более 5%.
Рисунок соединения имеет множество мест соединения в виде точек, линий, пятен, расположенных в виде некоторого рисунка. Зона соединения в рисунке соединения определяется как часть рисунка, которая состоит из мест соединения.
Другим важным фактором обеспечения высокой прочности на раздирание является плотность расположения мест соединения, которая представляет собой число мест соединения на единицу площади. Предпочтительно, чтобы рисунок 13 соединения имел плотность расположения мест соединения, составляющую 1-15 мест соединения на 1 см2. Предпочтительно он имеет плотность расположения мест соединения 1-10 мест соединения на 1 см2. При высокой плотности расположения мест соединения образуется больше элементов, указывающих на раздирание, или «надрезов», которые приводят к снижению прочности на раздирание.
Следует указать, что при использовании сравнительно больших мест соединения, например, в виде линий, может быть получена сравнительно большая зона соединения при сравнительно малом количестве мест соединения по сравнению с рисунком соединения, образованным из небольших мест соединения, например, в виде точек, которые должны быть расположены плотнее, чтобы обеспечить такую же зону соединения, что и у рисунка с бóльшим размером мест соединения. Таким образом, как зона соединения, так и плотность расположения мест соединения имеют важное значение.
Предпочтительный пример ламината
Один вариант ламината согласно изобретению представляет собой нетканый ламинат из, по меньшей мере, трех слоев 14, 15 и 16 волокнистого материала. Один наружный слой 14, предназначенный для образования наружной стороны пояса, представляет собой волокнистый материал, предназначенный для того, чтобы служить в качестве поверхности крепления для скрепляющего средства на язычках 8 и 11. Примерами нетканых материалов являются нетканый материал фильерного способа производства, нетканый материал, полученный аэродинамическим способом из расплава, скрепленный нетканый материал, полученный путем кардочесания. Средний слой 15 должен быть образован из сравнительно прочного на раздирание, волокнистого материала, такого как нетканый материал фильерного способа производства, или нетканый материал, полученный аэродинамическим способом из расплава, содержащий непрерывные волокна. Другой наружный слой 16, предназначенный для образования внутреннего слоя пояса, обращенного к пользователю, должен быть выполнен из мягкого и благоприятного для кожи, волокнистого материала. Примерами пригодных материалов являются нетканые материалы фильерного способа производства и нетканые материалы, полученные аэродинамическим способом из расплава, скрепленные материалы, полученные путем кардочесания. К примерам полимерных материалов, используемых в различных волокнистых материалах, могут относиться любые материалы, пригодные для данной цели, например полипропиленовые, полиэтиленовые, полиэфирные и/или так называемые двухкомпонентные волокна.
Масса 1 м2 нетканого ламината может изменяться от 40 до 150 г, предпочтительно, – от 60 до 120 г и, более предпочтительно, от 75 до 105 г.
Один или несколько слоев ламината могут быть крепированными. В соответствии с одним вариантом осуществления наружный слой 14, предназначенный для того, чтобы служить в качестве «принимающего» материала для скрепляющего средства, в частности в качестве материала с петлями для застежки типа застежки из крючков и петель («липучки»), является крепированным. За счет крепирования он лучше выполняет свои функции материала с петлями.
Одним неограничивающим примером ламината согласно изобретению является трехслойный ламинат:
термоскрепленный материал, полученный путем кардочесания, масса 1 м2 составляет 30 г, полипропиленовые волокна 2,2 децитекс,
слой нетканого материала фильерного способа производства, масса 1 м2 составляет 40 г, полипропиленовые волокна 2,2 децитекс,
термоскрепленный материал, полученный путем кардочесания, масса 1 м2 составляет 22 г, полипропиленовые волокна 2,2 децитекс.
Слой нетканого материала фильерного способа производства используют в качестве среднего слоя, нетканый материал, полученный путем кардочесания и имеющий наибольшее значение массы 1 м2, используют в качестве наружной стороны пояса, он предназначен для того, чтобы служить в качестве материала с петлями для застежки типа застежки из крючков и петель («липучки»), и материал, полученный путем кардочесания и имеющий наименьшее значение массы 1 м2, используют в качестве внутренней обращенной к коже стороны пояса.
Ламинат скреплен путем ультразвуковой сварки с зоной соединения, занимающей приблизительно 3%, и плотностью расположения мест соединения, составляющей приблизительно 7 мест соединения на 1 см2. Прочность на раздирание составляет 50-60 Н.
Формула изобретения
1. Абсорбирующее изделие, такое как подгузник или защитное приспособление, используемое при недержании, содержащее проницаемый для жидкостей верхний лист (2), не проницаемый для жидкостей задний лист (3) и абсорбирующее тело (4), заключенное между ними, при этом указанное изделие имеет переднюю часть (5), заднюю часть (6) и промежностную часть (7), расположенную между передней и задней частями, и дополнительно выполнено с парой поясных элементов (10а, 10b), прикрепленных к задней части (6), в альтернативном варианте к передней части изделия, и предназначенных для скрепления их вместе вокруг талии пользователя с помощью скрепляющих средств (11, 12), и при этом указанная передняя часть (5), в альтернативном варианте задняя часть, выполнена со скрепляющим средством (8, 9), предназначенным для крепления его к поясным элементам (10а, 10b) для принятия изделием формы, подобной форме трусов, при этом поясные элементы (10а, 10b) образуют часть поясных частей трусов, отличающееся тем, что поясные элементы (10а, 10b) содержат гибкий ламинат из, по меньшей мере, двух слоев волокнистого материала, скрепленных вместе с образованием рисунка (13) соединения, созданного посредством ультразвуковой сварки, лазерной сварки и/или термоскрепления, при этом указанный рисунок соединения имеет зону соединения, занимающую не более 10%, и указанный ламинат имеет прочность на раздирание, составляющую по меньшей мере 22 Н.
2. Абсорбирующее изделие по п.1, отличающееся тем, что указанный ламинат имеет прочность на раздирание, по меньшей мере, 24 Н.
3. Абсорбирующее изделие по п.2, отличающееся тем, что указанный ламинат имеет прочность на раздирание, по меньшей мере, 25 Н.
4. Абсорбирующее изделие по п.2, отличающееся тем, что указанный ламинат имеет прочность на раздирание, по меньшей мере, 30 Н.
5. Абсорбирующее изделие по п.1, отличающееся тем, что указанный рисунок соединения имеет зону соединения, занимающую не более 8%.
6. Абсорбирующее изделие по п.5, отличающееся тем, что указанный рисунок соединения имеет зону соединения, занимающую не более 5%.
7. Абсорбирующее изделие по п.5, отличающееся тем, что указанный рисунок (13) соединения имеет плотность расположения мест соединения, составляющую 1-15 мест соединения на см2.
8. Абсорбирующее изделие по п.7, отличающееся тем, что указанный рисунок (13) соединения имеет плотность расположения мест соединения, составляющую 1-10 мест соединения на см2.
9. Абсорбирующее изделие по п.1, отличающееся тем, что указанный ламинат содержит, по меньшей мере, три слоя волокнистого материала, один наружный слой (14), служащий в качестве поверхности для крепления указанных скрепляющих средств (8, 9; 11, 12), средний слой (15) из сравнительно прочного на раздирание, волокнистого материала и внутренний слой (16) из мягкого и благоприятного для кожи, волокнистого материала.
10. Абсорбирующее изделие по п.9, отличающееся тем, что указанный средний слой (15) представляет собой слой, содержащий непрерывные волокна, такой как нетканый материал фильерного способа производства или нетканый материал, полученный аэродинамическим способом из расплава.
11. Абсорбирующее изделие по п.9 или 10, отличающееся тем, что указанный наружный слой (14), служащий в качестве поверхности для крепления указанных скрепляющих средств (8, 9; 11, 12), в основном в качестве материала с петлями для застежки типа застежки из крючков и петель, является крепированным.
РИСУНКИ
|
|