|
|
(21), (22) Заявка: 2002126969/14, 09.10.2002
(24) Дата начала отсчета срока действия патента:
09.10.2002
(30) Конвенционный приоритет:
10.10.2001 US 09/974,597
(43) Дата публикации заявки: 10.04.2004
(46) Опубликовано: 10.02.2007
(56) Список документов, цитированных в отчете о поиске:
US 5628890 А, 13.05.1997. US 5650062 А, 22.07.1997. WO 99/32881 A1, 01.07.1999. WO 87/03095 A1, 21.05.1987. WO 97/39343 A1, 23.10.1997. WO 99/47907 A1, 23.09.1999. RU 20116540 С1, 30.07.1994. RU 2018108 C1, 15.08.1994.
Адрес для переписки:
129010, Москва, ул. Б.Спасская, 25, стр.3, ООО “Юридическая фирма Городисский и Партнеры”, пат.пов. Ю.Д.Кузнецову, рег.№ 595
|
(72) Автор(ы):
КЕРМАНИ Махиар З. (US), ТЕОДОРЧИК Мария (US), ГУО Шерри Кс. (US)
(73) Патентообладатель(и):
ЛАЙФСКЕН, ИНК. (US)
|
(54) СПОСОБ ОПРЕДЕЛЕНИЯ АДЕКВАТНОСТИ ОБЪЕМА ПРОБЫ В УСТРОЙСТВАХ БИОДАТЧИКОВ
(57) Реферат:
Изобретение относится к медицинской диагностике и предназначено для определения того, является ли объем биологической пробы адекватным для проведения точного электрохимического измерения концентрации исследуемого вещества. В способе обеспечивается выполнение дополнительной функции компенсации объема пробы, определенного как неадекватный, для проведения точного изменения концентрации исследуемого вещества. Система определения объема пробы используется совместно с биодатчиком, таким как электрохимическая индикаторная полоска, на которую нанесен осаждением некоторый объем пробы биологического раствора, и измерительным прибором, которому придана конфигурация, обеспечивающая размещение индикаторной полоски и измерение концентрации выбранных исследуемых веществ в биологической пробе. Технический результат состоит в обеспечении измерения адекватности объема образца, используемого для измерения концентрации исследуемого вещества. 4 н. и 10 з.п. ф-лы, 8 ил.
Область техники
Настоящее изобретение относится к области электрохимического определения количества исследуемого вещества в биологических жидкостях, а более точно – к способу электрохимического определения адекватности объема пробы биологической жидкости, используемой для определения концентрации исследуемого вещества.
Предшествующий уровень техники
Определение концентраций исследуемых веществ в биологических жидкостях, например крови и производных продуктах крови, таких как плазма, становится все более важным для современного общества. Такие анализы проводятся при клинических лабораторных исследованиях, исследованиях в домашних условиях, причем результаты такого контроля играют важную роль в диагностике и устранении широкого круга болезненных состояний. В число исследуемых веществ, представляющих интерес, входят глюкоза – при лечении разных форм диабета, холестерин – при оперативном контроле состояний сердечно-сосудистой системы, и т.п. В соответствии с растущей потребностью создано множество протоколов и устройств для исследований как в клинических, так и в домашних условиях.
К одному из способов для обнаружения исследуемых веществ относится электрохимический способ. При осуществлении указанного способа пробу жидкости на водной основе помещают в зону реакции, находящуюся в химическом источнике тока, содержащем по меньшей мере два электрода, т.е. электрод сравнения (противоэлектрод), и рабочий электрод, причем эти электроды имеют полное сопротивление, которое делает их пригодными для амперометрических измерений. Обеспечивают возможность прямой реакции анализируемого компонента, т.е. исследуемого вещества, с электродом, либо прямой или косвенной реакции с окислительно-восстановительным реактивом, для образования окисляемого (или восстанавливаемого) вещества в количестве, соответствующем концентрации исследуемого вещества. После этого оценивают количество присутствующего окисляемого (или восстанавливаемого) вещества электрохимическим способом и устанавливают соответствие количеству исследуемого вещества, присутствующего в исходной пробе.
Химический источник тока обычно выполнен в форме индикаторной полоски одноразового использования, на которую нанесена осаждением биологическая проба и которая размещена внутри измерительного прибора, для электрохимического измерения концентрации исследуемого вещества. Системы анализа, построенные на использовании этих типов индикаторных полосок, часто называемых биодатчиками, и измерительных приборов, раскрыты в патентах США №5942102, 6174420 В1 и 6179979 B1. При наличии этих систем определение концентрации исследуемого вещества в биологической пробе предусматривает получение биологической пробы и введение этой пробы в контакт с областью реакции индикаторной полоски, чтобы обеспечить возможность реакции биологической пробы, а более конкретно – исследуемого вещества или его производного, с химическими веществами, например с тестирующим реактивом/реактивами, связанным/связанными с областью реакции. Чтобы получить точное количество исследуемого вещества/веществ, нужно нанести на область реакции минимальный объем пробы. Это условие не всегда соблюдается, поскольку наносят неадекватный объем пробы, зачастую – вследствие ошибки пользователя или неопытности пациента или неверной оценки. Неточные измерения могут привести к неверному диагнозу или неправильному лечению, например введению неверной дозы лекарства, несоблюдению пациентом режима и схемы лечения. Все это может привести к серьезным и даже угрожающим последствиям для тех, чья жизнь зависит от оперативного контроля исследуемого вещества в теле, например для диабетиков.
Для гарантированного взятия адекватного объема биологической пробы используется перенасыщение или больший объем отобранной жидкости, чем тот, который необходим для заполнения области реакции индикаторной полоски. Недостатком использования необоснованно большого объема пробы крови является необходимость забирать больший объем пробы крови у пациента. Это требует использования иглы большего диаметра и/или осуществление более глубокого проникновения в кожу. Эти факторы могут усилить дискомфорт или болевые ощущения пациента, а также вызвать затруднения при взятии проб у людей, когда капиллярную кровь нелегко выдавить. Поскольку процесс отбора проб может повторяться в течение одних суток, то для многих диабетиков усиление болевых ощущений становится недопустимым.
Разработано несколько биодатчиков, позволяющих обнаруживать исследуемые вещества, для обеспечения визуального подтверждения адекватности объема пробы, однако этот признак не исключает потенциальную ошибку пациента, например диабетики могут иметь неважное зрение. Некоторые биодатчики для определения исследуемых веществ имеют независимые от пользователя средства для определения адекватности объема пробы. Примеры таких биодатчиков описаны в патентах США №5628890 и 5650062, а также в Международной публикации №WO 99/32881 (заявка №PCT/US 98/27203 на патент). В указанной публикации №WO 99/32881 описана электрохимическая система оперативного контроля глюкозы, которая определяет адекватность объема пробы, нанесенной на биодатчик, путем приложения сигнала низкоуровневого напряжения переменного тока (без смещения напряжения постоянного тока) на известной частоте к биодатчику и последующего измерения действительной и мнимой составляющих полного сопротивления. Значения полного сопротивления сравнивают со справочной таблицей в памяти программ микропроцессора. Точность этого способа невысока, поскольку система зависит от уровней гематокритного числа крови и изменений температуры окружающей среды.
Другой недостаток способа, описанного в публикации №WO 99/32881, заключается в том, что следует отказаться от тестирования с замером содержания исследуемого вещества, если определено, что объем пробы не является адекватным, т.е. возникает ситуация, в которой нужно принимать решение по принципу «годен – не годен». Это приводит к необходимости брать еще одну пробу у пациента, что, как упоминалось выше, неудобно и может быть очень болезненным для пациента, вследствие чего он или она не будут соблюдать режим лечения. Кроме того, тест придется повторять, что приведет к бесполезному расходу индикаторных полосок и увеличению стоимости процедуры.
Краткое изложение существа изобретения
В основу настоящего изобретения поставлена задача создания способа, который обеспечивает очень точное и быстрое определение адекватности объема взятой пробы, а также разработка такого способа определения адекватности объема пробы, при котором определение того, что объем пробы является неадекватным, не требует отказа от теста, предусматривающего измерение концентрации исследуемого вещества, путем компенсации объема пробы, который меньше оптимального, и обеспечении точного измерения концентрации исследуемого вещества без необходимости получения новой пробы или проведения нового теста.
Согласно изобретению предложены способы и системы для измерения объема биологической пробы и определения того, является ли такой объем адекватным для проведения точного измерения по меньшей мере одной выбранной характеристики биологической пробы, например, концентрации исследуемого вещества, содержащегося в этой пробе. Некоторые из способов и систем обеспечивают выполнение дополнительной функции компенсации объема пробы, определенного, как меньший, а не адекватный.
Предлагаемое техническое решение подлежит использованию совместно с биодатчиком, таким как электрохимическая индикаторная полоска, на которую нанесен некоторый объем пробы биологического раствора, и измерительным прибором для размещения индикаторной полоски внутри него и измерения концентрации выбранных исследуемых веществ в биологической пробе. Электрохимическая индикаторная полоска содержит химический источник тока, состоящий из противоположных электродов, между которыми находится зона реакции для размещения в ней биологической пробы, причем эта зона реакции имеет ограниченную толщину и объем.
Когда к химическому источнику тока приложено достаточное напряжение, в двойном слое будет происходить зарядка и электрохимическая реакция. Вследствие этого заряд течет к электродам химического источника тока. Поверхность раздела «электрод-раствор» аналогична поверхности раздела конденсатора. Отношение заряда к напряжению определяет емкость поверхности раздела «электрод-раствор». Поскольку общий заряд возникает благодаря зарядке двойного слоя и электрохимической реакции, обе составляющие емкости – Сдс и Сп, соответственно, вносят вклад в общую или эквивалентную емкость источника тока (см. Bard, A.J., and Faulkner, I.R., Electrochemical Methods, 1980).
Было обнаружено, что эквивалентная емкость химического источника тока является наиболее значимым фактором при точном определении объема пробы, потому что эквивалентная емкость источника тока прямо пропорциональна величине площади поверхности электродов источника тока, находящейся в контакте с пробой («покрытая площадь источника тока»), а значит прямо пропорциональна объему пробы внутри источника тока, т.е. между электродами. Также было обнаружено, что эквивалентное сопротивление химического источника тока также существенно при точном определении объема пробы, потому что эквивалентное сопротивление источника тока обратно пропорционально покрытой площади источника тока, а значит – обратно пропорционально объему пробы.
Таким образом, существенным признаком настоящего изобретения является определение покрытой площади поверхности и соответствующего объема пробы на основании эквивалентной емкости источника тока или на основании эквивалентной емкости источника тока и эквивалентного сопротивления источника тока.
Еще одним существенным признаком настоящего изобретения является управление некоторыми другими факторами (например, толщиной источника тока, концентрацией семейств ионов), которые могут мешать точному измерению объема пробы, чтобы значение эквивалентной емкости источника тока было независимым и не подверженным влиянию концентрации глюкозы и уровней гематокритного числа крови в пробе, температуры окружающей среды, особенностей донора, а также других компонентов крови, которые обычно мешают измерениям.
Еще одним существенным признаком настоящего изобретения является компенсация объема пробы, определенного как меньший, чем адекватный, для точного измерения концентрации исследуемого вещества.
Следовательно, согласно изобретению предложены способы определения адекватности объема биологической пробы, используемой для определения концентрации одного или более исследуемых веществ в пробе, взятой у донора.
В некоторых вариантах осуществления предлагаемых способов к биодатчику, содержащему биологическую пробу, подлежащую тестированию, прикладывают напряжение переменного тока (напряжение АС), при этом осуществляют зарядку датчика. Одновременно с приложением напряжения АС можно прикладывать напряжение постоянного тока (напряжение DC), чтобы увеличить скорость стабилизации емкости биодатчика. Затем измеряют получаемый переменный ток, генерируемый в результате зарядки, а потом определяют эквивалентную емкость источника тока биодатчика на основе полученного переменного тока. Затем эквивалентную емкость источника тока используют для определения площади поверхности биодатчика, находящейся в контакте с раствором пробы, а площадь поверхности потом используют для осуществления объема пробы в биодатчике. После определения того, что объем пробы адекватен для проведения точного измерения концентрации исследуемого вещества, осуществляют измерение этой концентрации. Если определено, что объем пробы является неадекватным, предлагаемые способы могут дополнительно предусматривать компенсацию неадекватного объема пробы в течение измерения концентрации исследуемого вещества. Компенсация неадекватного объема обуславливает определение коэффициента необходимой компенсации, для чего по меньшей мере частично определяют отношение эквивалентной емкости источника тока для биодатчика, содержащего фактический объем пробы, к емкости источника тока для биодатчика, когда весь доступный объем заполнен.
Настоящее изобретение также касается систем для осуществления предлагаемых способов. Предлагаемые системы содержит электронные компоненты и/или схемы, предназначенные для использования вместе и соединенные электронными средствами с биодатчиком, например химическим источником тока, предназначенным для измерений, выполненным в форме индикаторной полоски одноразового использования, на которую наносят осаждением или за счет капиллярного воздействия взятый в качестве пробы раствор, подлежащий тестированию. Обычно электронная схема встроена в измерительный прибор или в автоматизированное устройство, которое имеет конфигурацию, обеспечивающую размещение и оперативный контакт с химическим источником тока, например индикаторной полоской одноразового использования, а также измерение одной или нескольких физических или химических характеристик биологической пробы, внутри химического источника тока. В наиболее типичном случае указанные характеристики включают в себя концентрацию одного или нескольких целевых исследуемых веществ в биологической пробе. Такая электронная схема может содержать дискретные электронные элементы, например источник напряжения, и/или интегральные схемы, имеющие многочисленные схемные элементы, и/или полупроводниковые устройства, например микропроцессор, должным образом запрограммированный на выполнение некоторых этапов или функций согласно предлагаемым способам и на основе вводов некоторых сигналов или данных, получаемых из химического источника тока.
В некоторых вариантах осуществления системы согласно изобретению включают в себя электронную схему и автоматизированное измерительное устройство или автоматизированный измерительный прибор, как указано выше, причем вся электронная схема структурно и функционально выполнена за одно целое с автоматизированным измерительным устройством.
Хотя предлагаемые способы и системы можно использовать для определения объема пробы разных биологических проб, таких как моча, слезы, слюна и т.п., эти способы и системы, в частности, пригодны для определения объема пробы крови или фракций крови. Кроме того, хотя предлагаемые системы и способы предназначены для определения объема пробы при подготовке к измерению множества физических и химических характеристик пробы, эти системы и способы полезны, в частности, при подготовке к измерению концентрации выбранных исследуемых веществ в пробе.
Поставленная задача решена путем создания способа определения объема биологической пробы, удерживаемой внутри электрохимического биодатчика, заключающегося в том, что
прикладывают к биодатчику напряжение переменного тока, имеющее амплитуду среднеквадратических значений от около 2 до около 100 мВ и частоту в диапазоне от 50 до 10000 Гц,
измеряют ток, генерируемый за счет приложения напряжения переменного тока,
определяют электрическую емкость биодатчика в соответствии с измеренным током,
определяют площадь поверхности биодатчика, находящуюся в контакте с пробой, на основе упомянутой измеренной емкости, и
определяют объем пробы внутри биодатчика по измеренной площади поверхности.
Целесообразно, чтобы дополнительно определяли, является ли объем пробы адекватным для проведения измерения одной или более выбранных характеристик пробы.
Полезно, чтобы дополнительно измеряли концентрацию одного или нескольких исследуемых веществ, присутствующих в пробе, причем измерение проводят, если упомянутый объем пробы является адекватным.
Предпочтительно, чтобы дополнительно измеряли концентрацию одного или более требуемых исследуемых веществ, присутствующих в образце после определения, что указанный объем образца является неадекватным, для чего
определяли необходимый коэффициент компенсации путем деления эквивалентной емкости Спз полностью заполненного электрохимического источника тока на эквивалентную емкость Снеад электрохимического источника тока, содержащего неадекватный объем биологической пробы, причем указанный коэффициент предназначен для компенсации неадекватного объема, чтобы точно измерить концентрацию по меньшей мере одного исследуемого вещества,
осуществляли компенсацию неадекватного объема пробы.
Выгодно, чтобы для определения необходимого коэффициента компенсации определяли отношение емкости биодатчика, когда он полностью заполнен пробой, к емкости биодатчика с неадекватным объемом пробы.
Полезно, чтобы дополнительно определяли сопротивления биодатчика на основе измеренного тока.
Предпочтительно, чтобы дополнительно определяли площадь поверхности биодатчика, находящейся в контакте с пробой, на основе емкости и сопротивления.
Целесообразно, чтобы дополнительно прикладывали напряжение постоянного тока к биодатчику.
Полезно, чтобы приложение напряжения постоянного тока и напряжения переменного тока осуществляли одновременно.
Согласно другому варианту воплощения поставленная задача решена путем создания способа измерения концентрации одного или более выбранных исследуемых веществ, присутствующих в биологической пробе, удерживаемой внутри электрохимического биодатчика, заключающегося в том, что
определяют объем биологической пробы, удерживаемой в указанном электрохимическом биодатчике,
определяют адекватность объема биологической пробы для измерения указанной концентрации, и
после определения, что объем биологической пробы является неадекватным, компенсируют измерение концентрации для неадекватного объема.
Поставленная задача решена также путем создания системы для определения объема биологической пробы внутри химического источника тока, имеющего площадь поверхности и объем, содержащей
источник напряжения, обеспечивающий приложение напряжения к химическому источнику тока,
средство для измерения тока, генерируемого источником тока, когда к этому источнику тока приложено напряжение,
средство для определения емкости источника тока на основе измеренного тока,
средство для определения площади поверхности источника тока, покрытой биологической пробой, на основе емкости источника тока, и
средство для определения объема биологической пробы, исходя из площади поверхности источника тока.
Целесообразно, чтобы система дополнительно содержала средство для определения того, является ли объем пробы адекватным для проведения точного измерения концентрации одного или более выбранных исследуемых веществ в биологической пробе.
Полезно, чтобы система дополнительно содержала
средство для измерения концентрации одного или более выбранных исследуемых веществ в биологической пробе и
средство для компенсации объема пробы, определенного как неадекватный при измерении концентрации одного или более выбранных исследуемых веществ в биологической пробе.
Поставленная задача решена также путем создания системы для использования совместно с измерительным прибором, обеспечивающим контакт с химическим источником тока и измерение концентрации одного или более выбранных исследуемых веществ в биологической пробе, удерживаемой в химическом источнике тока, содержащей
источник напряжения, обеспечивающий приложение напряжения переменного и/или постоянного тока к химическому источнику тока, и
электронную схему, обеспечивающую прием тока, генерируемого химическим источником тока, когда к нему приложено напряжение, измерение упомянутого генерируемого тока, определение емкости химического источника тока на основе измеренного тока, определение площади поверхности химического источника тока, покрытой биологической пробой, на основе емкости источника тока, и определение объема биологической пробы в соответствии с площадью поверхности источника тока, покрытой биологической пробой.
Краткое описание чертежей
Эти и другие задачи, преимущества и признаки настоящего изобретения подробнее описаны ниже со ссылками на прилагаемые чертежи, на которых:
фиг.1 изображает известную электрохимическую индикаторную полоску для электрохимического определения концентрации исследуемого веществ с пространственным разделением деталей;
фиг.2 – схему цепи, отображающей эквивалентное полное сопротивление источника тока в форме индикаторной полоски на фиг.1;
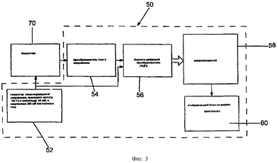
фиг.3 – блок-схему системы для определения адекватности объема пробы, соединенной с электрохимическим биодатчиком, согласно изобретению;
фиг.4 – диаграмму зависимости изменения эквивалентной емкости источника тока от времени для химического источника тока в форме индикаторной полоски, когда источник тока заполнен полностью и наполовину раствором взятой пробы согласно изобретению;.
фиг.5 – диаграмму зависимости изменения эквивалентного полного сопротивления химического источника тока от времени, когда источник тока в форме индикаторной полоски заполнен полностью и наполовину раствором взятой пробы согласно изобретению;
фиг.6 – гистограмму зависимости изменения эквивалентной емкости источника тока для химического источника тока в форме индикаторной полоски через 0,5 секунды после нанесения раствора пробы на индикаторную полоску, когда источник тока заполнен полностью и наполовину раствором взятой пробы согласно изобретению;
фиг.7 – диаграмму отношения эквивалентной емкости химического источника тока и эквивалентного сопротивления источника тока от времени, когда химический источник тока в форме индикаторной полоски заполнен полностью и наполовину раствором взятой пробы согласно изобретению;
фиг.8 – диаграмму разброса зависимости отношения эквивалентной емкости химического источника тока и эквивалентного сопротивления источника тока от эквивалентной емкости химического источника тока, измеренной, через 0,5 секунды после нанесения пробы, когда химический источник тока заполнен полностью и наполовину раствором взятой пробы согласно изобретению.
Подробное описание предпочтительных вариантов воплощения изобретения
В настоящем изобретении предложены системы и способы для определения объема биологической пробы для измерения некоторой выбранной характеристики пробы, например, концентрации исследуемого вещества, и определения того, является ли этот объем адекватным для точного измерения выбранной характеристики. Некоторые системы и способы предусматривают выполнение дополнительной функции компенсации объема пробы, определенного как меньший, чем адекватный, для точного измерения характеристики.
Определения
Термин «двойной слой» относится ко всему массиву семейств заряженных частиц и ориентированных диполей, существующих на поверхности раздела между поверхностью электрода и раствором, являющимся, например, пробой биологического раствора, которая находится в контакте с поверхностью электрода, когда к этому электроду приложено напряжение.
Термин «емкость двойного слоя» (Сдс) обозначает емкость, создаваемую благодаря зарядке двойного слоя поверхности раздела «электрод-раствор».
Термин «фарадическая емкость» (Сп) означает составляющую псевдоемкости, создаваемую благодаря процессу электрохимической реакции, который происходит на поверхности электродов.
Термин «фарадический ток» (iф) обозначает ток или перенос электронов, который происходит на поверхности электрода, к которому приложено напряжение. Термин «эквивалентная емкость источника тока» (С) обозначает суммарную эквивалентную емкость поперек химического источника тока, которая возникает, когда к химическому источнику тока приложено напряжение. Эквивалентная емкость источника тока меньше емкости двойного слоя и фарадической емкости.
Термин «эквивалентное сопротивление источника тока» (R) обозначает общее эквивалентное сопротивление поперек химического источника тока, которое возникает, когда к химическому источнику тока приложено напряжение.
Термин «эквивалентное полное сопротивление источника тока» (Z) обозначает общее полное сопротивление схемы, включающей в себя совокупность эквивалентной емкости источника тока и эквивалентного сопротивления источника тока, возникающую, когда к химическому источнику тока приложено напряжение.
Термин «фарадический ток» (iФар) обозначает ток, возникающий вследствие переноса электронов между компонентом пробы и поверхностью электрода в результате электрохимической реакции, которая происходит, когда приложено напряжение.
Сначала описаны возможные электрохимические биодатчики, используемые совместно с предлагаемыми системами при осуществлении способов согласно настоящему изобретению, после чего приведено подробное описание предлагаемых способов и систем, а также описание предлагаемых комплектов, включающих в себя предлагаемые системы и предназначенных для осуществления предлагаемых способов.
Электрохимические биодатчики
Согласно изобретению предложены системы и способы для определения объема пробы биологического материала, используемой для измерения концентрации исследуемого вещества, и определения того, является ли такой объем адекватным для проведения точного измерения концентрации исследуемого вещества. Эти способы и системы используются совместно с биодатчиком, а более конкретно – с биодатчиком на основе химического источника тока, на который нанесен осаждением или перенесен биологический материал взятой пробы. Существуют различные конструкции биодатчиков на основе химических источников тока. Наиболее распространенные из этих конструкций в области оперативного контроля концентрации исследуемых веществ включают в себя индикаторные полоски (см., например патент США №6193873). Такие индикаторные полоски используются вместе с измерительными устройствами для проведения электрохимических измерений.
Электрохимические биодатчики, не являющиеся индикаторными полосками, также пригодны для использования с настоящим изобретением. Например, электрохимический источник тока может иметь цилиндрическую конфигурацию, в которой сердцевинный электрод расположен соосно со вторым, трубчатым электродом и находится внутри него. Такие конфигурации химических источников тока могут быть выполнены в форме микроигл и либо встроены в конструкцию иглы для измерений in situ (в типичном случае, например, под поверхностью кожи) или с обеспечением физического или гидравлического сообщения с конструкцией микроиглы. Предлагаемые устройства описаны применительно к использованию совместно с химическими источниками тока в конфигурациях индикаторных полосок. Специалистам в данной области техники ясно, что предлагаемые устройства можно использовать с любой подходящей конфигурацией химического источника тока, включая конфигурации микроигл.
Тип проводимого электрохимического измерения может изменяться в зависимости от конкретного характера анализа и измерительного прибора, с которым используется электрохимическая индикаторная полоска. Химический источник тока будет измерять заряд при кулонометрическом анализе, ток при амперометрическом анализе и потенциал при потенциометрическом анализе. В данном случае изобретение описано в контексте амперометрических анализов, но предлагаемые устройства можно использовать при любом типе анализа и электрохимического измерения.
Химический источник тока при любой конфигурации содержит по меньшей мере два электрода, отстоящих друг от друга, при этом обеспечивается либо компоновка «лицом друг к другу», либо компоновка «бок-о-бок» в одной и той же плоскости. В первом случае, электроды отделены тонким слоем прокладки, который ограничивает область или зону реакции, или реакционную камеру, в которую наносят осаждением или переносят биологическую пробу для измерения концентрации исследуемого вещества. При конфигурации «бок-о-бок» электроды находятся в камере с ограниченной толщиной и объемом. В области реакции или реакционной камере присутствует (присутствуют), т.е. нанесен на одну или более лицевых поверхностей электродов один или несколько окислительно-восстановительных реактивов для обеспечения химической реакции с целевым исследуемым веществом (целевыми исследуемыми веществами). Окислительно-восстановительные реактивы в общем случае содержат по меньшей мере один фермент и медиатор.
Известная электрохимическая индикаторная полоска 2, пригодная для использования в настоящем изобретении, представлена на фиг.1. Индикаторная полоска 2 состоит из двух электродов 4, 8, разделенных слоем 12 прокладки, который имеет вырезанный участок, ограничивающий зону или область 14 реакции. Электроды 4, 8 выполнены в виде удлиненных прямоугольных полосок, каждая из которых имеет длину в диапазоне от 2 до 6 см, обычно от 3 до 4 см, ширину в диапазоне от 0,3 до 1,0 мм, обычно от 0,5 до 0,7 см, и толщину в диапазоне от 0,2 до 1,2 см, а обычно от 0,38 до 0,64 см.
Поверхности электродов 4, 8, обращенные к области реакции, выполнены из электропроводного материала, предпочтительно металла, причем металлы, представляющие интерес, включают в себя палладий, золото, платину, иридий, оксид олова, легированный индием, нержавеющую сталь, а также углерод. Внешние поверхности 6, 10 электродов 4, 8 выполнены из инертного материала опоры или подложки. Совместно с электродами 4, 8 можно использовать любой пригодный инертный материал подложки. В типичном случае этим материалом является материал, который способен обеспечить конструктивную опору для электрода и для электрохимической индикаторной полоски в целом. Пригодные материалы включают в себя пластмассы, например полиэтилентерефталат (ПЭТФ), полиэтиленгликоль (ПЭГ), полиимид, поликарбонат, полистирол, силикон, керамику, стекло, и т.п. Электроды 4, 8 и индикаторная полоска 2 могут быть изготовлены способом известным специалистам в этой области техники.
Тонкий слой 12 прокладки расположен между электродами 4, 8. Толщина слоя 12 прокладки находится в диапазоне от 1 до 500 мкм, обычно от 50 до 150 мкм. Слой прокладки может быть изготовлен из любого пригодного материала, причем приемлемые материалы включают в себя ПЭТФ, ПЭГ, полиимид, поликарбонат, и т.п. Поверхности слоя 12 прокладки можно обработать для обеспечения слипания с соответствующими электродами 4, 8 и поддержания тем самым целостности конструкции электрохимической индикаторной полоски 2.
Слой 12 прокладки имеет вырез для формирования зоны или области 14 реакции, имеющей любую форму, например, возможны области реакции, имеющие круглую, квадратную, треугольную, прямоугольную или неправильную форму. Верх и низ области 14 реакции ограничены лицевыми поверхностями электродов 4, 8, тогда как слой 12 прокладки ограничивает боковые стенки области 14 реакции. Объем области 14 реакции находится в диапазоне от 0,1 до 10 мкл, в обычном случае – от 0,2 до 5,0 мкл, более предпочтительно – от 0,3 мкл до 1,6 мкл.
В области 14 реакции размещена система окислительно-восстановительных реактивов, которая обеспечивает возможность обнаружения различных веществ и поэтому используется для вынесения суждения о концентрации исследуемого вещества в биологической пробе. Система окислительно-восстановительных реактивов содержит по меньшей мере один фермент и медиатор. Во многих вариантах осуществления ферментный элемент (ферментные элементы) системы окислительно-восстановительных реактивов представляет собой фермент или множество ферментов, которые действуют совместно, окисляя исследуемое вещество. Иными словами, ферментный компонент системы окислительно-восстановительных реактивов состоит из единственного фермента, окисляющего исследуемое вещество, или совокупности двух или более ферментов, которые действуют совместно, окисляя исследуемое вещество. Типичные ферменты, представляющие интерес, включают в себя оксидоредуктазы, гидролазы, трансферазы. Конкретный фермент, находящийся в области реакции, зависит от конкретного исследуемого вещества, для обнаружения которого предназначена электрохимическая индикаторная полоска. Например, когда исследуемым веществом является глюкоза, подходящие ферменты включают в себя глюкозооксидазу, глюкозодегидрогеназу (либо на основе -никодитамид-аденин-динуклеотида (НАД), либо на основе 4,5-дигидро-4,5-диоксо-1Н-пирроло[2,3-f]хинолин-2,7,9-трикарбоновой кислоты (ДДПХТК)). Когда исследуемым веществом является холестерин, подходящие ферменты включают в себя холестеринэстеразу и холестериноксидазу. Для других исследуемых веществ можно использовать ферменты, включающие в себя липопротеинлипазу, глицеринкиназу, глицерин-3-фосфатоксидазу, лактатоксидазу, лактатдегидрогеназу, пируватоксидазу, алкогольоксидазу, билирубиноксидазу, уратоксидазу.
Вторым компонентом системы окислительно-восстановительных реактивов является медиаторный компонент, состоящий из одного или более медиаторных агентов. В данной области техники известно множество различных медиаторных агентов, которые включают в себя феррицианид, феназинэтосульфат, феназинметосульфат, фенилендиамин, 1-метокси-феназинметосульфат, 2,6-диметил-1,4-бензохинон, 2,5-дихлоро-1,4-бензохинон, производные ферроцена, комплексы бипиридила осмия, комплексы рутения. В тех вариантах осуществления, где исследуемым веществом является глюкоза, а ферментные компоненты представлены глюкозооксидазой или глюкозодегидрогеназой, медиатором являемся феррицианид. Другие реактивы, которые могут присутствовать в области реакции, включают в себя буферные агенты, например, соединения цитраконовой, лимонной, ортофосфорной кислот, «хорошие» буферы.
В общем случае, система окислительно-восстановительных реактивов находится в сухом виде. Количество компонентов может изменяться, при этом количество ферментного компонента находится в диапазоне от 0,1 до 20 мас.%.
Подробное описание заявленных способов
Предлагаемое изобретение включает способы определения объема биологической пробы, нанесенной осаждением или перенесенной на химический источник тока, имеющий зону реакции или реакционную камеру с ограниченным объемом, и определения того, является ли такой объем адекватным для проведения точного измерения концентрации исследуемого вещества. Как упоминалось выше, при определении объема пробы определяют эквивалентную емкость источника тока, а также эквивалентное сопротивление источника тока. Предлагаемые способы обеспечивают повышенную точность замера объема пробы по сравнению с известными способами.
В предлагаемых способах при определении эквивалентной емкости источника тока, а также эквивалентного сопротивления источника тока и объема пробы игнорируют некоторые характеристики или факторы раствора взятой пробы или окружающих условий, которые либо не влияют на определение эквивалентной емкости и/или эквивалентного сопротивления, либо этими факторами управляют так, что они не оказывают существенного влияния на результаты. Факторы, которыми управляют или от которых не зависит эквивалентная емкость, включают концентрацию ионов, гематокритное число крови, концентрацию глюкозы в крови, температуру окружающей среды, характерные признаки донора, а также вещества, мешающие работе датчиков и обычно обнаруживаемые в крови, толщину источника тока и старение биодатчика.
Для понимания существа способа, на фиг.2 представлена упрощенная модель цепи 40 полного сопротивления химического источника тока, имеющего форму индикаторной полоски, показанной на фиг.1. Цепь 40 полного сопротивления отображает факторы полного сопротивления индикаторной полоски, когда в ней содержится проба биологической жидкости и к ней приложено напряжение. Когда к источнику тока приложено и напряжение АС и DC, цепь 40 полного сопротивления содержит эквивалентную емкость (С) 42 источника тока, которая включает в себя емкость двойного слоя и фарадическую емкость, и эквивалентное сопротивление (R) 46 источника тока, который является химическим источником тока.
Вначале получают биологическую пробу, подлежащую измерению, и помещают эту пробу внутрь источника тока в форме индикаторной полоски. Размещение пробы в индикаторной полоске можно осуществить, сначала вводя индикаторную полоску в тестирующий измерительный прибор, а затем нанося пробу на индикаторную полоску («дозирование в измерительном приборе»), или сначала нанося пробу на индикаторную полоску, а затем вводя эту индикаторную полоску в тестирующий измерительный прибор («дозирование вне измерительного прибора»). Последний порядок действий предпочтителен в больницах, поскольку он предотвращает загрязнение внутри измерительного прибора. После этого измерительный прибор обнаруживает, что биологическая проба введена в химический источник тока, как указано в патенте США №6193873.
Сразу же после обнаружения пробы на первом этапе прикладывают напряжение переменного тока (VAC) малой амплитуды к биодатчику. Амплитуду прикладываемого напряжения АС выбирают так, что оно не вызывает протекание фарадического тока (iфар), т.е. перенос электронов, который происходит на поверхности электродов в результате электрохимической реакции после приложения напряжения к электроду. Амплитуда прикладываемого напряжения АС имеет среднеквадратическое значение, которое находится в диапазоне от 2 до 100 мВ, обычно – в диапазоне от примерно 5 до 75 мВ, а в более предпочтительно составляет около 50 мВ. Частоту (f) прикладываемого напряжения АС также выбирают с обеспечением максимума отношения «сигнал-шум» источника тока (т.е. отношения измеренной эквивалентной емкости источника тока к изменчивости этой измеренной эквивалентной емкости источника тока). Приемлемая частота прикладываемого напряжения АС находится в диапазоне от 50 до 10000 Гц, предпочтительно – в диапазоне от 75 до 1000 Гц, более предпочтительно составляет около 100 Гц.
Можно прикладывать к биодатчику напряжение DC, либо одновременно с приложением напряжения АС, либо прикладывая одну половину напряжения DC перед приложением напряжения AC. В общем случае, это напряжение DC находится в диапазоне от 0 до 600 мВ, предпочтительно от 200 до 500 мВ, более предпочтительно – от 300 до 400 мВ. Составляющая напряжения DC вызывает более быструю стабилизацию эквивалентной емкости химического источника тока, чем в случае приложения только напряжения АС. Быстрая стабилизация емкости источника тока обеспечивает определение объема пробы до проведения измерения исследуемого вещества, минимизируя общее время тестирования.
После приложения напряжений АС и DC, измеряют переменный ток (IAC), генерируемый в результате зарядки химического источника тока. После этого можно определить эквивалентную емкость источника тока на основе амплитуды и фазы получаемого переменного тока.
Чтобы эквивалентная емкость источника тока зависела только от площади поверхности источника тока, находящейся в контакте с биологической пробой, нужно точно управлять расстоянием (dd1), разделяющим заряды и характерным емкости двойного слоя, чтобы оно было постоянным во время определения объема раствора пробы. Толщина конденсатора с двойным слоем зависит от приложенного напряжения и концентрации семейств заряженных частиц в растворе. Чтобы гарантировать постоянную толщину слоя, разделяющего заряды, т.е. гарантировать точное определение площади поверхности каждого электрода, находящейся в контакте с раствором пробы, и точное определение объема пробы, нужно точно управлять концентрацией ионов окислительно-восстановительного реактива и при этом осуществлять физиологическое управление концентрацией ионов пробы в очень узком диапазоне.
Как упоминалось выше, эквивалентное сопротивление химического источника тока также влияет на точное определение объема пробы. Установлено, что эквивалентное сопротивление (R) источника тока обратно пропорционально площади поверхности источника тока, покрытой пробой, а эквивалентная емкость (С) источника тока прямо пропорциональна покрытой площади источника тока в соответствии с нижеследующими соотношениями
R= l/А и С А,
где – удельное сопротивление химического источника тока, l – длина электрода источника тока, А – проводящая поверхность источника тока, при этом справедливо следующее соотношение:
C/R А2.
Таким образом, величину площади поверхности источника тока, покрытую биологической пробой, можно определить, воспользовавшись отношением эквивалентной емкости источника тока к эквивалентному сопротивлению источника тока. Учитывая влияние объема пробы на обе составляющие полного сопротивления (емкость и сопротивление), а не только на одну из них (например, емкость), устанавливают соотношение, которое повышает чувствительность реакции на изменения величины площади поверхности источника тока, покрытой биологической пробой. Более точно, отношение емкости источника тока к сопротивлению источника тока имеет квадратичную зависимость, а не линейную зависимость от площади поверхности источника тока, покрытой биологической пробой. Тем самым повышается чувствительность к измеряемому изменению покрытой площади источника тока. Следовательно, определение покрытой площади источника тока в соответствии с этим способом еще точнее, чем при учете только эквивалентной емкости источника тока.
После определения площади поверхности электрода, находящейся в контакте с раствором пробы или покрытой этим раствором, затем определяют объем (Vs) раствора пробы внутри биодатчика, т.е. в пределах области реакции химического источника тока, в соответствии со следующим уравнением
Vs=А·d,
где d – расстояние между электродами источника тока при конфигурации электродов «лицом друг к другу» или глубина источника тока при конфигурации электродов «бок-о-бок».
Затем определяют, является ли объем пробы, нанесенной на индикаторную полоску, адекватным для проведения измерения концентрации исследуемого вещества. Такое определение проводят путем сравнения расчетного объема пробы с общим объемом химического источника тока. В соответствии с рассуждениями, приводимыми ниже применительно к системам согласно настоящему изобретению, некоторые параметры, включая, значение общего объема источника тока, диапазон рабочей температуры, надлежащее вставление индикаторной полоски в измерительный прибор, среди прочих данных (статических и динамических) или параметров, связанных с конкретным источником тока, хранятся в памяти микропроцессора, например, после калибровки измерительного прибора и других соответствующих элементов предлагаемых систем.
Если определено, что объем пробы является адекватным, проводят измерение желаемой характеристики, например концентрации исследуемого вещества, а результаты этого измерения отображают в блоке отображения, который более подробно описан ниже применительно к предлагаемым системам. С другой стороны, если определено, что объем пробы не является адекватным, т.е. слишком мал, чтобы провести точное измерение, блоку отображения можно придать конфигурацию, обеспечивающую отображение пиктограммы малого объема,
Как указано выше, некоторые варианты осуществления предлагаемых способов обеспечивают выполнение дополнительной функции компенсации неадекватного объема раствора пробы для проведения точного измерения выбранной характеристики, например концентрации целевого исследуемого вещества (целевых исследуемых веществ), без обязательного повторного проведения этапов отбора проб и тестирования.
В данной области техники известно, что концентрация выбранного вещества, например, глюкозы, содержащейся в биологической пробе, находящейся внутри источника тока, пропорциональна фарадическому току (iF), который проходит через химический источник тока, когда приложено напряжение DC, и что ток в источнике тока пропорционален площади поверхности источника тока, покрытой раствором пробы. Было обнаружено, что площадь поверхности пропорциональна эквивалентной емкости источника тока. Таким образом, концентрация исследуемого вещества пропорциональна эквивалентной емкости источника тока. Определяя эквивалентную емкость источника тока при наличии в нем раствора пробы и зная емкость источника тока, полностью заполненного биологическим раствором (определяемую в процессе калибровки), можно определить коэффициент компенсации (Fef), необходимый для компенсации малого объема пробы и для проведения точного измерения концентрации исследуемого вещества, в соответствии со следующим уравнением:
Fef=Спз/Снеад,
где Спз – эквивалентная емкость полностью заполненного химического источника тока, а Снеад – эквивалентная емкость химического источника тока, содержащего неадекватный объем биологической пробы.
Затем осуществляют откорректированный замер (G) концентрации исследуемого вещества при подходящем коэффициенте компенсации (Fef) в соответствии со следующим уравнением
G=Fef·Снеад,
где Gнеад – концентрация исследуемого вещества, вычисленная по данным источника тока, содержащего неадекватный объем биологической пробы. Поскольку обеспечивается компенсация неадекватно малого объема пробы предлагаемые способы исключают бесполезный расход индикаторных полосок и уменьшают время, необходимое для проведения измерения концентрации исследуемых веществ.
Способ согласно настоящему изобретению содержит следующие этапы: прикладывают напряжение АС, имеющее выбранную амплитуду и выбранную частоту, к биодатчику, прикладывая или не прикладывая при этом еще и напряжение DC к этому биодатчику, измеряют переменный ток, генерируемый за счет приложения напряжения/напряжений, определяют емкость или емкость и сопротивление биодатчика по измеренному переменному току, определяют площадь поверхности части биодатчика, находящейся в контакте с пробой, по емкости или по емкости и сопротивлению, а затем определяют объем пробы внутри биодатчика по площади поверхности.
Другие предлагаемые способы дополнительно включают измерение одной или более физических или химических характеристик биологической пробы, таких как концентрация одного или более исследуемых веществ, по тому является ли объем пробы адекватным. В еще одном варианте воплощения способ включает компенсацию неадекватного объема биологической пробы, удерживаемой внутри электрохимического биодатчика для измерения, по меньшей мере одной характеристики биологической пробы, для точного измерения величины этой характеристики. Такой способ компенсации содержит определение необходимого коэффициента компенсации, применяемого для компенсации неадекватного объема пробы, если таковой определен, и последующую компенсацию неадекватного объема пробы во время измерения, например, концентрации выбранного исследуемого вещества, присутствующего в пробе. Этап определения необходимого коэффициента компенсации включает определение отношения эквивалентной емкости биодатчика, когда он полностью заполнен пробой, к определенной эквивалентной емкости биодатчика с неадекватным объемом пробы. Значение эквивалентной емкости биодатчика, когда он полностью заполнен находящейся в нем пробой, можно получать из средства запоминания и хранения.
Подробное описание заявленных систем
Согласно изобретению также предложены системы для осуществления предложенных способов. Система содержит источник напряжения, который имеет конфигурацию, обеспечивающую приложение напряжения к химическому источнику тока, средство для измерения тока, генерируемого источником тока, когда к этому источнику тока приложено напряжение, средство для определения емкости и/или сопротивления источника тока на основе измеренного тока, средство для определения площади поверхности источника тока, покрытой биологической пробой, в состав с емкостью и/или сопротивлением источника тока, и средство для определения объема биологической пробы в состав с площадью поверхности источника тока. Некоторые системы дополнительно содержат средство для определения того, является ли объем пробы адекватным для проведения точного измерения одной или более выбранных характеристик биологической пробы, включая концентрацию одного или более выбранных исследуемых веществ в биологической пробе. Некоторые из этих систем дополнительно содержит средство для компенсации неадекватного объема пробы при измерении выбранной характеристики биологической пробы.
На фиг.3 изображена блок-схема системы 50 согласно настоящему изобретению. Система 50 содержит электронные элементы и схемы, которые обеспечивают соединение электронными средствами с биодатчиком 70, например, химическим источником тока, предназначенным для измерения и выполненным в форме индикаторной полоски одноразового использования, которая описана выше и на которую нанесен осаждением или перенесен биологический раствор взятой пробы, подлежащий тестированию. Система 50 содержит в описанном варианте источник 52 напряжения, предназначенный для подачи требуемых входных напряжение АС и DC в биодатчик 70. Система 50 также содержит преобразователь 54 тока в напряжение, аналого-цифровой преобразователь 56 и микропроцессор 58, совместная работа которых обеспечивает прием и обработку данных из биодатчика 70. Преобразователь 54 тока в напряжение оперативно соединен с выходной клеммой биодатчика 70 для приема выходного сигнала тока из биодатчика 70, когда к нему приложено напряжение от источника 52 напряжения, а также для преобразования сигнала тока в соответствующий сигнал напряжения. Последний затем выдается в качестве входного сигнала в аналого-цифровой преобразователь 56, который преобразует аналоговый сигнал напряжения в соответствующее цифровое значение. Цифровое значение затем выдается в качестве входного сигнала в микропроцессор 54, который по программе определяет интересующие факторы или параметры, в качестве которых могут быть эквивалентная емкость источника тока, эквивалентное сопротивление источника тока, площадь поверхности биодатчика, находящаяся в контакте с биологической пробой, объем биологической пробы, коэффициент компенсации объема, а также управление синхронизацией каждой из этих функций. Как упоминалось выше, микропроцессор 54 содержит средство памяти предназначенное для хранения предварительно определенных, предварительно выбранных или калиброванных данных, или такой информации, как общий объем химического источника тока, параметры калибровки, диапазон рабочей температуры, а также информацию о типе пробы, информацию об обнаружении пробы, и причем вся информация необходима для выполнения этапов и функций, обусловленных предлагаемыми способами. Хотя микропроцессор описан применительно к хранению и обработке данных в соответствии с принципами настоящего изобретения, специалисты могут использовать другие дискретные электронные компоненты.
Предлагаемая система может дополнительно содержать устройство или блок 60 для отображения выбранных количественных или символьных данных, информации или выходных сигналов, выдаваемых управляющим устройством или микропроцессором. Такие данные, информация или выходные сигналы могут включать измеренные или выведенные расчетным путем значения выбранных выходных сигналов и коэффициентов полного сопротивления, размер объема пробы, пиктограммы индикаторов адекватности и/или неадекватности, коэффициенты компенсации неадекватного объема, концентрации интересующих исследуемых веществ, пиктограммы индикаторов соотношений биологической пробы и управляемой пробы, результаты калибровки.
Во многих вариантах осуществления этапы подачи электрохимического сигнала, определения, калибровки, компенсации и отображения, описанные выше, автоматически выполняются предлагаемыми системами, предназначенными для работы совместно с химическим источником тока. Электронные схемы предлагаемых систем могут быть структурно и функционально встроены в измерительный прибор или другое автоматизированное устройство, которому придана конфигурация, обеспечивающая прием и оперативный контакт с химическим источником тока, например, индикаторной полоской одноразового использования, а также измерение одной или более физических или химических характеристик биологической пробы, удерживаемой внутри химического источника тока. В наиболее типичном случае такие характеристики включают в себя концентрацию одного или более целевых исследуемых веществ в биологической пробе. Дополнительные сведения об измерительном приборе или устройстве для автоматического выполнения некоторых из перечисленных выше или аналогичных этапов или функций таким образом, что пользователю нужно лишь поместить биологическую пробу в зону реакции источника тока, а затем прочитать окончательный результат, касающийся концентрации исследуемого вещества, можно найти в патенте США №6193873.
Предлагаемые системы можно применять совместно с системами анализа, которые не содержат биодатчики вышеописанного типа. Такие системы содержат, например, химический источник тока, имеющий, по меньшей мере, два электрода и систему окислительно-восстановительных реактивов, имеющую фиксированную концентрацию ионов, причем электроды имеют конфигурацию, обеспечивающую их размещение в пределах биологической пробы или окружающей среды, имеющей некоторую фиксированную концентрацию ионов.
Примеры
Ниже приведены результаты использования заявленного способа и системы. На фиг.4-8 изображена вариация экспериментальных результатов измерений, проведенных с помощью индикаторных полосок, имеющих адекватный объем пробы, т.е. индикаторных полосок, имеющих зоны реакции, полностью заполненные раствором или материалом пробы, и индикаторных полосок, имеющих объем пробы, меньший, чем адекватный, т.е. индикаторных полосок, имеющих зоны реакции, наполовину заполненные раствором или материалом пробы. Измерения эквивалентной емкости химических источников тока и сопротивления раствора проб проводили в течение предварительно выбранных периодов времени, на протяжении которых к индикаторным полоскам прикладывали соответствующее напряжение. Нижеследующие результаты предлагаются в качестве иллюстрации и не носят ограничительный характер. Результаты были собраны путем нанесения на полоски проб крови, взятых у 5-ти разных доноров и имевших диапазон содержания глюкозы 40-600 мг/дл и гематокритное число от 20 до 70% при комнатной температуре.
На фиг.4 изображено сравнение зависимости изменения эквивалентной емкости источника тока от времени для индикаторных полосок 130, полностью заполненных пробами крови, и индикаторных полосок 132, наполовину заполненных пробами крови. Из диаграммы следует, что полностью заполненные индикаторные полоски 130 давали эквивалентную емкость источника тока, вдвое превышавшую эквивалентную емкость наполовину заполненных индикаторных полосок 132.
На фиг.5 сравнение зависимости изменения эквивалентного сопротивления источника тока от времени в индикаторных полосках 136, полностью заполненных пробами крови, и индикаторных полосках 134, наполовину заполненных пробами крови. Больший объем пробы крови давал эквивалентное сопротивление источника тока, составлявшее примерно половину эквивалентного сопротивления индикаторных полосок, заполненных меньшим объемом пробы крови.
На фиг.6 представлены гистограммы эквивалентной емкости источника тока индикаторных полосок 140, полностью заполненных пробами крови, и индикаторных полосок 138, наполовину заполненных пробами крови, причем эквивалентную емкость источника тока измеряли через 0,5 секунды после нанесения пробы крови на индикаторную полоску. Полностью заполненные индикаторные полоски 140 с очень хорошей воспроизводимостью давали эквивалентную емкость источника тока, вдвое превышавшую эквивалентную емкость наполовину заполненных индикаторных полосок 138.
На фиг.7 показано сравнение зависимости изменения отношения эквивалентной емкости химического источника тока и эквивалентного сопротивления источника тока (C/R) от времени для индикаторных полосок 142, полностью заполненных пробами крови, и индикаторных полосок 144, наполовину заполненных пробами крови. Полностью заполненные индикаторные полоски 142 давали отношение C/R, в четыре раза превышавшее отношение C/R в наполовину заполненных индикаторных полосках 144.
На фиг.8 показано сравнение диаграммы разброса зависимости отношения эквивалентной емкости химического источника тока и эквивалентного сопротивления источника тока (C/R) от эквивалентной емкости источника тока для индикаторных полосок 146, полностью заполненных пробами крови, и индикаторных полосок 148, наполовину заполненных пробами крови, причем емкость и сопротивление измеряли через 0,5 секунды после нанесения пробы на индикаторную полоску. Отношение C/R оказалось параметром, более чувствительным к объему пробы, по сравнению с эквивалентной емкостью источника тока.
Комплекты
Согласно изобретению также предложены комплекты для использования при осуществлении предлагаемых способов. Комплекты согласно изобретению содержат систему, включающую электронную схему, как описано выше, или выполненную в форме измерительного прибора или другого автоматизированного устройства, как описано выше, для определения того, является ли объем пробы, нанесенной на индикаторную полоску, достаточно адекватным для проведения точного измерения концентрации исследуемого вещества. В некоторых других комплектах предлагаемые системы также компенсируют неадекватный объем во время проведения измерения концентрации исследуемого вещества. Комплекты могут дополнительно включать в себя инструкции для использования предлагаемых систем в соответствии с предлагаемыми способами и совместно с химическим источником тока, выполненным в форме индикаторной полоски или микроиглы и т.п., при определении объема раствора или материала пробы, удерживаемой внутри химического источника тока. Эти инструкции могут быть представлены на одном или более конструктивных элементах, таких как упаковка или вкладыш с этикеткой.
Из вышеизложенного описания следует, что предлагаемые способы и системы обеспечивают преодоление многих недостатков известных способов определения объема биологической пробы, нанесенной осаждением на индикаторную полоску для электрохимического анализа концентрации исследуемого вещества, и позволяют получить определенные преимущества, включая предоставление очень точного средства и способа осуществления определения объема пробы и уменьшения времени, необходимого для проведения измерений концентраций исследуемых веществ. Кроме того, определение объема пробы не подвержено изменениям, зависящим от концентрации глюкозы в крови, уровня гематокритного числа крови, донора крови, температуры тестирования и концентрации мешающих веществ, часто присутствующих в пробах крови. Другие преимущества изобретения включают в себя возможность компенсировать неадекватный объем крови и проводить измерение концентрации исследуемого вещества без необходимости отказа от процедуры тестирования, что минимизирует бесполезный расход материалов и стоимость.
Формула изобретения
1. Способ определения объема биологической пробы, удерживаемой внутри электрохимического биодатчика, заключающийся в том, что прикладывают к биодатчику напряжение переменного тока, имеющее амплитуду среднеквадратических значений от около 2 до около 100 мВ и частоту в диапазоне от 50 до 10000 Гц, измеряют ток, генерируемый за счет приложения напряжения переменного тока, определяют электрическую емкость биодатчика в соответствии с измеренным током, определяют площадь поверхности биодатчика, находящуюся в контакте с пробой, на основе упомянутой измеренной емкости, и определяют объем пробы внутри биодатчика по измеренной площади поверхности.
2. Способ по п.1, отличающийся тем, что дополнительно определяют, является ли объем пробы адекватным для проведения измерений одной или более выбранных характеристик пробы.
3. Способ по п.2, отличающийся тем, что дополнительно измеряют концентрацию одного или нескольких исследуемых веществ, присутствующих в пробе, причем измерение проводят, если упомянутый объем пробы является адекватным.
4. Способ по п.2, отличающийся тем, что дополнительно измеряют концентрацию одного или более требуемых исследуемых веществ, присутствующих в образце после определения, что указанный объем образца является неадекватным, для чего определяют необходимый коэффициент компенсации, путем деления эквивалентной емкости Спз полностью заполненного электрохимического источника тока на эквивалентную емкость Снеад электрохимического источника тока, содержащего неадекватный объем биологической пробы, причем указанный коэффициент предназначен для компенсации неадекватного объема, чтобы точно измерить концентрацию по меньшей мере одного исследуемого вещества, осуществляют компенсацию неадекватного объема пробы.
5. Способ по п.4, отличающийся тем, что для определения необходимого коэффициента компенсации определяют отношение емкости биодатчика, когда он полностью заполнен пробой, к емкости биодатчика с неадекватным объемом пробы.
6. Способ по п.1, отличающийся тем, что дополнительно определяют сопротивление биодатчика на основе измеренного тока.
7. Способ по п.6, отличающийся тем, что дополнительно определяют площадь поверхности биодатчика, находящейся в контакте с пробой, на основе емкости и сопротивления.
8. Способ по п.1, отличающийся тем, что дополнительно прикладывают напряжение постоянного тока к биодатчику.
9. Способ по п.8, отличающийся тем, что приложение напряжения постоянного тока и напряжения переменного тока осуществляют одновременно.
10. Способ измерения концентрации одного или более выбранных исследуемых веществ, присутствующих в биологической пробе, удерживаемой внутри электрохимического биодатчика, заключающийся в том, что определяют объем биологической пробы, удерживаемой в указанном электрохимическом биодатчике, определяют адекватность объема биологической пробы для измерения указанной концентрации, и после определения, что объем биологической пробы является неадекватным, компенсируют измерение концентрации для неадекватного объема.
11. Система определения объема биологической пробы внутри химического источника тока, имеющего площадь поверхности и объем, содержащая источник напряжения, обеспечивающий приложение напряжения к химическому источнику тока, средство для измерения тока, генерируемого источником тока, когда к этому источнику тока приложено напряжение, средство для определения емкости источника тока на основе измеренного тока, средство для определения площади поверхности источника тока, покрытой биологической пробой, на основе емкости источника тока, и средство для определения объема биологической пробы, исходя из площади поверхности источника тока.
12. Система по п.11, отличающаяся тем, что дополнительно содержит средство для определения того, является ли объем пробы адекватным для проведения точного измерения концентрации одного или более выбранных исследуемых веществ в биологической пробе.
13. Система по п.12, отличающаяся тем, что дополнительно содержит средство для измерения концентрации одного или более выбранных исследуемых веществ в биологической пробе и средство для компенсации объема пробы, определенного как неадекватный при измерении концентрации одного или более выбранных исследуемых веществ в биологической пробе.
14. Система для использования совместно с измерительным прибором, обеспечивающим контакт с химическим источником тока и измерение концентрации одного или более выбранных исследуемых веществ в биологической пробе, удерживаемой в химическом источнике тока, содержащая источник напряжения, обеспечивающий приложение напряжения переменного и/или постоянного тока к химическому источнику тока, и электронную схему, обеспечивающую прием тока, генерируемого химическим источником тока, когда к нему приложено напряжение, измерение упомянутого генерируемого тока, определение емкости химического источника тока на основе измеренного тока, определение площади поверхности химического источника тока, покрытой биологической пробой, на основе емкости источника тока, и определение объема биологической пробы в соответствии с площадью поверхности источника тока, покрытой биологической пробой.
РИСУНКИ
|
|