|
(21), (22) Заявка: 2005121670/12, 11.07.2005
(24) Дата начала отсчета срока действия патента:
11.07.2005
(46) Опубликовано: 10.02.2007
(56) Список документов, цитированных в отчете о поиске:
RU 2153276 C1, 27.07.2000. RU 2095014 C1, 10.11.1997. US 5697668 A, 16.12.1997. RU 2132148 C1, 27.06.1999. RU 2160030 C2, 10.12.2000.
Адрес для переписки:
119021, Москва, Фрунзенская наб., 2/1, кв.11, А.В.Пилие
|
(72) Автор(ы):
Пилия Анатолий Владимирович (RU)
(73) Патентообладатель(и):
Пилия Анатолий Владимирович (RU)
|
(54) КОМПЛЕКТ ФУНКЦИОНАЛЬНОЙ ОРТОПЕДИЧЕСКОЙ УЧЕНИЧЕСКОЙ МЕБЕЛИ, КРЕСЛО КОМПЛЕКТА (ВАРИАНТЫ)
(57) Реферат:
Изобретение относится к мебели, используемой в качестве учебной, и обеспечивает возможность более точной адаптации параметров стола и кресла комплекта для учащихся в различные периоды роста с различной динамикой изменения пропорций тела в этих периодах. Комплект содержит стол, включающий столешницу, смонтированную на опорах с возможностью переустановки по высоте с первым шагом t1. Кресло имеет сиденье, спинку, а также подлокотники, которые смонтированы на стойках с возможностью переустановки по высоте со вторым шагом t2. Спинка с подлокотниками смонтированы с возможностью дополнительной переустановки относительно любого положения установленного сидения с шагом t2. По меньшей мере, одна дополнительная переустановка имеет шаг S, отличающийся по величине от других, и дополнительной переустановки, по меньшей мере, на величину одного – третьего шага t3 относительно смещенного положения. 2 н. и 27 з.п. ф-лы, 15 ил.
Изобретение относится к мебели, используемой в качестве учебной, и в частности, к комплекту функциональной ортопедической ученической мебели и креслу комплекта ученической мебели.
Основные требования, предъявляемые к конструкции ученической мебели, заключаются в обеспечении таких эргономических характеристик, которые отвечают возрастным физиологическим параметрам учащихся, способствуют их нормальному физическому развитию, обеспечивают правильную посадку.
Известно, что в разные периоды развития у детей и подростков имеет место неравномерное изменения пропорций тела.
Так в период в 10-14 лет наблюдается стабилизация скорости роста с небольшим ускорением в 5-6 лет.
В пубертатном периоде скорость роста увеличивается и достигает максимума через 2-3 года после начала этого периода.
Интенсивный рост прекращается 16-18 годам, причем в связи с акселерацией отмечается увеличение средних показателей роста, при этом в период 12-15 лет конечности растут быстрее туловища, линейный рост дистальной части конечностей начинается раньше, чем проксимальной. Известные комплекты ученической мебели, как правило, учитывают только один фактор – изменение роста ребенка. Их конструкция не отражает особенности неравномерного роста различных частей его тела.
Так, из патента RU 2095014 [1] известен комплект функциональной ученической мебели, содержащий стол с опорными стойками, на которых с возможностью переустановки по высоте смонтирована столешница, и кресло, имеющее переустанавливаемое по высоте жестокое сиденье со спинкой.
Подлокотники со стойками кресла комплекта [1] установлены на ножках кресла с возможностью независимой относительно сиденья переустановки по высоте.
Устройство стола и кресла известного комплекта 1 обеспечивают их адаптацию под конкретные физиологические параметры пользователя, кресло имеет сиденье и спинку с опорными частями для фиксации таза и спины с хорошими эргономическими характеристиками.
Однако, как указывалось выше, известная конструкция [1] предусматривает возможность только пропорционального регулирования высоты стола, сиденья, спинки и подлокотников кресла по нескольким уровням, при этом отсутствует возможность регулирования высоты спинки относительно сиденья. Комплект не учитывает динамику изменения пропорций тела ребенка в различные периоды роста.
Кроме того, сиденье и спинка кресла комплекта [1], а также их опорные части имеют заранее заданные размеры и форму, изменение которых в процессе эксплуатации комплекта не предусмотрено.
Из патента US 5697668 [2] известен комплект ученической мебели, содержащий парту со столом, столешница которого установлена на опорах с возможностью регулирования высоты, и переустанавливаемые по высоте жесткие сиденье и спинку, выполненные за одно целое и имеющие заранее заданные размеры и форму опорных частей.
К недостаткам известного комплекта (2) относится сложность и недостаточная надежность узлов фиксации столешницы и сиденья на установленном уровне, а также невысокие эргономические характеристики, связанные с отсутствием регулировок относительного положения сиденья и спинки и с отсутствием подлокотников. Кроме того, в [2] также не учитывается динамика изменения пропорций тела ребенка в различные периоды роста.
Из патента RU 2153276 [3] известен комплект функциональной ученической мебели, содержащий стол, включающий столешницу, смонтированную на опорах с возможностью переустановки по высоте, и кресло, которое имеет сиденье, спинку и подлокотники, смонтированные на опорных стойках с возможностью шаговой переустановки по высоте.
Подлокотники и спинка известного комплекта [3] смонтированы с возможностью независимой шаговой переустановки относительно сиденья.
К недостаткам комплекта [3] также относится то, что конструкции стола и кресла не учитывают особенностей динамики изменения пропорций тела учащегося в различные возрастные периоды.
Изменение высоты столешницы стола, сиденья и спинки с подлокотниками комплекта [3] осуществляется пропорционально в соответствии с физиологическими особенностями пользователей, при этом предусматривается пять уровней регулирования, в которых переустановки сиденья и спинки с подлокотниками производятся с постоянным шагом.
Известные конструкции кресла и стола имеют хорошую адаптацию к физиологическим параметрам конкретного учащегося с учетом пропорциональных изменений длины корпуса и конечностей в процессе его роста, однако изменение высоты спинки с подлокотниками относительно сиденья в [3] может осуществляться только на величину, равную или кратную шагу переустановки.
Для учета того обстоятельства, что в определенные, указанные выше периоды роста увеличение длины корпуса и конечностей происходит непропорционально (рост конечностей может, в частности, опережать рост туловища), в комплекте [3] необходимо предусмотреть увеличение количества уровней регулирования с соответственным уменьшением величины шага регулирования и увеличением количества шагов, что повлечет за собой усложнение конструкции и регулирования.
Сиденье и спинка кресла комплекта [3], а также их опорные части имеют заранее заданные размеры и форму, изменение которых в связи, например с изменениями размеров и формы тела учащегося по мере роста, в процессе эксплуатации комплекта не предусмотрено.
Таким, образом, все известные комплекты ученической мебели не учитывают такой важный параметр роста ребенка как непропорциональный рост его отдельных частей в различные периоды развития.
Цель изобретения – создание недорогого и простого по конструкции комплекта ученической мебели, обладающего высокими эргономическими характеристиками и обеспечивающего регулирование параметров парты и кресла с учетом особенностей развития и изменения пропорций тела учащихся в разные возрастные периоды.
Указанный технический результат достигается за счет того, что комплект функциональной ученической мебели содержит стол, включающий столешницу, смонтированную на опорах с возможностью переустановок по высоте с первым постоянным по величине шагом t1, и кресло, сиденье, спинка и подлокотники которого смонтированы на стойках с возможностью переустановок по высоте со вторым постоянным шагом t2, причем спинка с подлокотниками смонтированы с возможностью дополнительных переустановок по высоте относительно любого из установленных со вторым шагом t2 положений сиденья, при этом, по меньшей мере, одна из дополнительных переустановок спинки с подлокотниками имеет шаг S, отличный по величине от других, имеющих постоянный по величине третий шаг t3.
Это обеспечивает возможность регулирования высоты спинки с подлокотниками относительно сиденья, по меньшей мере, по параметрам t3 и/или S на каждом с шагом t2 уровне положения сиденья в зависимости от динамики роста конечностей и/или туловища учащегося в различном возрастном периоде.
Например, в период, когда рост конечностей учащихся опережает рост туловища, изменение положения спинки с подлокотниками относительно установленного уровня сиденья может быть выбрано с минимальным шагом дополнительной переустановки, а для другого периода – с большим шагом. При этом соответственно с величиной шага устанавливается и порядок, т.е. количество и последовательность переустановок столешницы, сиденья и спинки с подлокотниками по высоте во взаимосвязи для соответствующего периода.
Кроме того, величина второго шага t2 переустановки по высоте сиденья и спинки с подлокотниками может быть выбрана меньше величины первого шага t1 переустановки столешницы и больше величины третьего шага t3 дополнительной переустановки спинки с подлокотниками – t123.
Это обеспечивает минимальное общее количество регулировок столешницы, сиденья и спинки с подлокотниками под физиологические параметры конкретного пользователя.
При этом величина шага переустановки столешницы определяется с учетом роста дистальной части нижних конечностей (голени), что примерно соответствует изменению высоты сиденья (без учета изменения высоты стопы в обуви) и с учетом роста туловища, то есть в первом приближении шаг переустановки столешницы складывается из изменения длины голени и туловища в процессе роста учащегося.
Очевидно, что при увеличении количества уровней регулирования при прочих равных условиях адаптация комплекта улучшается, однако при этом усложняется конструкция и регулирование в целом, в связи с чем необходимо оптимально минимизировать количество уровней регулирования.
Для расширения диапазон возможных регулировок высоты спинки и подлокотников относительно сиденья – удвоенная величина третьего шага t3 – выбирается меньше величины второго шага t2 и больше половины его величины – t2<2t3<0,5t2.
Такое соотношение обеспечивает возможность изменения высоты спинки с подлокотниками относительно сиденья не только на величины t3 и/или S, но и на величину, равную, например, разности шагов, что также способствует более точной адаптации параметров кресла для конкретного учащегося в процессе роста.
Для регулирования положения спинки с подлокотниками относительно сиденья на большую, чем шаг t3, величину (в период стабилизации роста конечностей и туловища) шаг S может выбирается по величине меньшим удвоенной величины шага t3 и большим этого шага – t33.
Это обеспечивает возможность переустановки спинки с подлокотниками относительно сиденья, а также сиденья и спинки с подлокотниками относительно уровня пола с различными смещениями на различные по величине шаги с учетом изменений пропорций тела учащегося в различные периоды его роста.
В конкретном конструктивном исполнении стол может иметь телескопические опоры, каждая из которых включает опорную стойку, нижний конец которой связан с поперечной опорной балкой, и смонтированную на опорной стойке с возможностью шаговой переустановки вдоль нее по высоте со вторым шагом подвижную стойку, причем столешница установлена на раме, смонтированной на подвижных стойках, а каждая пара опорных и подвижных стоек парты жестко соединена между собой поперечинами.
Комплект функциональной ученической мебели может иметь соединение опорных и подвижных стоек с соответствующими поперечинами парты с возможностью монтажной регулировки расстояния между стойками, что способствует правильной установке зазоров между подвижной и опорной стойками, исключает перекосы и заклинивание при регулировании.
Для лучшей адаптации пользователя к работе за столом каждая подвижная стойка парты в средней части жестко связана с подкосом, причем рама столешницы с боковых сторон у переднего края столешницы шарнирно соединена с подкосами, а с боковых сторон у заднего края столешницы рама соединена с верхней частью подвижных стоек с возможностью переустановки по высоте для поворота столешницы относительно оси ее шарнирного соединения с подкосом и изменения, таким образом, угла наклона столешницы (от 0 до 20°).
Конструктивная реализация возможности переустановок столешницы заключается в том, что по длине каждой неподвижной стойки выполнен ряд отверстий с равным шагом t1, а подвижная и неподвижная стойки зафиксированы друг относительно друга посредством, по меньшей мере, одного винта, пропущенного в, по меньшей мере, одно отверстие, выполненное в нижней части подвижной стойки и в, по меньшей мере, одно из отверстий ряда в неподвижной стойке.
Стол комплекта ученической мебели в предпочтительном варианте конструктивного исполнении может иметь подвижные стойки телескопической опоры столешницы, выполненные из труб преимущественно прямоугольного профиля, охватывающих неподвижные стойки соответствующего профиля.
Кроме того, указанная цель – создание недорогого и простого по конструкции комплекта ученической мебели с высокими эргономическими характеристиками за счет регулирование его параметров с учетом особенностей развития и изменения пропорций тела учащихся в разные возрастные периоды – достигается также за счет конструктивного выполнения кресла комплекта.
Кресло имеет сиденье, спинку и подлокотники, устанавливаемые на боковых телескопических опорных стойках, каждая из которых включает опорную стойку, нижним концом скрепленную со средней частью горизонтальной опорной балки, и подвижную стойку, установленную с возможностью переустановки по длине опорной стойки на второй шаг t2.
Подвижные стойки в верхней части могут быть связаны между собой спинкой, а подлокотники – установлены на кронштейнах, жестко связанных со средней частью подвижных стоек.
При этом горизонтальные опорные балки могут быть связаны между собой поперечиной, концы которой жестко соединены с балками и расположены на участке между задними торцами балок и местом закрепления на балках нижних концов опорных стоек, а соединение опорных балок с поперечиной выполнено с возможностью монтажной регулировки расстояния между балками и соответственно между опорными стойками. Это обеспечивает правильную установку зазоров между подвижной и опорной стойками, исключает перекосы и заклинивание при регулировании положения подвижной стойки относительно опорной.
Конкретное конструктивное воплощение возможности различных переустановок спинки с подлокотниками относительно сиденья заключается в том, что по длине опорных стоек выполняется ряд отверстий, расположенных со вторым шагом t2, а по длине подвижных стоек в направлении снизу вверх могут быть выполнены две группы отверстий – первая из трех и вторая – из двух отверстий с третьим шагом t3 и с расстоянием S между осями соседних отверстий разных групп, большим третьего шага t3 и меньшим удвоенной величины этого шага.
Это обеспечивает возможность более точной адаптации кресла под физиологические параметры тела учащегося с учетом различной интенсивности роста конечностей и туловища в различные возрастные периоды его развития.
Сиденье с каждой боковой стороны у заднего края шарнирно соединяется с опорной и подвижной стойками посредством винта, пропущенного в одно из отверстий опорной стойки и в одно из отверстий в подвижной стойке, причем винт завернут в резьбовое гнездо у заднего края сиденья, при этом сиденье у середины переднего края шарнирно соединено с одним концом телескопического подкоса переменной и фиксируемой длины, другой конец которого шарнирно связан со средней частью поперечины балок.
Организация поддержки сиденья подкосом с переднего края увеличивает жесткость и прочность конструкции кресла в целом, обеспечивая возможность переустановки сиденья с сохранением параллельности полу на разных уровнях, для чего длина подкоса может быть изменена и зафиксирована с шагом, пропорциональным шагу t2.
Телескопические стойки с опорными и подвижными стойками располагаются под углом 70-80° к горизонтальным опорным балкам, образуя с сиденьем и подкосом жесткую треугольную конструкцию, при этом спинка, связывающая подвижные стойки, располагается под таким же углом.
Кресло комплекта ученической мебели в предпочтительном варианте конструктивного исполнении может иметь подвижные стойки, выполненные из труб преимущественно прямоугольного профиля, охватывающих неподвижные стойки соответствующего профиля.
Спинка кресла может иметь поясничный, средний и плечевой опорные участки для опоры соответствующих областей спины, выполненные в виде сопряженных участков вогнутой цилиндрической поверхности, которые расположены под углом друг к другу.
При этом образующая цилиндрической поверхности среднего и плечевого участков спинки проходит параллельно стойкам.
Это обеспечивает физиологически правильное положения спины пользователя, создающее возможность для расслабления мышц спины за счет перераспределения нагрузки с верхнего отдела спины на средний, при этом уменьшается давление спинки кресла на лопатки.
Для придания креслу устойчивости верхний край плечевого участка спинки расположен таким образом, что не пересекает вертикальную плоскость, проведенную через наиболее удаленные назад точки задних опорных площадок или торцов горизонтальных балок.
Верхний край может иметь по боковым сторонам вырезы для исключения контакта с выступающими частями лопаток спины.
Средний участок по боковым сторонам может иметь сопряженные с ним и расположенные в одной плоскости плечевые участки для опоры плеч, протяженность которых в направлении по длине подвижной стойки соответствует протяженности в этом направлении среднего участка.
Кроме того, нижний край поясничного участка может иметь форму выгнутой книзу дуги окружности, концы которой расположены в местах сопряжения среднего и плечевого участков нижнего края спинки. Угол между образующей цилиндрической поверхности среднего и плечевого участков и образующей цилиндрической поверхности поясничного участка в плоскости симметрии спинки может составлять от 145 до 175°.
При этом между задней частью сиденья и нижним краем спинки образуется свободное пространство.
Отогнутая под определенным углом часть спинки кресла обеспечивает передачу нагрузки с поясничного изгиба спины человека на эту отогнутую часть. При этом отогнутая часть повторяет не форму позвоночника (столб позвоночника), а его изгиб, который в этой части позвоночника называется ” поясничный лордоз”.
Наличие такого поясничного участка обеспечивает, кроме того, возможность уменьшения площади спинки кресла по сравнению с теми креслами, где целиковая спинка со сплошными опорными участками выполнена с началом от сиденья и не имеет свободного пространства между задней частью сиденья и нижним краем.
Отношение площади рабочей поверхности опорных участков спинки кресла к площади рабочей поверхности сиденья может составлять величину от 0,65 до 0,85, что без потери эргономических качеств кресла способствует экономии материала спинки и сиденья.
Кроме того, сиденье может быть выполнено с углублением для опоры ягодичных и больших мышц бедра, имеющим плоское дно и образованным уступом от горизонтальной плоскости по краям сиденья.
По периметру углубление может иметь конфигурацию, составленную из расположенных у боковых краев сиденья и параллельных им прямолинейных участков, сопряженных у заднего края сиденья одним дугообразным участком и у переднего края – двумя дугообразными изогнутыми в сторону переднего края участками, одни концы которых сопряжены соответственно с прямолинейными участками, а другие концы – смыкаются и сопряжены между собой, при этом плоское дно расположено с наклоном к заднему краю сиденья, передний край сиденья может быть скруглен.
Такое выполнение сиденья обеспечивает наилучшее перераспределение нагрузки на мышцы бедра сидящего.
Кресло может быть выполнено со сплошными сиденьем, спинкой и подлокотниками; подлокотники из листового материала, что повышает технологичность изготовления за счет использования, например, штамповки и различных листовых материалов – фанеры, пластмассы, металлов и их сплавов и т.д., так как описанные выше формы опорных участков сиденья и спинки могут быть легко получены штамповкой.
Вместе с тем по мере роста ребенка пропорции его тела изменяются не только в отношении роста конечностей и туловища в длину, но меняются также форма и другие размеры конечностей и туловища.
Еще один вариант конструктивного исполнения кресла комплекта ученической мебели, описанного выше, для достижения указанной цели и с учетом увеличения по мере роста учащегося всех пропорций тела в целом представляет собой кресло, содержащее набор сменных сидений и/или спинок, включающий, по меньшей мере, два различных типоразмера сидений и/или спинок.
Форма и размеры спинок и/или сидений набора выполняются с учетом особенностей опорно-двигательного аппарата у детей, по меньшей мере, двух – старшей и младшей – возрастных групп.
Изобретение поясняется чертежами, где
на фиг.1 изображен стол комплекта ученической мебели, вид сбоку;
на фиг.2 – стол комплекта ученической мебели, фронтальный вид;
на фиг.3 изображено кресло комплекта ученической мебели, вид сбоку;
на фиг.4 – кресло комплекта, фронтальный вид;
на фиг.5 – сечение А-А на фиг.3;
на фиг.6 показан стол комплекта с наклонно расположенной столешницей;
на фиг.7 изображено сиденье кресла;
на фиг.8 – сечение Б-Б на фиг.4;
на фиг.9 – сечение В-В на фиг.7;
на фиг.10 – сечение Г-Г на фиг.7;
на фиг.11 – сечение Д-Д на фиг.7;
на фиг.12 – разрез Е-Е на фиг.6, показано соединение поперечины со стойкой;
на фиг.13 – разрез Ж-Ж на фиг.6;
на фиг.14 – разрез 3-3 на фиг.3;
на фиг.15a-f показаны различные положения сиденья и спинки с подлокотниками при регулировании.
Комплект функциональной ученической мебели содержит стол 1, включающую столешницу 2, смонтированную на опорах 3 с возможностью переустановки по высоте с первым шагом t1.
Кресло 4 имеет сиденье 5, спинку 6, а также подлокотники 7, которые смонтированы с возможностью переустановки по высоте со вторым шагом t2. Спинка 6 и подлокотники 7 выполнены с возможностью, по меньшей мере, одного дополнительного смещения S вверх или вниз относительно любого установленного со вторым шагом t2 положения.
Кроме того, они могут быть дополнительно переустановлены на третий шаг t3 вверх и/или вниз относительно смещенного положения сиденья 5.
Величина второго шага t2 переустановки по высоте сиденья и спинки с подлокотниками меньше величины первого шага t1 переустановки столешницы и больше величины третьего шага t3 дополнительной переустановки спинки с подлокотниками после смещения, а величина дополнительного смещения S спинки больше величины шага t3 и меньше величины второго шага t3.
Опоры 3 парты выполнены в виде телескопических опор, каждая из которых включает опорную стойку 8, нижний конец которой скреплен с опорной балкой 9.
С опорной стойкой 8 с возможностью переустановки вдоль нее по высоте соединена подвижная стойка 10. Столешница 2 установлена на раме 11, смонтированной на подвижных стойках 10.
Каждая пара опорных 8 и подвижных 10 стоек парты скреплена между собой соответственно поперечинами 12 и 13.
Нижние концы опорных стоек 8, установленные на поперечных опорных балках 9, жестко связаны с ними, например, сваркой.
Соединение опорных 8 и подвижных стоек 10 с соответствующими поперечинами 12 и 13 выполнено с возможностью монтажной регулировки расстояния между стойками 8 и 10.
Каждая подвижная стойка 10 в средней части имеет жестко связанный с ней подкос 14.
Рама 11, на которой смонтирована столешница 2, с боковых сторон у переднего края столешницы, обращенного к сидящему за партой, осью 15 шарнирно соединена с подкосами 14.
Рама 11 установлена между стойками 10 с боковых сторон у заднего края столешницы 2 и соединена с верхней частью подвижных стоек 10 с возможностью переустановки для поворота столешницы относительно оси 15 и изменения, таким образом, угла наклона столешницы 2.
Конструкция каркаса стола предпочтительно выполняется из труб круглого и/или квадратного, и/или прямоугольного сечения.
Опорные и подвижные стойки 8 и 10 в наиболее предпочтительном варианте выполнены из труб прямоугольного сечения, при этом подвижные стойки охватывают опорные стойки 8.
По длине каждой стойки 8 выполнен ряд соосных отверстий 16 с шагом t1, проходящих насквозь через обе противоположные стенки трубы.
Стойки 8 и 10 зафиксированы друг относительно друга посредством винта 17, пропущенного через соосные отверстия 18 в нижней части подвижной стойки 10 и через соосные отверстия 16 ряда отверстий в стойке 8.
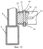
Соединение пары стоек 8 и пары стоек 10 с поперечинами 12 и 13 может быть выполнено посредством клеммового соединения – с использованием винтов 19, пропущенных в поперечные отверстия 20, выполненные по концам поперечины, и в отверстия 21 в бобышках 22. Бобышки скреплены со стойками, например, сваркой. Бобышки 22 выполнены по форме отверстия трубы, из которой выполнена поперечина таким образом, что охватывается концами поперечин 12 и 13.
Концы поперечины имеют продольные прорези 23, за счет которых поперечины при затягивании винтов 19 гайками 24 крепления зажимаются вместе с бобышками 22, обеспечивая жесткую связь пар стоек 8 и 10 при отсутствии люфта.
При этом монтажная регулировка расстояния между стойками 8 и 10 осуществляется при незатянутых винтах. Этим обеспечивается возможность регулировочного перемещения поперечин 12 и 13 относительно бобышек 22 и соответственно стоек 8 и 10 в пределах зазоров между винтами 19 и стенками отверстий 20 или 21.
Для увеличения длины регулировки расстояния между стойками в бобышке или в соответствующей поперечине 12 или 13 вместо отверстий 20 и 21 могут быть выполнены пазы.
Сиденье 5, спинка 6 и подлокотники 7 кресла установлены на боковых телескопических стойках 25, каждая из которых включает опорную стойку 26, нижними концами скрепленную со средней частью горизонтальной опорной балки 27, и подвижную стойку 28.
Каждая стойка 28 установлена на опорной стойке 26 с возможностью переустановки по длине опорной стойки на второй шаг t2.
Горизонтальные опорные балки 27 связаны между собой поперечиной 29, концы которой жестко соединены клеммовым соединением с балками 27 и расположены на участке между задними торцами этих балок и местом закрепления на балках нижних концов опорных стоек 26.
Конструкция каркаса кресла в конкретном воплощении выполняется из труб прямоугольного сечения, причем подвижные стойки 28 охватывают опорные стойки 26.
По длине каждой стойки 26 выполнен ряд соосных отверстий 30 с шагом t2, проходящих через противоположные стенки стойки.
По длине подвижных стоек 28 в направлении снизу вверх выполнены две группы отверстий 31 – двух и трех отверстий с третьим шагом и с расстоянием S между осями первого и последнего отверстий разных групп.
Сиденье 5 с каждой боковой стороны у заднего края шарнирно соединено с опорной 26 и подвижной 28 стойками посредством винта 32, пропущенного в одно из отверстий 30 опорной стойки 26 и в одно из отверстий 31 в подвижной стойке.
Соединение горизонтальных балок 27 с поперечиной 29 выполнено таким же, как и у стола – клеммного типа с использованием винтов 33, пропущенных в отверстия 34, выполненные по концам поперечины 29, и в отверстия 35 в бобышках 36, связанных с балками 27, например, сваркой.
Бобышки 36 охватывается концами поперечин 29, которые имеют продольные прорези 37.
При стягивании прорезных концов поперечин 29 посредством винтов 33 с гайками 39 концы поперечин зажимают бобышки.
Монтажная регулировка расстояния между балками 27 осуществляется так же, как и у стола-парты при незатянутых винтах, и обеспечивается зазором между стержнем винта и стенками отверстий в бобышке или поперечине.
Для увеличения регулировочного расстояния в бобышке 36 или поперечине 29 вместо отверстий могут быть выполнены пазы.
Подвижные 28 стойки в верхней части связны между собой спинкой 6. Подлокотники 7 установлены на кронштейнах, жестко связанных сваркой со средней частью подвижных стоек 28.
Сиденье 5 установлено на П-образной рамке 40, которая у середины переднего края сиденья шарнирно соединена осью – винтом 41 с одним концом подкоса 42 переменной пропорционально шагу t2 длины, другой конец которого шарнирно связан осью 43 со средней частью поперечины 29.
Подкос имеет стержень 44, охваченный штангой 45, установленной с возможностью перемещения относительно стержня с шагом, пропорциональным t2 и фиксации с помощью винта 46.
Телескопические стойки кресла 25 наклонены под углом в 70-80° к опорным балкам 27.
Спинка 6 имеет опорные участки – поясничный 47, средний 48 и плечевой 49 для опоры соответствующих областей спины, выполненные в виде сопряженных участков вогнутых цилиндрических поверхностей, расположенных под углом друг к другу.
Образующая цилиндрической поверхности среднего участка 48 спинки параллельна телескопическим стойкам каркаса кресла.
Верхний край опорного участка 49 плечевой области спинки не пересекает вертикальную плоскость, проведенную через наиболее удаленные назад точки задних опорных площадок горизонтальных балок 27.
Средний участок 48 спинки по боковым сторонам имеет сопряженные с ним плоские участки 50 для опоры плеч, расположенные в одной плоскости. Протяженность участка 50 выполнена по высоте среднего участка 48.
Поясничный участок 47 имеет форму направленного книзу козырька, нижний край 51 которого выполнен по дуге окружности, концы которой расположены снизу в месте сопряжения среднего 48 и плоских участков 50.
Угол между образующей вогнутых цилиндрических поверхностей среднего участка 48 и поясничного участка 47 в плоскости симметрии спинки составляет от 145 до 175°.
Сиденье 5 имеет углубление 52 для опоры таза, которое у переднего края сиденья имеет выемки 53 для размещения больших мышц бедра сидящего.
Углубление имеет плоское наклонное к заднему краю сиденья дно 54.
Спинка и сиденье, а также подлокотники кресла выполнены сплошными из листового материала, причем сиденье по переднему краю имеет отбортовку 55.
Сиденье смонтировано на П-образной рамке 40, которая повторяет по форме конфигурацию расположения передней и боковых кромок сиденья 11 и не выходит за его габариты.
Согласно другому варианту исполнения кресло описанного выше комплекта функциональной ученической мебели содержит набор сменных сидений и/или спинок, включающий, по меньшей мере, два различных типоразмера сидений и/или спинок.
Форма и размеры спинок и/или сидений набора выполнены с учетом особенностей опорно-двигательного аппарата у детей, по меньшей мере, двух – старшей и младшей – возрастных групп.
Для обеспечения возможности установки сменных спинок и сидений большего (по ширине) типоразмера при ином, не регулирующемся соединении поперечин кресло 4 может быть снабжено сменными поперечинами по ширине сидений 11 и/или спинок 6 набора.
Либо увеличение в связи с установкой более широких сидений и/или спинок расстояния между стойками 25 может быть компенсировано за счет регулировки этого расстояния поперечины 29 с помощью соединения клеммного типа.
Сиденье, спинка и подлокотники могут быть выполнены быстросъемными.
Столешница 2, сиденье 5, спинка 6, подлокотники 7 могут быть выполнены из различного листового материала – фанеры, пластика, металла и др.
Открытые торцы труб, примыкающих к каким либо поверхностям, скошены под острым углом к этим поверхностям и снабжены соответствующими по форме скоса заглушками – вставками 56.
В процессе эксплуатации комплекта производят регулирование параметров стола и кресла.
Переустановку столешницы 2 осуществляют за счет подъема подвижной стойки 10 на один из уровней на шаг t1 – 55 – 60 мм (наиболее оптимальная величина 60 – 64 мм) и фиксируют в нужном положении винтом 17.
Сиденье устанавливается на необходимый уровень за счет его переустановки на подвижной стойке относительно опорной стойки 26, при этом переустановка осуществляется с одинаковым шагом t2, который составляет 35 – 50 мм, в зависимости от выбранного количества уровней. Наиболее предпочтительным является шаг 38 – 44 мм для пяти уровней регулирования положения сиденья.
Очевидно, что высота сиденья в общем случае определяется длиной дистальной части нижних конечностей пользователя, т.е. в зависимости от длины голени, поскольку рост проксимальной части – длины бедра не сказывается на изменении высоты сиденья.
В зависимости или по мере роста учащегося высота сиденья может быть отрегулирована переустановкой сиденья на шаг t2. Высота сиденья по мере роста учащегося изменяется в одном направлении – в сторону увеличения.
При регулировании высоты подлокотников со спинкой кресла относительно сиденья необходимо учитывать следующие обстоятельства.
Для индивидуального пользователя комплектом ученической мебели по мере его роста высота спинки с подлокотниками относительно сиденья может изменяться непропорционально в связи с различной интенсивностью роста туловища и передних конечностей в разные возрастные периоды.
Рост дистальной части передних конечностей очевидно не влияет на положение спинки с подлокотниками относительно сиденья, которое в общем случае определяется длиной туловища и длиной проксимальной части конечностей – плеч.
Изменение расстояния от сиденья до подлокотников приблизительно соответствует изменению разницы в длине туловища учащегося и в длине плеч.
Причем при пропорциональном увеличении этих длин их разница растет также пропорционально.
При одинаковом и абсолютном по величине увеличении длины туловища и плеч пользователя, происходящем в разных направлениях, высота подлокотников относительно сиденья может не изменится, то есть, по сути, на данный период регулирование этой высоты подлокотников и не требуется.
Высота спинки с подлокотниками может регулироваться как за счет переустановки вместе с сиденьем, так и за счет переустановки вместе с подвижной стойкой 28 относительно сиденья на шаг t3, который может быть выбран а пределах 15 – 25 мм, предпочтительно 18 – 22 мм.
На фиг.15(а-f) приведены схемы регулирования параметров кресла комплекта ученической мебели.
На фиг.15а изображено положение сиденья 5 и спинки 6 с подлокотниками 7 с минимальным расстоянием сиденья от пола и минимальным расстоянием М от сиденья 5 до подлокотников 7 и соответственно спинки 6, что соответствует положению сидящего ребенка примерно 5-летнего возраста.
На фиг.15b-с изображены положения сиденья 5, последовательно смещенные на шаг t2 от предыдущего уровня, и положения спинки 6 с подлокотниками 7 с расстоянием М, с последовательно увеличивающимся на шаг переустановок спинки с подлокотниками.
На фиг.15d-f показаны различные варианты переустановок спинки 6 с подлокотниками 7 на различные расстояния М при на различных уровнях положения сиденья 5, при этом на фиг.15е показано положение сиденья и спинки с подлокотниками с максимальными расстоянием М в наиболее высоком положении сиденья.
За счет разницы в величине шагов t2 и t3 переустановки сиденья и спинки с подлокотниками относительно сиденья, также за счет наличия двух групп отверстий с шагом t3, размещенных на расстоянии S, отличном от шага t3, регулировка положения подвижных стоек 28 и соответственно спинки 6 с подлокотниками 7 может быть осуществлена на различные расстояния М в соответствии с изменениями пропорций тела учащегося в различные периоды роста.
Формула изобретения
1. Комплект функциональной ортопедической ученической мебели, содержащий стол, включающий столешницу, смонтированную на опорах с возможностью переустановок по высоте с первым постоянным по величине шагом t1, и кресло, сиденье, спинка, а также подлокотники которого смонтированы на стойках с возможностью переустановок по высоте со вторым постоянным шагом t2, причем спинка с подлокотниками смонтированы с возможностью дополнительных переустановок по высоте относительно любого из установленных со вторым шагом t2 положений сиденья, при этом, по меньшей мере, одна из дополнительных переустановок спинки с подлокотниками имеет шаг S, отличный по величине от других, имеющих постоянный по величине третий шаг t3.
2. Комплект функциональной ортопедической ученической мебели по п.1, характеризующийся тем, что величина второго шага t2 переустановки по высоте сиденья и спинки с подлокотниками меньше величины первого шага t1 переустановки столешницы и больше величины третьего шага t3, дополнительной переустановки спинки с подлокотниками – t123.
3. Комплект функциональной ортопедической ученической мебели по п.1, характеризующийся тем, что удвоенная величина третьего шага t3 меньше величины второго шага t2 и больше половины его величины – t2<2t3<0,5t2.
4. Комплект функциональной ортопедической ученической мебели по п.1, характеризующийся тем, что величина шага S, отличного от других, имеющих постоянный по величине третий шаг t3, меньше удвоенной величины шага t3 и больше этого шага – t33.
5. Комплект функциональной ортопедической ученической мебели по п.1, характеризующийся тем, что стол имеет телескопические опоры, каждая из которых включает опорную стойку, нижний конец которой связан с поперечной опорной балкой, и смонтированную на опорной стойке с возможностью шаговой переустановки вдоль нее по высоте с первым шагом подвижную стойку, причем столешница смонтирована на подвижных стойках.
6. Комплект функциональной ортопедической ученической мебели по п.5, характеризующийся тем, что каждая пара опорных и подвижных стоек жестко соединены между собой поперечинами.
7. Комплект функциональной ортопедической ученической мебели по п.6, характеризующийся тем, что соединение опорных и подвижных стоек с соответствующими поперечинами парты выполнено с возможностью монтажной регулировки расстояния между стойками.
8. Комплект функциональной ортопедической ученической мебели по п.5, характеризующийся тем, что каждая подвижная стойка в средней части имеет жестко связанный с ней подкос, причем столешница с боковых сторон у переднего края шарнирно соединена с подкосами, а с боковых сторон у заднего края – с верхней частью подвижных стоек с возможностью переустановки для поворота столешницы относительно оси ее шарнирного соединения с подкосом и изменения, таким образом, угла наклона столешницы.
9. Комплект функциональной ортопедической ученической мебели по п.5, характеризующийся тем, что по длине каждой неподвижной стойки выполнен ряд отверстий с равным шагом t1, а подвижная и неподвижная стойки зафиксированы друг относительно друга посредством, по меньшей мере, одного винта, пропущенного в, по меньшей мере, одно отверстие, выполненное в нижней части подвижной стойки и в, по меньшей мере, одно из отверстий ряда в неподвижной стойке.
10. Комплект функциональной ортопедической ученической мебели по п.5, характеризующийся тем, что подвижные стойки телескопической опоры выполнены из труб прямоугольного сечения, охватывающих опорные стойки, также выполненные из труб соответствующего прямоугольного сечения.
11. Кресло комплекта функциональной ортопедической ученической мебели по п.1, у которого каждая стойка выполнена телескопической, и включает опорную стойку, нижним концом скрепленную со средней частью горизонтальной опорной балки, и подвижную стойку, установленную с возможностью шаговой переустановки с постоянным шагом t2 по длине опорной стойки.
12. Кресло по п.11, характеризующееся тем, что его подвижные стойки в верхней части связаны между собой спинкой, а подлокотники установлены на кронштейнах, жестко связанных со средней частью подвижных стоек.
13. Кресло по п.11, характеризующееся тем, что горизонтальные опорные балки связаны между собой поперечиной, концы которой жестко соединены с балками и расположены на участке между задними торцами балок и местом закрепления на балках нижних концов опорных стоек.
14. Кресло по п.13, характеризующееся тем, что соединение опорных балок с поперечиной выполнено с возможностью монтажной регулировки расстояния между балками и соответственно между опорными стойками.
15. Кресло по п.11, характеризующееся тем, что по длине его опорных стоек выполнен ряд отверстий, расположенных с шагом t2, а по длине подвижных стоек в направлении снизу вверх выполнены две группы отверстий – первая из трех и вторая из двух отверстий, расположенных с третьим шагом t3.
16. Кресло по п.15, характеризующееся тем, что расстояние между соседними отверстиями разных групп отверстий составляет величину S, большую величины шага t3 и меньшую удвоенной величины шага t3-t33.
17. Кресло по одному из п.15 или 16, характеризующееся тем, что сиденье с каждой его боковой стороны у заднего края шарнирно соединено с опорной и подвижной стойками посредством винта, пропущенного в одно из отверстий опорной стойки и в одно из отверстий в подвижной стойке, причем винт завернут в резьбовое гнездо, выполненное с каждой его боковой стороны у заднего края сиденья, при этом сиденье у середины переднего края шарнирно соединено посредством винта с одним концом телескопического подкоса переменной и фиксируемой длины, другой конец которого шарнирно связан посредством другого винта со средней частью поперечины балок.
18. Кресло по п.11, характеризующееся тем, что подвижные стойки телескопической стойки выполнены из труб прямоугольного сечения, охватывающих опорные стойки соответствующего сечения.
19. Кресло по п.11, характеризующееся тем, что телескопические опоры с опорными и подвижными стойками расположены под углом 75° к горизонтальным опорным балкам.
20. Кресло по п.11, характеризующееся тем, что спинка имеет поясничный, средний и плечевой опорные участки для опоры соответствующих областей спины, при этом средний и плечевой участки и поясничный участок выполнены в виде сопряженных участков вогнутых цилиндрических поверхностей, расположенных под углом друг к другу.
21. Кресло по п.20, характеризующееся тем, что образующая цилиндрической поверхности среднего и плечевого участка спинки параллельна стойкам.
22. Кресло по п.20, характеризующееся тем, что верхний край плечевого опорного участка не пересекает вертикальную плоскость, проведенную через наиболее удаленные назад точки задних опорных площадок или торцов горизонтальных балок, при этом упомянутый верхний край имеет по боковым сторонам вырезы.
23. Кресло по п.20, характеризующееся тем, что средний участок по боковым сторонам имеет сопряженные с ним и расположенные в одной плоскости друг с другом плечевые участки для опоры плеч.
24. Кресло по п.20, характеризующееся тем, что нижний край поясничного участка имеет форму изогнутой книзу дуги окружности, концы которой расположены в местах сопряжения среднего и плечевого участков у нижнего края спинки.
25. Кресло по п.20, характеризующееся тем, что угол между образующей цилиндрической поверхности среднего и плечевого участков и образующей цилиндрической поверхности поясничного участка в плоскости симметрии спинки составляет от 145 до 175°.
26. Кресло по п.11, характеризующееся тем, что сиденье имеет углубление для опоры ягодичных и больших мышц бедра, имеющее плоское дно, и образованное уступом от горизонтальной плоскости по краям сиденья, причем по периметру углубление имеет конфигурацию, составленную из расположенных у боковых краев сиденья и параллельных им прямолинейных участков, сопряженных у заднего края сиденья одним дугообразным участком, и у переднего края – двумя дугообразными изогнутыми в сторону переднего края участками, одни концы которых сопряжены соответственно с прямолинейными участками, а другие концы смыкаются и сопряжены между собой, при этом плоское дно расположено с наклоном к заднему краю сиденья, а передний край сиденья скруглен.
27. Кресло по п.11, характеризующееся тем, что сиденье и подлокотники выполнены штамповкой из листового материала.
28. Кресло комплекта функциональной ученической мебели по п.1, содержащее набор сменных сидений и/или спинок, включающий, по меньшей мере, два различных типоразмера сидений и/или спинок.
29. Кресло по п.28, характеризующееся тем, что форма и размеры спинок и/или сидений набора выполнены с учетом особенностей опорно-двигательного аппарата у детей, по меньшей мере, двух – старшей и младшей возрастных групп.
РИСУНКИ
|