|
|
(21), (22) Заявка: 2004134619/12, 26.11.2004
(24) Дата начала отсчета срока действия патента:
26.11.2004
(43) Дата публикации заявки: 10.05.2006
(46) Опубликовано: 10.02.2007
(56) Список документов, цитированных в отчете о поиске:
WO 2004082375 A1, 30.09.2004. RU 2181001 C1, 10.04.2002. RU 2228616 С2, 20.05.2004. RU 2172584 C1, 27.08.2001. US 4879830 А, 14.11.1989. US 5283972 А, 08.02.1994. US 4882870 А, 28.11.1989.
Адрес для переписки:
183693, г.Мурманск, ул. Папанина, 4, ГУ “Мурманский ЦНТИ”, патентный отдел, Л.Л. Кирьяновой
|
(72) Автор(ы):
Вантеев Сергей Григорьевич (RU)
(73) Патентообладатель(и):
Вантеев Сергей Григорьевич (RU)
|
(54) РАСПОРНАЯ ТРАЛОВАЯ ДОСКА ВАНТЕЕВА (ВАРИАНТЫ)
(57) Реферат:
Изобретение относится к технике промышленного рыболовства. Траловая доска содержит нижнее крыло, верхнее крыло и, по меньшей мере, одно промежуточное крыло, причем крылья изогнуты в направлении перемещения распорной траловой доски в воде с образованием между собой каналов. Параллельно ориентированные продольные ребра и киль, при этом крылья выполнены с различным удлинением, расположены ступенчато друг над другом с разными межкрыловыми промежутками и образуют относительно центрального продольного ребра V-образный профиль. Крылья имеют аэродинамический профиль с максимальным профилем верхнего крыла, составляющим 18% от длины крыла, и соотношением длины крыльев к их ширине, составляющим от 1:1,3 до 1:1,4. Угол V-образного профиля составляет 155°, а ребра выполнены с неравными плечами, передние кромки крыльев укреплены стрингерами и, по меньшей мере, одно дополнительное направляющее ребро-стабилизатор установлено вдоль всей длины крыльев траловой доски. Кроме того, четыре дополнительных направляющих ребра-стабилизатора установлены вдоль всей длины траловой доски. Обеспечивается эффективность ее эксплуатации и снижение энергозатрат судна путем увеличения распорной силы при одновременном снижении сопротивления, повышение вертикальной устойчивости доски на любых глубинах лова при больших углах атаки и широком диапазоне скоростей траления, уменьшение тенденции к переворачиванию при одновременном уменьшении линейных размеров траловой доски. 2 н. и 6 з.п. ф-лы, 4 ил.
Изобретение относится к технике промышленного рыболовства, а именно к конструкции распорных устройств для горизонтального раскрытия устья трала при лове пелагических и донных пород рыб.
Известны траловые доски «Тюборон» (аналог – проспект фирмы, см. приложение) датской фирмы «Thyboron Skibssmedie A/S» для лова пелагических, придонно-пелагических и донных пород рыб. Наиболее близкая к заявляемой модель доски «Тюборон» представляет собой две ассиметрично расположенные секции, содержащие стрингер, два крыла, установленные между продольными ребрами таким образом, что образован один сужающийся канал с выходом в виде щели, крепежные средства и киль. Данные доски не обеспечивают достаточно большой растягивающей силы и низкого сопротивления, высокой устойчивости при больших углах атаки и широком диапазоне скоростей траления, а также имеют большие линейные размеры и вес.
Известна распорная траловая доска (патент РФ №2181001 от 30.04.97 г.), содержащая нижнее и верхнее крылья и некоторое количество промежуточных крыльев, причем крылья изогнуты в направлении перемещения распорной траловой доски в воде и образуют между собой по меньшей мере один канал, сужающийся в направлении потока воды, и параллельно ориентированные продольные ребра. Высота каналов уменьшается по мере удаления от передней кромки входного отверстия, а выходные отверстия симметричны по отношению к центральной линии распорной доски и расположены таким образом, что вода вытекает частично назад и частично в стороны. Задние части верхнего и промежуточного крыльев образуют треугольный контур, если смотреть на доску сверху. Киль расположен на крайнем ребре траловой доски, на противоположном ребре расположен управляющий стабилизатор, выполненный, как и киль, закругленной формы. Эти доски неудобны в использовании из-за невозможности установки на палубе судов в вертикальном положении, имеют большие размеры и вес.
Наиболее близким является распорная траловая доска (заявка WO №2004/0823750 А1 от 30.09.04 г.), содержащая нижнее крыло, верхнее крыло и, по меньшей мере, одно промежуточное крыло, причем крылья изогнуты в направлении перемещения распорной траловой доски в воде с образованием между собой каналов, а также параллельно ориентированные продольные ребра и киль, при этом крылья выполнены с различным удлинением, расположены ступенчато друг над другом с разными межкрыловыми промежутками и образуют относительно центрального продольного ребра V-образный профиль. Данная доска имеет овальный контур и неудобна в использовании из-за невозможности ее установки на палубе судов в вертикальном положении. Такие параметры динамики траловой доски, как растягивающая способность, лобовое сопротивление и устойчивость при больших углах атаки, также нуждаются в совершенствовании.
Задача, решаемая данным изобретением, заключалась в создании более оптимальной конструкции траловой доски, обеспечивающей повышение эффективности ее эксплуатации и снижение энергозатрат судна при донном и пелагическом лове рыбы. Технический результат заключается в увеличении распорной силы доски при одновременном снижении сопротивления, обеспечении вертикальной устойчивости доски на любых глубинах лова при больших углах атаки и широком диапазоне скоростей траления, в уменьшении тенденции к переворачиванию при одновременном уменьшении линейных размеров траловой доски.
Заявляемая распорная траловая доска Вантеева (варианты), как и известные, содержит нижнее крыло, верхнее крыло и, по меньшей мере, одно промежуточное крыло, причем крылья изогнуты в направлении перемещения распорной траловой доски с образованием между собой каналов, а также параллельно ориентированные продольные ребра и киль, при этом крылья выполнены с различным удлинением, расположены ступенчато друг над другом с разными межкрыловыми промежутками и образуют относительно центрального продольного ребра V-образный профиль.
Технический результат по первому варианту изобретения достигается тем, что:
– крылья имеют аэродинамический профиль с максимальным профилем верхнего крыла, составляющим 18% от длины крыла, и соотношением длины крыльев к их ширине, составляющим от 1:1,3 до 1:4,4, угол V-образного профиля составляет 155°, а ребра выполнены с неравными плечами, передние кромки крыльев укреплены стрингерами и, по меньшей мере, одно дополнительное направляющее ребро-стабилизатор установлено вдоль всей длины крыльев траловой доски. Отношение длины траловой доски к ее ширине может составлять 1:0,8. Киль может быть выполнен прямым с закругленной передней частью. Для соединения доски с ваером установлены крепежные силовые пластины, расположенные симметрично относительно центрального продольного ребра, на которых с возможностью перемещения закреплена буксировочная планка с рядом отверстий. Доска по данному варианту применяется преимущественно при донном лове рыбы.
По второму варианту изобретения технический результат достигается тем, что:
– крылья имеют аэродинамический профиль с максимальным профилем верхнего крыла, составляющим 18% от длины крыла, и соотношением длины крыльев к их ширине, составляющим от 1:1,3 до 10,3, передние кромки крыльев укреплены стрингерами, угол V-образного профиля выполнен с равными плечами и составляет 155°, по меньшей мере, четыре дополнительных направляющих ребра-стабилизатора установлены вдоль всей длины траловой доски. Отношение длины доски к ее ширине по линейным размерам может составлять от 1:2,2 до 1:2,5. Для соединения доски с ваером могут быть установлены крепежные силовые пластины, расположенные симметрично относительно центрального продольного ребра, на которые с возможностью перемещения установлена буксировочная планка с рядом отверстий. Доска по данному варианту изобретения применяется при пелагическом лове рыбы.
Выполнение крыльев, имеющих аэродинамический профиль с максимальным профилем верхнего крыла, составляющим 18% от длины крыла, и соотношением длины крыльев к их ширине, составляющим от 1:1,3 до 1:4,4, с углом V-образного профиля 155° и неравными плечами ребер, обеспечивает оптимальные размеры доски, что увеличивает ее распорную силу при небольшом размере донной доски, обеспечивает быстрое восстановление вертикального положения доски из горизонтального в случае полной потери скорости судна в режиме траления, а также обеспечивает снижение лобового сопротивления при высоких скоростях траления.
Выполнение передних кромок крыльев со стрингерами обеспечивает жесткую силовую конструкцию как донной, так и пелагической траловой доски при одновременном уменьшении ее лобового сопротивления.
Установка по меньшей мере одного дополнительного направляющего ребра-стабилизатора вдоль всей длины крыльев донной траловой доски предотвращает срыв ламинарного потока в турбулентный, обеспечивая тем самым эффективную работу доски при больших скоростях траления и при увеличении угла атаки.
Выполнение донного варианта исполнения доски с соотношением ее длины к ее ширине по линейным размерам 1:0,8 обеспечивает оптимальную вертикальную устойчивость при сохранении высокой распорной силы.
Выполнение киля донной траловой доски прямым с закругленной передней частью обеспечивает увеличение распорной силы за счет силы грунтового распора, обеспечивает преодоление препятствий на грунте, а также возможность установки доски на судне в вертикальном положении.
Установка для соединения донной доски с ваером крепежных силовых пластин, расположенных симметрично относительно центрального продольного ребра, на которых с возможностью перемещения закреплена буксировочная планка с рядом отверстий, обеспечивает регулирование доски по углу атаки, крена и дифферента, что повышает эффективность эксплуатации как донной, так и пелагической траловой доски
Выполнение крыльев, имеющих аэродинамический профиль, с максимальным профилем верхнего крыла, составляющим 18% от длины крыла, и соотношением длины крыльев к их ширине, составляющим от 1:1,3 до 10,3, с укрепленными стрингерами передними кромками, при этом угол V-образного профиля выполнен с равными плечами и составляет 155°, увеличивает распорную силу пелагической доски при небольших линейных размерах пелагической траловой доски, обеспечивает снижение лобового сопротивления при высоких скоростях траления, а также обеспечивает хорошую вертикальную устойчивость доски.
Установка по меньшей мере четырех дополнительных направляющих ребер-стабилизаторов вдоль всей длины пелагической траловой доски предотвращает срыв ламинарного потока в турбулентный, обеспечивая тем самым эффективную работу доски при больших скоростях траления и при увеличении угла атаки.
Выполнение пелагического варианта исполнения доски с соотношением ее длины к ее ширине от 1:2,2 до 1:2,5 обеспечивает оптимальную вертикальную устойчивость при сохранении высокой распорной силы.
Таким образом, вышеперечисленная совокупность признаков изобретения позволяет обеспечить новый технический результат: увеличение распорной силы доски при одновременном снижении сопротивления, вертикальную устойчивость доски на любых глубинах лова при больших углах атаки и широком диапазоне скоростей траления, уменьшение тенденции к переворачиванию при одновременном уменьшении линейных размеров траловой доски.
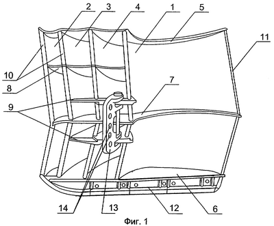
Изобретение поясняется с помощью чертежей, где на фиг.1 представлен общий вид донной траловой доски, на фиг.2 – вид сзади донной траловой доски, на фиг.3 – общий вид пелагической траловой доски, на фиг.4 – вид сзади пелагической траловой доски.
Распорная донная траловая доска Вантеева (см. фиг.1) содержит нижнее крыло 1, верхнее крыло 2 и два промежуточных крыла 3 и 4. Все крылья соединены в единую конструкцию посредством параллельно ориентированных продольных ребер: боковых 5 и 6 и центрального 7, обеспечивающих аэродинамический профиль крыльев 1-4. Крылья 1, 2, 3 и 4 расположены ступенчато друг над другом с разными межкрыловыми промежутками. Удлинение крыльев 1-4 различно и составляет в соотношении длины крыльев к их ширине от 1:1,3 до 1:4,4. Относительная суммарная площадь сочлененных крыльев доски в 1,4-1,5 раз больше по сравнению с линейной площадью доски, определяемой в соответствии с ее линейными размерами. Например, при линейных размерах 1,36×1,47 доски ее площадь составляет 2,0 м2, а суммарная площадь сочлененных крыльев 1-4 составляет 3,2 м2. Каналы между крыльями 1-4 разбиты на участки, образованные центральным продольным ребром 7, дополнительным направляющим ребром-стабилизатором 8 и крепежными силовыми пластинами 9. Крепежные силовые пластины 9 расположены симметрично относительно центрального ребра 7 и разбивают каналы на участки между нижним 1 и промежуточными 3, 4 крыльями.
Передние кромки крыльев 1, 2, 3, 4 укреплены стрингерами 10. Стрингеры 10 могут быть выполнены разной толщины. Нижнее крыло 1 выполнено с подкрепленной стрингером 11 задней кромкой.
Все крылья 1, 2, 3 и 4 образуют относительно центрального продольного ребра 7 (см. фиг.2) V-образный профиль, угол которого предпочтительно составляет 155°. Максимальная хорда прогиба профиля верхнего крыла 2 составляет предпочтительно 18% от длины крыла 2.
В нижней части донной доски установлен прямой с закругленной передней частью киль 12, за счет которого центр тяжести доски смещен максимально вниз для обеспечения вертикальной устойчивости доски. Нижняя часть крыльев 1-4 донной доски выполнена с меньшим плечом. С учетом киля линейные размеры донной доски относительно центрального продольного ребра 7, то есть плечи, равны. На крепежных силовых пластинах 9 с возможностью перемещения установлена буксировочная планка 13 с рядом отверстий 14. На тыльной стороне доски – на боковых продольных ребрах 5 и 6 и в кормовой части доски (на чертеже не показано) установлены крепежные гребенки 15 с рядом отверстий для соединения траловой доски с оснасткой трала. Крепежные гребенки 15 позволяют производить регулировку доски по углу атаки, по углу дифферента и по углу крена. В носовой части доски установлен центральный крепежный рым 16 для вооружения траловой доски цепной или тросовой оснасткой (на чертеже не показано) при установке на необходимые углы атаки и соединения доски с оснасткой трала.
Пелагическая траловая доска (см. фиг.3) содержит нижнее крыло 17, два промежуточных крыла 18 и 19 и верхнее крыло 20, соединенные боковыми продольными ребрами 21 и 22 и центральным силовым ребром 23. Крылья 17, 18, 19 и 20 образуют относительно центрального ребра 23 V-образный профиль с равными плечами. Удлинение крыльев 17-20 различно и составляет в соотношении длины крыльев к их ширине от 1:3,1 до 1:10,3. Относительная суммарная площадь сочлененных крыльев доски в 1,4-1,5 раз больше по сравнению с линейной площадью доски, определяемой в соответствии с ее линейными размерами. Дополнительные параллельно ориентированные продольные ребра 24 и 25, расположенные симметрично относительно центрального ребра 23, установлены вдоль всей длины доски и образуют с крыльями 17, 18, 19 и 20 дополнительные каналы, обеспечивающие траловой доске жесткую конструкцию. Передние кромки крыльев 17, 18, 19 и 20 подкреплены стрингерами 26. Оптимальное соотношение длины пелагической доски к ее ширине составляет от 1:2,2 до 1:2,5.
Симметрично относительно центрального ребра 23 расположены крепежные силовые пластины 27, образующие дополнительные участки каналов между нижним 17 и промежуточными 18, 19 крыльями. На крепежных силовых пластинах 27 с возможностью перемещения установлена буксировочная планка 28 с рядом отверстий 29. На тыльной стороне доски (см. фиг.4) на боковых продольных ребрах 21 и 22 установлены крепежные гребенки 30 с рядом отверстий для соединения траловой доски с оснасткой трала, позволяющие производить регулировку доски по углу атаки, по углу дифферента и по углу крена. Для соединения доски с оснасткой трала установлен также центральный крепежный рым 31.
Распорная донная траловая доска Вантеева работает следующим образом.
Буксировочный трос (ваер) судна соединяется с одним из отверстий 14 буксировочной планки 13, установленной в зависимости от угла атаки в выбранном положении на крепежных силовых пластинах 9. Трал тросовой или цепной оснасткой соединяется с крепежными гребенками 15 и центральным крепежным рымом 16. При спуске трала траловая доска погружается в воду вертикально под действием собственного веса и веса киля 12. При движении судна доска за счет крыльев 1, 2, 3 и 4, имеющих аэродинамический профиль, расположенных ступенчато друг над другом с разными межкрыловыми промежутками и образующих относительно центрального продольного ребра 7 V-образный профиль, с передними кромками, укрепленными стрингерами 10, с дополнительным направляющим ребром-стабилизатором 8, обеспечивает высокую распорную силу для обеспечения горизонтального растягивающего раскрытия трала и хорошую вертикальную устойчивость на любых глубинах лова при больших углах атаки и широком диапазоне скоростей траления.
Пелагическая траловая доска работает аналогичным образом.
Заявляемая распорная траловая доска Вантеева (варианты) оптимальна по конструкции, обеспечивает эффективность ее эксплуатации и снижение энергозатрат судна путем увеличения распорной силы при одновременном снижении сопротивления, повышения вертикальной устойчивости доски на любых глубинах лова при больших углах атаки и широком диапазоне скоростей траления, уменьшения тенденции к переворачиванию при одновременном уменьшении линейных размеров траловой доски.
Формула изобретения
1. Распорная траловая доска, содержащая нижнее крыло, верхнее крыло и, по меньшей мере, одно промежуточное крыло, причем крылья изогнуты в направлении перемещения распорной траловой доски в воде с образованием между собой каналов, а также параллельно ориентированные продольные ребра и киль, при этом крылья выполнены с различным удлинением, расположены ступенчато друг над другом с разными межкрыловыми промежутками и образуют относительно центрального продольного ребра V-образный профиль, отличающаяся тем, что крылья имеют аэродинамический профиль с максимальным профилем верхнего крыла, составляющим 18% от длины крыла, и соотношением длины крыльев к их ширине, составляющем от 1:1,3 до 1:1,4, угол V-образного профиля составляет 155°, а ребра выполнены с неравными плечами, передние кромки крыльев укреплены стрингерами и, по меньшей мере, одно дополнительное направляющее ребро-стабилизатор установлено вдоль всей длины крыльев траловой доски.
2. Распорная траловая доска по п.1, отличающаяся тем, что задняя кромка нижнего крыла подкреплена стрингером.
3. Распорная траловая доска по п.1 или 2, отличающаяся тем, что отношение ее длины к ее высоте по линейным размерам составляет 1:0,8.
4. Распорная траловая доска по п.1 или 2, отличающаяся тем, что киль выполнен прямым с закругленной передней частью.
5. Распорная траловая доска по п.1 или 2, отличающаяся тем, что для соединения доски с ваером выполнены крепежные силовые пластины, расположенные симметрично относительно центрального продольного ребра, на которых с возможностью перемещения установлена буксировочная планка с рядом отверстий.
6. Распорная траловая доска, содержащая нижнее крыло, верхнее крыло и, по меньшей мере, одно промежуточное крыло, причем крылья изогнуты в направлении перемещения распорной траловой доски в воде с образованием между собой каналов, а также параллельно ориентированные продольные ребра и киль, при этом крылья выполнены с различным удлинением, расположены ступенчато друг над другом с разными межкрыловыми промежутками и образуют относительно центрального продольного ребра V-образный профиль, отличающаяся тем, что крылья имеют аэродинамический профиль с максимальным профилем верхнего крыла, составляющим 18% от длины крыла, и соотношением длины крыльев к их ширине, составляющем от 1:1,3 до 10,3, передние кромки крыльев укреплены стрингерами, угол V-образного профиля выполнен с равными плечами и составляет 155°, по меньшей мере, четыре дополнительных направляющих ребра-стабилизатора установлены вдоль всей длины траловой доски.
7. Распорная траловая доска по п.6, отличающаяся тем, что отношение ее длины к ее ширине по линейным размерам составляет от 1:2,2 до 1:2,5.
8. Распорная траловая доска по п.6 или 7, отличающаяся тем, что для соединения доски с ваером выполнены крепежные силовые пластины, расположенные симметрично относительно центрального продольного ребра, на которых с возможностью перемещения установлена буксировочная планка с рядом отверстий.
РИСУНКИ
|
|