|
|
(21), (22) Заявка: 2005108632/12, 28.03.2005
(24) Дата начала отсчета срока действия патента:
28.03.2005
(43) Дата публикации заявки: 10.09.2006
(46) Опубликовано: 10.02.2007
(56) Список документов, цитированных в отчете о поиске:
SU 1804290 A3, 23.03.1993. RU 2152149 C1, 10.07.2000. RU 2050123 C1, 20.12.1995. US 4130964 A, 26.12.1978. US 3973353, 10.08.1976. RU 2240663 С1, 27.11.2004. RU 2005344 C1, 15.01.1994.
Адрес для переписки:
105064, Москва, ул. Казакова, 15, ФГОУ высшего профессионального образования ГУЗ, отдел по патентно-лицензионной и информационной деятельности
|
(72) Автор(ы):
Саркисов Сергей Карпович (RU), Саркисов Аведик Сергеевич (RU)
(73) Патентообладатель(и):
Федеральное государственное образовательное учреждение высшего профессионального образования Государственный университет по землеустройству (ГУЗ) (RU)
|
(54) МАВИТОР
(57) Реферат:
Изобретение относится к области выращивания растений, а конкретно, к устройству для утилизации растений в биоэнергетическом комплексе, обеспечивающему относительное снижение габаритов растения в процессе его произрастания за счет поворота проростка по спирали благодаря изменению светового импульса внутри светонепрозрачного реактора. Устройство может использоваться в качестве измерительного прибора при выборе оптимальных видов растений для биоэнергетического комплекса, а также в области флористики при необходимости изменения конфигурации растений. 3 з.п. ф-лы, 2 ил.
Изобретение относится к биоэнергетическим устройствам, связанным с утилизацией энергии, выделяемой в процессе вегетации растений.
Целью изобретения является отбор и приспособление растений для использования их в биоэнергетических комплексах.
Одним из наиболее важных требований к используемым в биоэнергетическом устройстве растениям является способность их быстро наращивать в процессе вегетации массу и в то же время как можно в меньшей мере увеличивать объем, в частности высоту растения, из-за размеров которой возникает необходимость в значительном увеличении сечения вегетационных труб.
Для этого имеются две возможности: либо снижать высоту растений без ущерба для его других качеств, либо выбирать из известных видов растений наиболее приемлемые.
Предлагаемое устройство совмещает в себе обе вышеназванные функции. Название устройства принято в соответствии с сочетанием слов: mavis (лат. magis – больше + volo – склонять и tor – сила, мощь).
Известно устройство для выращивания растений с использованием лазера, однако, оно не обеспечивает компактность растений [6].
Сущность изобретения заключается в том, что проросток закрепляют в держатель, установленный на столике в центре реактора, закрывают его колпаком с обеспечением светонепроницаемости. Как известно, одним из важнейших факторов роста и развития растений, и в частности, высших растений имеет свет, благодаря которому растения вырабатывают хлорофилл. Имеется в виду солнечный свет и близкие к нему искусственные источники света (в том числе, гелио-неоновый лазер) [2, 4].
Как известно, свет, падая на фоточувствительные участки проростков, проходит до кончиков корневых волосков даже по согнутому стеблю, который действует подобно стеклянному световоду [3].
Свет управляет ростом растений: они растут в направлении большей освещенности, их чувствительность к свету столь велика, что побеги некоторых растений, в течение дня содержащиеся в темноте, реагируют на вспышку света, длящуюся 0,002 с. Реакция наступает спустя 20 мин и достигает апогея примерно через час [4].
Как сильно при этом изогнется стебель в направлении вспышки, зависит от количества попавшего на него света. Например, побеги бамбука, толщина которых достигает нескольких сантиметров, каждые 5 мин удлиняются на 2 мм, т.е. за 4 ч они прибавляют в росте на 10 см [4].
С учетом изложенного, над реактором располагают лазерную установку, оснащенную таймером, обеспечивающим пульсирующую подачу лазерного луча, который, проникая внутрь реактора, попадая на грань подвешенной внутри реактора плавающей зеркальной призмы, отражаясь от нее на одно из зеркал, расположенных концентрически вокруг центральной вертикальной оси реактора, в свою очередь направляют на верхний росток растения, инициируя поворот ростка по спирали вокруг центральной оси реактора. Луч лазера, поворачиваясь благодаря плавающей зеркальной призме вокруг центральной вертикальной оси, одновременно поочередно попадает в центр одной из расположенных ниже держателя растения концентрически установленных вокруг центральной вертикальной оси реактора кювет, заполненных вязким раствором, где в результате интерференции возникает замыкание расположенных на краю кюветы контактов электросети, обеспечивающее периодически чередующиеся подачу на корни растения аэрозоли питательного раствора с возможностью увеличивать объем подачи по мере роста растения и газовой смеси для удаления метаболитов корневой системы, подаваемых под давлением из емкости с питательным раствором и баллона с газовой смесью, при этом реактор снабжен поддоном для сбора конденсата питательного раствора и дефлекторами для удаления газов, причем дефлекторы, расположенные в колпаке реактора, используют в качестве ручек колпака.
Столик с держателем растения установлен на платформе электронных весов, а на проростке свободно покоится легкая светопрозрачная горизонтальная пластинка, снабженная датчиками, расположенными по краям пластинки, соприкасающимися со шкалированными рейками футштока, расположенными на внутренней стороне реактора, при этом датчики весов и футштока связаны через автоматизированную систему управления (АСУ) с монитором, на котором периодически высвечиваются данные о массе растения и его высоте. Реактор снабжен вводом калорифера, обеспечивающего постоянную заданную температуру внутри реактора, благоприятную для произрастания данного вида растения.
Аэрозоль питательного раствора и газовую смесь подают под давлением на корни растений таким образом, что они, упираясь в лопасти, установленные на держателе растения, приводят держатель вместе с растением во вращательное движение. Держатель, установленный на подшипниках, в свою очередь, через механический привод и мультипликатор приводит в действие электрогенератор, расположенный в реакторе, энергия которого накапливается на аккумуляторе и используется для нужд мавитора.
Энергия оптической составляющей роста растения определяется в специальных единицах в г на мм в ч при освещении проростка красным гелио-неоновым лазером (длина волны 633 нм) с радиусом луча 1,5 мм при температуре 20°С [5] (Предлагается назвать эту единицу “мавис”).
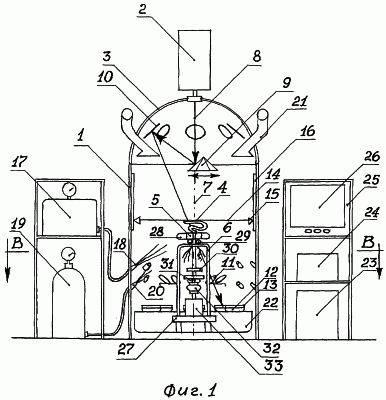
Устройство, принцип работы которого пояснен выше, иллюстрируется чертежами, где
на фиг.1 представлен разрез мавитора по А-А на фиг.2;
на фиг.2 – план мавитора по сечению В-В на фиг.1.
На фиг.1 показан корпус реактора 1, лазерная установка 2, колпак 3 реактора, проросток 4 растения, держатель 5 растения, столик 6 держателя, вертикальная центральная ось 7 реактора, лазерный луч 8, плавающая зеркальная призма 9, отражающие зеркала 10, фокусирующие линзы 11, кюветы 12 с густым раствором и контактами 13 электросети, пластинка 14 над растением, датчики 15 пластинки 14, шкалированные рейки 16 футштока, емкость 17 с питательным раствором, сопла 18 распылителя питательной аэрозоли, баллон 19 с газовой смесью, форсунка 20 для подачи газовой смеси, дефлектор 21 для удаления метаболитов корневой системы растения, поддон 22 для сбора конденсата питательного раствора, калорифер 23, АСУ 24, монитор 25 с экраном 26, электронные весы 27, лопасти держателя 28 подшипники держателя 29, поворотный механизм держателя 30, мультипликатор 31, электрогенератор 32 и аккумулятор 33.
Устройство обеспечивает компактность растений, с целью рационального использования пространства вегетационных труб, и также может использоваться в качестве измерительного прибора при выборе оптимальных видов растений для биоэнергетического комплекса и в области флористики при необходимости изменения конфигурации растений.
Использованная литература:
1. RU 2152149, 10.07.2000, Бюл. №19.
2. Инюшин В.М., Ильясов Г.У., Федорова Н.Н. Лазер-стимулятор развития сельскохозяйственных растений. – Алма-Ата: Кайнар, 1973. – 112 с., ил.
4. Патури Ф. Растения – гениальные инженеры природы, – М.: Прогресс, 1979. – 311 с., ил.
6. SU 1804290 A3, 23.03.1993.
Формула изобретения
1. Устройство для выращивания растений, включающее реактор, лазерную установку и столик с держателем растения, отличающееся тем, что лазерная установка расположена над колпаком реактора с возможностью подачи лазерного луча внутрь светонепроницаемого пространства реактора на плавающую зеркальную призму, которая отражает луч поочередно на расположенные концентрически вокруг центральной вертикальной оси реактора отражающие зеркала, которые инициируют поворот верхнего ростка растения, уложенного в держатель, установленный на столике соосно с центральной вертикальной осью реактора.
2. Устройство для выращивания растений по п.1, отличающееся тем, что содержит кюветы с вязким раствором, расположенные ниже держателя растения для обеспечения интерференции раствора под воздействием лазера и замыкания контактов электросети, расположенных по краям кювет с возможностью периодически чередующейся подачи на корни растения аэрозоли питательного раствора и газовой смеси для удаления метаболитов корневой системы растения.
3. Устройство для выращивания растений по п.1, отличающееся тем, что столик с держателем растения установлен на электронных весах, а верхний росток растения накрыт горизонтальной светопрозрачной пластинкой с датчиками, расположенными по краям пластинки и контактирующими со шкалированными рейками футштока, при этом датчики через АСУ связаны с экраном монитора.
4. Устройство для выращивания растений по п.2, отличающееся тем, что держатель растения выполнен с лопастями и установлен на подшипниках, а подающаяся под давлением аэрозоль питательного раствора и газовая смесь на корни растения направлена на лопасти держателя растения с возможностью сообщения держателю с растением вращательного движения, причем держатель растения через привод и мультипликатор приводит в действие электрогенератор.
РИСУНКИ
|
|