|
|
(21), (22) Заявка: 2004118246/09, 14.11.2002
(24) Дата начала отсчета срока действия патента:
14.11.2002
(30) Конвенционный приоритет:
16.11.2001 DE 10156395.7
(43) Дата публикации заявки: 10.01.2006
(46) Опубликовано: 27.01.2007
(56) Список документов, цитированных в отчете о поиске:
DE 2107591 A1, 31.08.1972. SU 1005201 А, 18.03.1983. SU 866792 A, 25.09.1981. DE 3017320 A1, 12.11.1981. JP 01-125892 A, 18.05.1989. JP 08-071981 A, 19.03.1996.
(85) Дата перевода заявки PCT на национальную фазу:
16.06.2004
(86) Заявка PCT:
EP 02/12774 (14.11.2002)
(87) Публикация PCT:
WO 03/043394 (22.05.2003)
Адрес для переписки:
101000, Москва, М.Златоустинский пер., д.10, кв.15, “ЕВРОМАРКПАТ”, И.А.Веселицкой
|
(72) Автор(ы):
УСНЕР Юрген (DE), ВЕЛЛИНГ Андо (DE)
(73) Патентообладатель(и):
ГИЗЕКЕ УНД ДЕВРИЕНТ ГМБХ (DE)
|
(54) СПОСОБ И УСТРОЙСТВО ДЛЯ ВЫПОЛНЕНИЯ СКВОЗНЫХ СОЕДИНЕНИЙ В ПОДЛОЖКАХ И ПЕЧАТНЫХ ПЛАТАХ
(57) Реферат:
Изобретение относится к области электротехники для изготовления блоков элементов электрической аппаратуры, в частности при выполнении гибких сквозных соединений в подложках печатных плат. Техническим результатом при использовании изобретения является простота и надежность. При выполнении сквозных соединений в гибких подложках (1) печатных плат для обеспечения электрического контакта между двумя расположенными на противоположных поверхностях (1a, 1b) подложки электропроводными контактными участками (4, 41), в зоне этих контактных участков, в подложке выполняют прорезаемую под наклоном к ее поверхностям прорезь (11), и оба примыкающих к этой наклонной прорези (11) участка (20, 30) подложки смещают друг относительно друга, разводя их во взаимно противоположные стороны до тех пор, пока они не заскочат один за другой. Смещение друг относительно друга этих участков подложки обеспечивается с помощью толкателя (12) под действием сжатого воздуха (13) за счет создания разрежения (14) либо с помощью зафиксированного на режущем инструменте захватывающего крючка (15). Обе стадии, одна из которых предусматривает выполнение в подложке прорези, а другая – смещение обращенных друг к другу участков подложки друг относительно друга путем их разведения во взаимно противоположные стороны, выполняют на одной и той же позиции обработки, предпочтительно за одну рабочую операцию. 2 н. и 10 з.п. ф-лы, 10 ил.
Настоящее изобретение относится к способу и устройству для выполнения сквозных (или межслойных) соединений в гибких подложках, прежде всего в печатных платах, для обеспечения электрического контакта между двумя расположенными на противоположных поверхностях подложки электропроводными контактными участками, для чего в зоне этих контактных участков в подложке выполняют прорезаемую под наклоном к ее поверхностям прорезь и оба примыкающих к этой наклонной прорези участка подложки смещают друг относительно друга, разводя их во взаимно противоположные стороны до тех пор, пока они не заскочат один за другой. За счет этого обеспечивается соприкосновение между собой расположенных на противоположных поверхностях подложки контактных участков или контактных площадок и их электрическое соединение между собой, т.е. соприкосновение контактного участка, расположенного с верхней стороны подложки, с контактным участком, расположенным с ее нижней стороны.
Подобный способ описан в неопубликованной заявке DE 10122414.1. Описанный в этой заявке способ является гораздо более простым в осуществлении по сравнению с традиционными способами выполнения сквозных соединений, предусматривающими пробивку или просверливание в подложке сквозного отверстия с последующим помещением в него электропроводной контактной гильзы или его заполнением электропроводной пастой (ЕР 0884973). Поверхности подложки можно затем вновь выровнять путем их последующего ламинирования, одновременно повышающего жесткость, а тем самым и надежность электропроводного соединения между обоими контактными участками. Для обеспечения электрического контакта между двумя контактными участками при этом не требуется использовать дополнительный электропроводный материал, поскольку контактные участки надежно прижимаются друг к другу за счет собственного напряжения гибкой подложки.
Подобная подложка, соответственно подобная печатная плата, обычно интегрируется в виде вставки в карты со встроенными микросхемами, соответственно в чип-карты (используемые в качестве удостоверений личности, кредитных карт, платежных карт и в иных аналогичных целях), и часто образует отдельный слой их корпуса. С одной стороны печатной платы может, например, располагаться образованная электропроводным слоем интегральная схема с дополнительными электронными компонентами, а с другой стороны той же самой печатной платы может располагаться электропроводный слой, который может, например, выполнять функцию антенной катушки, используемой для бесконтактного обмена данными с внешними устройствами и получения передаваемой от них энергии и электрически соединенной с указанной интегральной схемой проходящим сквозь печатную плату соединением. Подобное проходящее сквозь печатную плату или подложку электропроводное соединение между расположенными по разные ее стороны электронными элементами и компонентами обычно называют “сквозным (или межслойным) соединением”.
Согласно настоящему изобретению подложка может использоваться не только в чип-картах, но и в бирках, наклейках или иных аналогичных защитных элементах, снабженных антенной катушкой и/или электронной вставкой.
Одна из основных проблем, связанная с выполнением сквозных соединений известным способом, состоит в том, что последовательное выполнение обеих рабочих операций, а именно выполнение в подложке наклонной прорези и смещение друг относительно друга обоих примыкающих к прорези участков подложки (ниже называемых также “контактными язычками” или “язычками сквозного соединения”) путем их разведения во взаимно противоположные стороны, не обеспечивает получение сквозных соединений с необходимой точностью и приводит к слишком высокому проценту брака. Более того, согласно полученным экспериментальным путем данным этот известный способ требует значительных затрат ручного труда.
В основу настоящего изобретения была положена задача разработать простой и надежный в осуществлении способ выполнения сквозных соединений в печатных платах и иных аналогичных подложках, а также разработать соответствующее устройство для осуществления такого способа.
Указанная задача решается с помощью способа и устройства, отличительные признаки которых приведены в соответствующих независимых пунктах формулы изобретения. Предпочтительные варианты осуществления изобретения представлены в соответствующих зависимых пунктах формулы.
В соответствии с изобретением образованные кромками наклонной прорези язычки сквозного соединения смещают друг относительно друга путем их выдавливания во взаимно противоположные стороны не вручную, а механически либо с помощью отдельного толкателя, либо с помощью сжатого воздуха, либо за счет создания разрежения или же автоматически в процессе выполнения наклонной прорези с помощью зафиксированного на режущем инструменте захватывающего крючка. Такие меры можно использовать и в различных сочетаниях между собой. Применение подобных механических вспомогательных средств позволяет автоматизировать процесс выполнения сквозных соединений и снизить процент брака.
Особое преимущество предлагаемого в изобретении решения заключается в возможности объединить на одной и той же позиции обработки механические вспомогательные средства, предназначенные для смещения друг относительно друга язычков сквозного соединения путем их выдавливания во взаимно противоположные стороны, с режущим инструментом, предназначенным для выполнения в подложке наклонной прорези. Тем самым появляется возможность выполнения обеих технологических стадий обработки подложки без изменения ее положения, благодаря чему механические вспомогательные средства, предназначенные для смещения друг относительно друга язычков сквозного соединения путем их выдавливания во взаимно противоположные стороны, всегда будут воздействовать на подложку в точно заданном ее месте относительно ранее выполненной в ней прорези.
Обе необходимые для выполнения сквозного соединения стадии наиболее предпочтительно выполнять за одну рабочую операцию. С этой целью можно, например, использовать режущий инструмент с зафиксированным на нем захватывающим крючком и в процессе выполнения сквозного соединения сначала прорезать режущим инструментом подложку под наклоном к ее плоскости, а затем выдавливать один из обоих образовавшихся в результате такого прорезания подложки язычков сквозного соединения при дальнейшем перемещении режущего инструмента в том же направлении, например, зафиксированным на нем захватывающим крючком, заводя таким путем этот язычок за другой язычок сквозного соединения.
Обе указанные выше стадии, одна из которых предусматривает выполнение прорези в подложке, а другая – выдавливание контактного язычка из плоскости подложки, можно выполнять за одну рабочую операцию и при использовании сжатого воздуха и/или разрежения.
В принципе стадию смещения обращенных друг к другу их кромками контактных язычков друг относительно друга путем их разведения во взаимно противоположные стороны можно объединить со стадией выполнения в подложке наклонной прорези и выполнять обе эти стадии за одну рабочую операцию даже при использовании отдельного толкателя для выдавливания одного из контактных язычков и его заведения за другой контактный язычок. В этом случае контактные язычки смещают друг относительно друга, надавливая на один из них толкателем, еще до выведения режущего инструмента из выполненной им наклонной прорези. Режущий инструмент предпочтительно выполнять в виде ножевого полотна, способного пружинить перпендикулярно его плоскости.
Согласно одному из особых вариантов осуществления изобретения режущая кромка режущего инструмента выполнена зубчатой и снабжена по меньшей мере одним зубцом. Наличие подобного зубца или зубцов позволяет предотвратить проскальзывание ножа по поверхности гибкой подложки после его соприкосновения с ней и тем самым повысить точность выполнения сквозного соединения.
Ниже изобретение более подробно рассмотрено на примере некоторых вариантов его осуществления со ссылкой на прилагаемые чертежи, на которых показано:
на фиг.1а и 1б – лицевая и обратная сторона гибкой подложки,
на фиг.2 – два варианта выполнения изображенного в виде сбоку предлагаемого в изобретении устройства для выполнения сквозного соединения в подложке,
на фиг.3а и 3б – вид в разрезе и в плане подложки с выполненным в ней с помощью показанного на фиг.2 устройства сквозным соединением,
на фиг.4 – другой вариант выполнения предлагаемого в изобретении устройства, показанного на фиг.2,
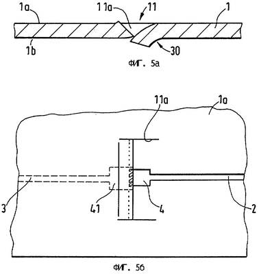
на фиг.5а и 5б – вид в разрезе и в плане подложки с выполненным в ней с помощью показанного на фиг.4 устройства сквозным соединением,
на фиг.6 – два других варианта выполнения изображенного в виде сбоку предлагаемого в изобретении устройства для выполнения сквозного соединения в подложке и
на фиг.7 – режущий инструмент с зубчатой режущей кромкой.
На фиг.1а показана лицевая сторона подложки 1, встраиваемой в корпус чип-карты. С этой стороны подложки находится электропроводный слой 2, выполненный в виде катушки для бесконтактного обмена данными и энергией с внешним устройством. Расположенная с этой стороны подложки 1 катушка 2 имеет контактные участки 4 и 5, при этом контактный участок 5 служит для контактирования с интегральным модулем. Катушка контактирует с интегральным модулем также посредством контактного участка 6, который сквозным (или межслойным) соединением соединен в месте 8 со вторым электропроводным слоем 3, выполненным в виде второй катушки с обратной стороны подложки 1 (фиг.1б). Еще одно сквозное соединение такого же типа соединяет контактный участок 4 с катушкой 3 в месте 7. Соответствующие контактные участки катушки 3, расположенные с обратной стороны подложки, обозначены на фиг.1б позициями 61 и 41.
На фиг.2 показаны два варианта выполнения предлагаемого в изобретении устройства для выполнения сквозных соединений. В обоих этих вариантах, что является общим для них, подложку 1 располагают на позиции ее обработки на мягкой подкладке 10, например на резиновом коврике, и без изменения положения подложки 1 в ней под наклоном к ее поверхностям 1a, 1b выполняют прорезь 11, образованные кромками которой язычки 20, 30 сквозного соединения выдавливают во взаимно противоположные стороны до тех пор, пока язычок 30 не заскочит за другой язычок 20 и оба они не займут показанное на фиг.3а положение.
Прорезь 11 в подложке 1 предпочтительно выполнять с наклоном под углом 45° к ее поверхностям 1а, 1b.
Согласно показанному на фиг.2 первому варианту для разведения обоих язычков 20, 30 во взаимно противоположные стороны используется захватывающий крючок 15 на ноже 9. С этой целью подвижно установленный в ножевом блоке 20 нож 9 сначала перемещают в осевом направлении, выполняя в подложке прорезь 11. При дальнейшем перемещении ножа 9 в том же направлении захватывающий крючок 15 входит в контакт с показанным на фиг.2 справа от прорези 11 контактным язычком 30 и выдавливает его вниз до тех пор, пока он не окажется за показанным на фиг.2 слева от прорези 11 контактным язычком 20 и пока оба этих контактных язычка не заскочат один за другой (фиг.3а).
Согласно показанному на фиг.2 второму варианту для разведения обоих язычков 20, 30 во взаимно противоположные стороны вместо захватывающего крючка 15 используется толкатель 12, выполненный с возможностью возвратно-поступательного перемещения в обозначенном двунаправленной стрелкой направлении. В этом варианте сначала в подложке ножом 9 выполняют прорезь 11 путем его выдвижения в его осевом направлении и затем до или после отвода ножа 9 в его исходное положение расположенный справа от прорези 11 контактный язычок 30 и в этом случае выдавливают толкателем 12 за находящийся слева от прорези 11 контактный язычок 20. Толкатель 12 в рассматриваемом случае имеет сравнительно небольшое поперечное сечение и с учетом этого нажимает лишь на центральную часть правого контактного язычка 30, заводя его под левый контактный язычок 20.
В результате выполнения описанных выше операций в обоих вариантах получают сквозное соединение показанной на фиг.3б в виде в плане формы. В соответствии с этим контактные язычки 20, 30 перекрываются внахлестку их поверхностями 1a, 1b (фиг.3а) только в центральной части прорези 11. Образованная в результате зона контакта между контактным участком 4 катушки 2 и контактным участком 41 катушки 3 показана на фиг.3б штриховкой.
По завершении процесса выполнения сквозного соединения на позиции обработки подложку 1 можно удалить с этой позиции ее обработки, после чего на подложку можно, например, в последующем процессе ламинирования наносить другие полимерные покрытия и при необходимости снабжать ее другими электронными компонентами с получением окончательно готовой пластиковой чип-карты.
Вместо показанного на фиг.2 толкателя со сравнительно небольшим поперечным сечением можно также использовать толкатель шириной, равной всей длине прорези 11. Равным образом и захватывающий крючок 15, который в показанном на фиг.2 варианте имеет сравнительно небольшие размеры и расположен посередине ножа 9, при необходимости можно выполнить занимающим всю ширину ножа 9. В этом случае продавливание правого контактного язычка 30 под левый контактный язычок 20 может привести к образованию с обоих концов прорези надрывов по меньшей мере на продавливаемом контактном язычке 30. Во избежание этого в других, показанных на фиг.4 вариантах выполнения устройства, альтернативных показанным на фиг.2 вариантам, у ножа 9 предусмотрены боковые режущие элементы 9а, соответственно у толкателя 12 предусмотрены боковые режущие элементы 12а, благодаря чему одновременно с выполнением прорези 11 режущие элементы 9а либо одновременно с выдавливанием контактных язычков во взаимно противоположные стороны режущие элементы 12а прорезают подложку перпендикулярно продольной протяженности прорези 11 с образованием дополнительной ровной прорези 11а. После выполнения этой операции контактный язычок 30 сквозного соединения, который показан справа на фиг.5а и выдавлен вниз из плоскости подложки, приобретает типичную для него, в большей степени соответствующую истинной трактовке этого термина форму. Такой контактный язычок 30 с трех сторон отделен от подложки 1 прорезями 11 и 11a и только с одной стороны соединен с подложкой 1. На фиг.5б также в виде в плане показана та часть подложки, где с помощью показанного на фиг.4 устройства выполнено сквозное соединение. Зона непосредственного контакта между контактными участками 4 и 41 также показана штриховкой.
На фиг.6 показаны два других, также совмещенных на одном чертеже варианта выполнения предлагаемого в изобретении устройства для осуществления предлагаемого в изобретении способа. В этом случае правый контактный язычок 30 смещается относительно левого контактного язычка 20 под действием сжатого воздуха 13, поток которого направлен на лицевую поверхность 1а контактного язычка 30, и/или под действием разрежения, создаваемого вакуумным насосом 14 со стороны обратной поверхности 1b этого контактного язычка. В этом случае в качестве подкладки 10 может использоваться жесткая подкладка, поскольку прорезь 11 окружена всасывающим патрубком вакуумного насоса 14, а расположенный справа от прорези 11 контактный язычок 30 сквозного соединения при его смещении относительно расположенного слева от прорези 11 контактного язычка 20 также входит в этот всасывающий патрубок.
На фиг.7 показан особый вариант выполнения ножа 9, который имеет зубчатую режущую кромку. В непосредственно показанном на этом чертеже варианте режущая кромка ножа 9 снабжена одним единственным зубцом 9b, функция которого состоит в предотвращении проскальзывания ножа 9 по поверхности 1а подложки 1 после его соприкосновения с ней.
Формула изобретения
1. Способ выполнения сквозных соединений в гибких подложках (1) для обеспечения электрического контакта между двумя расположенными на противоположных поверхностях (1a, 1b) подложки (1) электропроводными контактными участками (4, 41; 6, 61), при осуществлении которого в зоне этих контактных участков (4, 41) в подложке (1) режущим инструментом (9) выполняют прорезаемую под наклоном к ее поверхностям (1а, 1b) прорезь (11), отличающийся тем, что за одну рабочую операцию совместно с выполнением в подложке наклонной прорези (11) оба примыкающих к ней участка (20, 30) подложки смещают друг относительно друга, разводя их во взаимно противоположные стороны до тех пор, пока они не заскочат один за другой.
2. Способ по п.1, отличающийся тем, что обращенные друг к другу участки (20, 30) подложки смещают друг относительно друга, разводя их во взаимно противоположные стороны, с помощью отдельного толкателя (12) и/или предусмотренного на режущем инструменте захватывающего приспособления (15).
3. Способ по п.1, отличающийся тем, что обращенные друг к другу участки (20, 30) подложки смещают друг относительно друга, разводя их во взаимно противоположные стороны, под действием сжатого воздуха (13) или за счет создания разрежения (14).
4. Способ по одному из пп.1-3, отличающийся тем, что обе стадии, одна из которых предусматривает выполнение в подложке прорези, а другая – смещение обращенных друг к другу участков подложки друг относительно друга путем их разведения во взаимно противоположные стороны, выполняют, не изменяя положение подложки.
5. Способ по одному из пп.1-3, отличающийся тем, что наклонную прорезь (11) в подложке (1) выполняют с наклоном под углом 45° к ее поверхностям (1а, 1b).
6. Устройство для осуществления способа по одному из пп.1-5, содержащее режущий инструмент (9), предназначенный для выполнения в подложке (1) прорезаемой в ней наклонно к обеим ее противоположным поверхностям (1a, 1b) прорези (11), и приспособление (12; 13; 14; 15) для смещения друг относительно друга двух примыкающих к прорези (11) участков (20, 30) подложки путем их разведения во взаимно противоположные стороны до их заскакивания один за другой, отличающееся тем, что режущий инструмент (9) и приспособление (12; 13; 14; 15) для смещения друг относительно друга примыкающих к прорези участков подложки расположены на одной и той же позиции обработки.
7. Устройство по п.6, отличающееся тем, что приспособление для смещения друг относительно друга примыкающих к прорези участков подложки содержит толкатель (12).
8. Устройство по п.6, отличающееся тем, что принцип работы приспособления для смещения друг относительно друга обоих примыкающих к прорези участков подложки основан на воздействии на них сжатым воздухом (13).
9. Устройство по п.6, отличающееся тем, что принцип работы приспособления для смещения друг относительно друга обоих примыкающих к прорези участков подложки основан на создании прикладываемого к ним разрежения (14).
10. Устройство по п.6, отличающееся тем, что приспособление для смещения друг относительно друга примыкающих к прорези участков подложки содержит зафиксированный на режущем инструменте (9) захватывающий крючок (15).
11. Устройство по одному из пп.6-10, отличающееся тем, что режущая кромка режущего инструмента (9) снабжена по меньшей мере одним зубцом (9b).
12. Устройство по одному из пп.6-10, отличающееся тем, что режущий инструмент (9) имеет ножевое полотно, способное пружинить перпендикулярно его плоскости.
РИСУНКИ
|
|