|
|
(21), (22) Заявка: 2002126617/09, 07.03.2001
(24) Дата начала отсчета срока действия патента:
07.03.2001
(30) Конвенционный приоритет:
08.03.2000 US 09/521,359
(43) Дата публикации заявки: 27.02.2004
(46) Опубликовано: 27.01.2007
(56) Список документов, цитированных в отчете о поиске:
WO 96/23369 A1, 10.08.1996. US 5697055, 09.12.1997. US 5978679 A, 02.11.1999. US 5872774 A, 16.02.1999. SU 1626412 A1, 07.02.1991.
(85) Дата перевода заявки PCT на национальную фазу:
08.10.2002
(86) Заявка PCT:
US 01/07390 (07.03.2001)
(87) Публикация PCT:
WO 01/37788 (13.09.2001)
Адрес для переписки:
129010, Москва, ул. Б. Спасская, 25, стр.3, ООО “Юридическая фирма Городисский и Партнеры”, пат.пов. Ю.Д.Кузнецову, рег.№ 595
|
(72) Автор(ы):
ГРИЛЛИ Франческо (US), ДЖАИН Авинаш (US), ГАРДНЕР Уилльям (US)
(73) Патентообладатель(и):
КВЭЛКОММ ИНКОРПОРЕЙТЕД (US)
|
(54) МЕЖСИСТЕМНАЯ ПЕРЕДАЧА ОБСЛУЖИВАНИЯ МЕЖДУ БАЗОВЫМИ СТАНЦИЯМИ
(57) Реферат:
Изобретение относится к области связи и может быть использовано как усовершенствованная сеть сотовой телефонной связи. Беспроводная система мобильной связи включает в себя базовые станции первого и второго типов, функционирующих в соответствии с первым радиоинтерфейсом и вторым радиоинтерфейсом соответственно. В этой системе осуществляется выполнение передачи обслуживания мобильной станции от первой базовой станции к второй базовой станции. Между мобильной станцией и первой базовой станцией устанавливается линия связи через первый радиоинтерфейс. Принимаются данные, переданные мобильной станцией в ответ на прием ею сигнала от второй базовой станции через второй радиоинтерфейс по существу без прерывания линии связи с первой базовой станцией. В ответ на указанные данные, полученные от мобильной станции, выполняется передача обслуживания этой мобильной станции от первой базовой станции ко второй базовой станции. Обеспечена возможность временной синхронизации через данную мобильную станцию, при этом радиоинтерфейсы являются интерфейсами МДКР, GSM/МДВР, интерфейсами в соответствии со стандартом cdma2000, со стандартом широкополосного МДКР. Технический результат – обеспечение передачи обслуживания без прерывания сеанса связи. 6 н. и 34 з.п. ф-лы, 27 ил., 21 табл.
ОБЛАСТЬ ТЕХНИКИ
Настоящее изобретение относится к беспроводным системам связи и, более конкретно, к усовершенствованным сетям сотовой телефонной связи.
УРОВЕНЬ ТЕХНИКИ
Глобальная система мобильной связи (ГСМС или GSM) используется в сетях сотовой телефонной связи во многих странах мира. ГСМС обеспечивает приемлемый диапазон сетевых услуг и стандартов. Существующие сети ГСМС основываются на технологии цифровой связи с множественным доступом с временным разделением каналов (МДВР). В сетях сотовой телефонной связи, основывающихся на МДВР, в заданный момент времени каждое мобильное абонентское устройство осуществляет связь только с одной базовой станцией. Когда абонент перемещается из одной сотовой ячейки в другую, имеет место “жесткая передача обслуживания”, при которой базовая станция, с которой абонент осуществляет связь в текущий момент, разрывает линию связи с абонентом, и обслуживание абонента передается к новой базовой станции.
Множественный доступ с кодовым разделением каналов (МДКР) представляет собой улучшенную цифровую технологию, которая по сравнению с МДВР обеспечивает более эффективное использование полосы радиочастот, а также более надежную свободную от замираний связь между абонентами сотовых телефонов и базовыми станциями. Основным стандартом МДКР является стандарт IS-95, опубликованный Ассоциацией Промышленности Средств Связи (АПСС). Данный стандарт обеспечивает “гибкую передачу обслуживания”, при которой при перемещении из одной сотовой ячейки в другую абонентское устройство временно находится в контакте одновременно с двумя или более базовыми станциями. Данная гибкая передача обслуживания, которая становится возможной благодаря использованию кодового разделения каналов, снижает вероятность потери соединения, которая часто имеет место при передачах обслуживания.
В заявке PCT/US96/20764, включенной в данный документ посредством ссылки, описана беспроводная система связи, в которой используется радиоинтерфейс (то есть основные протоколы высокочастотной (ВЧ) связи) МДКР для реализации сетевых служб и протоколов ГСМС. При использовании данной системы по меньшей мере некоторые из базовых станций (ВС) и абонентских устройств МДВР из состава существующей сети ГСМС следует заменить или дополнить соответствующим оборудованием МДКР. Базовые станции МДКР в рассматриваемой системе адаптированы для связи с центрами коммутации мобильной связи (ЦКМС) ГСМС через стандартный А-интерфейс ГСМС. Таким образом, ядро сетевых служб ГСМС сохраняется, а переключение между МДВР и МДКР оказывается прозрачным для пользователей.
Гибридные сети сотовой связи, включающие в себя как элементы ГСМС, так и элементы МДКР, также описаны во включенных в данный документ посредством ссылки публикациях WO 95/24771 и WO 96/21999 заявок РСТ и в статье Tscha, et al., “A Subscriber Signaling Gateway between CDMA Mobile Switching Center”, Proceedings of the 2nd International Conference on Universal Personal Communications, Ottawa (1993), pp.181-185. Ни одна из данных публикаций напрямую не связана со специфическими проблемами реализации эффективных процедур передачи обслуживания абонентских устройств между различными базовыми станциями в подобных гибридных сетях.
В заявке PCT/US97/00926, также включенной в данный документ посредством ссылки, описаны способы межсистемной передачи между базовыми станциями МДКР и МДВР в гибридной системе связи ГСМС/МДКР. БС ГСМС/МДВР формирует пилот-сигналы маяка в соответствии с технологией МДКР. В процессе телефонного вызова абонентское устройство обнаруживает пилот-сигналы и уведомляет контроллер базовой станции об обнаружении этих сигналов. Затем осуществляется передача обслуживания рассматриваемой абонентской станции от БС МДКР на БС МДВР без прерывания вызова.
Международный Союз Телекоммуникаций (МСТ) недавно выступил с инициативой и начал прием предложений по стандартизации способов обеспечения высокоскоростной передачи данных и высококачественных речевых услуг по беспроводным каналам связи. Первое из данных предложений, озаглавленное “Предварительное Предложение cdma2000 по Стандартизации в области ТРП (Технологий Радиопередачи) для МСТ-Р (сектора Радиосвязи МСТ)” и в дальнейшем называемое cdma2000, было опубликовано Ассоциацией Промышленности Средств Связи. Второе из данных предложений, озаглавленное “Предварительное Предложение Европейского Института Стандартов по Телекоммуникациям (ЕИСТ) в области ТРП для МСТ-Р по Стандартизации наземного радиодоступа к универсальной системе мобильных телекоммуникаций (УСМТ)”, также известное как “широкополосный МДКР” и в дальнейшем называемое ШМДКР, было опубликовано Европейским Институтом Стандартов по Телекоммуникациям (ЕИСТ). Третье предложение, озаглавленное “Предварительное Предложение UWC-136 по Стандартизации” и в дальнейшем называемое “развитие стандарта ГСМС с увеличенной скоростью передачи данных” (РСГУСП или EDGE), было подано Целевой Группой (ЦГ) 8/1 США. Содержание этих предложений по стандартизации доступно в открытой печати и хорошо известно в данной области техники.
Двумя известными реализациями высокочастотных (ВЧ) интерфейсов для подобных так называемых беспроводных систем связи “третьего поколения” являются радиоинтерфейс с множеством несущих (МН) и радиоинтерфейс с прямым расширением спектра последовательностью (ПРСП). Система третьего поколения, использующая радиоинтерфейс МН, может представлять собой систему, в которой используются сетевые протоколы сигнализации, определенные в стандарте Американского Национального Института Стандартов (АНИС) ANSI41. Предложенная система cdma2000 представляет собой именно такую систему. В качестве альтернативного варианта система, использующая радиоинтерфейс МН, может использовать сетевые протоколы сигнализации, определенные Разделом Приложений Мобильной Связи (РПМС) вышеописанного стандарта ГСМС-РПМС. Также в системе может использоваться радиоинтерфейс ПРСП и сетевые протоколы ANSI41 сигнализации, или радиоинтерфейс ПРСП и сетевые протоколы РПМС сигнализации. В предложенной системе ШМДКР используются радиоинтерфейс ПРСП и сетевые протоколы РПМС сигнализации.
Помимо систем ГСМС и МДКР межсистемная передача обслуживания также необходима в областях, где зона покрытия системы МН (например, базовых станций cdma2000) уступает зоне покрытия системы ПРСП (например, базовых станций ШМДКР) или наоборот. Также необходимо обеспечить эффективную временную синхронизацию между базовыми станциями двух рассматриваемых систем вследствие их одновременного сеанса связи с мобильным устройством во время передачи обслуживания.
СУЩНОСТЬ ИЗОБРЕТЕНИЯ
Задачей настоящего изобретения является создание способов и устройств для использования в смешанной сети сотовой связи МДВР/МДКР.
Еще одной задачей некоторых аспектов настоящего изобретения является создание улучшенных способов и устройств, обеспечивающих передачу обслуживания абонентского устройства между базовыми станциями МДВР и МДКР без прерывания сеанса связи.
В предпочтительных вариантах осуществления настоящего изобретения смешанная система сотовой связи ГСМС/МДКР включает в себя как базовые станции МДВР, так и базовые станции МДКР, которые управляются совместно центром коммутации мобильной связи (ЦКМС). В общих чертах системы этого типа описаны в вышеупомянутых заявках РСТ, которые включены в данный документ посредством ссылок. Абонентское устройство в рассматриваемой системе, также называемое здесь мобильной станцией (МС), способно осуществлять связь с обоими типами базовых станций посредством своевременного переключения между радиоинтерфейсами МДВР и МДКР при предпочтительном использовании сетевых протоколов ГСМС для обоих типов интерфейсов. Отличительным признаком предпочтительных вариантов осуществления настоящего изобретения является то, что рассматриваемая система связи может основываться на уже существующей инфраструктуре ГСМС/МДВР с добавлением базовых станций МДКР и без других существенных модификаций существующей инфрастуктуры, что существенно.
Для того чтобы определить, когда должна иметь место передача обслуживания, МС, осуществляющая связь в текущий момент с базовой станцией одного типа (МДКР или МДВР), отслеживает ВЧ сигналы, исходящие от другой базовой станции, которой может быть базовая станция другого типа (МДВР или МДКР, соответственно). Последовательность сообщений между текущей базовой станцией и рассматриваемой МС обеспечивает последней возможность получить соответствующую информацию синхронизации, касающуюся новой базовой станции, и выдать сообщение об этой информации обратно на текущую базовую станцию. Данная информация используется рассматриваемой системой для обеспечения возможности для рассматриваемой МС установить радиоинтерфейс с новой базовой станцией, после чего передача обслуживания происходит без существенных прерываний сеанса связи между МС и сетью.
В контексте настоящей заявки на патент подобные передачи обслуживания между базовыми станциями называются “передачами обслуживания с участием мобильной станции”. Передача обслуживания с участием мобильной станции используется в известных в рассматриваемой области техники системах ГСМС и МДКР, в которых перед передачей обслуживания в соседнюю сотовую ячейку мобильная станция измеряет и выдает сообщение о мощностях сигналов, принятых от приемопередатчика базовой станции, обслуживающей упомянутую соседнюю сотовую ячейку. Однако предполагается, что в предложенных на настоящий момент гибридных системах ГСМС/МДКР мобильные станции в любой заданный момент времени способны принимать сигналы либо от базовой станции МДКР, либо от базовой станции ГСМС (либо связанный с базовой станцией МДВР сигнал маяка МДКР, как описано в вышеупомянутой заявке PCT/US97/00926), но не оба типа сигналов. В результате мобильная станция не может обеспечить содействие при данном типе передачи обслуживания. Обеспечение содействия со стороны мобильной станции в соответствии с принципами настоящего изобретения делает возможным более плавное и надежное осуществление передач обслуживания, чем это было бы возможно в противном случае.
В некоторых предпочтительных вариантах осуществления настоящего изобретения рассматриваемая МС переключается между режимами функционирования МДВР и МДКР в течение телефонного вызова в соответствии с инструкциями, получаемыми от базовой станции, с которой рассматриваемое устройство осуществляет связь в текущий момент. Перед передачей обслуживания МС принимает сигналы как от базовых станций МДВР, так и от базовых станций МДКР и передает сообщение о принятых сигналах обратно на данную базовую станцию. Информация, полученная в виде вышеупомянутого сообщения, передается в виде сообщения обратно на контроллер базовых станций (КБС) и используется им для инициирования передачи обслуживания. Предпочтительно МС включает в себя один радиоприемопередатчик, и, таким образом, в любой заданный момент времени может осуществлять связь либо с базовой станцией МДВР, либо с базовой станцией МДКР, но не с обеими одновременно. (Тем не менее, как описывалось ранее, в соответствии с принципами IS-95 рассматриваемое устройство может сообщаться одновременно более чем с одной базовой станцией МДКР.) Далее следует отметить, что на каждой базовой станции ГСМС/МДВР есть собственный тактовый генератор синхронизации, по которому синхронизируются связанные с ней мобильные станции, в то время как базовые станции МДКР совместно синхронизируются по реальному времени суток. Таким образом, при переключении между базовыми станциями МДВР и МДКР МС каждый раз запрашивает соответствующий тактовый сигнал и синхронизирует по нему свою работу без существенных прерываний телефонного вызова.
В некоторых из упомянутых предпочтительных вариантов осуществления МС осуществляет связь с базовой станцией МДКР в случае, когда установлено, что можно осуществить передачу обслуживания данного устройства к базовой станции ГСМС/МДВР. Для обнаружения и синхронизации с базовой станцией МДВР передача МДКР, осуществляемая приемопередатчиком МС, временно прерывается, и в течение этого интервала времени данное устройство осуществляет сканирование соседних базовых станций ГСМС в общем случае в соответствии со стандартами ГСМС. Предпочтительно передача МДКР прерывается на период, равный длительности одного кадра (обычно равной 20 мс), тем самым создает пустой временной интервал в соответствии со стандартом IS-95. После идентификации базовой станции МДВР и обмена соответствующими сообщениями между базовыми станциями устанавливается канал трафика, и рассматриваемая мобильная станция переключается на базовую станцию МДВР, при этом прерывание телефонного вызова, осуществляемого МС, существенно минимизируется.
В остальных предпочтительных вариантах осуществления МС осуществляет связь с базовой станцией МДВР в случае, когда установлено, что можно осуществить передачу обслуживания данного устройства к базовой станции МДКР. Для синхронизации со станцией МДКР МС определяет время суток предпочтительно путем приема точного значения времени суток от базовой станции МДВР, причем сеть ГСМС оснащена оборудованием, необходимым для формирования и широковещательной передачи данных о времени суток. Предпочтительно данная сеть включает в себя соответствующую стандарту ГСМС систему широковещательной передачи (трансляции) сотовой ячейки (СШСЯ), используемую для приема времени суток, выдаваемого, например, Глобальной Системой Навигации и Определения Положения (ГСНОП) или полученного от одной или нескольких базовых станций МДКР, и для трансляции времени суток через сеть на мобильные станции. В качестве альтернативного варианта МС временно прерывает прием МДВР для получения времени суток от станции МДКР и последующей синхронизации с ним. Таким образом, несмотря на то что вследствие потери временного интервала (временных интервалов) вышеописанным способом может произойти определенное ухудшение сигнала, передача обслуживания от МДКР на МДВР при участии мобильной станции в общем случае оказывается более надежной и менее заметной для пользователя, чем это было бы возможно в противном случае.
Несмотря на то что в данном документе предпочтительные варианты осуществления описаны со ссылкой на мобильные станции, оснащенные одним приемопередатчиком для использования в режимах МДВР и МДКР, следует отметить, что принципы настоящего изобретения можно аналогичным образом применять с использованием абонентских устройств и системного аппаратного обеспечения других типов и, в частности, с использованием абонентского устройства, оснащенного отдельными или частично интегрированными приемопередатчиками МДВР и МДКР.
Таким образом, в соответствии с предпочтительным вариантом осуществления настоящего изобретения для беспроводной системы мобильной связи, включающей в себя базовые станции первого типа, функционирующие в соответствии с первым радиоинтерфейсом, и базовые станции второго типа, функционирующие в соответствии со вторым радиоинтерфейсом, обеспечивается способ передачи обслуживания мобильной станции от первой базовой станции, относящейся к первому типу, второй базовой станции, относящейся ко второму типу, в рассматриваемой системе. Данный способ включает в себя:
установление линии связи между мобильной станцией и первой базовой станцией через первый радиоинтерфейс;
прием данных от мобильной станции в ответ на сигнал, принятый мобильной станцией от второй базовой станции через второй радиоинтерфейс, по существу без прерывания линии связи с первой базовой станцией;
передачу обслуживания мобильной станции от первой базовой станции ко второй базовой станции в ответ на данные, принятые от нее.
Предпочтительно получение данных включает в себя измерение мощности сигнала, а передача обслуживания мобильной станции включает в себя сравнение результатов измерений мощностей сигналов от первой и второй базовых станций и передачу обслуживания данной мобильной станции на основе результатов сравнения. Предпочтительно прием данных включает в себя использование весового коэффициента для измерения мощности сигнала, причем использование весового коэффициента включает в себя варьирование данного коэффициента в соответствии с состоянием сети в системе. Кроме того, предпочтительно использование весового коэффициента включает в себя передачу весового коэффициента по линии связи на мобильную станцию, которая, в свою очередь, использует данный весовой коэффициент для измерений.
Предпочтительно получение данных включает в себя получение идентификатора второй базовой станции на основе декодирования мобильной станцией сигнала, принятого через второй радиоинтерфейс.
В предпочтительном варианте осуществления настоящего изобретения выполняется передача от первой базовой станции на мобильную станцию списка частот базовых станций второго типа в системе, так что данная мобильная станция отыскивает в данном списке частоту для приема сигнала.
Предпочтительно передача обслуживания мобильной станции включает в себя передачу команды на передачу обслуживания от первой базовой станции. В предпочтительном варианте осуществления передача обслуживания мобильной станции включает в себя начальную передачу через второй радиоинтерфейс в ответ на команду на передачу обслуживания, а предложенный способ включает в себя повторное установление линии связи через первый радиоинтерфейс в случае, если начальная передача через второй радиоинтерфейс не была успешно принята.
Предпочтительно передача команды на передачу обслуживания включает в себя передачу через первый радиоинтерфейс команды, заключающей в себе параметры, относящиеся ко второму радиоинтерфейсу. Наиболее предпочтительно передача данной команды включает в себя передачу команды в соответствии со стандартом ГСМС, которая заключает в себе параметры, определенные в соответствии со стандартом IS-95, причем данные параметры включают длинный код IS-95.
Предпочтительно установление линии связи и прием данных в ответ на сигнал включает в себя установление линии связи и приема сигнала мобильной станцией с использованием одного ВЧ приемопередатчика на данной мобильной станции.
В предпочтительном варианте осуществления один из радиоинтерфейсов включает в себя интерфейс МДВР, а другой радиоинтерфейс включает в себя интерфейс МДКР, причем предпочтительно интерфейс МДВР включает в себя интерфейс ГСМС, и интерфейс МДКР конфигурирован для передачи сообщений сети ГСМС. Предпочтительно интерфейс МДКР основывается на стандарте IS-95.
Предпочтительно установление линии связи включает в себя использование одного уровня протокола управления радиоресурсами для управления первым радиоинтерфейсом, при этом передача обслуживания мобильной станции включает в себя использование одного уровня протокола управления радиоресурсами для управления вторым радиоинтерфейсом.
Кроме того, предпочтительно получение данных от мобильной станции включает в себя определение области перекрытия первого региона, обслуживаемого первым радиоинтерфейсом, и второго региона, обслуживаемого вторым радиоинтерфейсом, и мобильная станция активизируется для приема данных, когда данная мобильная станция находится в указанной области перекрытия.
В предпочтительном варианте осуществления первый радиоинтерфейс включает в себя интерфейс МДКР, при этом второй радиоинтерфейс включает в себя интерфейс ГСМС/МДВР, а прием данных от мобильной станции включает в себя стробирование передачи данной мобильной станции для прерывания линии связи МДКР для приема и декодирования сигнала ГСМС/МДВР. Предпочтительно стробирование передачи данной мобильной станции включает в себя прерывание сеанса связи МДКР на длительность одного кадра IS-95, причем прием данных включает в себя прием идентификатора второй базовой станции на основе декодирования каналов коррекции частоты ГСМС и синхронизации из сигнала мобильной станции.
В другом предпочтительном варианте осуществления первый радиоинтерфейс включает в себя интерфейс ГСМС/МДВР, второй радиоинтерфейс включает в себя интерфейс МДКР, а прием данных от мобильной станции включает в себя управление данной мобильной станцией для прерывания линии связи для приема и декодирования сигнала МДКР.
Предпочтительно прием данных включает в себя передачу информации о времени суток через интерфейс ГСМС/МДВР. Кроме того, предпочтительно передача информации о времени суток включает в себя широковещательную передачу информации о времени суток в пределах рассматриваемой системы с использованием услуги широковещательной передачи сотовой ячейки ГСМС, причем широковещательная передача информации о времени суток включает в себя прием времени суток и связанного с ним номера кадра ГСМС от приемопередатчика, осуществляющего связь с базовой станцией первого типа в системе. Предпочтительно мобильная станция декодирует канал синхронизации из сигнала МДКР для приема данного времени суток.
В качестве альтернативного или дополнительного варианта прием данных включает в себя передачу сообщения услуги широковещательной передачи сотовой ячейки ГСМС в мобильную станцию для инициирования в данной мобильной станции поиска сигнала от базовой станции второго типа. Предпочтительно передача сообщения услуги широковещательной передачи сотовой ячейки ГСМС в мобильную станцию включает в себя передачу данного сообщения для его приема мобильной станцией, когда последняя функционирует в выделенном режиме.
Предпочтительно получение данных от мобильной станции включает в себя прием идентификатора пилот-сигнала МДКР, декодированного мобильной станцией. Кроме того, предпочтительно предложенный способ включает в себя отображение второй базовой станции как базовой станции ГСМС для управления передачей обслуживания.
Предпочтительно управление мобильной станцией включает в себя управление данной мобильной станцией для приема сигнала МДКР в течение первого временного интервала МДВР и декодирования данного сигнала в течение следующего временного интервала МДВР во время сеанса связи с базовой станцией через интерфейс МДВР для формирования данных, которые должны быть приняты базовой станцией.
Далее в соответствии с предпочтительным вариантом осуществления настоящего изобретения предложен способ передачи информации о времени суток на мобильную станцию в беспроводной системе ГСМС, включающий
ввод информации о времени суток в систему;
широковещательную передачу данной информации на мобильные станции в пределах системы.
Предпочтительно беспроводная система связи ГСМС включает в себя систему широковещательной передачи сотовой ячейки, а широковещательная передача информации о времени суток включает в себя широковещательную передачу данной информации посредством системы широковещательной передачи сотовой ячейки. Предпочтительно широковещательная передача информации о времени суток включает в себя широковещательную передачу сообщения для его приема мобильной станцией, когда она функционирует в выделенном режиме.
Кроме того, предпочтительно широковещательная передача информации о времени суток включает в себя прием времени суток и связанного с ним номера кадра ГСМС от приемопередатчика, осуществляющего связь с системой, а предложенный способ включает в себя синхронизацию мобильной станции с передачей сигнала МДКР с использованием информации о времени суток.
В предпочтительном варианте осуществления данный способ включает в себя определение местоположения мобильной станции в ответ на передачу информации о времени суток на множество базовых станций в системе.
Предпочтительно ввод времени суток включает в себя установление вызова для передачи данных от приемопередатчика, на котором имеется информация о времени суток, в центр широковещательной передачи сотовой ячейки, причем предпочтительно установление вызова для передачи данных включает в себя прием информации о времени суток от службы ГСНОП. В качестве альтернативного варианта установление вызова для передачи данных включает в себя прием информации о времени суток от сотовой ячейки МДКР, связанной с системой ГСМС.
Далее в соответствии с предпочтительным вариантом осуществления настоящего изобретения в беспроводной системе мобильной связи ГСМС, которая включает в себя первую подсистему базовых станций и вторую подсистему базовых станций, причем по меньшей мере одна из этих подсистем функционирует в соответствии с радиоинтерфейсом МДКР, способ передачи обслуживания мобильной станции от первой подсистемы базовых станций во вторую подсистему базовых станций в системе включает:
отображение по меньшей мере одной из двух (первой или второй) подсистем, которая функционирует в соответствии с радиоинтерфейсом МДКР, как подсистемы ГСМС/МДВР;
установление линии связи между мобильной станцией и первой подсистемой базовых станций для приема мобильной станцией первого сигнала от первой подсистемы базовых станций;
прием данных от мобильной станции в ответ на второй сигнал, принятый данной мобильной станцией от второй подсистемы базовых станций без существенных прерываний линии связи с первой подсистемой базовых станций;
сравнение мощностей первого и второго сигналов в предположении, что и первая, и вторая подсистемы базовых станций являются подсистемами ГСМС/МДКР;
передачу обслуживания мобильной станции от первой подсистемы базовых станций во вторую подсистему базовых станций на основе результатов сравнения мощностей сигналов.
Предпочтительно отображение по меньшей мере одной из данных подсистем, которая функционирует в соответствии с радиоинтерфейсом МДКР, включает в себя назначение подсистеме частоты ГСМС и местоположения.
Кроме того, предпочтительно в системе установление линии связи и передача обслуживания мобильной станции включают в себя передачу сообщений между первой и второй подсистемами и центром коммутации мобильной связи через А-интерфейс ГСМС. Предпочтительно первая и вторая подсистемы базовых станций функционируют в соответствии с радиоинтерфейсом МДКР, причем передача обслуживания мобильной станции включает в себя передачу нового длинного кода IS-95 через А-интерфейс, практически не нарушая при этом протоколов А-интерфейса.
Предпочтительно прием данных от мобильной станции включает в себя использование весового коэффициента для второго сигнала, при этом сравнение мощностей сигналов включает в себя сравнение взвешенного сигнала, а использование весового коэффициента включает в себя передачу весового коэффициента на мобильную станцию, которая использует данный весовой коэффициент для второго сигнала. Предпочтительно использование весового коэффициента включает в себя варьирование данного коэффициента в соответствии с состоянием сети в системе.
Также в соответствии с предпочтительным вариантом осуществления настоящего изобретения предложено беспроводное устройство связи, предназначенное для использования в системе мобильной связи и включающее в себя:
базовую станцию первого типа, передающую и принимающую первый сигнал в соответствии с первым радиоинтерфейсом;
базовую станцию второго типа, передающую и принимающую второй сигнал в соответствии со вторым радиоинтерфейсом;
мобильную станцию, принимающую второй сигнал через второй радиоинтерфейс от базовой станции второго типа при сохранении линии связи с базовой станцией первого типа через первый радиоинтерфейс и передающую данные на базовую станцию первого типа в ответ на второй сигнал для передачи обслуживания данной мобильной станции от первой базовой станции ко второй базовой станции в ответ на переданные данные.
Предпочтительно данные, передаваемые мобильной станцией, включают в себя результат измерения мощности сигнала, так что на основе результата сравнения мощностей первого и второго сигналов осуществляется передача обслуживания мобильной станции. Предпочтительно для измерения мощности сигнала используется весовой коэффициент, причем данный весовой коэффициент варьируется в соответствии с состоянием сети в рассматриваемой системе. Предпочтительно значение данного весового коэффициента передается по линии связи на мобильную станцию, которая использует данный весовой коэффициент для измерения.
Кроме того, предпочтительно мобильная станция декодирует второй сигнал для определения идентификатора базовой станции второго типа.
Предпочтительно в системе базовая станция первого типа передает в мобильную станцию список частот мобильных станций второго типа, так что мобильная станция отыскивает в данном списке частоту для приема второго сигнала.
Предпочтительно базовая станция первого типа передает в мобильную станцию команду на передачу обслуживания, с помощью которой осуществляется передача обслуживания данной мобильной станции от первой базовой станции ко второй базовой станции. В предпочтительном варианте осуществления через второй радиоинтерфейс осуществляется начальная передача в ответ на команду на передачу обслуживания, и мобильная станция повторно устанавливает линию связи через первый радиоинтерфейс в случае, если начальная передача через второй радиоинтерфейс не была успешно принята.
Предпочтительно команда на передачу обслуживания заключает в себе параметры, относящиеся ко второму радиоинтерфейсу. Наиболее предпочтительно данная команда соответствует стандарту ГСМС и заключает в себе параметры, определенные в соответствии со стандартом IS-95, причем данные параметры включают в себя длинный код IS-95.
Кроме того, предпочтительно мобильная станция включает в себя один ВЧ приемопередатчик, осуществляющий связь как с базовыми станциями первого типа, так и с базовыми станциями второго типа.
В предпочтительном варианте осуществления один из двух (первый или второй) радиоинтерфейсов включает в себя интерфейс МДВР, а другой радиоинтерфейс включает в себя интерфейс МДКР, причем предпочтительно интерфейс МДВР включает в себя интерфейс ГСМС, и интерфейс МДВР конфигурирован для передачи сообщений сети ГСМС. Предпочтительно интерфейс МДКР основывается на стандарте IS-95. Кроме того, предпочтительно мобильная станция использует один уровень протокола управления радиоресурсами для совместного управления первым и вторым радиоинтерфейсами.
Предпочтительно базовая станция активирует мобильную станцию для приема второго сигнала через второй радиоинтерфейс, когда мобильная станция находится в области перекрытия первого региона, обслуживаемого первым радиоинтерфейсом, и второго региона, обслуживаемого вторым радиоинтерфейсом.
В предпочтительном варианте осуществления первый радиоинтерфейс включает в себя интерфейс МДКР, а второй радиоинтерфейс включает в себя интерфейс ГСМС/МДВР, и базовая станция первого типа стробирует передачу мобильной станции для прерывания линии связи для приема и декодирования сигнала ГСМС.
Предпочтительно мобильная станция прерывает данную линию связи на длительность одного кадра IS-95.
Кроме того, предпочтительно мобильная станция обрабатывает второй сигнал для декодирования каналов коррекции частоты ГСМС и синхронизации из сигнала.
В другом предпочтительном варианте осуществления первый радиоинтерфейс включает в себя интерфейс ГСМС/МДВР, второй радиоинтерфейс включает в себя интерфейс МДКР, а базовая станция первого типа управляет мобильной станцией для прерывания линии связи для приема и декодирования сигнала МДКР.
Предпочтительно базовая станция первого типа передает в мобильную станцию информацию о времени суток через интерфейс ГСМС/МДВР. Предпочтительно в системе предлагаемое устройство включает в себя центр широковещательной передачи сотовой ячейки ГСМС, который передает в пределах системы информацию о времени суток в мобильную станцию с использованием услуги широковещательной передачи сотовой ячейки ГСМС, причем центр широковещательной передачи сотовой ячейки получает информацию о времени суток и связанный с ней номер кадра ГСМС от приемопередатчика, осуществляющего связь с базовой станцией первого типа.
В качестве альтернативного или дополнительного варианта мобильная станция декодирует канал синхронизации из сигнала МДКР для получения времени суток.
Предпочтительно центр широковещательной передачи ГСМС сотовой ячейки передавал сообщение услуги широковещательной передачи сотовой ячейки в мобильную станцию для инициирования на ней поиска второго сигнала, причем данная мобильная станция принимает сообщение услуги широковещательной передачи сотовой ячейки при функционировании в выделенном режиме.
В качестве альтернативного или дополнительного варианта мобильная станция обрабатывает сигнал МДКР для идентификации пилот-сигнала МДКР.
Предпочтительно во время сеанса связи с базовой станцией через интерфейс МДВР мобильная станция принимает сигнал МДКР в течение первого временного интервала МДВР и обрабатывает данный сигнал в течение следующего временного интервала МДВР для формирования данных для передачи на базовую станцию.
Также в соответствии с предпочтительным вариантом осуществления настоящего изобретения предложено устройство передачи информации о времени суток на мобильную станцию в беспроводной системе связи ГСМС, включающей в себя центр широковещательной передачи сотовой ячейки, который осуществляет широковещательную передачу данной информации в мобильную станцию с использованием системы широковещательной передачи ГСМС.
Предпочтительно данное устройство включает в себя осуществляющий связь с системой приемопередатчик, который передает в центр широковещательной передачи сотовой ячейки время суток и связанный с ним номер кадра ГСМС, причем данный приемопередатчик устанавливает вызов для передачи данных в центр широковещательной передачи сотовой ячейки через систему для передачи времени суток и связанного с ним номера кадра.
Предпочтительно мобильная станция синхронизирована с передачей сигнала МДКР с использованием информации о времени суток.
Кроме того, предпочтительно мобильная станция принимает информацию от системы широковещательной передачи сотовой ячейки при функционировании в выделенном режиме.
Помимо этого, в соответствии с предпочтительным вариантом осуществления настоящего изобретения предложено устройство ввода информации о времени суток в контроллер связи в беспроводной системе связи, включающее в себя:
приемник тактового сигнала, получающий информацию о времени суток от источника тактовых сигналов;
радиоприемопередатчик, получающий информацию о времени суток от приемника тактовых сигналов и устанавливающий вызов передачи данных на контроллер связи через упомянутую систему для передачи на него упомянутой информации.
Предпочтительно контроллер связи включает в себя центр широковещательной передачи сотовой ячейки ГСМС, причем радиоприемопередатчик получает номер кадра ГСМС от базовой станции в системе и передает номер кадра в центр широковещательной передачи сотовой ячейки вместе с информацией о времени суток.
Предпочтительно приемник тактовых сигналов включает в себя радиоприемник для приема информации о времени суток из сотовой ячейки МДКР, причем радиоприемник входит в состав упомянутого радиоприемопередатчика.
В качестве альтернативного варианта приемник тактовых сигналов включает в себя устройство ГСНОП.
Дополнительно в соответствии с предпочтительным вариантом осуществления настоящего изобретения предложено устройство для беспроводной мобильной связи в системе связи ГСМС, включающее в себя:
мобильную станцию;
первую и вторую подсистемы базовых станций, передающие первый и второй сигналы на данную мобильную станцию, причем по меньшей мере один из этих сигналов является сигналом МДКР, и обе из подсистем отображаются в системе ГСМС как подсистемы базовых станций ГСМС,
при этом осуществляется передача обслуживания данной мобильной станции от первой подсистемы базовых станций во вторую подсистему базовых станций на основе результатов сравнения мощностей первого и второго сигналов, принятых мобильной станцией, в предположении что и первая, и вторая подсистемы базовых станций функционируют в соответствии с радиоинтерфейсом ГСМС/МДВР.
Предпочтительно подсистеме, передающей сигнал МДКР, назначается частота ГСМС и местоположение в упомянутой системе. Кроме того, предпочтительно, что в системе сообщения между первой и второй подсистемами базовых станций и центром коммутации мобильной связи передаются через А-интерфейс ГСМС, причем первый и второй сигналы включают в себя сигналы МДКР. Предпочтительно новый длинный код IS-95 передается через А-интерфейс из второй в первую подсистему для передачи обслуживания данной мобильной станции по существу без нарушений протоколов А-интерфейса.
Предпочтительно перед сравнением мощностей сигналов мобильная станция использует весовой коэффициент для второго сигнала.
В соответствии с предпочтительным вариантом осуществления настоящего изобретения дополнительно предложена мобильная станция для использования в беспроводной системе связи, включающей в себя базовые станции МДКР и МДВР, и состоящая из:
одного мобильного радиоприемопередатчика, который устанавливает связь с базовыми станциями МДКР и МДВР;
модемного устройства, которое кодирует сигналы для передачи их мобильным приемопередатчиком и декодирует принятые приемопередатчиком сигналы таким образом, что для связи с базовой станцией МДКР сигналы кодируются согласно стандарту МДКР, а для связи с базовой станцией МДВР – согласно стандарту МДВР.
Предпочтительно модемное устройство кодирует сигналы согласно протоколам уровня радиоинтерфейса ГСМС.
Кроме того, предпочтительно мобильная станция принимает и обрабатывает сигнал от одной из базовых станций МДКР или МДВР по существу без прерываний линии связи, существующей между данной мобильной станцией и другой базовой станцией из базовых станций МДКР или МДВР.
В соответствии с предпочтительным вариантом осуществления настоящего изобретения также предложен способ передачи сообщений во множество мобильных станций, функционирующих в выделенном режиме в беспроводной системе связи ГСМС, включающей в себя услугу широковещательной передачи сотовой ячейки. Данный способ включает в себя:
широковещательную передачу сообщений в мобильные станции посредством услуги широковещательной передачи сотовой ячейки;
прием сообщений мобильными станциями по существу без завершения выделенного режима работы мобильной станции.
Предпочтительно широковещательная передача сообщений включает в себя передачу информации о времени суток или в качестве альтернативного или дополнительного варианта широковещательную передачу сообщения запуска поиска.
В соответствии с предпочтительным вариантом осуществления настоящего изобретения дополнительно предложено устройство для беспроводной мобильной связи в системе связи ГСМС, включающее в себя:
центр широковещательной передачи сотовой ячейки, который осуществляет широковещательную передачу сообщений через систему широковещательной передачи сотовой ячейки;
мобильную станцию, которая во время сеанса связи в выделенном режиме принимает сообщения по существу без прекращения сеанса связи в выделенном режиме.
Предпочтительно центр широковещательной передачи сотовой ячейки осуществляет широковещательную передачу информации о времени суток или в качестве альтернативного или дополнительного варианта сообщения запуска поиска.
В соответствии с предпочтительным вариантом осуществления настоящего изобретения дополнительно предложена мобильная станция для использования в беспроводной системе связи, включающей в себя базовые станции МДКР и МДВР. Данная мобильная станция включает в себя:
по меньшей мере один мобильный радиоприемопередатчик, который осуществляет связь с базовыми станциями МДКР и МДВР;
модемное устройство, которое в соответствии со стеком протоколов связи обрабатывает сигналы, предназначенные для передачи по меньшей мере одним приемопередатчиком или принятые приемопередатчиком таким образом, что для связи с базовой станцией МДКР указанные сигналы кодируются согласно стандарту МДКР, а для связи с базовой станцией МДВР согласно стандарту МДВР, причем данный стек протоколов включает в себя один уровень протокола управления радиоресурсами, который управляет связью как с базовыми станциями МДКР, так и с базовыми станциями МДВР.
Предпочтительно уровень протокола управления радиоресурсами фактически выполняет все функции подуровня RR Уровня 3 радиоинтерфейса ГСМС.
Кроме того, предпочтительно уровень протокола управления радиоресурсами дополнительно управляет передачей обслуживания мобильной станции от одной базовой станции на другую.
Кроме того, в соответствии с предпочтительным вариантом осуществления настоящего изобретения в мобильной системе связи ГСМС, включающей в себя подсистемы базовых станций, по меньшей мере часть из которых функционируют в соответствии с радиоинтерфейсом МДКР, предложен способ управления осуществлением связи мобильной станции с подсистемами базовых станций в системе, включающий:
передачу и прием сигналов между мобильной станцией и одной из подсистем базовых станций посредством радиоинтерфейса МДКР;
управление передачей и приемом с помощью уровня протокола управления радиоресурсами, который по существу выполняет все функции подуровня RR Уровня 3 радиоинтерфейса ГСМС.
Предпочтительно система дополнительно включает в себя подсистемы базовых станций, которые функционируют в соответствии с радиоинтерфейсом МДВР, причем данный способ включает:
передачу и прием сигналов между мобильной станцией и одной из подсистем базовых станций через радиоинтерфейс МДВР;
причем управление передачей и приемом включает в себя использование одного уровня протокола управления радиоресурсами, служащего для управления передачей и приемом сигналов как через радиоинтерфейс МДКР, так и через радиоинтерфейс МДВР.
Кроме того, предпочтительно предложенный способ включает в себя передачу обслуживания мобильной станции между базовыми станциями МДВР и МДКР, причем управление передачей обслуживания осуществляется посредством уровня протокола управления ресурсами радиосвязи.
В качестве одного из аспектов данного изобретения предложен способ межсистемной передачи обслуживания сеанса связи между мобильной станцией и по меньшей мере одной базовой станцией первой беспроводной системы связи на мобильную станцию и по меньшей мере одну базовую станцию второй беспроводной системы связи. Способ предпочтительно включает этап передачи сообщения от мобильной станции по меньшей мере к одной базовой станции первой беспроводной системы связи, причем это сообщение включает в себя информацию о временных характеристиках по меньшей мере одной базовой станции второй беспроводной системы связи, и определение относительных временных характеристик между по меньшей мере одной базовой станцией первой беспроводной системы связи и по меньшей мере одной базовой станцией второй беспроводной системы связи.
В другом аспекте данного изобретения предложен способ выполнения межсистемной передачи обслуживания сеанса связи между мобильной станцией и по меньшей мере одной базовой станцией первой беспроводной системы связи на мобильную станцию и по меньшей мере одну базовую станцию второй беспроводной системы связи. Способ предпочтительно включает передачу сообщения по меньшей мере от одной базовой станции первой беспроводной системы связи в мобильную станцию, причем это сообщение содержит информацию о временных характеристиках по меньшей мере одной базовой станции второй беспроводной системы связи, и использование переданной информации о временных характеристиках для выполнения межсистемной передачи обслуживания сеанса связи между мобильной станцией и по меньшей мере одной базовой станцией первой беспроводной системы связи на мобильную станцию и по меньшей мере одну базовую станцию второй беспроводной системы связи.
Настоящее изобретение поясняется в последующем подробном описании предпочтительных вариантов его осуществления, иллюстрируемом чертежами.
КРАТКОЕ ОПИСАНИЕ ЧЕРТЕЖЕЙ
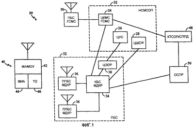
Фиг.1 – блок-схема гибридной системы связи ГСМС/МДКР, соответствующей предпочтительному варианту осуществления настоящего изобретения.
Фиг.2а – блок-схема соответствующих предпочтительному варианту осуществления настоящего изобретения протоколов связи между мобильной станцией и подсистемами базовых станций в системе по Фиг.1.
Фиг.2б – блок-схема соответствующей предпочтительному варианту осуществления настоящего изобретения гибридной мобильной станции ГСМС/МДКР.
Фиг.3а и 3б – диаграммы соответствующих предпочтительному варианту осуществления настоящего изобретения стеков протоколов связи между элементами по Фиг.1.
Фиг.4а – блок-схема соответствующей предпочтительному варианту осуществления настоящего изобретения передачи обслуживания мобильной станции от базовой станции МДКР базовой станции ГСМС в системе по Фиг.1.
Фиг.4б – диаграмма соответствующего предпочтительному варианту осуществления настоящего изобретения потока сигналов, связанного с передачей обслуживания по Фиг.4а.
Фиг.4в и 4г – блок-схемы, схематически иллюстрирующие кадры связи, которые мобильная станция в соответствии с предпочтительным вариантом осуществления настоящего изобретения использует для выполнения передачи обслуживания по Фиг.4а.
Фиг.5а и 5б – блок-схемы, схематически иллюстрирующие функционирование мобильной станции при выполнении передачи обслуживания по Фиг.4а в соответствии с предпочтительным вариантом осуществления настоящего изобретения.
Фиг.6а и 6б – блок-схемы, схематически иллюстрирующие функционирование базовой станции МДКР при выполнении передачи обслуживания по Фиг.4а в соответствии с предпочтительным вариантом осуществления настоящего изобретения.
Фиг.7 – блок-схема, иллюстрирующая соответствующий предпочтительному варианту осуществления настоящего изобретения поток сигналов, связанный с предоставлением информации о времени суток в системе по Фиг.1.
Фиг.8 – схематическая иллюстрация сотовых ячеек в гибридной системе сотовой связи ГСМС/МДКР, поясняющая способ передачи обслуживания мобильной станции от базовой станции ГСМС к базовой станции МДКР в соответствии с предпочтительным вариантом осуществления настоящего изобретения.
Фиг.9 – блок-схема, иллюстрирующая соответствующий предпочтительному варианту осуществления настоящего изобретения поток сигналов, связанный с передачей обслуживания мобильной станции от базовой станции ГСМС к базовой станции МДКР.
Фиг.10а и 10б – блок-схемы, схематически иллюстрирующие функционирование мобильной станции при выполнении передачи обслуживания по Фиг.8 в соответствии с предпочтительным вариантом осуществления настоящего изобретения.
Фиг.11 – блок-схема, схематически иллюстрирующая функционирование базовой станции МДКР при выполнении передачи обслуживания по Фиг.8 в соответствии с предпочтительным вариантом осуществления настоящего изобретения.
Фиг.12 – блок-схема, иллюстрирующая соответствующую предпочтительному варианту осуществления настоящего изобретения передачу обслуживания мобильной станции между базовыми станциями МДКР в гибридной системе сотовой связи ГСМС/МДКР.
Фиг.13 – схематичное представление соответствующего предпочтительному варианту осуществления настоящего изобретения потока сигналов, связанного с передачей обслуживания по Фиг.12.
Фиг.14а-14г – блок-схемы, иллюстрирующие длинные коды МДКР, которые в соответствии с предпочтительным вариантом осуществления настоящего изобретения распределяются для процедуры передачи обслуживания по Фиг.12.
Фиг.15 – блок-схема процесса, происходящего в случае, когда базовой станции с множеством несущих требуется определить, следует ли осуществить передачу обслуживания на базовую станцию ГСМС.
Фиг.16 – блок-схема процесса, происходящего в случае, когда базовой станции с множеством несущих требуется определить, следует ли осуществить передачу обслуживания на базовую станцию с расширением спектра прямой модуляцией последовательностью.
ПОДРОБНОЕ ОПИСАНИЕ ПРЕДПОЧТИТЕЛЬНЫХ ВАРИАНТОВ ОСУЩЕСТВЛЕНИЯ
Описание функционирования гибридной системы ГСМС/МДКР
На Фиг.1 представлена блок-схема гибридной системы 20 сотовой связи ГСМС/МДКР, соответствующей предпочтительному варианту осуществления настоящего изобретения. Система 20 построена на основе наземной сети 22 мобильной связи общего пользования (НСМСОП), которая, как описано выше, основывается на стандарте связи ГСМС. Во многих странах уже имеется и широко используется необходимая для таких сетей инфраструктура, а настоящее изобретение обладает тем преимуществом, что позволяет обеспечить постепенное развертывание служб МДКР на базе подобных сетей и не требует серьезных изменений в существующей инфраструктуре. НСМСОП 22 содержит по меньшей мере один центр 24 коммутации мобильной связи (ЦКМС) или, возможно, ряд таких центров (хотя для наглядности показан только один ЦКМС), которые управляют функционированием сети в некоторой географической области. Помимо других функций ЦКМС 24 обеспечивает регистрацию местоположения абонентских устройств, передачу обслуживания абонентских устройств между базовыми станциями, а также связь НСМСОП 22 с коммутируемой телефонной сетью общего пользования (КТСОП) и/или сетью 48 пакетной передачи данных (СППД). НСМСОП также включает в себя центр 26 управления сетью (ЦУС) и центр 28 широковещательной передачи сотовой ячейки (ЦШСЯ). Ниже эти функции рассматриваются более подробно.
Система 20 включает в себя множество мобильных станций 40 (МС), которые осуществляют связь с НСМСОП 22 посредством множества подсистем 30 и 32 базовых станций (ПБС) по беспроводным высокочастотным (ВЧ) каналам связи на одной или более частотах, принятых для использования в сотовой связи. МС 40, которую также называют абонентским устройством, может осуществлять связь как с ПБС 30 ГСМС, используя стандартный протокол ГСМС МДВР обмена сигналами, так и с ПБС 32 МДКР, используя рассмотренные ниже способы связи, основанные на МДКР. Кроме того, хотя в стандартных системах ГСМС мобильные станции обычно могут принимать широковещательную передачу от ЦШСЯ 28 только в режиме ожидания, МС 40 способна принимать такую широковещательную передачу во время вызова через ПБС 30, как описано ниже. Хотя на Фиг.1 показаны только по одной из МС 40, ПБС 30 ГСМС и ПБС 32 МДКР, очевидно, что система 20 обычно содержит множество указанных элементов системы.
Как ПБС 30 ГСМС, так и ПБС 32 МДКР осуществляют связь с ЦКМС 24 и находятся под его управлением. Связь между ПБС 30 ГСМС и ЦКМС 24 осуществляется согласно стандартам ГСМС. ПБС 32 МДКР модифицирована по отношению к стандарту IS-95 МДКР таким образом, чтобы иметь возможность осуществлять связь с НСМСОП 22 в соответствии со стандартами ГСМС и, в частности, чтобы осуществлять связь с ЦКМС 24 через А-интерфейс стандарта ГСМС, как описано ниже со ссылками на Фиг.3а и 3б. ПБС 32 также осуществляет связь с ЦШСЯ 28 для приема сообщений и их широковещательной передачи по каналу радиосвязи, и включает в себя центр 38 эксплуатации и обслуживания радиооборудования (ЦЭОР). ЦЭОР сообщается с ЦУС 26 через интерфейс Q3 стандарта ГСМС, предпочтительно с использованием информационной модели, основанной на группе спецификаций 12.XX ГСМС, которые включаются в настоящий документ посредством ссылки. В качестве дополнительного варианта ПБС 32 можно связать с общей службой 50 пакетной радиопередачи (ОСПР), подобной той, которая была предложена Европейским Институтом Стандартизации по Телекоммуникациям (ЕИСТ). В качестве альтернативного или дополнительного варианта для обеспечения передачи пакетных данных ПБС 32 можно непосредственно соединить с КТСОП/СППД 48 (в целях упрощения изложения на Фиг.1 подобное соединение не показано), предпочтительно с помощью канала связи с Интернет.
Связь между ПБС 32 МДКР и МС 40 построена на базе “радиоинтерфейса” МДКР, причем он предпочтительно соответствует стандарту IS-95 связи МДКР. ПБС 32 строится на основе контроллера 34 базовых станций (КБС), который осуществляет управление и осуществляет связь с рядом приемопередающих базовых станций (ППБС) 36. Каждая ППБС передает ВЧ сигналы к МС 40 и принимает ВЧ сигналы от МС 40 при ее нахождении в пределах географической области или сотовой ячейки, обслуживаемой данной конкретной ППБС. Если в процессе телефонного вызова МС перемещается из одной сотовой ячейки некоторой ППБС 36 МДКР в другую, то, как это принято в технологии МДКР, между ППБС выполняется гибкая передача обслуживания.
Однако в системе 20 могут существовать такие регионы обслуживания, в которых отсутствует радиопокрытие МДКР (то есть в таких областях отсутствуют ППБС 36 МДКР) либо это радиопокрытие ослаблено или перегружено. Если в процессе телефонного вызова МС 40 перемещается в такой регион, то осуществляется передача обслуживания этой МС от ППБС МДКР на ППБС, связанную с ПБС 30 ГСМС, без прерывания вызова. Аналогично, если в процессе телефонного вызова МС 40 перемещается из региона, обслуживаемого только ПБС 30 ГСМС, в сотовую ячейку ППБС 36 МДКР, то предпочтительно осуществляется передача обслуживания этой МС от ППБС ГСМС на ППБС МДКР. Способы передачи обслуживания от услуг МДКР к услугам ГСМС/МДВР и наоборот, равно как и от одной ПБС 32 МДКР к другой, подробно описаны ниже. В силу указанных способов и архитектуры системы 20 по Фиг.1 МС 40 пользуется преимуществами услуг МДКР в тех регионах обслуживания системы 20, в которых данные услуги реализованы, при сохранении обслуживания в регионах МДВР. Переходы между регионами МДКР и МДВР выполняются практически прозрачно для пользователей МС 40, так как на уровне системы поддерживаются высокоуровневые сетевые протоколы ГСМС, и только низкоуровневый ВЧ радиоинтерфейс меняется в процессе перехода.
На Фиг.2а приведена блок-схема, которая схематически иллюстрирует соответствующий предпочтительному варианту осуществления настоящего изобретения стек протоколов связи между МС 40 и ПБС 30 и 32. МС 40 осуществляет связь с ПБС 30 ГСМС через интерфейс Um ГСМС, который основывается на стандартном радиоинтерфейсе МДВР, так что для связи с МС 40 модификация ПБС 30 или протоколов стандартных интерфейсов ГСМС Уровня 1 и Уровня 2 фактически не требуется. МС 40 осуществляет связь с ПБС 32 МДКР через интерфейс Um МДКР, который основывается на радиоинтерфейсе IS-95 МДКР с некоторыми модификациями. Имеющиеся на настоящем уровне техники абонентские устройства могут функционировать либо через интерфейс Um ГСМС, либо через интерфейс Um МДКР, но не через оба интерфейса одновременно.
Чтобы обеспечить поддержку обоих указанных интерфейсов, МС 40 включает в себя мобильную аппаратуру (МА) 42 по Фиг.1, которая должна включать в себя либо два радиоприемопередатчика, один из которых конфигурирован для работы в режиме МДВР, а другой – для МДКР, либо один приемопередатчик, который может динамически переключаться между режимами МДВР и МДКР. МА содержит мобильное оконечное устройство (МОУ), который поддерживает терминальное оборудование 46 (ТО) для ввода/вывода речи и/или данных. Кроме того, в соответствии со стандартами ГСМС, МС 40 содержит модуль 44 идентификации абонента (МИА).
На Фиг.2б представлена блок-схема, на которой показана соответствующая предпочтительному варианту осуществления настоящего изобретения МС 40, содержащая в составе МО 42 один радиоприемопередатчик. МС 40 построена на базе модемного устройства 59, включающего ядро 60 цифрового сигнального процессора (ЦСП), которое способно формировать и обрабатывать как сигналы МДВР, так и сигналы МДКР. Предпочтительно ядро 60 содержит специализированную интегральную схему (СИС), включающую в себя блок автономной обработки передачи/приема МДКР, который дополняется устройством 64 определения временных характеристик ГСМС и аппаратным ускорителем (или ЦСП) 62 ГСМС. Кроме того, ядро 60 имеет порт для подключения МИА 44. Ядро 60 принимает входные данные и выдает выходные данные на ТО 46. В этом случае ТО 46 представляет собой звуковой микрофон и громкоговоритель, а ядро 60 выполняет цифроаналоговое и аналогово-цифровое преобразование, а также известные в данной области техники функции кодирования речевых сигналов. В зависимости от того, в контакте с какой ПБС – ПБС 30 ГСМС или ПБС 32 МДКР – находится МС 40, применяется либо ГСМС-, либо МДКР-кодирование речевых сигналов. В качестве альтернативного или дополнительного варианта ядро 60 может конфигурироваться для работы с ТО 46 в режиме ввода/вывода цифровых данных, например, для факсимильного устройства.
Ядро 60 выдает цифровые данные в формате МДВР или МДКР на устройство 66 вывода сигнала смешанного типа. Устройство 66 обрабатывает и преобразует данные в форму аналогового сигнала полосы модулирующих частот для их последующего ввода в ВЧ передатчик 68. В зависимости от режима антенный коммутатор 70 через антенну передает результирующие ВЧ сигналы на базовую станцию ГСМС или МДВР. Принимаемые от базовой станции сигналы пропускаются антенным коммутатором 70 через ВЧ приемник 72 и устройство 74 ввода сигнала смешанного типа, выполняющее преобразование сигнала к полосе частот модулирующих сигналов и автоматическую регулировку усиления (АРУ), на ядро 60. Предпочтительно передатчик 68, приемник 72 и устройства 66 вывода и 74 ввода сигналов смешанного типа находятся под управлением ядра 60.
В целях обеспечения совместимости с существующим оборудованием ГСМС, в особенности с ПБС 30, предпочтительно МС 40 осуществляет ВЧ передачу и прием в полосе частот ГСМС 900 и 1800 МГц. Если предположить, что МС 40 включает в себя только один функционирующий в полосе частот ГСМС приемопередатчик по Фиг.2б, то оборудование МДКР в системе 20 также должно надлежащим образом конфигурироваться для функционирования в этом частотном диапазоне.
В соответствии с Фиг.2а, независимо от того, содержит МС 40 один или два приемопередатчика, для обеспечения ее функционирования с ПБС 30 ГСМС и ПБС 32 МДКР стек протоколов МС должен поддерживать два уровня (Уровни 1 и 2, соответственно) радиоинтерфейса. Радиоинтерфейс МДКР между МС 40 и ПБС 32 МДКР включает в себя Уровень 1 МДКР, функционирующий по протоколу стандарта IS-95, и Уровень 2 ГСМС-МДКР, в котором режим IS-95 модифицирован в целях соответствия нуждам сетевых услуг ГСМС. Уровень 2 ГСМС-МДКР включает в себя такие функциональные возможности, как упорядочивание сообщений, управление приоритетами и фрагментация, приостановление и возобновление сеансов связи, то есть обычные функциональные возможности стандартного Уровня 2 ГСМС, но не МДКР IS-95. Для связи с ПБС 30 ГСМС Уровни 1 и 2 радиоинтерфейса соответствуют стандартам ГСМС и фактически не требуют модификации.
Стандартные протоколы ГСМС включают в себя третий уровень радиоинтерфейса (УРИЗ) – более высокий, чем Уровень 1 и Уровень 2 ГСМС, – который включает в себя три подуровня. Самый нижний из этих трех подуровней УРИ3 – это подуровень управления радиоресурсами (РР), который поддерживает вышестоящие подуровни мобильного управления (МУ) и управления соединениями (УС). Подуровни УРИЗ в ПБС 30 ГСМС фактически не отличаются от стандарта ГСМС, равно как и подуровни МУ и УС ГСМС в МС 40. Подуровень УС обеспечивает обмен сигналами в целях обработки вызовов, а также вспомогательные услуги ГСМС и услугу коротких сообщений (СКС). Подуровень МУ обеспечивает обмен сигналами, необходимый для определения местоположения МС 40, авторизации и управления ключами шифрования.
Для поддержки подуровней МУ и УС в стеки протоколов МС 40 и ПБС 32 добавлен подуровень РР ГСМС-МДКР, обеспечивающий управление радиоресурсами и поддержание линий связи между МС 40 и ПБС 30 и 32. Подуровень РР ГСМС-МДКР “имеет представление” о существовании в стеке протоколов МС 40 более низких двойных уровней (Уровня 1 и Уровня 2) ГСМС и МДКР. Для связи со стандартным подуровнем УРИ3-РР ПБС 30 через интерфейс Um ГСМС или с подуровнем РР ГСМС-МДКР ПБС 32 через интерфейс Um МДКР на основе инструкций, получаемых от той ПБС, с которой в данный момент рассматриваемый подуровень осуществляет связь, он активирует соответствующие нижние уровни из стека протоколов МС. Подуровни МУ и УС не обрабатываются ПБС 32, а наоборот, ретранслируются между МС 40 и ЦКМС 24 для обработки способом, который оказывается прозрачным для нижележащих уровней радиоинтерфейса МДКР. Подуровень РР из стека протоколов МС также управляет передачей обслуживания между соответствующими радиоинтерфейсами, определенными в Уровнях 1 и 2, и способствует в выборе сотовой ячейки для передачи обслуживания согласно инструкциям, поступающим от ЦКМС 24 и ПБС.
Независимо от того, какой из радиоинтерфейсов используется, подуровень РР ГСМС-МДКР поддерживает вышестоящие стандартные подуровни УРИ3-МУ и УС ГСМС. Предпочтительно подуровень РР полностью обеспечивает функциональные возможности в части управления радиоресурсами согласно спецификациям 04.07 и 04.08 ГСМС, которые включены в настоящий документ посредством ссылок. Хотя уровень “РР” как таковой и не определяется в стандарте IS-95 МДКР, описанный в настоящем документе подуровень РР ГСМС-МДКР также обеспечивает полные функциональные возможности в плане управления радиоресурсами IS-95.
Согласно стандартам ГСМС функциональные возможности подуровня РР включают в себя как функционирование в режиме ожидания, так и выполнение операций выделенного режима (то есть операций, выполняющихся во время телефонного разговора). Функционирование подуровня РР в режиме ожидания включает в себя автоматический выбор сотовой ячейки и передачу обслуживания в режиме ожидания между сотовыми ячейками ГСМС и МДКР, а также между парами сотовых ячеек МДКР или парами сотовых ячеек ГСМС, с одновременной индикацией смены сотовых ячеек в соответствии со стандартом ГСМС. В режиме ожидания подуровень РР также осуществляет обработку канала широковещательной передачи в соответствии со стандартами ГСМС и МДКР и установление соединений РР.
В выделенном режиме подуровень РР реализует следующие услуги:
– услуги маршрутизации, запрос услуг, передача сообщений, а также, фактически, все другие функции, определенные в стандарте ГСМС;
– смену выделенных каналов (передачу обслуживания), включая жесткую передачу обслуживания, согласно нижеследующему описанию, а также гибкую и “более гибкую” передачи обслуживания МДКР-МДКР;
– установка режимов для канала РР, включая режим передачи, тип канала и режим кодирования/декодирования/перекодирования;
– управление параметрами МС на основе спецификаций IS-95;
– управление кодом класса услуг МС на основе спецификаций ГСМС.
Для специалиста в данной области очевидно, что приведенные выше отличительные признаки подуровня РР перечислены конспективно, а дополнительные детали и свойства можно добавить, исходя из опубликованных спецификаций ГСМС и МДКР.
На Фиг.3а приведена блок-схема, которая схематически иллюстрирует стеки протоколов, используемые в интерфейсах обмена сигналами между МС 40, ПБС 32 МДКР и ГСМС ПБС 24 в соответствии с предпочтительным вариантом осуществления настоящего изобретения. Эти интерфейсы обеспечивают связь МС 40 с ЦКМС 24 ГСМС через радиоинтерфейс МДКР. Функционирование указанных интерфейсов и, в частности, поток сообщений через эти интерфейсы более подробно описаны в упоминавшейся ранее заявке PCT/US96/20764, включенной в настоящий документ посредством ссылки. Если МС 40 сообщается с ЦКМС 24 через ПБС 20 ГСМС, то стек протоколов соответствует стандартам ГСМС фактически без каких-либо модификаций.
Как уже упоминалось выше, МС 40 обменивается сигналами с ПБС 32 МДКР через интерфейс Um МДКР, причем стеки протоколов МС и ПБС модифицированы для включения подуровня РР ГСМС-МДКР и Уровня 2. На Фиг.3а ретрансляционный уровень, служащий для передачи сигналов УРИ3-РР и УМ между МС 40 и ЦКМС 24 в основном без их обработки со стороны ПБС 32, показан явно в составе стека протоколов ПБС 32. Остальные уровни, применяющиеся в интерфейсе Um, описаны выше со ссылкой на Фиг.2а.
ПБС 32 МДКР осуществляет связь с ЦКМС 24 ГСМС посредством стандартного немодифицированного А-интерфейса ГСМС. Этот интерфейс основывается на протоколах SS7 ГСМС и протоколах раздела приложений ПБС (ПРП-ПБС), которые хорошо известны в данной области техники, при этом они предпочтительно соответствуют стандарту ГСМС 08.08. ПРП-ПБС обеспечивает выполнение таких процедур между ЦКМС 24 и ПБС 32, для которых требуется интерпретация и обработка информации, относящейся к отдельным вызовам и управлению ресурсами, а также обмен сообщениями управления вызовами и управления мобильностью между ЦКМС 24 и МС 40. Для передачи в ЦКМС 24 ПБС 32 выполняет трансляцию Уровня 1 МДКР, Уровня 2 ГСМС-МДКР и протоколов РР, по которым ПБС и МС 40 обмениваются данными, в соответствующие протоколы SS7 и ПРП-ПБС, и обратно.
Так как КБС 34 МДКР осуществляет связь с ЦКМС 24 ГСМС с использованием стандартного А-интерфейса, то для того, чтобы сделать возможным добавление ПБС 32 МДКР в систему 20 ГСМС, модификация ядра ЦКМС ГСМС фактически не требуется. Более того, для ЦКМС 24 вообще нет необходимости иметь представление о наличии разницы между ПБС 30 ГСМС/МДВР и ПБС 32 МДКР, так как каждая из них осуществляет связь с ЦКМС одинаковым образом посредством А-интерфейса. Сотовые ячейки, связанные со станциями ППБС 36 из состава ПБС 32, предпочтительно отображаются таким же образом, что и сотовые ячейки ГСМС/МДВР, и, как следствие, им в соответствии со стандартом ГСМС присваиваются абсолютные номера высокочастотных каналов (АНВЧК) ГСМС и идентификационные коды базовых станций (ИКБС). С точки зрения ЦКМС 24 передача обслуживания между ПБС 30 ГСМС и ПБС 32 МДКР или даже между двумя различными ПБС МДКР ничем не отличается от передачи обслуживания между двумя ПБС ГСМС в обычной системе ГСМС/МДВР. ИКБС для сотовых ячеек МДКР назначается таким образом, чтобы они были отличимы от обычных сотовых ячеек ГСМС в рассматриваемой системе 20.
На Фиг.3б приведена блок-схема, которая схематически иллюстрирует стеки протоколов, применяемые в соответствии с предпочтительным вариантом осуществления настоящего изобретения при передаче речевых данных между МС 40 и ЦКМС 24 через ПБС 32 МДКР. Речевые данные, передаваемые между МС 40 и ПБС 32, кодируются и декодируются вокодером МДКР, который может включать в себя любой из известных в данной области техники протоколов кодирования речевых данных стандарта IS-95. Согласно требованиям стандарта на А-интерфейс ПБС 32 транслирует Уровень 1 МДКР в МДВР-сигналы Е1 ГСМС и преобразует кодированные речевые данные МДКР в компандированные по А-закону речевые данные с импульсно-кодовой модуляцией (ИКМ). Таким образом, ЦКМС 24 передает и принимает речевые данные от МС 40 через ПБС 32 без учета того факта, что данные, передаваемые между МС 40 и ПБС 32, кодированы согласно МДКР, как если бы МС 40 функционировала в режиме ГСМС/МДВР.
Передача обслуживания от базовой станции МДКР к базовой станции МДВР
На Фиг.4а приведена блок-схема, схематически иллюстрирующая подробности функционирования системы 20 для пояснения способа выполнения соответствующей предпочтительному варианту осуществления настоящего изобретения передачи обслуживания МС 40 от ПЕС 32 МДКР на ПБС 30 ГСМС с участием данной мобильной станции. В отличие от Фиг.1 здесь приведено подробное устройство ПБС 30 и показаны содержащиеся в ней КБС 77 и множество ППБС 78 и 80. На Фиг.4а изображена передача обслуживания МС 40 от одной из ППБС, связанной с ПБС 32 и обозначенной здесь как ППБС 76, на ППБС 78, связанную с ПБС 30. ПБС 32 также включает в себя КБС 34 ГСМС-МДКР и ППБС 36, как это уже отмечалось со ссылкой на Фиг.1.
Предпочтительным образом передача обслуживания от ППБС 76 МДКР на ППБС 78 МДВР инициируется ПБС 32 в момент, когда она устанавливает, что МС 40 находится в местоположении, предпочтительном для передачи обслуживания. Подобная ситуация может возникнуть в случае, если принимаемый от ППБС 76 сигнал слаб или известно, что МС 40 приближается к границе области покрытия МДКР, или в случае высокой загруженности каналов МДКР. В качестве альтернативного варианта независимо от наличия реальной необходимости этого действия ПБС 32 может время от времени предписывать МС 40 выполнить поиск сигнала от ППБС 78 (или других ППБС ГСМС).
На Фиг.4б приведена диаграмма соответствующего предпочтительному варианту осуществления настоящего изобретения потока сигналов между МС 40, ПБС 30, ПБС 32 и ЦКМС 24 в процессе выполнения передачи обслуживания по Фиг.4а. КБС 34 предписывает МС 40 начать стробированный поиск близлежащих ГСМС ППБС, в процессе которого МС 40 кратковременно прерывает связь с ППБС 78 для поиска и приема сигналов МДВР. Предпочтительно МС 40 функционирует в соответствии со стандартом IS-95, который позволяет приостанавливать передачу МДКР на длительностью кадра, равную 20 мс, в течение которой можно выполнить сканирование соседних базовых станций МДВР ГСМС без существенного прерывания сеанса речевой связи МДКР. Наиболее предпочтительно, что передача, осуществляемая МС 40, приостанавливается на протяжении кадра длительностью 20 мс с использованием механизма активации/деактивации, определенного в Разделе 6.6.6.2.8 стандарта IS-95B. В качестве альтернативного варианта подобные периоды пассивности можно также реализовать в рамках других стандартов МДКР. В качестве дополнительного альтернативного варианта МС 40 может включать в себя раздельные приемопередатчики МДВР и МДКР, которые можно одновременно использовать для достижения указанной цели.
Предпочтительно КБС 34 предоставляет МС 40 список частот соседних сотовых ячеек ГСМС МДВР, например сотовых ячеек, относящихся к ППБС 78 и ППБС 80. Подобный список оказывается полезным для сокращения времени, необходимого для выполнения поиска и обнаружения ППБС 78, поскольку тогда МС 40 будет сканировать только частоты сотовых ячеек из списка. Список обновляется по мере перемещения МС 40 от одной соты к другой и сохраняется в процессе передачи обслуживания между базовыми станциями МДВР и МДКР.
Если МС 40 принимает сигнал на частоте ППБС 78, то она осуществляет попытку декодировать канал коррекции частоты ГСМС (КнКЧ) и канал синхронизации (КнС) из принятого сигнала. Для выполнения такого декодирования может потребоваться несколько периодов пассивности МДКР в режиме стробированной передачи. После успешного завершения декодирования МС 40 определяет уровень мощности МДВР и сообщает его на ПБС 32 совместно с идентификатором сотовой ячейки ГСМС. Для того чтобы определить уровень мощности и уменьшить влияние перемещения МС и замирания в каналах, МС 40 предпочтительно усредняет мощность сигнала по некоторому периоду. Предпочтительно определение уровня мощности сигнала МДВР и выдача сообщения о результате продолжаются непрерывно с того момента, как МС 40 получает команду на выполнение этой операции.
В соответствии со стандартами ГСМС отслеживаемый МС 40 уровень мощности для каждой из сотовых ячеек следует определять по меньшей мере раз в 5 с, а соответствующий КнС следует декодировать по меньшей мере раз в 30 с. Уровни мощности следует определять для всех сотовых ячеек из списка близлежащих сотовых ячеек, предоставленного ПБС 32. Предпочтительно МС декодирует КнС и выдает сообщение об уровне мощности только для тех сотовых ячеек, для которых принимается наилучший сигнал. Наиболее предпочтительно МС выдает сообщение на ПБС 32 только в том случае, если с момента последнего сообщения имело место изменение в измеренном уровне мощности или какое-либо другое значительное изменение в качестве сигналов, которые МС принимает из отслеживаемых ею сотовых ячеек.
Исходя из данной информации ПБС определяет, требуется ли передача обслуживания, и если да, то когда следует ее выполнить. В подходящий момент времени ПБС 32 посылает в ЦКМС 24 запрос на передачу обслуживания. ЦКМС передает запрос на передачу обслуживания на ПБС 30 ГСМС, которая подтверждает его получение. Затем ПБС 30 ГСМС через ЦКМС 24 и ПБС 32 МДКР передает на МС 40 команду РР на передачу обслуживания, после чего между МС и ПБС 30 устанавливается новый канал трафика (КнТ). В этот момент передача обслуживания считается завершенной, и МС 40 переключается на ППБС 78. В соответствии со стандартами ГСМС на обмен сообщениями ЦКМС 24 уведомляется об успешном выполнении передачи обслуживания, вслед за этим ЦКМС выдает соответствующую команду “отбой” на ПБС 32 МДКР, которая, в свою очередь, отправляет в ответ сообщение “отбой завершен”.
Предпочтительно новый канал трафика устанавливается в режиме несинхронизированной передачи обслуживания в соответствии с принятыми способами выполнения передачи обслуживания ГСМС, а ПБС 30 ГСМС конфигурируется для приема такой передачи обслуживания. Предпочтительно МС 40 отвечает на команду РР передачи обслуживания посредством пакета доступа к передаче обслуживания по основному выделенному каналу управления (ВКнУ) ПБС 30 ГСМС, как указанно в команде передачи обслуживания. Затем для завершения передачи обслуживания данная МС ожидает от ПБС 30 получения по КнТ соответствующего физического информационного сообщения в соответствии со стандартом ГСМС 04.08. Если физическая информация в течение заранее заданного периода времени (предпочтительно, в пределах 320 мс, что согласуется таймером Т3124 по стандарту IS-95) не получена, то МС выполняет попытку восстановить соединение с ПБС 32 МДКР.
Решение об инициировании передачи обслуживания может приниматься всякий раз, когда сигнал от ППБС 78 ГСМС становится сильнее сигнала от ППБС 76 МДКР, но более предпочтительным оказывается применение других критериев. Например, так как в сравнении с каналами ГСМС каналы МДКР обычно обеспечивают более высокое качество передачи, то предпочтительно передача обслуживания инициируется только в тех случаях, когда сигнал ГСМС оказывается сильнее сигнала МДКР на некоторый заранее заданный весовой коэффициент. Указанный коэффициент может быть запрограммирован в системе 20 или же может устанавливаться пользователем МС 40. Его также можно динамически регулировать по таким параметрам, как географическое положение МС и относительный объем трафика по каналам МДКР и МДВР в рассматриваемой системе.
На Фиг.4в и 4г приведены блок-схемы, схематически иллюстрирующие структуру кадров 81 и 87 IS-95B, которые в соответствии с предпочтительным вариантом осуществления настоящего изобретения МС 40 использует в целях декодирования и контроля мощности сотовых ячеек МДВР, соответственно. Кадры 81 и 87 контроля перемежаются с обычными кадрами 82 связи МДКР, и частота их повторения не превышает одного кадра контроля в 480 мс. Согласно стандарту IS-95B длительность кадра контроля может быть равна 20 мс или 40 мс. При желании можно использовать более продолжительные периоды контроля. Использование более коротких (20 мс) кадров сокращает вероятность потерь данных во время вызова МДКР между МС 40 и ПБС 32, хотя и приводит к увеличению времени, необходимого для завершения цикла декодирования и контроля.
На Фиг.4в изображен кадр 81 контроля, который используется для получения КнКЧ и КнС сотовой ячейки МДВР, представляющей интерес. На начальном интервале 83 МС 40 настраивает частоту своего приемника, как правило, с использованием соответствующей системы фазовой автоподстройки частоты (ФАПЧ), на частоту данной сотовой ячейки МДВР. На последующем интервале 84 МС подстраивает коэффициент усиления своего приемника для сигнала, принимаемого от данной сотовой ячейки МДВР, как правило, с помощью автоматической регулировки усиления (АРУ). Соответствующие способы выполнения ФАПЧ и АРУ широко известны в данной области техники. Предпочтительно длительность каждого из интервалов 83 и 84 равна примерно 1 мс. Затем на протяжении примерно 15 или 35 мс (в зависимости от того, какова полная длительность кадра 81 – 20 или 40 мс) согласно приведенному выше описанию выполняется декодирование КнКЧ и КнС выбранной сотовой ячейки МДВР. Далее в процессе подготовки к приему следующего кадра 82 МДКР МС 40 перенастраивает свою частоту на прежнее значение (МДКР), после чего на протяжении завершающего интервала 86 выполняет повторную синхронизацию с ППБС 76 МДВР.
На Фиг.4г приведен кадр 87 контроля, который используется для измерения уровней мощности сотовых ячеек МДВР, представляющих интерес. Согласно приведенному выше описанию на начальном интервале 83 для каждой из таких сотовых ячеек выполняется подстройка частоты МС 40. Затем на протяжении соответствующего интервала 88 измерения энергии определяется уровень мощности сотовой ячейки, причем предпочтительно длительность данного интервала составляет около 1,4 мс. В приведенном на Фиг.4г примере длительность кадра 87 равна 20 мс, что позволяет на протяжении кадра определить уровни мощности семи различных сотовых ячеек. Если в качестве альтернативного варианта используется кадр длительностью 40 мс, то на протяжении кадра можно определить уровни мощности для 15 различных сотовых ячеек.
В альтернативном варианте осуществления настоящего изобретения, не показанном на чертежах, один кадр контроля можно разделить на две или более частей, одна из которых используется для получения КнКЧ и КнС, а оставшиеся – для измерения энергии. Дополнительные альтернативные варианты осуществления могут основываться на стандартах IS-95C или IS-95Q МДКР.
На Фиг.5а, 5б, 6а и 6б приведены блок-схемы, в форме конечных автоматов иллюстрирующие операции, которые в соответствии с предпочтительным вариантом осуществления настоящего изобретения выполняются в процессе передачи обслуживания по Фиг.4а и 4б. На Фиг.5а и 5б показаны состояния МС 40, а на Фиг.6а и 6б – состояния ПБС 32 ГСМС-МДКР. На чертежах сплошные линии обозначают процессы, выполняющиеся с использованием описанного выше стробирования IS-95, так что МС переключается между приемом МДКР и приемом МДВР. Пунктирные линии обозначают варианты переходов в альтернативные состояния, которые оказываются возможными в случае, если МС может одновременно функционировать в режимах МДКР и МДВР, что обычно требует от МС наличия двух радиоприемопередатчиков (в отличие от изображенной на Фиг.2б МС с одним приемопередатчиком). Состояния ПБС 30 ГСМС-МДВР не показаны, так как они согласуются с известными в данной области техники стандартами ГСМС.
Некоторые из сообщений, которыми обмениваются МС 40, ПБС 30 и ПБС 32 в процессе выполнения передачи обслуживания, обозначены на чертежах вдоль линий, соединяющих соответствующие состояния ПБС 32 и МС 40. Предпочтительно указанные сообщения имеют в зависимости от ситуации общую форму стандартных сообщений IS-95 или ГСМС, модифицированных и/или дополненных таким образом, чтобы переносить дополнительную информацию, которую необходимо передавать в гибридной системе 20 ГСМС-МДКР. Хотя ниже приведено описание вариантов некоторых сообщений и форматов сообщений, для специалистов в данной области будет очевидно, что можно использовать практически любое подходящее распределение полей сообщений, находящееся в рамках соответствующих стандартов IS-95 и ГСМС.
В начале процесса передачи обслуживания МС 40, находящаяся в состоянии 100, осуществляет связь с ПБС 32, находящейся в состоянии 130, по каналу трафика (КнТ) МДКР. ПБС выдает команду на выполнение стробированного поиска, содержащую параметры стробирования, и затем ожидает завершения стробирования в состоянии 134. Находящаяся в состоянии 102 МС 40 проверяет указанные параметры. Если конфигурация МС не поддерживает эти параметры, то она выдает сообщение об отказе от стробирования. Если же данные параметры поддерживаются, то МС выдает сообщение о завершении стробирования и переходит в состояние 104 стробирования IS-95. Если получена команда на прекращение стробирования, то МС 40 возвращается в состояние 100.
После получения сообщения о завершении стробирования ПБС 32 переходит в состояние 136 стробирования IS-95 и предписывает МС 40 начать контроль близлежащих сотовых ячеек. (Как отмечалось выше, необходимость в состояниях 104 и 136 стробирования отпадает в случае, если МС способна одновременно функционировать в режимах МДКР и МДВР, в этом случае МС напрямую переходит из состояния 100 в состояние 106). Затем ПБС переходит в состояние 132, в котором она ожидает завершения контроля. МС проверяет параметры команды контроля в состоянии 106. Удостоверившись в том, что она поддерживает данные параметры команды контроля, МС 40 переходит в состояние 108 контроля ГСМС, в котором периодически выполняет декодирование и определяет мощность сигнала соседних сотовых ячеек, как описано ранее. Аналогично, после получения от МС подтверждения того, что она приступила к контролю соседних сотовых ячеек, ПБС 32 переходит в соответствующее состояние 138 контроля ГСМС.
МС 40 продолжает контроль соседних сотовых ячеек и выдачу сообщений о его результатах на ПБС 32 в форме сообщения о результате измерения мощности пилот-сигнала (СМПС). При достижении условия запуска передачи обслуживания, то есть если сигнал, принимаемый МС 40 от ПБС 32, существенно слабее, чем сигнал от одной из соседних сотовых ячеек, ПБС указывает ЦКМС 24 на необходимость передачи обслуживания и переходит в состояние 140 ожидания. Если в течение заранее заданного временного интервала команда на передачу обслуживания не получена, то ПБС возвращается в состояние 138, причем предпочтительно длительность данного интервала определяется таймером Т7 ГСМС в соответствии со стандартом ГСМС. Если же команда на передачу обслуживания получена от ЦКМС, то ПБС 32 пересылает на МС 40 команду УРИ3-РР на передачу обслуживания, после чего переходит в другое состояние 142 ожидания, в котором ожидает получения подтверждения Уровня 2 (У2) получения указанной команды от МС. Следует отметить, что ПБС также может получить команду на передачу обслуживания при нахождении в состоянии 138. В этом случае она аналогичным образом выдает на МС 40 команду УРИ3-РР на передачу обслуживания и переходит в состояние 142 ожидания.
Когда МС 40 получает команду УРИ3-РР на передачу обслуживания, она проверяет параметры команды на передачу обслуживания в состоянии 110. Если МС 40 поддерживает параметры команды на передачу обслуживания, то она посылает на ПБС 32 подтверждение У2 и переходит в состояние 112 приостановки МДКР. Если же указанные параметры не поддерживаются, то МС 40 выдает сообщение о сбое в передаче обслуживания и возвращается в состояние 108. В этом случае либо в случае, когда в течение заранее заданного временного интервала подтверждение не получено, ПБС 32 посылает сообщение о сбое в передаче обслуживания в ЦКМС 24 и возвращается в состояние 138, причем предпочтительно длительность данного интервала определяется таймером Т8 ГСМС.
Предположим, что указанные параметры поддерживаются и что команда на передачу обслуживания предписывает выполнение передачи обслуживания рассматриваемой МС на ПБС 30 ГСМС-МДВР. Тогда МС посылает сообщение о доступе к передаче обслуживания, после чего в состоянии 120 ожидает получения физической информации от ПБС 30. (Если команда на передачу обслуживания предписывает выполнение передачи обслуживания МС на другую ПБС МДКР, то МС переходит в состояние 144 согласно тому, как это описывается ниже со ссылкой на Фиг.12 и 13). В то же время ПБС 32, находящаяся в состоянии 144, ожидает получения команды “отбой”, периодически посылая сообщения “требование отбоя” в ЦКМС 24.
Как только физическая информация получена, передача обслуживания успешно завершается, и МС 40 переходит в состояние 124 сеанса связи по каналу трафика ГСМС. ПБС 32 получает команду “отбой”, после чего переходит в состояние 148, в котором освобождает ресурсы радиосвязи, выделенные для канала связи с МС 40, и посылает сообщение “отбой завершен”. Рассматриваемая ПБС переходит в состояние 150 освобождения части управления и соединения при обмене сигналами (ЧУСОС), в котором она освобождает ресурсы вызова, использовавшиеся для связи с ЦКМС 24, а затем завершает свое соединение с МС 40 в конечном состоянии 152.
Однако, если в течение заданного временного интервала, который определяется по истечении таймера Т 3124 ГСМС, МС 40 не получила физическую информацию, то МС переходит в состояние 122, в котором она повторно пытается захватить ПБС 32 МДКР и вернуться в состояние 100. Сообщение о сбое в передаче обслуживания выдается на ПБС 32, которая переходит в состояние 146 повторного захвата соответствующей ПБС МДКР. Если повторный захват завершается неудачно, то ПБС 32 выдает запрос на отбой и возвращается в состояние 144, из которого, как это уже было описано ранее, она может окончательно выйти в состояние 152. МС переходит в состояние 126 ожидания.
Передача обслуживания от базовой станции МДВР к базовой станции МДКР
На Фиг.7 приведена блок-схема, иллюстрирующая соответствующий предпочтительному варианту настоящего изобретения поток сигналов в системе 20 по Фиг.1, связанный с предоставлением информации о времени суток соответствующим подсистемам ПБС ГСМС и станциям ППВС ГСМС в рассматриваемой системе. Обычно в системе 20 подсистемы ПБС ГСМС о времени суток не информируются, так как согласно стандарту ГСМС эта информация не требуется. С другой стороны, стандарт IS-95 требует, чтобы базовые станции МДКР были синхронизированы, поскольку синхронизация необходима для идентификации и декодирования сигналов, а также для гибкой передачи обслуживания между сотовыми ячейками. Следовательно, для выполняемой с участием мобильной станции передачи обслуживания МС 40 от ППБС 78 МДВР на ППБС 76 МДКР (как показано на Фиг.4а, но с противоположным направлением стрелки, обозначающей передачу обслуживания) необходимо, чтобы система 20 предоставляла информацию о времени суток.
Способ по Фиг.7 делает возможным предоставление времени суток в системе 20 посредством ЦШСЯ 28, являющегося стандартным элементом НСМСОП 22, который используется для широковещательной передачи времени суток в системе, без необходимости внесения аппаратных или программных изменений в ЦКМС 24, ПБС 30 ГСМС, ППБС 78 или ППБС 80. Обычно ЦШСЯ 28 обеспечивает услугу широковещательной передачи сотовой ячейки (СШСЯ) в соответствии со стандартами 03.41 и 03.40 на интерфейс ГСМС, что позволяет осуществлять в системе 20 широковещательную передачу коротких сообщений общего вида без подтверждений в пределах определенных географических областей. Сообщения принимаются МС 40 при ее нахождении в режиме ожидания или в пассивном режиме, то есть когда МС не участвует в телефонном вызове. Однако в целях предоставления информации о времени суток предпочтительно МС 40 может принимать сообщения ЦШСЯ не только в режиме ожидания, как это предписывается стандартами ГСМС, но также и при нахождении МС в выделенном режиме, то есть во время телефонного вызова (хотя и ценой возможной потери данных, относящихся собственно к этому телефонному вызову). Использование ЦШСЯ для предоставления МС 40 информации о времени суток становится особенно желательным в случае, когда МС включает в себя только один радиопередатчик и радиоприемник, как показано на Фиг.2б. Если же используются два устройства радиосвязи, одно – для МДКР, а другое – для МДВР, то устройство радиосвязи режима МДКР может получать время суток, когда устройство радиосвязи режима МДВР используется в процессе телефонного вызова.
В предпочтительном варианте осуществления настоящего изобретения сообщения ЦШСЯ также используются для инициирования на МС 40 поиска соседних сотовых ячеек в соответствии с описанием, приведенным выше со ссылкой на Фиг.4б.
Специальная МС 160, оборудованная приемником 161 глобальной системы навигации и определения положения (ГСНОП), размещается в одной или более сотовых ячейках ГСМС/МДВР системы 20, в которой требуется информация о времени суток. Согласно стандарту ГСМС, МС 160 по Фиг.7 получает время суток от приемника 161 и на основе передаваемых ППБС 78 сигналов синхронизации связывает полученное время с номером текущего кадра МДВР. В качестве альтернативного варианта МС 160 может конфигурироваться для получения времени суток от ПБС МДКР. В этом случае необходимость в приемнике 161 ГСНОП отпадает. МС 160 устанавливает вызов для передачи данных в ЦШСЯ 28 через ППБС 78, КБС 77, ЦКМС 24 и НТСОП/СППД 48, а затем посылает в ЦШСЯ идентификатор сотовой ячейки, а также информацию о текущем времени суток и номер кадра. В качестве альтернативного варианта МС 160 может передать эту информацию любым другим подходящим способом, например с помощью СКС ГСМС. Далее ЦШСЯ 28 передает указанную информацию в рассматриваемую сотовую ячейку через СШСЯ, так что МС 40 получает время суток даже в случае, когда она функционирует в режиме ГСМС/МДВР. Следовательно, если предстоит передача обслуживания МС 40 на ППБС 76 МДКР, то нет необходимости получать информацию о синхронизации/времени суток от ППБС МДКР, и передача обслуживания осуществляется более быстро и плавно.
Ввод времени суток в систему 20 полезен для подсистемы ГСМС как таковой, безотносительно передачи обслуживания на МДКР. Например, МС 40 может передавать информацию о своем времени суток на две различные ППБС 78 и 80 ГСМС, а разницу во временных характеристиках между МС и каждой из ППБС можно измерять и использовать в целях определения местоположения МС.
Фиг.8 представляет собой схематическую карту перекрывающихся сотовых ячеек 162 ГСМС/МДВР и 164 МДКР в сети 20, иллюстрирующую различные аспекты выполнения передачи обслуживания от ППБС 78 ГСМС на ППБС 76 МДКР, выполняемой с участием мобильной станции в соответствии с предпочтительным вариантом осуществления настоящего изобретения. Для оператора системы 20 ясно, что если МС 40 находится в любой из сотовых ячеек 1-5 по Фиг.8, то может иметь место передача обслуживания МДВР/МДКР. Следовательно, ЦШСЯ 28 выполнит широковещательную передачу сообщения СШСЯ на все двухрежимные МС (ГСМС/МДКР) в указанных сотовых ячейках, причем данное сообщение будет включать в себя следующую информацию и инструкции:
– МС должна начать поиск сигналов МДКР (команда на запуск поиска);
– частоты станций ППБС МДКР в перекрывающихся и соседних сотовых ячейках;
– отображение ГСМС сотовых ячеек 94 МДКР в соответствии с ЦКМС 24 ГСМС;
– связывание времени суток с текущим номером кадра МДВР, предпочтительно по данным от МС 90, хотя для предоставления времени суток можно использовать и другие способы;
– в качестве необязательного дополнения для сравнения с сигналом МДВР мощность сигнала МДКР следует умножить на коэффициент, как это описывалось выше.
Выполнять широковещательную передачу данного сообщения в сотовых ячейках 6-10 не требуется. Более того, следует иметь в виду, что на получение и интерпретацию указанного сообщения запрограммированы только двухрежимные МС, в то время как обычные МС ГСМС/МДВР проигнорируют его. В отличие от гибридных систем ГСМС/МДКР, предлагавшихся на предшествовавшем уровне техники, сообщение СШСЯ служит для обеспечения и запуска процесса сбора и предоставления на ПБС 30 ГСМС и в ЦКМС 24 двухрежимными МС информации, способствующей выполнению передачи обслуживания на одну из ПБС МДКР.
На Фиг.9 приведена блок-схема, иллюстрирующая соответствующий предпочтительному варианту осуществления настоящего изобретения поток сигналов в системе 20, связанный с передачей обслуживания от ППБС 78 на ППБС 76, выполняемой с участием мобильной станции. Как уже отмечалось ранее со ссылкой на Фиг.7, передача обслуживания начинается после передачи команды на запуск поиска и другой информации. ППБС 78 периодически передает команду на запуск поиска всякий раз, когда МС 40 оказывается в одной из сотовых ячеек 1-5 ГСМС по Фиг.8 или в ответ на выполнение какого-либо другого заранее запрограммированного условия.
После получения команды на запуск МС 40 прекращает трафик МДВР с ППБС 78 и на короткий промежуток времени (предпочтительно равный примерно 5 мс) настраивает свой приемник на соответствующую частоту МДКР. Затем после того, как МС возобновляет связь с ППБС.78, она пытается декодировать полученный сигнал МДКР в целях идентификации пилот-сигнала ППБС, передачу которой она приняла, например ППБС 76. Как отмечалось выше, в системе 20 ППБС 76 МДКР отображается таким же образом, как если бы она являлась ППБС ГСМС-МДВР. Таким образом, МС 40 передает обратно в ППБС 78 ГСМС сообщение, в котором содержатся данные о мощности принятого от ППБС 76 сигнала (в качестве дополнительного варианта умноженные на упоминавшийся ранее относительный весовой коэффициент МДКР/МДВР), а также идентификатор ППБС 76 системы построения отображений ГСМС. С точки зрения ПБС 30 ГСМС и ЦКМС 24 не наблюдается существенной разницы между сообщениями, передаваемыми МС 40 в данном случае, и сообщениями, которые были бы переданы в результате обычного сканирования соседних базовых станций ГСМС.
Описанный процесс измерения и выдачи сообщения о его результатах продолжается до тех пор, пока ПБС 30 не определит, что следует выполнить передачу обслуживания МС 40 на ППБС 76. В этот момент ПБС 30 передает в ЦКМС 24 сообщение, указывающее на необходимость передачи обслуживания. ЦКМС 24 пересылает запрос на передачу обслуживания в ПБС 32, которая через ЦКМС 24 отсылает подтверждение в обратном направлении на ПБС 30. ПБС 32 выделяет аппаратные и программные ресурсы каналу трафика, который должен быть установлен с МС 40, и в целях установления данного канала начинает посылать на рассматриваемую МС нулевые данные. Затем ПБС 30 ГСМС выдает на МС 40 команду на передачу обслуживания, причем предпочтительно это является командой УРИ3-РР, которая содержит параметры IS-95, необходимые для установления канала трафика МДКР с ППБС 76 МДКР. Содержащиеся в таком сообщении параметры описаны ниже со ссылкой на Фиг.13 и Фиг.14а-г. Затем устанавливается новый канал трафика, процесс передачи обслуживания завершается, а ПБС 30 освобождает старый канал трафика МДВР.
Таким образом, описанный выше процесс позволяет при участии мобильной станции выполнять передачу обслуживания от ПБС 30 ГСМС/МДВР на ПБС 32 МДКР с высокой скоростью и надежностью, а также с минимальными прерываниями на обслуживание в процессе вызова, в течение которого имеет место передача обслуживания. В целях выполнения такой передачи обслуживания сотовые ячейки ГСМС системы 20 получают информацию о времени суток, а сотовые ячейки МДКР отображаются в систему ГСМС с минимальными аппаратными затратами и практически без необходимости в перепрограммировании существующих системных элементов ГСМС.
Аналогичный процесс передачи обслуживания МДВР-МДКР можно выполнить даже в отсутствие информации о времени суток в ПБС 30 ГСМС. В этом случае после того, как МС 40 захватила связанный с ППБС 76 пилот-сигнал, для получения информации о времени суток она должна настроиться на него и декодировать канал синхронизации МДКР данной ППБС. Указанная операция занимает около 480 мс, что приводит к заметному, но все-таки приемлемому прерыванию передачи речи во время вызова. В качестве дополнительного альтернативного варианта аналогичный процесс передачи обслуживания можно выполнить с использованием МС, оснащенной, как описано выше, двумя приемопередатчиками: одним для МДВР, а другим для МДКР.
На Фиг.10а, 10б и 11 приведены блок-схемы, в форме конечных автоматов иллюстрирующие последовательность операций, выполняемых МС 40 и ПБС 32 в процессе передачи обслуживания по Фиг.9 в соответствии с предпочтительным вариантом осуществления настоящего изобретения. Фиг.10а и 10б относятся к МС 40, а Фиг.11 – к ПБС 32. ПБС 30 функционирует в соответствии с известными в настоящей области техники стандартами ГСМС.
Первоначально МС 40 находится в исходном состоянии 170, в котором она осуществляет связь с ПБС 30 по каналу трафика ГСМС (КнТ) и находится в связанной с этой ПБС сотовой ячейке. Когда МС перемещается в новую сотовую ячейку, то она переходит в состояние 172, в котором она принимает и читает сообщения от ЦШСЯ 28. Если сообщений от ЦШСЯ, подготавливающих МС 40 к возможной передаче обслуживания на ПБС МДКР, нет (так как, например, в данной области нет ПБС МДКР), то МС возвращается в состояние 174 КнТ ГСМС, из которого может произойти передача ее обслуживания к другой ПБС ГСМС-МДВР.
По команде, переданной в соответствующем сообщении ЦШСЯ, МС 40 переходит в совмещенное состояние 176, в котором она, согласно приведенному выше описанию, получает время суток и отправляет на ПБС 30 сообщения с результатом измерения мощности пилот-сигнала (СМПС). При стандартном режиме функционирования ГСМС-МДВР в общем случае через каждые 120 мс имеется свободный временной интервал длительностью 6 мс. В течение этих свободных временных интервалов МС 40 прерывает передачу МДВР для поиска пилот-сигналов от соседних сотовых ячеек ГСМС-МДКР, подобных тем, которые связаны с ПБС 32. Если не обнаружено ни одного пилот-сигнала, то МС переходит в состояние 180, в котором она настраивает свою частоту и пытается найти подходящий канал коррекции частоты (КнКЧ) ГСМС. В качестве альтернативного варианта, если пилот-сигнал обнаружен, то МС переходит в состояние 182, в котором она выполняет необходимую подстройку своей частоты и измеряет мощность сигнала МДКР. Пока на протяжении последующих интервалов МС 40 осуществляет связь по своему текущему каналу трафика ГСМС-МДВР, она пытается декодировать пилот-сигнал МДКР в целях идентификации сотовой ячейки, с которой связан этот пилот-сигнал. О результатах сообщается в ПБС 30.
На основе результатов, которые МС 40 предоставляет в виде сообщения согласно приведенному выше описанию, ЦКМС 24 в подходящий момент времени передает в ПБС 32 запрос на передачу обслуживания. ПБС переходит в подготовительное состояние 190, в котором она в процессе подготовки к передаче обслуживания выделяет ресурсы, назначает длинный код и устанавливает соединение ЧУСОС с ЦКМС. После посылки в ЦКМС соответствующего подтверждающего сообщения ПБС 32 переходит в состояние 191, в котором она посылает на МС 40 нулевые кадры прямого трафика и ожидает получения обратного трафика от данной МС. Однако, если ПБС не смогла выделить ресурсы, то она сообщает о сбое в передаче обслуживания и выходит в конечное состояние 197.
На основе параметров, содержащихся в полученном от ПБС 32 подтверждающем сообщении, ПБС 30 ГСМС-МДВР посылает на МС 40 сообщение с командой УРИ3-РР на передачу обслуживания, в котором указывается целевая сотовая ячейка ГСМС-МДКР, связанная с ПБС 32, и передаются другие параметры, необходимые для передачи обслуживания. МС 40 переходит в состояние 183, в котором она проверяет, поддерживаются ли указанные параметры передачи обслуживания, и если проверка завершается успешно, то в состоянии 184 она приостанавливает свое функционирование в режиме ГСМС-МДВР. (Если же проверка завершается неуспешно, то МС сообщает о сбое и возвращается в состояние 176). Затем МС переходит в состояние 185, в котором она ожидает получения от ПБС 32 заранее заданного количества “хороших” кадров, предпочтительно это количество определяется счетчиком N11m согласно IS-95. После получения хороших кадров МС отсылает обратно на ПБС некоторое количество заголовочных кадров (коротких кадров-пустышек, использующихся для установления канала трафика), заданное параметром NUM_PREAMBLE в сообщении команды на передачу обслуживания, после чего переходит в состояние 186 настройки опций услуги. ПБС 32 обнаруживает заголовочные кадры и сообщает в ЦКМС об установлении канала трафика МДКР, после чего ПБС переходит в состояние 192, в котором ожидает завершения передачи обслуживания.
Если МС 40 и ПБС 32 не смогли установить связь, то передача обслуживания на ПБС 32 прекращается, а МС 40 и ПБС 32 возвращаются в свои предшествующие состояния. МС 40 в состоянии 188 пытается повторно захватить ПБС 30 ГСМС и, в случае успеха, возвращается в состояние 170 ГСМС КнТ. Если же попытка повторного захвата безуспешна, то МС 40 переходит в состояние 189 ожидания. В любом случае ПБС 32 принимает команду “отбой” и в состоянии 193 освобождает все ресурсы, которые она выделяла МС 40, после чего ПБС 32 переходит в конечное состояние 197.
В предположении, что передача обслуживания завершилась успешно, ПБС 32 переходит в состояние 194 настройки опций услуги, соответствующее состоянию 186 МС 40. ПБС 32 выдает запрос услуги и в состоянии 195 ожидания ожидает получения от МС 40 ответа на запрос услуги. После получения ответа услуги на обслуживание МС 40 и ПБС 32 переходят в состояния 187 и 196 канала трафика (КнТ) МДКР, соответственно, и вызов продолжается по каналу МДКР обычным образом.
Передача обслуживания между базовыми станциями МДКР
На Фиг.12 приведена блок-схема, иллюстрирующая соответствующий предпочтительному варианту осуществления настоящего изобретения процесс передачи обслуживания между двумя различными ПБС 201 и 203 МДКР в системе 20. ПБС 201 включает в себя КБС 202 и множество станций ППВС 206 и 208, а ПБС 203 включает в себя КБС 204 и множество станций ППБС 210 и 212. ППБС 201 и 203 устроены в основном аналогично и взаимозаменяемы с вышеописанной ПБС 32 по Фиг.1 и осуществляют связь с ЦКМС 24 ГСМС через А-интерфейс ГСМС. На чертеже МС 40 изображена в процессе передачи обслуживания от ППБС 208 на ППБС 210 под управлением ЦКМС 24. Хотя передача обслуживания выполняется между двумя ПБС МДКР, с точки зрения системы она является передачей обслуживания между двумя ПБС ГСМС, при которой ЦКМС 24 отображает ППБС 208 и 210 как сотовые ячейки ГСМС.
На Фиг.13 приведена блок-схема соответствующего предпочтительному варианту осуществления настоящего изобретения потока сигналов между элементами системы 20 по Фиг.12 в процессе передачи обслуживания. Прежде чем инициировать передачу обслуживания, ПБС 201 выдает на МС 40 команду на запуск поиска, после чего в соответствии с приведенным ранее описанием данная МС выполняет поиск частот передачи МДКР, принадлежащих соседним сотовым ячейкам, предпочтительно с использованием стробирования согласно IS-95. Процесс передачи обслуживания запускается в тот момент, когда МС 40 сообщает ПБС 201 о том, что она принимает от ППБС 210 сигнал большей мощности, чем от ППБС 208.
После получения сообщения от МС 40 ПБС 201 посылает в ЦКМС 24 сообщение о необходимости выполнения передачи обслуживания, в котором в качестве новой назначаемой сотовой ячейки, в которую следует выполнить передачу обслуживания, указывает идентификатор сотовой ячейки ППБС 210. Данное сообщение в целом соответствует стандартам ГСМС. Предпочтительно информация о скорости передачи данных между МС и ПБС, которая в соответствии со стандартами IS-95 может составлять 8 Кбит/с (установка скорости 1) или 14,4 Кбит/с (установка скорости 2), передается в этом сообщении посредством обозначения скорости передачи данных IS-95 как каналов трафика ГСМС половинной или полной скорости, соответственно. Если информация о скорости передачи данных в канале трафика ГСМС передается на ПБС 203, то данная ПБС интерпретирует эти данные для выбора соответствующей скорости передачи данных IS-95.
ЦКМС 24 посылает на ПБС 203 запрос передачи обслуживания, которая отвечает путем передачи в ЦКМС подтверждения, содержащего сообщение с командой УРИ3-РР передачи обслуживания. Данное сообщение пересылается в обратном направлении на ПБС 201. Таким образом, все пересылаемые между ПБС 201 и ПБС 203 сообщения соответствуют требованиям на А-интерфейс, а связанные с IS-95 параметры МДКР отображаются в соответствующие параметры ГСМС, как, например, МДКР-вокодер QualComm типа 13К, реализующий кодирование методом линейного предсказания с кодовым возбуждением (QКЛПКВ), обозначается как вокодер полной скорости ГСМС. ЦКМС 24 передает запрос передачи обслуживания, подтверждение и команду практически без внесения в них каких-либо изменений.
После получения команды на передачу обслуживания прежняя ПБС 201 посылает на МС 40 сообщение с командой РР на передачу обслуживания для инициирования передачи обслуживания на новую ПБС 203. В соответствии со стандартами IS-95 отправляемое на МС 40 сообщение содержит необходимые для выполнения передачи обслуживания параметры МДКР, включая, но не ограничиваясь следующими параметрами:
– новую маску длинного кода, причем предпочтительно она назначается ПБС 203 из набора имеющихся значений таким образом, что значения масок, используемых в общей области покрытия, отстоят друг от друга на максимально возможное расстояние, и что маски двух любых мобильных станций, находящихся в данной области, не совпадают. Вариант схемы выделения маски длинного кода описан ниже со ссылкой на Фиг.14а-г. Несмотря на то что в стандартной системе сотовой связи стандарта IS-95 маска длинного кода фиксирована и передается на новую ПБС в процессе передачи обслуживания, в стандартах ГСМС отсутствует сообщение, которое можно было бы использовать для передачи маски длинного кода на новую ПБС 203. Следовательно, как это описывается в настоящем документе, ПБС 203 вынуждена выделять новую маску длинного кода и отсылать ее обратно на МС 40 через ПБС 201, предпочтительно в команде РР на передачу обслуживания;
– номинальные параметры уровней мощности – предпочтительно это заданные стандартами IS-95 параметры NOM_PWR и NOM_PWR_EXT, которые определяют поправочный коэффициент, предназначенный для использования МС 40 в замкнутом контуре оценки мощности, и посредством которого МС устанавливает уровни мощности сигналов, подлежащих передаче на ПБС 203;
– смещение кадра, то есть параметр, который задает задержку кадров (предпочтительно с шагом в 1,25 мс), посылаемых МС 40 по прямому каналу трафика и получаемых МС 40 по обратному каналу трафика, относительно системных временных характеристик системы 20. Величина смещения кадра передается от ПБС 201 к ПБС 203 в сообщении с командой на передачу обслуживания. В качестве необязательного дополнительного параметра может быть также включен параметр ACTIVE_TIME, задающий момент времени, начиная с которого следует вносить указанную задержку;
– код канала, аналогичным образом пересылаемый от ПБС 201 на ПБС 203, и служащий для задания функции Уолша, которую в соответствии со стандартом IS-95 надлежит использовать для кодирования прямого канала трафика от ПБС 203 к МС 40;
– номер подтверждения Уровня 2, который ПБС 203 может использовать для установки процесса обработки подтверждений протоколом Уровня 2 в МС 40 в начальное состояние, предпочтительно в момент времени, заданный в сообщении с командой на передачу обслуживания;
– параметры управления мощностью прямого канала трафика, которые ПБС 203 использует для сброса счетчиков TOT_FRAMES и BAD_FRAMES, применяющихся МС 40 для выдачи сообщения на рассматриваемую ПБС о статистике ошибок в прямом канале;
– длину заголовка, задающую число кадров заголовка, которые МС 40 должна передать на ПБС 203 после того, как МС приняла от нее N11m хороших кадров согласно описанию, приведенному выше со ссылкой на Фиг.10б;
– новый класс полосы частот (частотный диапазон) и частоту (в этом диапазоне) сотовой ячейки, связанной с ПБС 203, которая теперь обслуживает МС 40.
Приведенный выше список параметров не является полным и представляет собой только образец информации, подлежащей передаче в сообщении с командой на передачу обслуживания. Аналогичным образом сообщение может содержать и другие параметры IS-95. Для специалиста в данной области очевидно, как рассмотренный выше на примере сообщения с командой на передачу обслуживания способ, согласно которому данные, связанные с одним из радиоинтерфейсов (ГСМС/МДВР или МДКР) системы 20, передаются в сообщениях, пересылаемых через другой радиоинтерфейс, можно аналогичным образом применить для передачи сообщений и данных других типов.
После того как на МС 40 послана команда РР на передачу обслуживания, между ПБС 203 и МС 40 устанавливается новый канал трафика. В целях установления этого канала ПБС 203 посылает на МС 40 кадры канала трафика, а МС 40 отвечает передачей соответствующего количества заглавных кадров, заданного в сообщении с командой на передачу обслуживания. Затем, в соответствии со стандартами обмена сообщениями ГСМС, ЦКМС 24 получает сообщение об успешном выполнении передачи обслуживания, вслед за чем ЦКМС выдает на прежнюю ПБС 201 команду “отбой”, а та отвечает сообщением “отбой завершен”.
На Фиг.14а-г приведены блок-схемы, схематически иллюстрирующие 42-битные маски длинного кода МДКР, которые в соответствии с предпочтительным вариантом осуществления настоящего изобретения выделяет ПБС 203 в связи с передачей обслуживания по Фиг.12. На Фиг.14а показана маска 220, предназначенная для использования в канале доступа; на Фиг.14б показана маска 222, предназначенная для использования в канале поискового вызова; на Фиг.14в показана маска 224, предназначенная для использования в основных (прямом и обратном) каналах трафика; на Фиг.14г показана маска 226, предназначенная для использования в дополнительных (прямом и обратном) каналах трафика. Такие дополнительные каналы применяют, например, при многоканальной связи со средней скоростью передачи данных (ССПД) в соответствии со стандартом IS-95B.
Предпочтительно маска 220 канала доступа включает в себя номер 228 канала доступа, номер 230 канала поискового вызова, идентификатор 232 ПБС 203 и смещение 234 пилот-сигнала, причем значения всех этих параметров назначаются в соответствии со спецификациями IS-95. Номер канала поискового вызова и смещение пилот-сигнала аналогичным образом включаются в маску 222 канала поискового вызова.
Маски 224 и 226 каналов трафика соответствуют открытому формату маски длинного кода. Предпочтительно они содержат идентификатор 232 базовой станции и уникальное 16-битное число 236, которое выбирается из выделенного для ПБС 203 набора. Согласно приведенному выше описанию число 236 назначается таким образом, что любая пара МС имеет разные маски длинного кода. Для достижения более высокой защищенности вместо масок 224 и 226 можно использовать секретную маску длинного кода. Формирование таких масок с использованием шифровального кода Кс ГСМС описано, например, в заявке на патент, озаглавленной “Обеспечение шифрования в гибридной ГСМС/МДКР сети”, поданной 21 октября 1998, переуступленной правопреемнику настоящей заявки и включенной в данный документ посредством ссылки.
Порядок функционирования ПБС 201 и ПБС 203 в процессе выполнения передачи обслуживания по Фиг.12 можно схематически изобразить в форме конечных автоматов аналогично тому, как это показано на Фиг.6а/6б и Фиг.11, соответственно. Порядок функционирования МС 40 во время этой передачи обслуживания во многом аналогичен порядку, изображенному на Фиг.5а и 5б вплоть до состояния 112, в котором сеанс связи МДКР с ПБС 201 приостанавливается. По мере того как МС 40 устанавливает новый канал трафика с ПБС 203 МДКР, она проходит через состояния 114, 116 и 118, которые эквивалентны состояниям 185, 186 и 187 по Фиг.10б, соответственно. Если МС 40 не удается захватить новый канал трафика при нахождении в состоянии 114, она переходит в состояние 122, в котором пытается повторно захватить прежнюю ПБС 201.
Описанный выше способ в первую очередь относится к жестким передачам обслуживания между двумя различными ПБС 201 и 203, выполняемым под управлением ЦКМС 24. Предпочтительно в системе 20 также была возможна гибкая передача обслуживания МС 40 между различными ППБС, связанными с одним и тем же КБС, например, между ППБС 206 и ППБС 208 по Фиг.12, в соответствии со стандартами IS-95. В качестве дополнительного варианта, если КБС 202 соответствующим образом связан с КБС 204, посредством соединения, в общем случае не зависящего от ЦКМС 24 (на чертежах не показано), то между подсистемами ПБС также может иметь место гибкая передача обслуживания от ППБС 208 на ППБС 210. В таких случаях ПБС 203 информирует ЦКМС 24 о состоявшейся передаче обслуживания, чтобы должным образом зарегистрировать новое местоположение МС 40.
Одна из проблем, возникающих при попытке измерения значения мощности, передаваемой из системы ГСМС, состоит в том, что необходимо определить временные характеристики системы ГСМС. Например, при попытке осуществления передачи обслуживания от системы, использующей радиоинтерфейс МДКР с множеством несущих (МН), подобный интерфейсу, предоставляемому для систем МДКР третьего поколения, больше известных как системы “3G”, системе ГСМС необходимо перед измерениями мощности и сообщением об этих измерениях определить временные характеристики системы ГСМС. Одна из причин этого состоит в том, что вследствие использования в системе ГСМС схем повторного использования частот необходимо, чтобы МС, выполняющая измерения, могла считывать канал синхронизации в течение интервала времени, за который передается идентификационный код базовой станции (ИКБС). Такие коды ИКБС передаются примерно один раз за 10 кадров ГСМС (приблизительно раз в 46 миллисекунд). В соответствии с требованиями промышленных стандартов ГСМС МС должна выдавать сообщение о ИКБС совместно с измеренным средним уровнем (RXLEV) мощности для каждого сигнала ГСМС, подлежащего измерению. Одним из путей определения этих временных характеристик является предоставление базовой станцией МН (БС-МН) МС 40 информации, включающей в себя номер кадра ГСМС, который однозначно идентифицирует момент времени передачи канала синхронизации, осуществляемой ПБС-ГСМС. Следует отметить, что в одной и той же системе номер кадра, который действителен в конкретный момент времени в одной ПБС-ГСМС, не совпадает с номером кадра, действительным в любой другой ПБС-ГСМС. Это сделано намеренно для разрешения мобильным станциям ГСМС отслеживать соседние сотовые ячейки в течение периодов ожидания МДВР. Таким образом, в любой момент времени номер кадра ГСМС уникален на каждой ПБС-ГСМС.
В соответствии с первым вариантом осуществления описываемых способа и устройства предоставляемая информация включает в себя:
(1) время МДКР;
(2) индикатор числа подлежащих поиску каналов ГСМС;
(3) пороговое значение мощности принимаемого сигнала;
(4) информацию, относящуюся в отдельности к каждому из подлежащих поиску каналов.
В первом варианте осуществления описываемых способа и устройства информация, относящаяся в отдельности к каждому из подлежащих поиску каналов, включает в себя:
(1) полосу частот, включающую подлежащий поиску канал;
(2) частоту подлежащего поиску канала (такого как АНВЧК, определенного в промышленном стандарте, относящемся к системам связи ГСМС);
(3) идентификационный код, связанный с данным каналом (такой как идентификационный код базовой станции (ИКБС), определенный в промышленном стандарте, относящемся к системам связи ГСМС);
(4) номер кадра (такой как номер кадра ГСМС, определенный в промышленном стандарте, относящемся к системам связи ГСМС), передаваемый в указанный момент времени МДКР;
(5) определенную часть кадра, передаваемого в указанный момент времени МДКР.
В альтернативном варианте осуществления описываемых способа и устройства ИКБС передается один раз для всех подлежащих поиску каналов.
Ниже приведено описание того, как данная информация используется для уменьшения времени, требуемого для определения того, имеется ли подходящая возможная базовая станция, на которую можно было бы осуществить передачу обслуживания.
На Фиг.15 приведена блок-схема процесса, имеющего место, когда БС-МН 1501 намеревается определить, целесообразно ли выполнение передачи обслуживания. Следует отметить, что описываемый ниже процесс по Фиг.15 можно реализовать либо в ответ на определение того, что сигнал, обеспечивающий связь с МС, является слишком слабым, или в ответ на любое другое активирующее событие.
Процесс начинается с передаваемого от БС-МН 1501 на МС 1505 сообщения 1503 с запросом на поиск возможной частоты. В первом варианте осуществления описываемых способа и устройства сообщение с запросом на поиск возможной частоты имеет следующий формат, включающий в себя поля, приведенные в Таблицах 1-3:
| Таблица 1 |
| Поле |
Длина (в битах) |
| USE_TIME |
1 |
| ACTION_TIME |
6 |
| RESERVED_1 |
4 |
| CFSRM_SEQ |
2 |
| SEARCH_TYPE |
2 |
| SEARCH_PERIOD |
4 |
| SEARCH_MODE |
4 |
| MODE_SPECIFIC_LEN |
8 |
| Поля, зависящие от режима |
8×MODE_SPECIFIC_LEN |
| ALIGN_TIMING |
1 |
| SEARCH_OFFSET |
0 или 6 |
В соответствии с данным вариантом осуществления каждое из приведенных полей определено промышленным стандартом на системы связи ГСМС. Однако в первом варианте осуществления описываемых способа и устройства определен дополнительный режим поиска. В этом дополнительном режиме поиска запрашивается поиск каналов ГСМС.
Когда поле режима поиска запрашивает поиск каналов ГСМС, передаются следующие поля:
| Таблица 2 |
| Поле |
Длина (в битах) |
| SF_TOTAL_EC_THRESH |
5 |
| SF_TOTAL_EC_IO_THRESH |
5 |
| GSM_RXLEV_THRESH |
6 |
| GSM_T_REF_INCL |
1 |
| CDMA_TIME |
0 или 6 |
| NUM_GSM_CHAN |
6 |
Нижеследующая группа полей повторяется однократно для каждого подлежащего поиску канала:
| GSM_FREQ_BAND |
3 |
| ARFCN |
10 |
| BSIC_VERIF_REQ |
1 |
| BSIC |
0 или 6 |
| GSM_FRAME |
0 или 19 |
| GSM_FRAME_FRACT |
0 или 9 |
Поля, приведенные в Таблице 2, определяются следующим образом







После приема сообщения 1503 с запросом на поиск возможной частоты МС 1505 предпочтительно оценивает время, необходимое ей для выполнения требуемых поисков. Данная оценка может быть выполнена любым хорошо известным способом. Данная оценка передается на БС-МН в ответном сообщении 1507 на запрос на поиск возможной частоты.
В соответствии с первым вариантом осуществления описываемых способа и устройства БС-МН 1501 отвечает на ответное сообщение 1507 на запрос на поиск возможной частоты посредством определения, следует ли проводить поиск, и если это оказывается необходимым, то каким образом следует выполнять данный поиск. Например, в первом варианте осуществления БС-МН 1501 передает сообщение управления поиском возможной частоты, указывающее на то, что МС 1505 следует начать поиск в предварительно определенное начальное время (определенное в указанном сообщении управления), а также на то, следует ли выполнять поиск однократно, непрерывно или периодически.
В ответ на сообщение управления МС 1505 выполняет поиск на основе полученной информации. МС 1505 использует предоставляемую информацию о временных характеристиках (то есть значение, предоставляемое в поле, содержащем время МДКР) для идентификации момента времени, в который была послана указанная часть кадра ГСМС для определения, когда следует выполнять поиск каждого сигнала ГСМС, для которого БС-МН 1501 запросила МС 1505 выполнить поиск.
Предпочтительно МС 1505 выполняет поиск каждого сигнала ГСМС только в тот момент времени, когда в данном сигнале ГСМС передается информация идентификации, такая как ИКБС. Затем МС 1505 может выполнить как измерения качества сигнала, так и сравнение полученного ИКБС с ИКБС, связанным с каналом, запрос на поиск которого получила МС 1505. Если имеет место совпадение, то МС 1505 выдаст сообщение о качестве сигнала (например, значение мощности сигнала, отношение “сигнал-шум” или любую другую меру качества сигнала), передаваемого по каналу, запрос на поиск которого получила МС 1505.
После того как МС 1505 определила качество сигнала, передаваемого по каждому из каналов, запрос на поиск которых она получила, МС 1505 формирует сообщение 1511 о поиске возможной частоты. Затем сообщение 1511 о поиске возможной частоты передается от МС 1505 на ВС-МН 1501. В зависимости от содержания сообщения управления МС 1505 может повторно передавать сообщение 1511.
В случае, если БС-МН 1501 определяет, что условия для передачи обслуживания подходящие, то БС-МН 1501 передает сообщения 1513 на ПБС-ГСМС 1515 для подготовки ПБС-ГСМС 1515 для передачи обслуживания. Один из способов, используемых для передачи сообщений на ПБС-ГСМС 1515, состоит во включении данной информации в стандартное сообщение ГСМС передачи обслуживания. Данное сообщение передачи обслуживания может включать в себя информацию о временных характеристиках, относящуюся к ситуациям, когда необходимо найти канал синхронизации в тех случаях, когда имеет место значительный сдвиг временных характеристик ГСМС по отношению к временным характеристикам МДКР. Такие сообщения хорошо известны в рассматриваемой области техники и поэтому не описываются подробно в данном документе.
Как только ПБС-ГСМС 1515 получает сообщение 1513 о подготовке к передаче обслуживания, сообщение 1517 с командой МН-РПМС ГСМС на передачу обслуживания передается в МС 1505 в обычном формате ГСМС. Затем МС 1505 и ПБС-ГСМС обычным способом обмениваются сообщениями 1519 с запросом на захват системы и доступ. Далее МС 1505 выдает в ПБС-ГСМС 1515 сообщение 1521 о завершении передачи обслуживания. Затем ПБС-ГСМС 1515 и БС-МН 1501 обмениваются сообщениями 1523 о завершении передачи обслуживания.
Для специалистов в данной области техники должно быть очевидно, что если МС 1505 может быстро идентифицировать сигналы, передаваемые от одной из ПБС-ГСМС 1515, то МС 1505 сможет определить, когда следует отслеживать сигналы, передаваемые другими представляющими интерес ПБС-ГСМС 1515. Более того, так как сообщение 1503 с запросом на поиск возможной частоты включает в себя информацию, относящуюся в отдельности к каждому из каналов, запрос на поиск которых был получен, поиск сигналов, связанных с каждым из этих каналов, может быть выполнен за несколько временных интервалов (длительность каждого из которых составляет лишь 0,5 мс). Соответственно, описываемые способ и устройство позволяют МС 1505 выполнить поиск возможной базовой станции для передачи обслуживания без излишних затрат времени (не более чем за несколько мс), прошедшего от момента приема МС 1505 сигналов МДКР.
Следует отметить, что хотя вышеописанные варианты осуществления относятся к системе ГСМС, описываемые способ и устройство можно с одинаковым успехом применить для любой системы МДВР, в которой информация передается в течение хорошо определенных временных интервалов. Это проиллюстрировано нижеследующим описанием со ссылкой на Фиг.16 соответствующего первому варианту осуществления способа межсистемной передачи обслуживания между двумя беспроводными системами связи третьего поколения – системы с множеством несущих (МН) и системы с прямым расширением спектра последовательностью (ПРСП).
Передача обслуживания от системы МН в систему ПРСП
В первом варианте осуществления поток сообщений между МС 1600, исходной БС 1605 и целевой БС 1610 во время межсистемной передачи обслуживания протекает так, как показано на Фиг.16. Исходная БС 1605 предпочтительно является БС системы МН, такой как, например, cdma2000, а целевая БС 1610 является БС системы ПРСП, такой как, например, ШМДКР. В качестве альтернативного варианта исходной БС 1605 может быть система МН, использующая сетевой протокол Раздела Приложений Мобильной Связи (РПМС) (в отличие от системы МН, подобной cdma2000, использующей сетевой протокол ANSI 41), а системой ПРСП может быть система ПРСП, использующая сетевой протокол ANSI 41 (в отличие от ШМДКР, использующей сетевой протокол РПМС). Межсистемная передача обслуживания может оказаться необходимой вследствие того, что МС 1600 переместилась из зоны сети МН в зону сети ПРСП. В качестве альтернативного варианта межсистемная передача обслуживания может иметь место в области перекрытия двух сетей.
Процесс межсистемной передачи обслуживания начинается, когда исходная БС 1605 посылает на МС 1600 сообщение 1615 с запросом на поиск возможной частоты (ПВЧ). Сообщение 1615 с запросом на ПВЧ предписывает МС 1600 выполнить поиск новых частот БС. Информация о временных характеристиках системы ПРСП целевой БС 1610 предпочтительно включается в сообщение 1615 с запросом на ПВЧ. Данная информация о временных характеристиках при межсистемной передаче обслуживания от БС МН на БС ГСМС может эффективно предоставляться посредством абсолютного системного времени, так как длительность кадра МН, равная 20 мс, не делится нацело на длительность кадра ГСМС, равную 4,6 мс. Однако для определения временных характеристик системы ПРСП для межсистемной передачи обслуживания от БС 1605 МН на БС 1610 ГСМС можно использовать относительное время (то есть разность временных характеристик двух кадров), так как длительность кадра МН, равная 20 мс, делится нацело на длительность кадра ПРСП, равную 10 мс.
После получения сообщения 1605 с запросом на ПВЧ МС 1600 посылает в обратном направлении на исходную ВС 1605 ответное сообщение 1620 на запрос на ПВЧ, тем самым информируя ее о времени, необходимом МС 1600 для выполнения поиска частоты. Затем исходная БС 1605 посылает сообщение 1625 управления ПВЧ на МС 1600, тем самым предписывая ей начать поиск частот БС. Как только МС 1600 определяет качество сигнала, передаваемого по каждому из каналов, запрос на поиск которых получила МС 1600, она формирует и посылает на исходную БС 1605 сообщение 1630 о ПВЧ. В зависимости от содержания сообщения 1625 управления ПВЧ МС 1600 может передавать сообщение 1630 о ПВЧ повторно. Для простоты повторная передача изображена как три сообщения 1630 о ПВЧ, но для любого специалиста в данной области техники очевидно, что это число не обязательно должно быть равно трем.
Сообщения 1630 о ПВЧ предпочтительным образом включают в себя получаемую от МС 1600 информацию о временных характеристиках, которую исходная БС 1605 использует для формирования базы данных о точности вариации временных характеристик или “степени доверия” между исходной системой МН и целевой БС 1610 ПРСП для всех мобильных станций, участвующих в процессе межсистемной передачи обслуживания от системы МН на БС 1610 ПРСП. Исходная ВС 1605 предпочтительно поддерживает базу данных, касающуюся точности получаемой от МС 1600 информации о временных характеристиках. Эта база данных предпочтительно используется инфраструктурой, созданной для вычисления средней разности по времени между исходной БС 1605 и целевой БС 1610, а также точности как диапазона этой разности и отклонения колебаний тактового сигнала. Следует отметить, что описанные со ссылкой на Фиг.15 сообщения 1511 о ПВЧ, соответствующие рассматриваемому варианту осуществления, могут также включать в себя полученную от МС 1505 информацию о временных характеристиках для разрешения БС-МН 1501 определить временную синхронизацию между исходной системой МН и целевой системой ГСМС.
После получения сообщений 1630 о ПВЧ, исходная БС 1605 определяет, являются ли условия для межсистемной передачи обслуживания удовлетворительными. Если эти условия являются удовлетворительными, то исходная БС 1605 посылает на МС 1600 сообщение 1635 с командой на межсистемную передачу обслуживания. Сообщение 1635 с командой на межсистемную передачу обслуживания предпочтительно включает в себя информацию о временных характеристиках, относящуюся к целевой системе ПРСП. При межсистемной передаче обслуживания от БС МН на БС ГСМС подобная информация о временных характеристиках может эффективно предоставляться посредством абсолютного системного времени, так как длительность кадра МН, равная 20 мс, не делится нацело на длительность кадра ГСМС, равную 4,6 мс. Тем не менее, для определения временных характеристик ПРСП для межсистемной передачи обслуживания от БС 1605 МН на БС 1610 ПРСП можно использовать относительное время (то есть разность временных характеристик двух кадров), так как длительность кадра МН, равная 20 мс, делится нацело на длительность кадра ПРСП, равную 10 мс.
Далее МС 1600 включается в процесс межсистемной передачи обслуживания. Как только межсистемная передача обслуживания завершается, МС 1600 посылает на целевую БС 1610 сообщение 1640 о завершении межсистемной передачи обслуживания. Специалистам в данной области техники должно быть очевидно, что в процессе межсистемной передачи обслуживания исходная БС 1605 и целевая БС 1610 могут обмениваться и другими сообщениями (не изображены), такими как, например, сообщение о подготовке к передаче обслуживания и сообщение о завершении передачи обслуживания.
Для специалистов в данной области техники должно быть очевидно, что вышеописанный вариант осуществления позволяет первой МС полагаться с определенной степенью точности на информацию, выдаваемую в сеть второй МС и касающуюся разницы во времени между двумя БС. Информация о временных характеристиках – это информация, выдаваемая исходной БС на вторую МС в сообщении с запросом на ПВЧ во время межсистемной передачи обслуживания.
Нижеследующие таблицы и определения полей определяют соответствующие конкретным вариантам осуществления операции, выполняемые при межсистемной передаче обслуживания. Следует отметить, что в таблицах название поля приводится в левом столбце, а связанная с этим полем длина (в битах) – в правом столбце, если не оговорено обратное.
Сообщение МН-РПМС с командой на межсистемную передачу обслуживания: MSG_TAG: MAPISHCM

















































Таким образом, в настоящем документе содержится описание нового и улучшенного способа и устройства для осуществления межсистемной передачи обслуживания. Специалистам в данной области техники должно быть очевидно, что приведенные для иллюстрации логические блоки, модули, схемы и этапы алгоритмов, описанные в связи с раскрытыми вариантами осуществления, можно реализовать в виде электронных аппаратных средств, программного обеспечения или их комбинации. Общее описание всевозможных иллюстративных компонентов, блоков, модулей, схем и этапов приведено в терминах их функциональных возможностей. Выбор действительной реализации указанных функциональных возможностей в виде аппаратных средств или программного обеспечения зависит от конкретного приложения и конструктивных ограничений, наложенных на всю систему в целом. В данных условиях для специалиста в данной области техники должна быть очевидна взаимозаменяемость аппаратной и программной реализации, а также наиболее подходящий для каждого конкретного приложения способ реализации описанных функциональных возможностей. В качестве примеров всевозможные иллюстративные логические блоки, модули, схемы и этапы алгоритмов, которые описывались в связи с раскрытыми вариантами осуществления, можно реализовать посредством цифрового сигнального процессора (ЦСП), специализированной интегральной схемы (СИС), программируемой пользователем вентильной матрицы (ППВМ) или другого программируемого логического устройства, логического устройства на дискретных вентилях или транзисторах, отдельных аппаратных компонентов, таких как регистры и буфер обратного магазинного типа, процессор, выполняющий последовательность встроенных программных инструкций, любой обычный программируемый модуль и процессор, или любая их комбинация. В качестве процессора может использоваться микропроцессор, однако в качестве альтернативного варианта процессором может служить любой обычный процессор, контроллер, микроконтроллер или конечный автомат. Программный модуль может располагаться в оперативном запоминающем устройстве (ОЗУ), флэш-памяти, постоянном запоминающем устройстве (ПЗУ), стираемом программируемом постоянном запоминающем устройстве (СППЗУ), электрически стираемом программируемом постоянном запоминающем устройстве (ЭСППЗУ), регистрах, на жестком диске, съемном диске, ПЗУ на компакт-диске или любой другой известной в данной области техники среде хранения информации. Кроме того, специалистам в данной области техники должно быть очевидно, что данные, инструкции, команды, информация, сигналы, биты, символы и кодовые элементы, упомянутые в описании, можно представить посредством напряжений, токов, электромагнитных волн, магнитных полей, оптических полей или частиц, а также любой комбинации вышеперечисленного.
Хотя описание предпочтительных вариантов осуществления приведено со ссылкой на конкретные гибридные системы ГСМС/МДКР и гибридные системы ПРСП/МН, следует иметь в виду, что принципы настоящего изобретения аналогичным образом применимы для выполнения передачи обслуживания с участием мобильной станции и в других гибридных системах связи. Более того, хотя предпочтительные варианты осуществления и содержат ссылки на конкретные стандарты связи, основанные на МДВР и МДКР, для специалистов в данной области техники очевидно, что описанные способы и принципы можно применить в связи с другими способами кодирования данных и модуляции сигналов. Объем настоящего изобретения включает в себя не только вышеописанные полные системы и способы связи, но и всевозможные новые элементы этих систем и способов, а также их комбинации и подкомбинации.
Таким образом, следует отметить, что описанные варианты осуществления приведены только в качестве примеров, а объем настоящего изобретения ограничивается исключительно нижеследующей формулой изобретения.
Формула изобретения
1. Способ передачи обслуживания мобильной станции для беспроводной системы мобильной связи, включающей в себя базовые станции первого типа, функционирующие в соответствии с первым радиоинтерфейсом, и базовые станции второго типа, функционирующие в соответствии со вторым радиоинтерфейсом, от первой базовой станции, относящейся к первому типу, ко второй базовой станции, относящейся ко второму типу, содержащий этапы: устанавливают линию связи между мобильной станцией и первой базовой станцией через первый радиоинтерфейс, принимают в мобильной станции сигнал от второй базовой станции через второй радиоинтерфейс, измеряют уровень сигнала и передают полученные данные, включающие в себя результат измерения уровня сигнала, к первой базовой станции, принимают в первой базовой станции данные, включающие в себя результат измерения уровня сигнала, переданные от мобильной станции в ответ на упомянутый сигнал второй базовой станции, по существу, без прерывания связи между мобильной станцией и первой базовой станцией, выполняют передачу обслуживания мобильной станции от первой базовой станции ко второй базовой станции в ответ на упомянутые принятые данные, при этом первый радиоинтерфейс содержит интерфейс МДКР, а второй радиоинтерфейс содержит интерфейс GSM/МДВР и упомянутый прием данных от мобильной станции осуществляют при стробировании мобильной станции для прерывания линии связи МДКР на длительность кадра, достаточную для приема и декодирования сигнала GSM/МДВР.
2. Способ по п.1, в котором стробирование мобильной станции включает в себя прерывание линии связи МДКР на длительность кадра стандарта IS-95.
3. Способ по п.1, содержащий получение мобильной станцией идентификационных данных второй базовой станции на основе декодирования каналов GSM коррекции частоты и синхронизации сигнала.
4. Способ по п.1, в котором упомянутый этап передачи обслуживания мобильной станции включает в себя сравнение результатов измерения уровней сигналов от первой и второй базовых станций и передачу обслуживания в зависимости от результата сравнения.
5. Способ по п.4, включающий в себя применение весового коэффициента в результате измерения уровня сигнала.
6. Способ по п.5, в котором применение весового коэффициента включает в себя изменение весового коэффициента соответственно сетевым условиям в системе и/или передачу весового коэффициента по каналу связи к мобильной станции, которая применяет весовой коэффициент к результату измерений.
7. Способ по п.1, включающий в себя передачу от первой базовой станции к мобильной станции списка частот базовых станций второго типа в системе, так что мобильная станция пытается принять сигнал на частоте из упомянутого списка.
8. Способ по п.1, в котором упомянутая передача обслуживания мобильной станции включает в себя передачу команды передачи обслуживания от первой базовой станции.
9. Способ по п.1, в котором упомянутые этапы установления линии связи и приема сигнала в мобильной станции осуществляют с использованием одного радиочастотного приемопередатчика в мобильной станции.
10. Способ по п.1, в котором упомянутый прием данных от мобильной станции включает в себя определение зоны перекрытия между первой областью, обслуживаемой первым радиоинтерфейсом, и второй областью, обслуживаемой вторым радиоинтерфейсом, и запуск мобильной станции для выполнения упомянутого приема данных, когда мобильная станция находится в зоне перекрытия.
11. Способ по п.1, дополнительно содержащий передачу информации о временных характеристиках, относящейся к второй мобильной базовой станции, от первой базовой станции к мобильной станции.
12. Способ по п.1 дополнительно содержащий передачу информации об относительных временных характеристиках, относящейся к первой и второй базовым станциям, от мобильной станции к первой базовой станции.
13. Способ передачи обслуживания мобильной станции для беспроводной системы мобильной связи, включающей в себя базовые станции первого типа, функционирующие в соответствии с первым радиоинтерфейсом, и базовые станции второго типа, функционирующие в соответствии со вторым радиоинтерфейсом, от первой базовой станции, относящейся к первому типу, ко второй базовой станции, относящейся ко второму типу, содержащий этапы: устанавливают линию связи между мобильной станцией и первой базовой станцией через первый радиоинтерфейс, принимают в мобильной станции сигнал от второй базовой станции через второй радиоинтерфейс, измеряют уровень сигнала и передают полученные данные, включающие в себя результат измерения уровня сигнала, к первой базовой станции, принимают в первой базовой станции данные, включающие в себя результат измерения уровня сигнала, переданные от мобильной станции в ответ на упомянутый сигнал второй базовой станции, по существу, без прерывания линии связи между мобильной станцией и первой базовой станцией, выполняют передачу обслуживания мобильной станции от первой базовой станции ко второй базовой станции в ответ на упомянутые принятые данные, при этом первый радиоинтерфейс содержит интерфейс GSM/МДВР, а второй радиоинтерфейс содержит интерфейс МДКР, и прием данных от мобильной станции осуществляют при управлении мобильной станцией для прерывания линии связи GSM/МДВР так, чтобы принимать и декодировать сигнал МДКР.
14. Способ по п.13, в котором упомянутый этап приема данных включает в себя посылку информации времени суток через интерфейс GSM/МДВР, посылку услуги широковещательной передачи ячейки GSM к мобильной станции для инициирования поиска мобильной станцией сигнала от базовой станции второго типа и/или прием идентификационных данных пилотного канала GSM/МДВР, декодируемого мобильной станцией.
15. Способ по п.14, в котором посылка информации о времени суток включает в себя этап широковещательной передачи информации о времени суток в системе с использованием услуги широковещательной передачи ячейки GSM.
16. Способ по п.15, в котором упомянутый этап широковещательной передачи информации включает в себя прием информации о времени суток и связанного номера кадра GSM от приемопередатчика, осуществляющего связь с базовой станцией первого типа в системе.
17. Способ по п.15, в котором мобильная станция декодирует канал синхронизации сигнала МДКР для получения информации о времени суток.
18. Способ по п.15, в котором посылка сообщения услуги широковещательной передачи ячейки GSM к мобильной станции включает в себя пересылку сообщения так, что мобильная станция принимает его при функционировании мобильной станции в назначенном режиме.
19. Способ по п.13, включающий в себя отображение второй базовой станции как базовой станции стандарта GSM, чтобы управлять передачей обслуживания.
20. Способ по п.13, в котором управление мобильной станцией включает в себя управление мобильной станцией для приема сигнала МДКР в течение первого временного интервала МДВР и декодирования сигнала в течение последующего временного интервала МДВР при осуществлении связи с первой базовой станцией через интерфейс GSM/МДВР, чтобы генерировать данные, подлежащие приему первой базовой станцией.
21. Способ по п.13, дополнительно содержащий этап передачи информации о временных характеристиках, относящейся к второй базовой станции, от первой базовой станции к мобильной станции.
22. Способ по п.13, дополнительно содержащий этап передачи информации об относительных временных характеристиках, относящейся к первой и второй базовым станциям, от мобильной станции к первой базовой станции.
23. Способ передачи обслуживания мобильной станции для беспроводной системы мобильной связи, включающей в себя базовые станции первого типа, функционирующие в соответствии с первым радиоинтерфейсом, и базовые станции второго типа, функционирующие в соответствии со вторым радиоинтерфейсом, от первой базовой станции, относящейся к первому типу, ко второй базовой станции, относящейся ко второму типу, содержащий этапы: устанавливают линию связи между мобильной станцией и первой базовой станцией через первый радиоинтерфейс, принимают в мобильной станции сигнал от второй базовой станции через второй радиоинтерфейс, измеряют уровень сигнала и передают полученные данные, включающие в себя результат измерения уровня сигнала, к первой базовой станции, принимают в первой базовой станции данные, включающие в себя результат измерения уровня сигнала, переданные от мобильной станции в ответ на упомянутый сигнал второй базовой станции, по существу, без прерывания линии связи между мобильной станцией и первой базовой станцией, выполняют передачу обслуживания мобильной станции от первой базовой станции ко второй базовой станции в ответ на упомянутые принятые данные, при этом первая базовая станция принадлежит к сети с множеством несущих, а вторая базовая станция принадлежит к сети прямого расширения спектра последовательностью, первый радиоинтерфейс определен в соответствии со стандартом cdma2000 и второй радиоинтерфейс определен в соответствии со стандартом широкополосного МДКР (WCDMA).
24. Система для передачи обслуживания мобильной станции с первой базовой станции первого типа, функционирующей в соответствии с первым радиоинтерфейсом, на вторую базовую станцию второго типа, функционирующую в соответствии со вторым радиоинтерфейсом, в беспроводной системе мобильной связи, содержащая средство для установления линии связи через первый радиоинтерфейс между мобильной станцией и первой базовой станцией, средство для измерения уровня сигнала, принимаемого мобильной станцией от второй базовой станции через второй радиоинтерфейс, и передачи данных, включающих в себя результат измерения уровня сигнала, к первой базовой станции, средство для приема упомянутых данных, включающих в себя результат измерения уровня сигнала, переданных от мобильной станции в ответ на упомянутый сигнал второй базовой станции, по существу, без прерывания линии связи между мобильной станцией и первой базовой станцией, и средство для передачи обслуживания мобильной станции с первой на вторую базовую станцию в ответ на упомянутые принятые данные, при этом первый радиоинтерфейс содержит интерфейс МДКР, а второй радиоинтерфейс содержит интерфейс GSM/МДВР, при этом средство для приема данных от мобильной станции включает в себя средство для стробирования мобильной станции для прерывания линии связи МДКР на длительность кадра, достаточную для приема и декодирования сигнала GSM/МДВР.
25. Система по п.24, в которой упомянутое средство для передачи обслуживания мобильной станции содержит средство для сравнения результатов измерения уровней сигналов от первой и второй базовых станций и передачи обслуживания в ответ на результаты сравнения.
26. Система по п.24, в которой упомянутое средство для приема данных обеспечивает прием идентификационных данных второй базовой станции, полученных посредством декодирования мобильной станцией упомянутого сигнала, принятого через второй радиоинтерфейс.
27. Система по п.24, дополнительно содержащая средство для передачи от первой базовой станции к мобильной станции списка частот базовых станций второго типа в системе, так что мобильная станция пытается принять сигнал на частоте из этого списка.
28. Система по п.24, в которой упомянутое средство для передачи обслуживания мобильной станции включает в себя средство для передачи команды передачи обслуживания от первой базовой станции.
29. Система по п.24, в которой упомянутое средство для приема данных от мобильной станции включает в себя средство для определения зоны перекрытия между первой областью, обслуживаемой первым радиоинтерфейсом, и второй областью, обслуживаемой вторым радиоинтерфейсом, и средство для запуска мобильной станции для выполнения упомянутого приема данных, когда мобильная станция находится в зоне перекрытия.
30. Система по п.24, дополнительно содержащая средство для передачи информации о временных характеристиках, относящейся к второй мобильной базовой станции, от первой базовой станции к мобильной станции.
31. Система по п.24, дополнительно содержащая средство для передачи относительной информации о временных характеристиках, относящейся к первой и второй базовым станциям, от мобильной станции к первой базовой станции.
32. Система для передачи обслуживания мобильной станции с первой базовой станции первого типа, функционирующей в соответствии с первым радиоинтерфейсом, на вторую базовую станцию второго типа, функционирующую в соответствии со вторым радиоинтерфейсом, в беспроводной системе мобильной связи, содержащая средство для установления линии связи через первый радиоинтерфейс между мобильной станцией и первой базовой станцией, средство для измерения уровня сигнала, принимаемого мобильной станцией от второй базовой станции через второй радиоинтерфейс, и передачи данных, включающих в себя результат измерения уровня сигнала, к первой базовой станции, средство для приема упомянутых данных, включающих в себя результат измерения уровня сигнала, переданных от мобильной станции в ответ на упомянутый сигнал второй базовой станции, по существу, без прерывания линии связи между мобильной станцией и первой базовой станцией, и средство для передачи обслуживания мобильной станции с первой на вторую базовую станцию в ответ на упомянутые принятые данные, при этом первый радиоинтерфейс содержит интерфейс GSM/МДВР, а второй радиоинтерфейс содержит интерфейс МДКР, при этом средство для приема данных от мобильной станции включает в себя средство для управления мобильной станцией для прерывания линии связи GSM/МДВР так, чтобы принимать и декодировать сигнал МДКР.
33. Система по п.32, в которой упомянутое средство для передачи обслуживания мобильной станции содержит средство для сравнения результатов измерения уровней сигналов от первой и второй базовых станций и передачи обслуживания в ответ на результаты сравнения.
34. Система по п.32, в которой упомянутое средство для приема данных обеспечивает прием идентификационных данных второй базовой станции, полученных посредством декодирования мобильной станцией упомянутого сигнала, принятого через второй радиоинтерфейс.
35. Система по п.32, дополнительно содержащая средство для передачи от первой базовой станции к мобильной станции списка частот базовых станций второго типа в системе, так что мобильная станция пытается принять сигнал на частоте из этого списка.
36. Система по п.32, в которой упомянутое средство для передачи обслуживания мобильной станции включает в себя средство для передачи команды на передачу обслуживания от первой базовой станции.
37. Система по п.32, в которой упомянутое средство для приема данных от мобильной станции включает в себя средство для определения зоны перекрытия между первой областью, обслуживаемой первым радиоинтерфейсом, и второй областью, обслуживаемой вторым радиоинтерфейсом, и средство для запуска мобильной станции для выполнения упомянутого приема данных, когда мобильная станция находится в зоне перекрытия.
38. Система по п.32, дополнительно содержащая средство для передачи информации о временных характеристиках, относящейся к второй мобильной базовой станции, от первой базовой станции к мобильной станции.
39. Система по п.32, дополнительно содержащая средство для передачи относительной информации о временных характеристиках, относящейся к первой и второй базовым станциям, от мобильной станции к первой базовой станции.
40. Система для передачи обслуживания мобильной станции с первой базовой станции первого типа, функционирующей в соответствии с первым радиоинтерфейсом, на вторую базовую станцию второго типа, функционирующую в соответствии со вторым радиоинтерфейсом, в беспроводной системе мобильной связи, содержащая средство для установления линии связи через первый радиоинтерфейс между мобильной станцией и первой базовой станцией, средство для измерения уровня сигнала, принимаемого мобильной станцией от второй базовой станции через второй радиоинтерфейс, и передачи данных, включающих в себя результат измерения уровня сигнала, к первой базовой станции, средство для приема упомянутых данных, включающих в себя результат измерения уровня сигнала, переданных от мобильной станции в ответ на упомянутый сигнал второй базовой станции, по существу, без прерывания линии связи между мобильной станцией и первой базовой станцией, и средство для передачи обслуживания мобильной станции с первой на вторую базовую станцию в ответ на упомянутые принятые данные, при этом первая базовая станция принадлежит к сети с множеством несущих, а вторая базовая станция принадлежит к сети с прямым расширением спектра последовательностью, первый радиоинтерфейс определен в соответствии со стандартом cdma2000 и второй радиоинтерфейс определен в соответствии со стандартом широкополосного МДКР (WCDMA).
РИСУНКИ
|
|