|
|
(21), (22) Заявка: 2005121240/28, 07.07.2005
(24) Дата начала отсчета срока действия патента:
07.07.2005
(46) Опубликовано: 27.01.2007
(56) Список документов, цитированных в отчете о поиске:
SU 1508184 A1, 15.09.1989. SU 1076856 A, 28.02.1984. SU 1760497 A1, 07.09.1992. SU 1626921 A1, 30.10.1994. JP 2002367188 A, 20.12.2002. JP 2001059928 A, 06.03.2001.
Адрес для переписки:
390000, г.Рязань, ул. Каляева, 32, ФГУП ГРПЗ, отдел 149, В.И. Калинкину
|
(72) Автор(ы):
Исаев Аркадий Анатольевич (RU), Верескунов Андрей Александрович (RU), Кабанов Валерий Дмитриевич (RU)
(73) Патентообладатель(и):
Федеральное государственное унитарное предприятие “Государственный рязанский приборный завод” (RU)
|
(54) УСТРОЙСТВО ДЛЯ КРЕПЛЕНИЯ И ЮСТИРОВКИ ПРИБОРА
(57) Реферат:
Изобретение относится к области приборостроения. Техническим результатом изобретения является расширение области применения, функциональных возможностей и упрощения конструкции устройства. Этот результат обеспечивается за счет того, что устройство содержит неподвижное основание, сферическое основание с прибором, установленное с возможностью поворота в неподвижном основании, стержень, один конец которого жестко связан со сферическим основанием. Согласно изобретению в устройство введены отжимной фланец, первый юстировочный диск, торцовые поверхности которого плоские и параллельные, второй юстировочный диск, одна из торцовых поверхностей которого выполнена плоской, а другая сферической, самоустанавливающаяся шайба и крепежный элемент. При этом центральные отверстия в первом и втором юстировочных дисках выполнены с эксцентриситетом, стержень проходит через отверстие отжимного фланца, центральные отверстия первого и второго котировочных дисков – через отверстие самоустанавливающейся шайбы, а второй конец стержня зафиксирован крепежным элементом. Кроме того, первый и второй юстировочные диски и отжимной фланец взаимосвязаны между собой посредством поводков, при этом одни концы поводков жестко установлены в отверстиях первого юстировочного диска на одном радиусе, а другие концы поводков размещены с возможностью поворота в отверстии отжимного фланца и в отверстии второго юстировочного диска соответственно. Причем отжимной фланец взаимодействует с неподвижным основанием посредством фиксирующих элементов. 1 з.п. ф-лы, 7 ил.
Изобретение относится к приборостроению и может быть использовано для юстировки и закрепления приборов, датчиков и других устройств.
Известно устройство для юстировки оптических элементов (Авторское свидетельство СССР №1760497, МПК G 02 В 7/00, 1992), содержащее держатель оптического элемента, две пластины, упруго связанные между собой регулировочные винты.
Недостатком этого устройства является сложность и недостаточная точность юстировки.
Известно устройство для юстировки оптических элементов (Авторское свидетельство №1076856, G 02 В 7/00, G 02 В 7/18 1984 г.), содержащее держатель оптического элемента и механизмы поворотов с регулировочными винтами с одной стороны и опорными винтами с зазоровыбирающими пружинами обратного хода и подвижными толкателями с другой, при этом подвижные толкатели снабжены выступами в виде кольцевого буртика, взаимодействующего с опорными винтами,
Недостатками данного устройства являются малый диапазон юстирования оптических элементов по двум координатам.
Наиболее близким по технической сущности и достигаемым результатам к заявляемому решению является устройство для юстировки оптических элементов (Авторское свидетельство №1508184, G 02 В 7/18 1989 г.), содержащее механизм перемещений, связанный посредством двухшарнирного карданного соединения через телескопический стержень со сферическим подвижным основанием, являющимся держателем оптического элемента.
Недостатками данного устройства являются:
а) ограниченные функциональные возможности, а именно конструктивно в прототипе не предусмотрена совместная юстировка по азимуту и наклону;
б) значительная номенклатура устройства и трудоемкость его изготовления. Технический результат, на достижение которого направлено заявляемое изобретение, заключается в расширении области применения, функциональных возможностей и упрощения конструкции устройства.
Поставленный технический результат достигается тем, что устройство для юстировки прибора содержит неподвижное основание, сферическое основание с прибором, установленное с возможностью поворота в неподвижном основании, стержень, один конец которого жестко связан со сферическим основанием, отжимной фланец, первый юстировочный диск, торцовые поверхности которого плоские и параллельные, второй юстировочный диск, одна из торцовых поверхностей которого выполнена плоской, а другая сферической, самоустанавливающую шайбу и крепежный элемент, при этом центральные отверстия в первом и втором юстировочных дисках выполнены с эксцентриситетом, стержень проходит через отверстие отжимного фланца, центральные отверстия первого и второго юстировочных дисков через отверстие самоустанавливающейся шайбы, а другой конец стержня зафиксирован крепежным элементом, кроме того, первый и второй юстировочные диски и отжимной фланец взаимосвязаны между собой посредством поводков, при этом одни концы поводков жестко установлены в отверстиях первого юстировочного диска на одном радиусе, а другие концы поводков размещены с возможностью поворота в отверстии отжимного фланца и в отверстии второго юстировочного диска соответственно, причем отжимной фланец взаимодействует с неподвижным основанием посредством фиксирующих элементов.
Фиксирующие элементы могут быть выполнены в виде винтов со сферическими торцами, взаимодействующими с конусообразными канавками, выполненными в теле неподвижного основания.
В предлагаемое устройство введены: отжимной фланец, первый юстировочный диск, торцовые поверхности которого плоские и параллельные, второй юстировочный диск, одна из торцовых поверхностей которого выполнена плоской, а другая сферической, самоустанавливающаяся шайба и крепежный элемент, при этом центральные отверстия в первом и втором котировочных дисках выполнены с эксцентриситетом, стержень, проходит через отверстие отжимного фланца, центральные отверстия первого и второго котировочных дисков – через отверстие самоустанавливающейся шайбы, а второй конец стержня зафиксирован крепежным элементом, кроме того, первый и второй котировочные диски и отжимной фланец взаимосвязаны между собой посредством поводков, при этом одни концы поводков жестко установлены в отверстиях первого юстировочного диска на одном радиусе, а другие концы поводков размещены с возможностью поворота в отверстии отжимного фланца и в отверстии второго юстировочного диска соответственно, причем отжимной фланец взаимодействует с неподвижным основанием посредством фиксирующих элементов.
Фиксирующие элементы могут быть выполнены в виде винтов со сферическими торцами, взаимодействующими с конусообразными канавками, выполненными в теле неподвижного основания.
Сущность изобретения поясняется чертежами.
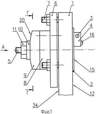
На фиг.1 изображен общий вид устройства для юстировки прибора, на фиг.2 – вид А на фиг.1; на фиг.3 – сечение Б-Б на фиг.2; на фиг.4 – сечение В-В на фиг.3; на фиг.5 – сечение Г-Г на фиг.1; на фиг.6 – сечение В-В на фиг.3 (повернуто вправо); на фиг.7 – сечение Г-Г фиг.1 (повернуто вверх).
Устройство для юстировки прибора содержит неподвижное основание 1, сферическое основание 2, (фиг.1, 2, 3) оптический прибор 3, держатель 4, стержень 5, отжимной фланец 6, фиксирующий элемент 7, первый юстировочный диск 8, второй юстировочный диск 9, самоустанавливающую шайбу 10 и крепежный элемент 11.
В теле неподвижного основания 1 (фиг.3), с торцевой стороны 12, выполнено вогнутое сферическое углубление 13, в которое установлено с возможностью поворота выпуклое сферическое основание 2. Неподвижное основание 1 также имеет сквозное цилиндрическое отверстие 14, которое соосно со сферическим углублением 13.
На плоской поверхности 15 сферического основания 2 перпендикулярно оси стержня 5 установлен прибор 3 (фиг.1, 3), жестко связанный со стержнем 5, с держателем 4 посредством винта 16.
Первый юстировочный диск 8 имеет торцовые поверхности 17 и 18, которые выполнены плоскими и параллельными.
У второго юстировочного диска 9, одна из торцовых поверхностей 19 взаимодействует, с плоской торцевой поверхностью 18 первого юстировочного диска 8 и выполнена плоской, а другая торцевая поверхность 20 выполнена выпуклой сферической, которая взаимодействует с вогнутой сферической поверхностью 21 самоустанавливающейся шайбы 10.
Центральные отверстия 22 и 23 первого 8 и второго 9 юстировочных дисках выполнены с эксцентриситетом относительно центральной геометрической оси юстировочных дисков для обеспечения точной юстировки.
Стержень 5 (фиг.1, 3) одним концом 24 жестко связан со сферическим основанием 2 (например, резьбовым соединением).
Стержень 5 проходит через центральное отверстие 14 неподвижного основания 1, форма которого имеет форму усеченного конуса, через центральное отверстие 25 отжимного фланца 6, через центральное отверстие 22 первого юстировочного диска 8, через центральное отверстие 23 второго юстировочного диска 9, через отверстие 26 самоустанавливающейся шайбы 10, при этом второй конец стержня 5 зафиксирован крепежным элементом 11 (например, гайкой).
Первый 8 и второй 9 юстировочные диски и отжимной фланец 6 взаимосвязаны между собой посредством поводков 27. Одни концы поводков 27 жестко установлены в отверстиях 28 и 29 первого юстировочного диска 8. Отверстия 28 и 29 первого юстировочного диска 8 выполнены на одном радиусе центрального отверстия 22 первого юстировочного диска 8. Другие концы поводков 27 – один из них установлен в отверстии 30 выполненного на одном радиусе второго юстировочного диска 9, а второй в отверстии 31 отжимного фланца 6 с возможностью поворота в отверстии 31 отжимного фланца 6 и в отверстии 30 второго юстировочного диска 9. Жесткая фиксация одних концов поводков 27 в отверстиях 28 и 29 (фиг.3, 4) первого юстировочного диска 8 и установка других концов поводков 27 с возможностью поворота в отверстии 31 отжимного фланца 6 и в отверстии 30 второго юстировочного диска 9, позволяет обеспечивать автономное угловое перемещение дисков.
Отжимной фланец 6 взаимодействует с неподвижным основанием 1 посредством фиксирующих элементов 7. Фиксирующие элементы 7 установлены с возможностью поворота в отверстиях 32 отжимного фланца 6.
Фиксирующие элементы 7 могут быть выполнены в виде винтов со сферическими концами 33, взаимодействующими с конусообразными канавками 35, выполненными в теле неподвижного основания 1 с торцевой стороны 34. Фиксирующие элементы 7 контрятся контровочными гайками 36.
Работа устройства заключается в юстировке прибора 3, которая разделяется на два этапа: грубую и точную.
Задачей грубой юстировки является введение оптической оси прибора в рабочую зону, а точной – совмещение с репером.
Грубая юстировка по азимуту и наклону осуществляется путем перемещений отжимного фланца 6 (фиг.1, 2, 3) относительно торцевой поверхности 34 неподвижного основания 1 посредством фиксирующих элементов 7 при ослабленной гайке 11.
При вращении фиксирующих элементов 7, которые сферическими концами 33 взаимодействуют с конусообразными канавками 35 неподвижного основания 1 происходит перемещение всех элементов, размещенных на стержне 5 в одном из двух взаимно перпендикулярных направлений или одновременно по двум направлениям с последующей контровкой фиксирующих элементов 7 гайками 36.
Совмещение оси прибора с репером осуществляется поворотом первого 8 и второго 9 юстировочных дисков на определенный угол.
При повороте первого котировочного диска 8 (фиг.3, 4, 5, 6) относительно поводка 27, который поворачивается в отверстии 31 отжимного фланца 6, торцевая поверхность 17 перемещается по поверхности 37 отжимного фланца 6. При повороте первого юстировочного диска 8, например, влево или вправо, поверхность отверстий 22 взаимодействует со стержнем 5 и поворачивает его в том же направлении.
При повороте второго юстировочного диска 9 (фиг.3, 4, 5, 7) на втором поводке 27, установленном в отверстии 30, второй котировочный диск 9, плоской поверхностью 19 перемещается по поверхности 18 юстировочного диска 8. Сферически выпуклая поверхность 20 второго юстировочного диска 9 перемещается по сферически вогнутой поверхности самоустанавливающейся шайбы 10. При повороте второго юстировочного диска 9, например, влево или вправо, поверхность отверстий 23 взаимодействует со стержнем 5 и поворачивает его в том же направлении. Поворот первого 8 и второго 9 юстировочных дисков может быть как раздельным, так и совместным.
Для обеспечения наибольшего угла поворота первого 8 и второго 9 юстровочных дисков выполнены отверстия 28, 29 (фиг.2, 3, 4) под поводки 27 на геометрических взаимно перпендикулярных осях, проходящих через центр диска.
При завершении точной юстировки стержень 5 окончательно фиксируется гайкой 11.
Изготовление устройства для закрепления прибора не требует применения уникальных материалов и специальных технологий, поэтому он может быть многократно воспроизведен в промышленном производстве.
Формула изобретения
1. Устройство для юстировки прибора, содержащее неподвижное основание, сферическое основание с прибором, установленное с возможностью поворота в неподвижном основании, стержень, один конец которого жестко связан со сферическим основанием, отличающееся тем, что в устройство введены отжимной фланец, первый котировочный диск, торцовые поверхности которого плоские и параллельные, второй котировочный диск, одна из торцовых поверхностей которого выполнена плоской, а другая сферической, самоустанавливающаяся шайба и крепежный элемент, при этом центральные отверстия в первом и втором котировочных дисках выполнены с эксцентриситетом, стержень проходит через отверстие отжимного фланца, центральные отверстия первого и второго котировочных дисков, через отверстие самоустанавливающейся шайбы, а второй конец стержня зафиксирован крепежным элементом, кроме того, первый и второй котировочные диски и отжимной фланец взаимосвязаны между собой посредством поводков, при этом одни концы поводков жестко установлены в отверстиях первого юстировочного диска на одном радиусе, а другие концы поводков размещены с возможностью поворота в отверстии отжимного фланца и в отверстии второго юстировочного диска соответственно, причем отжимной фланец взаимодействует с неподвижным основанием посредством фиксирующих элементов.
2. Устройство по п.1, отличающееся тем, что фиксирующие элементы выполнены в виде винтов со сферическими торцами, взаимодействующими с конусообразными канавками, выполненными в теле неподвижного основания.
РИСУНКИ
|
|