|
|
(21), (22) Заявка: 2004138512/28, 28.12.2004
(24) Дата начала отсчета срока действия патента:
28.12.2004
(43) Дата публикации заявки: 10.06.2006
(46) Опубликовано: 27.01.2007
(56) Список документов, цитированных в отчете о поиске:
RU 93027754 А, 27.06.1995. RU 93027755 А, 27.06.1995. RU 2065613 C1, 20.08.1996. SU 1216749 A, 07.03.1986. SU 1831690 A3, 30.07.1993. RU 2084001 C1, 10.07.1997. JP 09-184887 A, 15.07.1997. В.БРАУНБЕК “Методы измерений в ядерной физике”, М.: Госатомиздат”, 1961, стр.23-29. Б.П.ГОЛУБЕВ “Дозиметрия и защита от ионизирующего излучения”, Л.:
Адрес для переписки:
117218, Москва, Б. Черемушкинская, 25, ФГУП ГНЦ РФ ИТЭФ им. А.И. Алиханова, Патентный отдел, Ю.П. Быкову
|
(72) Автор(ы):
Радько Валерий Евгеньевич (RU)
(73) Патентообладатель(и):
Российская Федерация, от имени которой выступает государственный заказчик – Федеральное государственное унитарное предприятие “Государственный научный центр Российской Федерации Институт теоретической и экспериментальной физики им. А.И. Алиханова” (RU)
|
(54) СПОСОБ РЕГИСТРАЦИИ ЗАРЯЖЕННЫХ ЧАСТИЦ РАДЬКО (RADKO) И УСТРОЙСТВО ДЛЯ ЕГО ОСУЩЕСТВЛЕНИЯ (ВАРИАНТЫ)
(57) Реферат:
Изобретение относится к области физики элементарных частиц, связанной с регистрацией быстрых заряженных частиц, и позволяет расширить разновидность детекторов заряженных частиц, в частности использовать в качестве средства торможения заряженных частиц вещество фактически любого химического состава. Способ регистрации заряженных частиц заключается в том, что используют тепловой конвертор, который погружают в атмосферу рабочего температурно-чувствительного газа или наносят на его поверхность температурно-чувствительный слой регистрирующего вещества, после чего преобразуют часть энергии, регистрируемой частицы в тепло на поверхности конвертора, а затем используют повышение температуры в приповерхностной области трека на тепловом конверторе для выделения либо распадных компонент молекул температуро-чувствительного газа, либо для активации экзотермической или цепной химической реакции на поверхности конвертора. Реализующее предложенный способ устройство по первому своему варианту содержит чувствительное регистрирующее вещество в виде рабочего газа и тепловой конвертор, помещенный в объем данного рабочего газа, в качестве которого выбран один из карбонилов металла. Устройство по второму варианту содержит тепловой конвертор, на поверхность которого нанесен слой поверхностно-чувствительного регистрирующего вещества, в качестве которого использована периодическая структура из температурно-чувствительного регистрирующего материала. 3 н.п. ф-лы, 4 ил.
(56) (продолжение):
CLASS=”b560m”«Госэнергоиздат», 1963, стр.132-148. В.В.МАТВЕЕВ и Б.И.ХАЗАНОВ “Приборы для измерения ионизирующих излучений”, М.:”Атомиздат”, 1972, стр.216-218.
Изобретение относится к области экспериментальной ядерной физики и физики элементарных частиц, связанных с регистрацией быстрых заряженных частиц, и может быть использовано в научных лабораториях на пучках ускорителей частиц и в других технических устройствах, работа которых основана на регистрации быстрых заряженных частиц. Кроме того, предлагаемое изобретение может быть использовано для регистрации быстрых космических микрометеоридов.
В качестве аналога рассмотрен способ регистрации заряженных частиц, основанный на конденсации пересыщенных паров рабочего газа в области трека частицы, и камера Вильсона [1] – устройство, реализованное на этом принципе. Недостатком этого способа является низкая макроскопическая плотность газообразного регистрирующего материала, что приводит к малой эффективности регистрации энергичных частиц.
В качестве прототипа рассмотрены способы регистрации заряженных частиц [2] с помощью специфических материалов: перегретых или переохлажденных жидкостей (пузырьковая камера), фотоэмульсиий, сцинтилляторов и полупроводников.
Недостатком прототипа является ограничение регистрирующего материала только известными, специфическими, регистрирующими материалами: жидкими, газообразными, фоточувствительными, сцинтиллирующими или полупроводниковыми. Такое ограничение исторически (регистрация частиц относительно малых энергий) связано с тенденцией совместить тормозящие и регистрирующие (частицу) свойства в одном материале, и оно ограничивает возможности физического эксперимента. Однако постоянное увеличение энергии ускоренных заряженных частиц открывает новые возможности для их регистрации.
Целью изобретения является расширение разновидностей детекторов заряженных частиц, в частности обеспечение возможности использования в качестве средства торможения заряженных частиц вещества фактически любого химического состава.
Поставленная цель достигается тем, что в способе регистрации заряженных частиц, основанном на регистрации трека частицы, согласно предложенному изобретению используют тепловой конвертор, который погружают в атмосферу рабочего температурно-чувствительного газа или наносят на его поверхность температурно-чувствительный слой регистрирующего вещества, после чего преобразуют часть энергии регистрируемой частицы в тепло на поверхности конвертора, а затем используют повышение температуры в приповерхностной области трека на тепловом конверторе для выделения либо распадных компонент молекул температуро-чувствительного газа, либо для активации экзотермической или цепной химической реакции на поверхности конвертора.
Реализующее предложенный способ устройство по первому варианту своей конструктивной реализации содержит чувствительное регистрирующее вещество в виде рабочего газа, при этом дополнительно введен тепловой конвертор, помещенный в объем рабочего газа, в качестве которого выбран один из карбонилов металла.
Реализующее предложенный способ устройство по второму варианту своей конструктивной реализации содержит поверхностно-чувствительное регистрирующее вещество, при этом дополнительно введен тепловой конвертор, поверхность которого покрыта указанным поверхностно-чувствительным регистрирующим веществом, в качестве которого выступает периодическая структура из температурно-чувствительного регистрирующего материала.
Предложенное изобретение поясняется следующими схематическими изображениями.
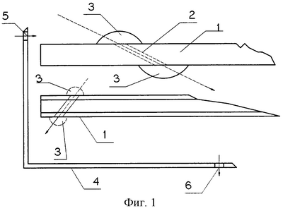
Фиг.1 Схематическое изображение маркерного детектора для регистрации заряженных частиц: 1 – сечение ТК в области трека заряженной частицы, конвертор (а) погружен в атмосферу температурно-чувствительного регистрирующего газа; сечение ТК в области трека заряженной частицы для случая, когда поверхность конвертора (б) покрыта температурно-чувствительным слоем регистрирующего вещества, 2 – условное изображение трека заряженной частицы, 3 – маркирующий материал, осаждаемый вблизи начала и конца трека заряженной частицы, 4 – защитная стенка герметичной камеры с рабочим газом и термоизоляцией или герметичной камеры с нейтральным газом (или вакуумной камеры), 5 – входное отверстие для подачи рабочего газа с заданной температурой, 6 – выходное отверстие для рабочего газа.
Фиг.2. Тепловой конвертор – сцинтиллятор: 1 – сечение ТК в области трека заряженной частицы, 2 – условное изображение трека заряженной частицы, 3 – маркирующий материал, осаждаемый вблизи начала и конца трека заряженной частицы, 7 – условное изображение теплового конвертора как сцинтилляционного датчика с ФЭУ.
Фиг.3 Маркерный детектор заряженных частиц на основе реакционной СВС-смеси:
1 – ТК, температурно-чувствительные регистрирующие элементы (пиксели) СВС-смеси, 2 – треки частиц – “сработавшие” СВС-элементы (пиксели однократного действия) отмечены крестиком, 4 – защитная (от пропускания частиц) стенка камеры, 8 – область рождения регистрируемых частиц (исходящие стрелки – направления вылета частиц), 9 – считывающая оптика, 10 – несущая лента чувствительных элементов детектора (направление движения ленты указано стрелкой).
Фиг 4. Двухпакетное устройство с газообразным карбонилом для регистрации заряженных частиц:
11 – газовый баллон с поглотителем СО и теплообменником до Т1, 12 – первый пакет ТК для регистрации заряженных частиц, 13 – теплообменник (Т1 Т2), 14 – второй пакет ТК для регистрации заряженных частиц, 15 – насос системы замкнутого цикла.
Далее представлены возможные варианты устройства с пояснениями их работы на фиг.1-4.
На фиг.1 схематически изображен детектор заряженных частиц, работающий на принципе температурной активации разложения рабочего газа при его соприкосновении с горячей областью трека на поверхности ТК. В статическом состоянии рабочий объем устройства фиг.1, ограниченный защитной теплоизолирующей стенкой 4, заполнен рабочим температурно-чувствительным газом через систему входного 5 и выходного 6 отверстий при температуре газа более низкой, чем температура распада его молекул. Внутри рабочего объема расположен тепловой конвертор 1, случай а. Устройство может содержать и тепловой конвертор другого типа, конвертор, поверхность которого покрыта температурно-чувствительным слоем регистрирующего вещества 1, случай б (при этом рабочий газ может быть заменен и на нейтральный газ).
При работе устройства быстрая частица пересекает регистрирующую пластину 1 и в результате взаимодействия в треке 2 выделяется некоторая энергия, приводящая к локальному разогреву пластины вдоль трека. Это тепло распространяется в пластине, локальные области на поверхности пластины в окрестности 3 входа и выхода частицы разогреваются, а зоны повышенной температуры расширяются во времени. Молекулы рабочего газа непрерывно бомбардируют горячее пятно и распадаются под действием температуры так, что их фрагменты осаждаются и нейтрализуются в области горячего пятна 3. Появление подобных маркерных пятен, содержащих осадки молекулярных фрагментов, фиксирует элементы траектории частицы.
На фиг.2 схематически изображен детектор заряженных частиц, работающий на принципе, аналогичном детектору на фиг.1, но в качестве ТК-1 использован сцинтиллятор. При этом за счет перераспределения энергии частицы (часть которой, оставленная частицей в пластине сцинтиллятора, расходуется на сцинтилляцию, а другая часть переходит в тепло) возможна регистрация момента времени ее прохождения через регистрирующую пластину.
На фиг.3 схематически изображен детектор заряженных частиц, работающий на принципе активации реакционной смеси СВС. В этом случае ТК представляет собой мозаичную структуру, состоящую из большого числа (>103) независимых пиксельных ТК-1. При работе устройства регистрируемые частицы из области рождения 8 попадают на такой единичный температурно-чувствительный регистрирующий элемент однократного действия, своеобразный пиксельный ТК-1, приготовленный на основе СВС – реакционной смеси. Пиксельные ТК-1 расположены на несущей ленте 10, поверхность которой размечена на клеточки, например, в шахматном порядке. В центре каждой (условно) черной клетки размещен один регистрирующий элемент (“пиксель”) 1, размеры которого выбраны так, что активация в нем СВС-реакции не распространяется на соседние регистрирующие элементы. Направление движения ленты (кадровая развертка) указано стрелкой. Попадание регистрируемой частицы в чувствительный элемент активирует в нем СВС-реакцию, в результате которой элемент изменяет размеры, форму и цвет 2, 3 так, что в нем область трека 2 распространяется на весь маркирующий пиксель 3 (горячее пятно). Эти изменения регистрирует оптика 9. Полученный “клип” содержит информацию о временном развитии пространственного распределения регистрируемых частиц.
На фиг.4 схематически изображен детектор заряженных частиц, аналогичный изображенному на фиг.1, но отличающийся наличием более одного пакета с детектирующими ТК. Показана система газового обеспечения такого устройства. Блок 11 содержит газовый баллон с рабочим газом (карбонил), нагреватель-теплообменник и поглотитель окиси углерода. Выходной патрубок блока 11 последовательно подан на два пакета с ТК-12 и ТК-14, между которыми установлен второй теплообменник 13. Далее выходной патрубок из второго блока ТК-14 поступает в насос 15 с выходным патрубком, который подан на блок 11, так что все устройство фиг.4 образует замкнутый контур с рабочим газом (карбонил).
При работе такого устройства в потоке излучения, фиксируемого в ТК-12 и ТК-14, накапливается продукт распада карбонила – окись углерода СО, которая продвигается по замкнутому контуру устройства и поглощается в блоке 11. Теплообменник 13 служит для создания различной температуры рабочего газа в ТК-12 и ТК-14, если по условиям эксперимента требуется различная чувствительность детектирования частиц в различных ТК.
Упомянутые камера Вильсона и ядерная фотоэмульсия являются так называемыми трековыми детекторами (к их числу принадлежат диффузионная, искровая и пузырьковая камеры), которые регистрируют существенный участок трека, возникающего при торможении частицы в чувствительном объеме, заполненном веществом, способным выполнить регистрацию. При этом регистрирующее вещество обычно имеет невысокую плотность (1 г/см3) и (не всегда) содержит лишь небольшое количество тяжелых атомов. Между тем в физике высоких энергий представляет интерес регистрирующая мишень с высокой удельной плотностью нуклонов.
Предлагаемое изобретение позволяет ценой отказа от регистрации существенного участка траектории частицы получить возможность использовать в качестве регистрирующего вещества самые различные классы твердого тела (металл, диэлектрик, пластик, стекло) с высоким атомным номером. При этом в участках траектории, расположенных на поверхности теплового конвертора, за счет разложения рабочего газа под действием локального разогрева или за счет активации химической реакции в приповерхностном температурно-чувствительном слое, в области трека возникает маркерное пятно. Так работает предлагаемый маркерный детектор заряженных частиц.
В независимости от агрегатного состояния мы будем называть температурно-чувствительным (ТЧВ) такое вещество, в котором повышение температуры активирует молекулярный распад, или экзотермическую, или цепную химическую реакцию взаимодействия, как в самом ТЧВ, так и реакцию взаимодействия с поверхностью ТК или с окружающим рабочим газом.
Если поверхность ТК покрыта ТЧВ, то разогрев локальной зоны в приповерхностной области трека или вылет в нее ядер отдачи приводит к активации химической реакции на поверхности ТК с образованием маркерного пятна.
В качестве материала ТК можно использовать различные металлы, сплавы, полупроводники, сцинтилляторы, стекла, пластики и в том числе и материалы с высоким содержанием тяжелых элементов, поскольку процессы разогрева материала в области трека возникают в любом материале. Это позволяет исключить ограничения детектирующих устройств только материалами фотоэмульсий или специфических газов и жидкостей.
Необходимыми условиями для осуществления подобной регистрации заряженных частиц являются:
1) величина энерговыделения в треке достаточна для прогрева макроскопической области вблизи трека до температуры распада молекул рабочего газа или активации химической реакции на поверхности ТК;
2) существует адгезия между поверхностью ТК и продуктом активированной химической реакции или продуктом распада газовых молекул, состоящем из нейтрализованных распадных фрагментов рабочего газа;
3) отсутствует фоновое химическое взаимодействие между рабочим газом и ТК без локального разогрева в маркерной области, а существенного самопроизвольного изменения химического состава рабочего газа со временем не происходит.
В идеале, желательно иметь возможность такой технической реализации детекторов, которая без существенных изменений в конструкции допускает изготовление детекторов с различными детектирующими свойствами из возможно большего числа материалов. Приближение к такому устройству ограничивает выбор рабочего газа некоторым классом комплексных газообразных соединений, где, например, различные металлы связаны единой для всех металлов группой лигандов.
Другим условием, налагаемым на выбор рабочего газа, является способность его молекул к разложению с образованием на регистрирующей поверхности ТК маркерного пятна из различных химических элементов или достаточно характерных устойчивых химических соединений.
Кроме того, остаточный нейтральный газ не должен быть агрессивным, чтобы не разрушить устройство детектора.
Этим условиям удовлетворяют некоторые типичные комплексные соединения [3], среди которых можно выделить карбонилы, нитрозилы (молекула СО и катион NO+ имеют равные числа электронов), гидриды металлов и некоторые металлоорганические соединения. Аналогичными свойствами обладают также и некоторые гексафториды металлов, распад которых порождает агрессивный фтор, но для актинидов, например, такие газообразные соединения наиболее устойчивы.
В качестве примера температурно-чувствительных газов рассмотрены карбонилы, где комплексообразователем выступают металлические ионы, например Fe, Ni, Co, W, Cr, Мо, V, Re и др. с единой природой лигандов – анионы окиси углерода СО, например Fe(СО)5, Ni(CO)4, Со2(СО)8, Cr(СО)6, Мо(СО)6, Ru6(CO)16, Os6(CO)18, Ru3(CO)14 и др. Типичные карбонилы металлов при “комнатных” температурах газообразны и склонны к распаду так, что при соприкосновении газа с горячей поверхностью (t*100°С-400°С для различных карбонилов) они практически мгновенно разлагаются. При этом на горячей поверхности выделяется чистый металл, а СО образует газообразный неагрессивный остаток. При низких температурах (около -30° – -40°С) карбонилы наиболее устойчивы в жидком состоянии.
Пусть некоторая быстрая заряженная частица пересекает тонкий (d<1 см) ТК из произвольного твердого материала (металл, пластик, стекло…) с плотностью и в треке с начальным радиусом r0 вблизи поверхности ТК оставляет некоторую энергию, часть которой 1 МэВ переходит в тепло (отметим, что ядра отдачи при делении актинидов, например, уносят кинетическую энергию 100 МэВ).
Оценим радиус пятна rх, нагретого на t° по отношению к начальной температуре t0 пересекаемой пластины, из соотношений (r0х):
c·m0·t0c·m1· t; mi ·ri 2·d· ; i=0,x;
откуда 
Из (1) следует, что при начальной температуре ТК, близкой к температуре распада молекул рабочего газа (уменьшение t), увеличивается радиус маркерного пятна и это позволяет регулировать линейное разрешение и чувствительность при регистрации заряженных частиц за счет изменения температуры ТК.
Оценим число частиц, осажденных в области маркерного пятна на примере медного теплового конвертора и регистрирующего газа – карбонила никеля. При давлении 1 н/м2 вблизи температурной критической точки распада молекулы Ni(CO)4 плотность числа ударов молекул о поверхность ТК оценивается величиной 1017 см-2сек-1. Положим, что причиной распада молекулы карбонила является возбуждение колебаний лигандов относительно центральной молекулы металла (возбуждаемые при этом частоты по порядку величины соответствуют критической температуре распада). Это соответствует модели распада молекулы, при которой распад происходит мгновенно при первом же касании молекулой горячего ТК. Время жизни достаточно горячего пятна (равно времени маркерной бомбардировки) оценим по скорости V распространения тепла в ТК. Верхний предел такой скорости V оценивается скоростью распространения звука в металле V5*105 см/сек. Полагая, как и в (1), что первичная энергия в треке у поверхности составляет 1 МэВ и, начиная с диаметра 1 микрона, успевает распространиться до маркерного пятна диаметром 1 миллиметр, получаем, что число атомов никеля в маркерном пятне на поверхности медного ТК составляет 1010 атомов. Другими словами, среднее расстояние между атомами никеля в маркерном пятне на поверхности медного ТК существенно меньше оптической длины волны, что позволяет обнаружить наличие такого пятна в оптический микроскоп (или даже невооруженным глазом – приведенная оценка числа атомов никеля занижена). Заметим, что современные микроанализаторы способны регистрировать десятки посторонних молекул на подложке и даже отдельные молекулы – туннельный микроскоп [4].
В качестве примера температурно-чувствительных твердотельных, жидких (и газообразных) материалов рассмотрены экзотермические реакционные смеси, способные к самораспространяющемуся высокотемпературному синтезу СВС, известному так же как “твердопламенное” горение [5]. Это тоже довольно обширный класс веществ, включающий как отдельные химические элементы (Н2, В, Al, С, N2, O2, Mg, Ti, Nb, Mo, Si, Ni, Fe), так и некоторые химические соединения (В2О3, Fe2О3, Cr2О3, МоО3, TiO2, NiO), и более сложные полифазные смеси.
СВС-реакция представляет собой сложный физико-химический процесс, который характеризуется экспериментальными макроскопическими параметрами, определенными для известного класса реакционных смесей: скорость горения 0.1-20 см/с, температура горения 2300-3800 К, скорость нагрева вещества в волне 103-106 град/с, мощность зажигания 10-200 кал/(см2с), задержка зажигания 0.2-1.2 с, температура зажигания 800-1200 К. Типичными СВС-реакциями являются реакции
Ni+Al=NiAl,
В2O3+TiO2+5Mg=TiB2+5MgO,
2Nb+2Li2O2+Ni2O5=4LiNbO3,
PbO+WO3=PbWO4,
2TiH2+N2=2TiN+2H2 и многие другие.
Удовлетворительную информацию о параметрах быстрой частицы (масса, заряд, энергия), способной поджечь СВС-смесь за счет торможения в объеме смеси, могут быть получены только экспериментально, но такие эксперименты нам неизвестны. С другой стороны, формальная оценка показывает, что -частица с энергией 10 МэВ при торможении в твердой СВС-смеси может обеспечить и достаточную мощность зажигания, и достаточную температуру зажигания, возможна также и “цепная сенсибилизация” смеси.
Отмеченная выше общность свойств значительного числа соединений, пригодных для маркерной регистрации частиц, рассматривается в качестве положительной предпосылки при создании нескольких типов устройств для регистрации заряженных частиц, отличающихся чувствительностью в широком диапазоне некриогенных температур.
В последние годы быстро развивается физика рассеяния в пучках релятивистских тяжелых ядер, обладающих высокой степенью удельной ионизации. При этом в качестве рассеивателя предпочтительно иметь мишень с высокой плотностью нуклонов, для чего и предлагается использовать тепловой конвертор с высоким атомным номером. Регистрация с помощью подобного ТК многозарядных энергичных частиц, а также ядер отдачи, возникающих вблизи поверхности регистрирующей пластины за счет столкновения с энергичной ядерной частицей (или с ее кулоновским полем), может быть достаточно эффективной.
Предлагаемый способ детектирования может быть использован и для регистрации быстрых космических микрометеоридов. Это частицы (с химическим составом, близким к углистым хондритам), которые приближаются к Земле со скоростью большей, чем вторая космическая (11.2 км/с) и (при плотности около 3 г/см3), имеют массу 3*10-10 г. Энергия, выделяемая таким микрометеоридом на поверхности ТК, на 5-7 порядков превышает величину 1 МэВ, так что при регистрации микрометеоридов оценка (1) прогнозирует возможность регистрации частиц с массой, существенно меньшей, чем 3*10-10 г.
Источники информации
Формула изобретения
1. Способ регистрации заряженных частиц, основанный на регистрации трека частицы, отличающийся тем, что используют тепловой конвертор, который погружают в атмосферу рабочего температурно-чувствительного газа или наносят на его поверхность температурно-чувствительный слой регистрирующего вещества, после чего преобразуют часть энергии регистрируемой частицы в тепло на поверхности конвертора, а затем используют повышение температуры в приповерхностной области трека на тепловом конверторе для выделения либо распадных компонент молекул температурно-чувствительного газа, либо для активации экзотермической или цепной химической реакции на поверхности конвертора.
2. Устройство для регистрации заряженных частиц, содержащее чувствительное регистрирующее вещество в виде рабочего газа, отличающееся тем, что дополнительно введен тепловой конвертор, помещенный в объем рабочего газа, в качестве которого выбран один из карбонилов металла.
3. Устройство для регистрации заряженных частиц, содержащее поверхностно-чувствительное регистрирующее вещество, отличающееся тем, что дополнительно введен тепловой конвертор, поверхность которого покрыта периодической структурой из температурно-чувствительного регистрирующего материала.
РИСУНКИ
|
|