|
|
(21), (22) Заявка: 2004138348/28, 27.12.2004
(24) Дата начала отсчета срока действия патента:
27.12.2004
(46) Опубликовано: 27.01.2007
(56) Список документов, цитированных в отчете о поиске:
RU 34302 U1, 27.11.2003. RU 27768 U1, 10.02.2003. US 3952216 A, 20.04.1976. Б.К.Новиков, В,И.Тимошенко, Параметрические антенны в гидролокации, Л., Судостроение, 1990, с.213.
Адрес для переписки:
197376, Санкт-Петербург, Чкаловский пр., 46, ОАО “Концерн “Океанприбор”
|
(72) Автор(ы):
Березина Надежда Сергеевна (RU), Гоц Александр Алексеевич (RU), Королева Татьяна Павловна (RU)
(73) Патентообладатель(и):
Федеральное государственное унитарное предприятие “Центральный научно-исследовательский институт “Морфизприбор” (RU)
|
(54) ГИДРОАКУСТИЧЕСКАЯ АНТЕННА НАКАЧКИ
(57) Реферат:
Изобретение относится к гидроакустической технике и может быть использовано в параметрических излучающих антеннах гидроакустических доплеровских лагов и эхолотов. Технический результат: расширение функциональных возможностей за счет создания возможности использования антенны в двух режимах формирования характеристики направленности: характеристики направленности с одним основным лепестком и характеристики направленности с двумя основными лепестками. Сущность: антенна выполнена в виде многоэлементной дискретной антенной решетки, имеющей плоскую апертуру. Антенна содержит стержневые пьезоэлементы двух типов, имеющие резонансные частоты, равные верхней и нижней частотам накачки, и тыльный экран, заключенные в общий корпус, герметизированный по рабочей поверхности по крайней мере одним звукопрозрачным слоем. Пьезоэлементы размещены рядами. В каждом ряду находятся пьезоэлементы одного типа. Ряды с пьезоэлементами разного типа чередуются между собой. Расстояние между центрами рядов с пьезоэлементами одного типа не превышает длины звуковой волны в воде на верхней частоте накачки. Пьезоэлементы внутри ряда сгруппированы в чередующиеся секции равной протяженности. Отношение протяженности секций, образованных пьезоэлементами разных типов, обратно пропорционально их резонансным частотам. Пьезоэлементы, образующие секцию, соединены между собой параллельно. Секции пьезоэлементов каждого типа объединены в две группы. Смежные в ряду секции включены в разные группы. Секции, входящие в группу, соединены между собой параллельно. 4 з.п. ф-лы, 6 ил.
Изобретение относится к гидроакустической технике и может быть использовано в параметрических излучающих антеннах гидроакустических доплеровских лагов и эхолотов.
Излучающая параметрическая антенна должна обеспечивать одновременное излучение в заданный сектор пространства двух звуковых волн с разными частотами, называемых волнами накачки. Вследствие нелинейного взаимодействия этих волн в среде генерируется звуковая волна с частотой, равной разности частот волн накачки. Характеристика направленности антенны на разностной частоте может быть приближенно определена как произведение характеристик направленности на частотах накачки. Преимуществом параметрических антенн является возможность при небольших размерах антенны формировать на низкой частоте характеристики направленности с узким основным лепестком и очень низким уровнем бокового поля.
Известна конструкция гидроакустической антенны накачки, в которой возбуждение двух волн на частотах накачки производится с помощью пьезокерамического диска [1, стр.207]. Для формирования электрических сигналов используется одноканальный метод с использованием биений двух частот. Такая конструкция проста и технологична, но ее недостатками являются низкая эффективность электроакустического преобразования и отсутствие возможности управлений характеристикой направленности.
Известен двухчастотный преобразователь, предназначенный для работы в режиме излучения и приема [2]. Конструкция представляет собой низкочастотный стержневой преобразователь с накладкой в виде мозаичной системы стержневых высокочастотных преобразователей. Эта накладка и используется для излучения волн накачки. В режиме излучения высокочастотные сигналы на верхней и нижней частотах накачки подаются на преобразователи накладки, остальная часть устройства играет роль пассивных элементов. В этой конструкции реализация двухканального режима излучения, который является наиболее эффективным для параметрических излучающих антенн, не дает преимуществ, так как все преобразователи одинаковы по резонансной частоте.
Известна многоэлементная гидроакустическая антенна накачки, совпадающая с предлагаемой по наибольшему числу общих признаков [1, стр.213]. Эта антенна обеспечивает излучение волн накачки с достаточно высокой эффективностью, однако она не является универсальной, так как ее характеристика направленности имеет один основной лепесток в направлении нормали к ее поверхности. Поэтому известная антенна может использоваться в качестве излучающей антенны параметрического гидролокатора или эхолота, но не пригодна для использования в качестве антенны гидроакустического лага, для которой необходима характеристика направленности, имеющая два основных лепестка, отклоненных от нормали к поверхности антенны на некоторый угол.
Антенна-прототип выполнена в виде многоэлементной дискретной антенной решетки, имеет плоскую апертуру, содержит стержневые пьезоэлементы двух типов, соответственно имеющие резонансные частоты, равные верхней и нижней частотам накачки, и тыльный экран, заключенные в общий корпус, герметизированный по рабочей поверхности звукопрозрачным слоем. Стержневые пьезоэлементы разных типов в решетке расположены в шахматном порядке.
Недостатком этой антенны является отсутствие универсальности. Являясь пригодной для работы в качестве антенны эхолота навигационного комплекса судна, она не может обеспечить работу комплекса в режиме гидроакустического лага.
Задача изобретения состоит в том, чтобы создать унифицированную гидроакустическую антенну накачки, обеспечивающую эффективное излучение волн накачки при работе навигационного комплекса судна как в режиме эхолота, так и в режиме гидроакустического доплеровского лага.
Для решения поставленной задачи в гидроакустическую антенну накачки в виде многоэлементной дискретной антенной решетки, имеющей плоскую апертуру, содержащую стержневые пьезоэлементы двух типов, соответственно имеющие резонансные частоты, равные верхней и нижней частотам накачки, и тыльный экран, заключенные в общий корпус, герметизированный по рабочей поверхности по крайней мере одним звукопрозрачным слоем, введены новые признаки, а именно: стержневые пьезоэлементы размещены рядами, и в каждом ряду находятся стержневые пьезоэлементы одного типа, ряды со стержневыми пьезозлементами разного типа чередуются между собой, расстояние между центрами рядов со стержневыми пьезоэлементами одного типа не превышает длины звуковой волны в воде на верхней частоте накачки, стержневые пьезоэлементы внутри ряда сгруппированы в чередующиеся секции равной протяженности, при этом отношение протяженности секций, образованных стержневыми пьезоэлементами разных типов, обратно пропорционально их резонансным частотам; стержневые пьезоэлементы, образующие секцию, соединены между собой параллельно, электрическим монтажом секции стержневых пьезозлементов каждого типа объединены в две группы таким образом, что смежные в одном ряду секции включены в разные группы, и секции, входящие в группу, соединены между собой параллельно.
Для упрощения монтажа один из выводов от двух групп стержневых пьезоэлементов одного типа, например вывод от электродов на внешней (рабочей) поверхности, может быть общим. При этом достигается минимизация затенения монтажом рабочей поверхности антенны, но одновременно усложняется проблема согласования антенны с возбуждающим генератором, так как при переходе от одного режима формирования характеристики направленности к другому параллельное соединение двух групп секций заменяется на их последовательное соединение. Соответственно в 4 раза возрастает входной электрический импеданс антенны
Также для упрощения монтажа стержневые пьезоэлементы одного типа в разных группах могут иметь противоположное направление поляризации. Это может быть удобным в том случае, когда антенна предназначается для работы только в режиме формирования двухлепестковой характеристики направленности, и общими могут быть оба вывода от двух групп стержневых пьезоэлементов одного типа
В ряде случаев, когда антенна предназначается для эксплуатации при повышенном гидростатическом давлении, для обеспечения прочности при сохранении электроакустических характеристик, внутренний объем корпуса должен быть заполнен упругой средой с волновым сопротивлением, близким к с воды.
Наиболее эффективное экранирование излучения от тыльных поверхностей стержневых пьезоэлементов, помещенных в корпус, заполненный упругой средой с волновым сопротивлением, близким к с воды, достигается с использованием жесткого, как правило, выполненного из стали, экрана, когда расстояние между поверхностью тыльного экрана и тыльной поверхностью стержневого пьезоэлемента равно четверти длины волны звука в упругой среде, заполняющей корпус. Так как стержневые пьезоэлементы разных типов могут иметь разную высоту, тыльная поверхность многоэлементной дискретной антенной решетки может иметь ступенчатую структуру. В этом случае для обеспечения наиболее эффективного экранирования обращенная к тыльной поверхности многоэлементной дискретной антенной решетки поверхность тыльного экрана должна иметь ответную ступенчатую структуру.
Техническим результатом от использования изобретения является расширение функциональных возможностей гидроакустической антенны накачки, т.е. создание возможности использования предложенной антенны накачки в двух режимах формирования характеристики направленности: характеристики направленности с одним основным лепестком и характеристики направленности с двумя основными лепестками. Этот результат достигается за счет предложенной структуры разделения элементов антенны на секции. При синфазном возбуждении всех секций стержневых пьезоэлементов каждого типа на соответствующей частоте антенна обеспечивает на обеих частотах накачки формирование характеристики направленности с одним основным лепестком, ось которого перпендикулярна апертуре антенны.
При противофазном возбуждении смежных секций стержневых пьезоэлементов каждого типа на соответствующей частоте антенна обеспечивает на обеих частотах накачки формирование характеристики направленности с двумя основными лепестками, оси которых лежат в плоскости, перпендикулярной апертуре, параллельной направлению рядов, и отклонены от нормали к апертуре на угол ± , удовлетворяющий условию sin =± /2d, где – длина волны звука в воде на соответствующей частоте, d – протяженность секции. Предложенное соотношение протяженности секций стержневых пьезоэлементов разных типов обеспечивает совпадение направлений осей основных лепестков характеристики направленности на обеих частотах накачки. Предложенное ограничение на отношение расстояния между центрами рядов со стержневыми пьезоэлементами одного типа к длине звуковой волны в воде на верхней частоте накачки обеспечивает отсутствие «паразитных» дополнительных лепестков характеристики направленности на обеих частотах.
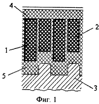
Сущность изобретения поясняется на примере конструкции предлагаемой антенны накачки, у которой нижняя частота накачки составляет 75 кГц, верхняя – 100 кГц (фиг.1 – 6).
На фиг.1 приведен пример выполнения конструкции антенны; на фиг.2 – схемы электрического монтажа с резонансной частотой 75 кГц; на фиг.3 – схемы электрического монтажа рядов стержневых пьезоэлементов с резонансной частотой 100 кГц; на фиг.4 – схематическое изображение рабочей поверхности антенны; на фиг 5 – характеристики направленности антенны в режиме формирования двухлучевой ХН; на фиг.6 – характеристики направленности антенны в режиме формирования однолучевой ХН.
В данном примере антенна представляет собой многоэлементную дискретную антенную решетку, имеющую плоскую, ограниченную окружностью апертуру, содержащую стержневые пьезоэлементы двух типов, соответственно имеющие резонансные частоты, равные верхней и нижней частотам накачки, и тыльный экран, заключенные в общий корпус, герметизированный по рабочей поверхности звукопрозрачным слоем. Пьезоэлементы с резонансной частотой 75 кГц представляют собой стержни состава ЦТБС-3 с размерами 5,1×5,1×21 мм. Пьезоэлементы с резонансной частотой 100 кГц представляют собой стержни состава ЦТБС-3 с размерами 5,1×5,1×16 мм. Электроды нанесены на торцевые поверхности стержней. Стержневые пьезоэлементы размещены рядами, и в каждом ряду находятся стержневые пьезоэлементы одного типа, ряды со стержневыми пьезоэлементами разного типа чередуются между собой. Излучающие поверхности стержневых пьезоэлементов обоих типов находятся в одной плоскости. Размер «окна», занимаемого одним стержневым пьезоэлементом на рабочей поверхности антенны, – 6,3×6,3 мм2. Всего антенна включает в себя 224 стержневых пьезоэлементов с резонансной частотой 100 кГц и 216 стержневых пьезоэлементов с резонансной частотой 75 кГц. Перед излучающей поверхностью размещен герметизирующий слой, выполненный из звукопрозрачной резины.
Тыльные поверхности рядов стержневых пьезоэлементов представляют собой ступенчатую структуру. За тыльной поверхностью стержневых пьезоэлементов помещен экран из стали, также имеющий ступенчатую форму. Зазоры между стержневыми пьезоэлементами и между тыльными поверхностями стержневых пьезоэлементов и экраном заполнены полиуретановым компаундом. Расстояние между поверхностью тыльного экрана и тыльными поверхностями стержневых пьезоэлементов разных типов равно четверти длины волны звука в полиуретановом компаунде на соответствующей частоте.
Обеспечение различия резонансных частот для стержневых элементов двух типов может быть получено выполнением их из пьезокерамики разных составов, имеющих различную скорость звука. При этом стержневые пьезоэлементы могут иметь одинаковую высоту, и конструкция антенны становится более простой, однако не для всех частот накачки нужные составы пьезокерамики могут быть подобраны.
Расстояние между центрами рядов стержневых пьезоэлементов одного типа равно 12,6 мм, что составляет 0,84 длины волны в воде на частоте 100 кГц.
Схема конструкции антенны показана на фиг.1, где 1 – пьезоэлементы с резонансной частотой 100 кГц; 2 – пьезоэлементы с резонансной частотой 75 кГц; 3 – тыльный экран; 4 – герметизирующий слой; 5 – полиуретановый компаунд.
Стержневые пьезоэлементы с резонансной частотой 100 кГц электрическим монтажом сгруппированы в рядах в чередующиеся секции с периодичностью четыре преобразователя. Стержневые пьезоэлементы с резонансной частотой 75 кГц электрическим монтажом сгруппированы в рядах в чередующиеся секции с периодичностью три преобразователя. Электрический монтаж на передней поверхности антенны осуществляется соединением электродов стержневых пьезоэлементов одного типа вдоль рядов одной высоты. Электрический монтаж на тыльной поверхности антенны осуществляется следующим образом: секции стержневых пьезоэлементов каждого типа объединены в две группы, так что смежные секции в рядах отнесены к разным группам, и электроды стержневых пьезоэлементов, принадлежащих группе, соединены между собой. Схема электрического монтажа ряда стержневых пьезоэлементов с резонансной частотой 100 кГц в двух вариантах исполнения показана на фиг.2а, 2б, с резонансной частотой 75 кГц – на фиг.3а, 3б. В варианте исполнения фиг.2а, 3а направления поляризации стержневых пьезоэлементов смежных секций совпадают, в варианте исполнения фиг.2б, 3б стержневые пьезоэлементы смежных секций поляризованы в противоположных направлениях. На фиг.2, 3 обозначены: 6 – вывод от электродов на рабочих поверхностях стержневых пьезоэлементов с резонансной частотой 100 кГц; 7 и 8 – выводы от электродов на тыльных поверхностях групп секций стержневых пьезоэлементов с резонансной частотой 100 кГц; 9 – вывод от электродов на рабочих поверхностях стержневых пьезоэлементов с резонансной частотой 75 кГц; 10 и 11 – выводы от электродов на тыльных поверхностях групп секций стержневых пьезоэлементов с резонансной частотой 75 кГц. Группы стержневых пьезоэлементов каждого типа, объединенные по рядам, соединяются параллельно. Два вывода от групп стержневых пьезоэлементов каждого типа могут быть и не объединены, и тогда антенна имеет по 4 самостоятельных электрических вывода от каждого канала (с частотой 75 кГц и с частотой 100 кГц), это может быть удобно при коммутации и подсоединении к генератору, но усложняет монтаж и увеличивает степень затенения им рабочей поверхности.
Взаимное расположение стержневых пьезоэлементов в антенне показано на фиг.4.
Смежные секции стержневых пьезоэлементов с резонансной частотой 100 кГц обозначены на фиг.4 белым и черным цветом. Смежные секции стержневых пьезоэлементов с резонансной частотой 75 кГц обозначены на фиг.4 двумя оттенками серого цвета.
Волновой размер группы стержневых пьезоэлементов обоих типов, образующих секцию, составляет 1,28 .
Работа антенны происходит следующим образом. В случае выполнения электрического монтажа в соответствии с фиг.2а, 3а в режиме формирования однолучевой ХН электрическое напряжение на нижней частоте накачки подается между соединенными вместе выводами 7 и 8 и выводом 6; на верхней частоте накачки – между соединенными вместе выводами 10 и 11 и выводом 9. Вследствие пьезоэффекта возбуждаются продольные колебания стержневых пьезоэлементов низкочастотного и высокочастотного каналов антенны соответственно на низкой и высокой частоте накачки, при этом все стержневые пьезоэлементы каждого канала колеблются синфазно. Акустическая энергия излучается с передних (рабочих) поверхностей стержневых пьезоэлементов, и вследствие интерференции акустических волн на обеих частотах в дальнем поле формируется характеристика направленности с одним основным лепестком, ось которого перпендикулярна рабочей поверхности антенны.
В режиме формирования двухлучевой ХН электрическое напряжение на нижней частоте накачки подается между выводами 7 и 8; на верхней частоте накачки – между выводами 10 и 11. Вследствие пьезоэффекта возбуждаются продольные колебания стержневых пьезоэлементов низкочастотного и высокочастотного каналов антенны соответственно на низкой и высокой частоте накачки, при этом стержневые пьезоэлементы смежных секций каждого канала колеблются с противоположными фазами. Акустическая энергия излучается с передних (рабочих) поверхностей стержневых пьезоэлементов, и вследствие интерференции акустических волн на обеих частотах в дальнем поле формируется характеристика направленности с двумя основными лепестками, оси которых лежат в плоскости, перпендикулярной апертуре, параллельной направлению рядов, и отклонены от нормали к апертуре на угол ± , удовлетворяющий условию sin =± /2d, где – длина волны звука в воде на соответствующей частоте, d – протяженность секции. Так как отношения d/ на обеих частотах накачки одинаковы, направления осей основных лепестков характеристик направленности совпадают.
В случае выполнения электрического монтажа в соответствии с фиг.2б, 3б в режиме формирования однолучевой ХН электрическое напряжение на нижней частоте накачки следует подавать между выводами 7 и 8; на верхней частоте накачки – между выводами 10 и 11. В режиме формирования двухлучевой ХН электрическое напряжение на нижней частоте накачки следует подавать между соединенными вместе выводами 7 и 8 и выводом 6; на верхней частоте накачки – между соединенными вместе выводами 10 и 11 и выводом 9.
Экспериментальная отработка предлагаемой антенны была проведена на макете, выполненном в полном соответствии с вышеописанной конструкцией, представленной на фиг.1-4. Представленные на фиг, 5 и 6 характеристики направленности макета (кривая 1 – на частоте 75 кГц, кривая 2 – на частоте 100 кГц) при работе в режиме формирования однолучевой ХН (фиг.5) и двухлучевой ХН (фиг.6) подтверждают, что заявленный технический результат – создание унифицированной гидроакустической антенны накачки, обеспечивающей эффективное излучение волн накачки при работе навигационного комплекса судна как в режиме эхолота, так и в режиме гидроакустического доплеровского лага, достигнут.
Источники информации
1. Б.К.Новиков, В.И.Тимошенко. Параметрические антенны в гидролокации, Ленинград, Судостроение, 1990 г.
2. Патент США №3952216 от 20.04.1976 г.
Формула изобретения
1. Гидроакустическая антенна накачки в виде многоэлементной дискретной антенной решетки, имеющей плоскую апертуру, содержащая стержневые пьезоэлементы двух типов, соответственно имеющие резонансные частоты, равные верхней и нижней частотам накачки, и тыльный экран, заключенные в общий корпус, герметизированный по рабочей поверхности по крайней мере одним звукопрозрачным слоем, отличающаяся тем, что стержневые пьезоэлементы размещены рядами и в каждом ряду находятся стержневые пьезоэлементы одного типа, ряды со стержневыми пьезоэлементами разного типа чередуются между собой, расстояние между центрами рядов со стержневыми пьезоэлементами одного типа не превышает длины звуковой волны в воде на верхней частоте накачки, стержневые пьезоэлементы внутри ряда сгруппированы в чередующиеся секции равной протяженности, при этом отношение протяженности секций, образованных стержневыми пьезоэлементами разных типов, обратно пропорционально их резонансным частотам; стержневые пьезоэлементы, образующие секцию, соединены между собой параллельно, электрическим монтажом секции стержневых пьезоэлементов каждого типа объединены в две группы, при этом смежные в ряду секции включены в разные группы и секции, входящие в группу, соединены между собой параллельно.
2. Гидроакустическая антенна по п.1, отличающаяся тем, что один из выводов от двух групп стержневых пьезоэлементов одного типа является общим.
3. Гидроакустическая антенна по п.1, отличающаяся тем, что стержневые пьезоэлементы одного типа в разных группах имеют противоположное направление поляризации.
4. Гидроакустическая антенна по п.1, отличающаяся тем, что внутренний объем корпуса заполнен упругой средой с волновым сопротивлением, близким к с воды, где – плотность воды, с – скорость звука в воде.
5. Гидроакустическая антенна по п.1, или 2, или 3, или 4, отличающаяся тем, что стержневые пьезоэлементы разных типов имеют разную высоту, при этом тыльная поверхность многоэлементной дискретной антенной решетки имеет ступенчатую структуру, обращенная к ней поверхность тыльного экрана имеет ответную ступенчатую структуру, при этом расстояние по нормали между поверхностью экрана и тыльной поверхностью каждого стержневого пьезоэлемента составляет 1/4 длины волны на его резонансной частоте в материале, заполняющем корпус.
РИСУНКИ
|
|