|
|
(21), (22) Заявка: 2004112999/28, 27.04.2004
(24) Дата начала отсчета срока действия патента:
27.04.2004
(43) Дата публикации заявки: 20.10.2005
(46) Опубликовано: 27.01.2007
(56) Список документов, цитированных в отчете о поиске:
SU 1469370 А1, 30.03.1989. SU 1453196 А1, 23.01.1989. SU 811089 А1, 07.03.1981. SU 1548693 А1, 07.03.1990.
Адрес для переписки:
456770, Челябинская обл., г. Снежинск, ул. Васильева, 13, а/я 245, ФГУП РФЯЦ-ВНИИТФ, Отдел интеллектуальной собственности, Г.В. Бакалову
|
(72) Автор(ы):
Глазырина Любовь Митрофановна (RU), Карповицкий Михаил Степанович (RU), Ключников Александр Васильевич (RU), Мальгин Анатолий Иванович (RU), Смирнов Геннадий Григорьевич (RU), Фомин Юрий Павлович (RU)
(73) Патентообладатель(и):
Федеральное государственное унитарное предприятие “РОССИЙСКИЙ ФЕДЕРАЛЬНЫЙ ЯДЕРНЫЙ ЦЕНТР-ВСЕРОССИЙСКИЙ НАУЧНО-ИССЛЕДОВАТЕЛЬСКИЙ ИНСТИТУТ ТЕХНИЧЕСКОЙ ФИЗИКИ ИМ. АКАД. Е.И. ЗАБАБАХИНА” (ФГУП РФЯЦ-ВНИИТФ) (RU)
|
(54) БАЛАНСИРОВОЧНЫЙ СТЕНД С ВЕРТИКАЛЬНОЙ ОСЬЮ ВРАЩЕНИЯ
(57) Реферат:
Изобретение обеспечивает динамическую прецизионную балансировку роторов, предпочтительно тех, конструкция которых исключает возможность их балансировки при больших скоростях вращения. Балансировочный стенд содержит фундамент 1 с вертикальной стойкой 2, на которой закреплены верхняя и нижняя колебательные подвески 3 и 4, выполненные идентичными. Каждая подвеска представляет собой единую деталь, образованную упругими консольными пластинами и массивным основанием. В подвесках закреплены опоры 7 и 8, представляющие собой конические газостатические подшипники. На массивных основаниях каждой колебательной подвески выполнены жесткие базовые выступы, на которых размещены силоизмерительные датчики, контактирующие с упругими консольными пластинами. В опорах 7 и 8 установлен тонкостенный технологический переходник 12, внутри которого зафиксирован испытуемый ротор 13. Внутренняя поверхность переходника 12 снабжена базовыми опорными поверхностями, соответствующими геометрии балансируемого ротора, что позволяет использовать одни и те же дорогостоящие газостатические подшипники для роторов различной геометрии. В верхней газостатической опоре 7 размещен пневматический механизм разгона, а в нижней опоре 8 – пневматический механизм торможения. Технический результат – возможность произвести прецизионную балансировку роторов при небольших скоростях вращения и с максимально возможной точностью за счет высокой точности измерения дисбаланса. 1 з.п. ф-лы, 4 ил.
Изобретение относится к балансировочным средствам диагностики, а именно к стендам с вертикальной осью вращения, и может быть использовано для динамической балансировки роторов, конструкция которых исключает возможность их балансировки при больших скоростях вращения.
Подобные задачи возникают, например, в том случае, когда оболочка ротора имеет тонкие стенки, и деформации от вращения вносят существенные погрешности, или, если внутренне элементы ротора могут сместиться по тем же причинам. К таким устройствам относятся, например, тонкостенные спутниковые узлы, нежесткие сборки типа разворачивающихся в невесомости антенн, роторы, внутри которых нежестко размещена геофизическая аппаратура или сейсмические датчики.
Широко известны балансировочные средства диагностики, выпускаемые такими известными фирмами, как Carl Schenk AG (Германия) и ДИАМЕХ (Россия). Имеются среди них и вертикальные балансировочные станки, но они предназначены для балансировки конкретных конструкций роторов. В частности, станок В 1500 фирмы ДИАМЕХ предназначен для балансировки дисков и колес при высоких скоростях вращения.
Известен балансировочный стенд с вертикальной осью вращения, содержащий закрепленную на массивном основании колебательную систему с опорами, в которые устанавливается ротор. Опоры связаны с основанием упругими пластинами. В нем имеются также датчики измерения дисбаланса и привод вращения ротора (авторское свидетельство СССР №1453196, МПК G 01 M 01/00 от 29.07.87).
Указанный стенд также работает в диапазоне больших угловых скоростей вращения, порядка 10-100 Гц. При таких скоростях вращения ротора чувствительность к дисбалансу, которая пропорциональна квадрату угловой скорости, многократно возрастает. Механические опоры вращения не обеспечивают надежной прецизионной центровки ротора и вносят собственную погрешность в результат измерения.
В качестве прототипа выбран балансировочный стенд с вертикальной осью вращения, содержащий закрепленные на вертикальной стойке фундамента колебательные подвески с упругими пластинами и опорами в виде соосных конических газостатических подшипников, в одном из которых выполнен пневмопривод вращения, а в другом – пневмотормоз. Стенд имеет также силоизмерительные датчики, установленные в колебательных подвесках («Современные технологии автоматизации», №4, 2001, с.48-49).
Данная конструкция стенда позволяет производить прецизионную диагностику ротора на малых скоростях вращения. Однако погрешность измерения реакции опор на проявления динамической неуравновешенности ротора при его вращении остается несколько завышенной. Кроме того, при испытании роторов, отличающихся друг от друга посадочными местами для установки в опоры, т.е. геометрией, приходится производить переустановку дорогих газостатических подшипников, что крайне неэкономично.
Задачей является доработка конструкции стенда с тем, чтобы устранить указанные недостатки и сделать его более унифицированным.
Поставленная задача решается тем, что в балансировочном стенде с вертикальной осью вращения, содержащем закрепленные на вертикальной стойке фундамента колебательные подвески с упругими пластинами и опорами в виде соосных конических газостатических подшипников, в одном из которых выполнен пневмопривод вращения ротора, а в другом – пневмотормоз, а также силоизмерительные датчики, установленные в подвесках, согласно изобретению упругие пластины для каждой опоры выполнены консольными в виде единой детали заодно с собственным массивным основанием, закрепленным на вертикальной стойке, на котором с обеих сторон выполнены жесткие выступы для установки на них на расстоянии примерно 1/5 длины пластин от массивного основания силоизмерительных датчиков с обеспечением касания упругих пластин, при этом стенд снабжен жестким тонкостенным переходником, наружная боковая поверхность которого соответствует ответным поверхностям конических газостатических подшипников, а внутренняя поверхность выполнена соответствующей базовым посадочным поверхностям балансируемого ротора.
Выполнение упругих пластин консольными и заодно с основанием, закрепленным на вертикальной стойке, обеспечивает повышение точности измерения параметров ответной реакции упругой подвески на возникающий дисбаланс, а также повышает стабильность этих измерений при колебаниях температуры. Место размещения датчиков также повышает точность измерения, поскольку жесткие базовые выступы и плечо установки, равное 1/5 длины пластины, увеличивают чувствительность измерительной схемы, по которой включены силоизмерительные датчики. Применение жесткого тонкостенного переходника, позволяет балансировать роторы различной геометрии без смены подшипников – опор и защитить поверхность балансируемых роторов от повреждений. Все это вместе позволяет производить вертикальную балансировку различных роторов при обеспечении высокой точности даже при малых скоростях вращения.
Кроме того, стенд может быть снабжен эталонным телом, массоцентровочные характеристики и базовые посадочные поверхности которого соответствуют указанным характеристикам и поверхностям балансируемого ротора.
Эталонное тело целесообразно изготовить с погрешностями массо-центровочных измерительных характеристик в 2,5-3 раза меньшими, чем погрешности тех же характеристик балансируемого ротора. Для балансировки эталонного тела – ротора использовался горизонтальный балансировочный станок фирмы Schenck.
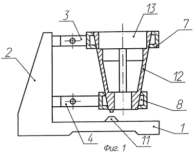
На фиг.1 и фиг.2 показан балансировочный стенд (главный вид и вид сверху, соответственно), на фиг.3 – сечение по пневмоприводу, на фиг.4 показан разрез технологического переходника с испытуемым ротором.
Балансировочный стенд содержит фундамент 1 с вертикальной стойкой 2, на которой закреплены верхняя и нижняя колебательные подвески 3 и 4, выполненные идентичными. Каждая подвеска представляет собой единую деталь, образованную упругими консольными пластинами 5 и массивным основанием 6. В пластинах 5 закреплены опоры 7 и 8, выполненные в виде конических газостатических подшипников. На массивных основаниях 6 каждой колебательной подвески выполнены жесткие базовые выступы 9, на которых размещены силоизмерительные датчики 10, контактирующие с упругими консольными пластинами 5. На фундаменте 1 размещен также датчик угловой скорости 11, выполненный в виде дискретной оптоэлектронной схемы. В опоры 7 и 8 устанавливается тонкостенный технологический переходник 12, внутри которого зафиксирован балансируемый ротор 13. В верхней газостатической опоре 7 размещен пневматический привод в виде пневматического механизма разгона вращения, а в нижней опоре 8 – пневматический механизм торможения. Пневматические механизмы разгона (пневмопривод) и торможения (пневмотормоз) выполнены с тангенциально расположенными пазами.
На фиг.3, где приведено сечение по пневмоприводу 14, показаны тангенциальные пазы 15, служащие для изменения направления подаваемого в них сжатого воздуха. Пневмотормоз отличается обратной ориентацией пазов для подачи воздуха.
Тонкостенный технологический переходник 12 (фиг.4) представляет собой кожух конической формы, на наружной поверхности которого выполнены две базовые поверхности 16 и 17 для взаимодействия с опорами 7 и 8 балансировочного стенда через воздушные зазоры. Внутренняя поверхность переходника 12 снабжена базовыми опорами 18 и 19, предназначенными для установки балансируемого ротора 13. Верхняя базовая опора 18 переходника 12 выполнена неподвижной, а нижняя базовая опора 19 выполнена подвижной вдоль продольной оси, что необходимо для обеспечения осевого базирования роторов, имеющих разброс геометрических параметров. Технологический переходник 12 снабжен профилированной крышкой 20 с винтами 21 для крепления к торцу переходника и резьбовыми шпильками 22, обеспечивающими осевую фиксацию ротора 13. На верхнем и нижнем торцах переходника выполнены резьбовые отверстия (не показаны) для крепления балансировочных грузов.
Балансировочный стенд с вертикальной осью вращения работает следующим образом.
После подачи сжатого воздуха в газостатические опоры 7 и 8 и установки на опоры технологического переходника 12 внутрь его устанавливают ротор 13 и фиксируют его с помощью крышки 20, винтов 21 и шпилек 22. При этом образуется сборный ротор, состоящий из технологического переходника 12 и собственно испытуемого ротора 13. Такой сборный ротор испытывает минимальное трение и прецизионно центрируется в газостатических опорах по наружной поверхности (зазоры не менее 0,05 мм).
В каждом пуске балансировочный стенд работает следующим образом. Сжатый воздух подают в тангенциальные пазы 15 пневмопривода вращения, расположенного в опоре 7, который за небольшое время (примерно 3-5 мин) раскручивает сборку до скорости вращения, чуть выше рабочей. Контроль скорости осуществляют датчиком 11 угловой скорости, например, оптоэлектронным или лазерным, после чего подачу воздуха в пневмопривод вращения прекращают. Все измерения вибраций проводят посредством силоизмерительных датчиков 10 при свободном вращении сборного ротора. Затем осуществляют торможение сборки до полного останова, подавая сжатый воздух в пневматический механизм торможения, расположенный в опоре 8.
Эталонный ротор, который предлагается вместе со стендом, необходим для проведения работ по тестированию нормируемых метрологических характеристик стенда, которые должны выполняться с определенной периодичностью.
Таким образом, предлагаемый балансировочный стенд обеспечивает прецизионную балансировку роторов при небольших скоростях вращения и с максимально возможной точностью за счет высокой точности измерения дисбаланса. Балансировочный стенд прошел испытания и готов к промышленному использованию.
Формула изобретения
1. Балансировочный стенд с вертикальной осью вращения, содержащий закрепленные на вертикальной стойке фундамента колебательные подвески с упругими пластинами и опорами, выполненными в виде соосных конических газостатических подшипников, в одном из которых выполнен пневмопривод вращения ротора, а в другом – пневмотормоз, а также силоизмерительные датчики, установленные в подвесках, отличающийся тем, что упругие пластины для каждой опоры выполнены консольными в виде единой детали заодно с собственным массивным основанием, закрепленным на вертикальной стойке, на котором с обеих сторон выполнены жесткие выступы для установки на них с обеспечением касания упругих пластин силоизмерительных датчиков дисбаланса на расстоянии примерно 1/5 длины пластин, при этом стенд снабжен жестким тонкостенным переходником, наружная боковая поверхность которого соответствует ответным поверхностям конических газостатических подшипников, а внутренняя поверхность выполнена соответствующей базовым посадочным поверхностям балансируемого ротора.
2. Балансировочный стенд с вертикальной осью вращения по п.1, отличающийся тем, что он снабжен эталонным телом, массоцентровочные характеристики и базовые посадочные поверхности которого соответствуют указанным характеристикам и поверхностям балансируемого ротора.
РИСУНКИ
|
|