|
|
(21), (22) Заявка: 2004135789/28, 06.12.2004
(24) Дата начала отсчета срока действия патента:
06.12.2004
(46) Опубликовано: 27.01.2007
(56) Список документов, цитированных в отчете о поиске:
RU 2123191 C1, 10.12.1998. RU 2221242 C1, 27.11.2004. SU 855576 A1, 15.08.1981. ЕР 0340953 А2, 08.11.1989. SU 639331 А1, 23.03.1992. US 4733378 А, 22.03.1988.
Адрес для переписки:
197376, Санкт-Петербург, Чкаловский пр., 46, ОАО “Концерн Океанприбор”
|
(72) Автор(ы):
Бородин Анатолий Михайлович (RU)
(73) Патентообладатель(и):
Федеральное государственное унитарное предприятие “Центральный научно-исследовательский институт “Морфизприбор” (RU)
|
(54) УЛЬТРАЗВУКОВОЙ УРОВНЕМЕР
(57) Реферат:
Изобретение относится к технике измерения уровня с помощью ультразвуковых волн и может быть использовано в качестве уровнемера, работающего в условиях высокого уровня шумов и импульсных помех. Сущность: уровнемер содержит последовательно соединенные генератор радиоимпульсов, усилитель, детектор, а также пьезовибратор, подсоединенный к генератору радиоимпульсов и усилителю, блок временной автоматической регулировки усиления (ВАРУ). При этом вход управления усилителя соединен с выходом блока временной автоматической регулировки усиления. Кроме того, в блок введены дисплей, микроконтроллер, компаратор, аттенюатор, измеритель временных интервалов, сумматор и формирователь порогового напряжения. Один выход микроконтроллера подключен к дисплею, а второй выход соединен со входами блока временной автоматической регулировки усиления, генератора формирователя порогового напряжения и измерителя временных интервалов, выход которого подключен ко входу микроконтроллера. Второй вход измерителя временных интервалов подключен к выходу компаратора, один из входов которого соединен со входом аттенюатора и выходом детектора, второй вход с выходом сумматора. Один вход сумматора соединен с аттенюатором, а второй вход с формирователем порогового напряжения. Технический результат: повышение помехоустойчивости и достоверности измерения. 4 ил.
Предлагаемое изобретение относится к технике измерения уровня жидкости в резервуаре с помощью ультразвука и может быть использовано в уровнемерах, работающих в условиях, когда в резервуаре с жидкостью присутствует высокий уровень гидроакустических шумов и импульсных помех.
В известном [1] ультразвуковом уровнемере “PROBE” фирмы “Siemens Miltronics” используется технология обработки эхо-сигналов, обеспечивающая высокую достоверность результатов измерения в условиях действия акустических шумов. Для достоверного измерения требуется провести “обучающее” заполнение резервуара для выявления помех и их учета в процессе измерения, однако, если в процессе работы возникают импульсные помехи, отличные от процесса “обучения”, возможны ложные измерения уровня.
В известной [2] “Акустической системе для измерения расстояния”, содержащей микропроцессор, память, ряд интерфейсов, дисплей, передатчик, приемник, электроакустический преобразователь, пороговый уровень для обнаружения эхо-сигналов поверхности формируется путем линейной регрессии эхо-сигналов в каждом цикле “излучение-прием”. Результаты сравнения эхо-сигналов с пороговым уровнем по нескольким циклам “излучение-прием” объединяются для выбора с наибольшей достоверностью истинных эхо-сигналов поверхности на основе обобщенных результатов.
При динамическом изменении уровня в резервуаре в работе “Акустической системы измерения расстояния” возможны пропуски в измерении уровня и ложные измерения вследствие быстрого временного смещения эхо-сигналов поверхности более чем на длительность эхо-сигнала за время одного цикла “излучение-прием”.
Наиболее близким по совокупности признаков к предлагаемому уровнемеру является “Эхолот” [3], который содержит пьезовибратор, усилитель, генератор, детектор, пороговое устройство, блок индикации, устройство измерения временных интервалов, синхронизирующее устройство, блок ВАРУ. В процессе обнаружения эхо-сигналов поверхности используется пороговый уровень, с которым сравнивается амплитуда эхо-сигналов.
В процессе работы уровнемеров на них воздействуют, помимо гидроакустических и электрических шумов, импульсные помехи, к которым можно отнести переотражения самого зондирующего импульса, зондирующие импульсы других активных систем, работающих в том же резервуаре, отражения от неоднородностей в измеряемой среде, от близко расположенных элементов конструкций (трубопроводы, провода, щели, шероховатые стенки, швы конструкций).
Недостатком прототипа является использование неадаптивного к уровню гидроакустических шумов и импульсных помех, изменяющихся во времени, что затрудняет правильное обнаружение эхо-сигналов поверхности и снижает помехоустойчивость эхолота и достоверность результатов измерения.
Известно, что для получения достоверных результатов измерения надо обеспечить соотношение сигнал/помеха на входе порогового устройства не ниже требуемого. Для этого необходимо в каждом цикле “излучение-прием” обеспечить во времени стационаризацию давления шумов и помех на входе усилителя и превышение давления эхо-сигнала на всей дистанции измерения над уровнем шумов и помех ([8], стр.139-143) в необходимое число раз, определяемое заданной достоверностью ([4], стр.74-76).
Для стационаризации амплитуды эхо-сигналов, гидроакустических шумов используются приемные усилители, охваченные временной автоматической регулировкой усиления (ВАРУ) ([4], стр.36), однако они не могут обеспечить полного выравнивания амплитуды гидроакустических шумов и помех в условиях не стационарного во времени затухания в измеряемой среде.
Применение изменяющегося порога, уменьшающегося во времени, также не может полностью скомпенсировать действие изменяющихся гидроакустических шумов и помех по тем же причинам, так как реальное распределение затухания в каждом конкретном резервуаре отличается от “заложенного” в закон изменения коэффициента усиления или напряжения порога.
Это затрудняет обнаружение эхо-сигналов поверхности в условиях действия шумов и импульсных помех и снижает помехоустойчивость уровнемеров и достоверность результатов.
Задачей изобретения является повышение помехоустойчивости уровнемера и достоверности измерений за счет использования адаптивного к уровню шумов и помех порога обнаружения эхо-сигналов поверхности.
Для решения поставленной задачи в уровнемер, содержащий последовательно соединенные генератор радиоимпульсов, усилитель, детектор, а также пьезовибратор, подсоединенный к генератору радиоимпульсов и усилителю, блок временной автоматической регулировки усиления, выход которого соединен со входом управления усилителя, дополнительно введены дисплей, микроконтроллер, компаратор, аттенюатор, измеритель временных интервалов, сумматор и формирователь порогового напряжения, причем один выход микроконтроллера подключен к дисплею, а второй выход соединен со входами блока временной автоматической регулировки усиления, генератора, формирователя порогового напряжения и измерителя временных интервалов, выход которого подключен ко входу микроконтроллера, а второй вход измерителя временных интервалов подключен к выходу компаратора, один из входов которого соединен со входом аттенюатора и выходом детектора, второй вход с выходом сумматора, один вход которого соединен с аттенюатором, а второй вход с формирователем порогового напряжения.
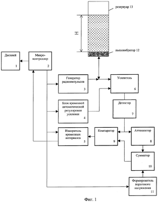
Сущность предлагаемого изобретения представлена на фиг.1, где:
1 – дисплей,
2 – микроконтроллер,
3 – генератор радиоимпульсов,
4 – блок временной автоматической регулировки усиления,
5 – измеритель временных интервалов,
6 – усилитель,
7 – детектор,
8 – аттенюатор,
9 – компаратор,
10 – сумматор,
11 – формирователь порогового напряжения,
12 – пьезовибратор,
13 – резервуар с жидкостью.
На фиг.2 приведены графики, иллюстрирующие работу уровнемера.
На фиг.3 приведен один из возможных вариантов блок-схемы формирователя порогового напряжения 11.
На фиг.4 приведен один из возможных вариантов блок-схемы измерителя временных интервалов 5.
Известно ([4], стр.76, ф.2.41), что с некоторой вероятностью в данном цикле “излучение-прием” напряжение шумов и помех может превысить напряжение порога, установленное с учетом необходимого соотношения сигнал/помеха, и тогда результаты измерения уровня будут являться ошибочными, то есть иметь низкую достоверность. Для повышения помехоустойчивости уровнемера необходимо изменять коэффициент усиления приемного усилителя во времени, чтобы стационаризировать напряжение шумов и помех на входе приемного устройства. Однако, как показывает опыт, только этого недостаточно. Необходимо формировать напряжение порога на входе порогового устройства (компаратора) с учетом текущего (в каждый момент времени цикла “излучение-прием”) значения напряжения шумов и помех, то есть сделать его адаптивным к уровню шумов и помех, что особенно важно, если преобладают импульсные помехи.
Для решения задачи формирования адаптивного порога необходимо часть напряжения огибающей эхо-сигнала с выхода детектора в каждом цикле “излучение-прием” суммировать с напряжением порога и подать на опорный вход компаратора напряжения, на сигнальный вход которого прямо с выхода детектора подается отфильтрованное напряжение огибающей эхо-сигнала.
Тем самым напряжение порога будет увеличиваться пропорционально величине напряжения шумов и помех в те же моменты времени, когда они присутствуют, а это увеличивает помехоустойчивость уровнемера и достоверность измерений.
Известно, что при распространении сигнала в среде, например в жидкости, происходит его затухание ([4], стр.70, ф.2.24) и, если ВАРУ неспособна скомпенсировать уменьшение амплитуды эхо-сигнала при существенном его затухании, например, на больших дистанциях, следует сделать порог также убывающим во времени от момента излучения зондирующего сигнала с тем, чтобы обеспечить по всей дистанции (для всех уровней измерения) примерно одинаковое соотношение сигнал/помеха.
Предлагаемый ультразвуковой уровнемер работает следующим образом.
Микроконтроллер 2 с периодом Т (фиг.2а) больше, чем время распространения зондирующего сигнала на максимально измеряемый уровень и обратно, вырабатывает импульс запуска длительностью , который запускает генератор радиоимпульсов 3, устанавливает в исходное состояние измеритель временных интервалов 5 и запускает блок временной автоматической регулировки усиления 4, который вырабатывает изменяющееся во времени напряжение и которое изменяет коэффициент усиления усилителя 6 от минимального к максимальному к концу цикла “излучение-прием”, то есть к следующему импульсу запуска. Также импульс запуска от микроконтроллера запускает формирователь порогового напряжения 11, с выхода которого на один из входов сумматора 10 поступает экспоненциально затухающее напряжение UПОР от UПОР.МАХ до UПОР.MIN (фиг.2б).
На фиг.3 приведен один из возможных вариантов блок-схемы формирователя порогового напряжения 11.
Формирователь порогового напряжения работает следующим образом.
При подаче импульса запуска длительностью на ключ он замыкается и конденсатор от источника опорного напряжения заряжается до опорного напряжения UПОР.МАХ=UОП, а затем разряжается через резистор R с постоянной разряда РАЗ=RC до напряжения задаваемого делителем, образованным последовательно соединенными упомянутыми ранее резистором и конденсатором и другим резистором R1, свободный вывод которого подключен к выходу источника опорного напряжения. Таким образом формируется на конденсаторе UПОР (фиг.2б) от UПОР.MAX до UПОР.MIN.
После запуска генератор 3 вырабатывает зондирующий импульс длительностью (фиг.2а) с заполнением частотой, равной рабочей частоте пьзовибратора 12. Зондирующий импульс поступает на пьезовибратор 12, который излучает его в жидкость. Пьезовибратор 12 помещен в резервуар с жидкостью, уровень которой необходимо измерить. Отраженный от поверхности эхо-сигнал преобразуется в пьезовибраторе 12 в напряжение и усиливается усилителем 6, который сжимает его динамический диапазон на глубину действия ВАРУ, и далее детектор 7 выделяет огибающую эхо-сигнала UС+П и фильтрует ее (фиг.2в, где UП – напряжение импульсной помехи, UС – напряжение эхо-сигнала поверхности). С выхода детектора 7 огибающая эхо-сигнала поступает на сигнальный вход компаратора 9 и вход аттенюатора 8. Ослабленное аттенюатором 8 в m раз напряжение огибающей эхо-сигнала поступает на второй вход сумматора 10, и с его выхода напряжение UА.ПОР (фиг.2г) поступает на опорный вход компаратора 9. Если напряжение UС+П на сигнальном входе компаратора 9 больше, чем на опорном UА.ПОР то компаратор 9 вырабатывает импульс tC (фиг.2д), передний фронт которого фиксирует в измерителе временных интервалов время tЗ, измеренное от момента излучения зондирующего импульса до момента превышения адаптивного порога UA.ПОР напряжением UC+П во время tC (фиг.2д).
На фиг.4 приведен один из возможных вариантов блок-схемы измерителя временных интервалов, который работает следующим образом.
При подаче на S-вход D-триггера импульса запуска от микроконтроллера выход D-триггера устанавливается в “1”, и разрешается работа таймера по подсчету числа поступивших импульсов И за время tЗ. Импульс с выхода компаратора 9 подается на тактовый вход D-триггера, при этом на D-вход D-триггера подан уровень логического нуля и устанавливает его выход в “0”, тем самым останавливает счет тактовых импульсов таймером. Микроконтроллер считывает число подсчитанных тактовых импульсов с известным периодом И и рассчитывает время задержки tЗ эхо-сигналов поверхности.
Далее микроконтроллер 2 считывает данные о времени tЗ из измерителя временных интервалов 5 и вычисляет по известной скорости звука С уровень Н=С·tЗ/2 и затем выводит уровень Н на дисплей 1 в цифровом виде.
Считывание микроконтроллером 2 данных из измерителя временных интервалов 5 может осуществляться либо по команде, формируемой измерителем временных интервалов 5, либо по переднему фронту импульса запуска (фиг.2а).
По прошествии времени Т микроконтроллер вновь вырабатывает импульс запуска, и начинается новый цикл “излучение-прием”.
Таким образом, в каждом цикле “излучение-прием” микроконтроллер рассчитывает измеренный уровень.
Необходимым условием для достоверной работы уровнемера является выполнение неравенств для одного и того же момента времени


то есть


где UA.ПОР – напряжение адаптивного порога;
UП – напряжение помехи;
UC – напряжение эхо-сигнала поверхности;
m – коэффициент деления аттенюатора 8.
Таким образом, видно, что отношение показывает степень увеличения помехоустойчивости уровнемера.
Рассмотрим пример.
Пусть UПОР=3 В, Uc=7 В, UП=5 В, m=2.
Тогда .
UA.ПОР>UП=5 В, следовательно, помеха не вызывает срабатывания компаратора 9, хотя UП>UПОР.
и сигнал вызовет срабатывание компаратора.
Или пусть UПОР=1,5 В, Uc=3,5 В, UП=2 В, m=2.
Тогда 
то есть помеха не обнаружится, а эхо-сигнал поверхности обнаружится.
Значение коэффициента деления m аттенюатора 8 необходимо устанавливать исходя из максимального значения амплитуды помехи и эхо-сигнала от поверхности жидкости, используя неравенства 1 и 2, либо сделать его переменным и регулировать в процессе работы уровнемера. Видно, что если m , то алгоритм работы предлагаемого уровнемера сводится к прототипу.
Также необходимо, чтобы напряжение эхо-сигнала от поверхности жидкости было больше напряжения импульсной помехи, что, как правило, выполнимо путем правильной ориентации пьезовибратора 12 в резервуаре с жидкостью 13 и выбором уровня излучаемой мощности пьезовибратора 12.
Таким образом, выбирая коэффициент деления m аттенюатора 8 и значения порогового напряжения UПОР.МАХ и UПОР.MIN, можно обеспечить достоверные измерения уровня даже в условиях, когда напряжение помехи ненамного меньше напряжения эхо-сигнала поверхности.
Для практического выполнения уровнемера в качестве микроконтроллера 2 применен микроконтроллер фирмы ATMEL AMEGA 8535, содержащий ОЗУ, ПЗУ и ряд необходимых интерфейсов.
В качестве генератора радиоимпульсов 3 используется генератор с внешним запуском ([5], рис.9, 10), к выходу которого подключен импульсный мостовой усилитель мощности, выполненный на МОП-транзисторах.
В качестве усилителя 6 применяется микросхема AD600 фирмы ANALOG DEVICES – усилитель с регулировкой коэффициента усиления напряжением 0…80 дБ.
В качестве детектора 7 используется операционный усилитель ОР467 по схеме, приведенной в ([6], стр.107, схема 3), с фильтром низкой частоты для выделения огибающей эхо-сигнала.
В качестве аттенюатора 8 применяется резистивный делитель, а если необходимо регулировать степень подавления импульсных помех, применять следует переменный резистор.
В качестве компаратора 9 используется микросхема 521СА3 в стандартном включении.
В качестве сумматора 10 используется быстродействующий операционный усилитель ОР467 фирмы ANALOG DEVICES.
В качестве формирователя порогового напряжения 11 используется источник опорного напряжения REF 192 фирмы ANALOG DEVICES, к выходу которого подключен интегральный ключ ADG 704, к выходу ключа подключены одним выводом параллельно соединенные резистор и конденсатор, другим выводом они подключены к общему проводу (фиг.3).
В случае, если нет необходимости иметь изменяющийся порог, следует снять импульс запуска с ключа, то есть держать его разомкнутым постоянно.
Блок ВАРУ 4 реализован на основе двоичного счетчика типа 1554ИЕ10, синхронизацию которого осуществляет обычный генератор импульсов на логических элементах И-НЕ типа 1554ЛА3, перебирающего последовательно адреса ПЗУ типа 27С256 объемом 32 к × 8 р, в котором записан закон ВАРУ, выходы данных ПЗУ должны быть подключены к входам цифроаналогового преобразователя типа AD7945, который и формирует на своем выходе изменяющееся напряжение ВАРУ от 0 В до +2,5 В, изменяющее коэффициент усиления усилителя на 80 дБ.
В качестве измерителя временных интервалов 5 используется программируемый интервальный таймер типа 82С54 [7], шины данных и управления которого подключены к шинам микроконтроллера, на тактовый вход которого подаются тактовые импульсы длительностью И от генератора импульсов, например, выполненного на основе логических элементов И-НЕ типа 1554ЛА3 и кварцевого резонатора, на вход стробирования которого подается импульс длительностью tЗ с выхода D-триггера 1554ТМ2.
Отметим, что конкретное выполнение измерителя временных интервалов не является определяющим при работе уровнемера.
В качестве дисплея 1 используется символьный ЖК-индикатор типа PC1602L фирмы POWERTIP.
Следует отметить, что при выборе элементной базы компаратора и сумматора следует учитывать то, что задержка распространения сигнала через аттенюатор и сумматор должна быть меньше времени срабатывания компаратора, что можно осуществить выбором в качестве сумматора широкополосного операционного усилителя, а в качестве компаратора – либо стандартного компаратора, либо стандартного операционного усилителя.
В качестве пьезовибратора 12 используется пьезокерамическая пластина в виде круглого плоского поршня, помещенная в корпус и загерметизированная полиуретаном.
Применение адаптивного порога позволяет с высокой достоверностью обнаруживать эхо-сигналы поверхности в условиях действия высокого уровня шумов и импульсных помех, обусловленных наличием в измеряемой среде дестабилизирующих факторов.
Достоинствами описанного измерителя уровня являются его полностью автоматическая работа, малогабаритность, высокая помехоустойчивость, что позволяет использовать его в условиях, где рядом работают другие активные измерительные системы, а также на подвижных носителях. Высокое быстродействие позволяет использовать описанный измеритель уровня в условиях быстрого изменения измеряемого уровня.
Применение адаптивного порога позволяет использовать описанный уровнемер в условиях, когда на кабель между электроакустическим преобразователем и усилителем действуют электромагнитные наводки, и трудно обеспечить нужный уровень экранировки, например, когда связь между электроакустическим преобразователем и усилителем должна быть гибкой исходя из условий эксплуатации.
Литература
1. Ультразвуковой уровнемер “PROBE” фирмы “Siemens”.
CD компании “ProSoft” “Automation&Drives Siemens” Data Sheet. No “Probe.pdf”.
2. Акустическая система для измерения расстояния. Европейский патент, G 01 S 7/52, 15/88, заявка №20340953 от 24.04.89.
3. Эхолот. Патент России 2123191 от 1998.12.10, G 01 S 15/00, заявка №971.11571/09 от 1997.07.02.
4. Хребтов А.А. и др. Судовые эхолоты. – Л.: Судостроение, 1982, с.36, 74-76.
5. Ланцов А.Л. и др. Цифровые устройства на коплементарных МДП интегральных микросхемах. – М.: Радио и связь, 1983, с.252, рис.9.9, 9.10.
6. Алексеенко А.Г. и др. Применение прецизионных аналоговых ИС. – М.: Радио и связь, 1981, с.107, схема 3.
7. Ю-Чжен Лю, Г. Гибсон. Микропроцессоры семейства 8086/8088. – М.: Радио и связь, 1987, с.350-353, рис.9.26.
8. Кобяков Ю.С. и др. Конструирование гидроакустической рыбопоисковой аппаратуры. – Л.: Судостроение, 1986, с.139-143.
Формула изобретения
Ультразвуковой уровнемер, содержащий последовательно соединенные генератор радиоимпульсов, усилитель, детектор, а также пьезовибратор, подсоединенный к генератору радиоимпульсов и усилителю, блок временной автоматической регулировки усиления (ВАРУ), причем вход управления усилителя соединен с выходом блока временной автоматической регулировки усиления, отличающийся тем, что в него дополнительно введены дисплей, микроконтроллер, компаратор, аттенюатор, измеритель временных интервалов, сумматор и формирователь порогового напряжения, причем один выход микроконтроллера подключен к дисплею, а второй выход соединен со входами блока временной автоматической регулировки усиления, генератора радиоимпульсов, формирователя порогового напряжения и измерителя временных интервалов, выход которого подключен ко входу микроконтроллера, а второй вход измерителя временных интервалов подключен к выходу компаратора, один из входов которого соединен со входом аттенюатора и выходом детектора, второй вход с выходом сумматора, один вход которого соединен с аттенюатором, а второй вход с формирователем порогового напряжения.
РИСУНКИ
|
|