|
|
(21), (22) Заявка: 2003130231/06, 10.10.2003
(24) Дата начала отсчета срока действия патента:
10.10.2003
(43) Дата публикации заявки: 10.04.2005
(46) Опубликовано: 27.01.2007
(56) Список документов, цитированных в отчете о поиске:
RU 2189543 C2, 20.09.2002. RU 2199023 C2, 20.02.2003. SU 1725038 A1, 07.04.1992. CH 655157 A5, 27.03.1986.
Адрес для переписки:
414022, г.Астрахань, ул. Звездная, 47, к.5, Госэнергонадзор
|
(72) Автор(ы):
Гостюнин Юрий Викторович (RU), Рахматулин Виктор Раисович (RU), Чудаков Александр Александрович (RU)
(73) Патентообладатель(и):
Гостюнин Юрий Викторович (RU), Рахматулин Виктор Раисович (RU), Чудаков Александр Александрович (RU)
|
(54) ГЕЛИОВЕТРОВАЯ ЭНЕРГЕТИЧЕСКАЯ УСТАНОВКА
(57) Реферат:
Изобретение относится к гелиоветровой технике и может быть использовано для получения электрической энергии. Гелиоветровая энергетическая установка содержит роторный ветродвигатель, вертикальный вал которого в верхней части закреплен в подшипниках круглой станины, средней частью контактирует с пьезоэлектрическим генератором, закрепленным в конусном основании, а нижним концом через редуктор вал механически связан с электрическим генератором. На станине через цилиндрические пружины установлен каркас, покрытый пьезоэлектрической пленкой с прикрепленными к ней фотоэлектрическими преобразователями. К щитам, установленным снаружи конического основания, также прикреплена пьезоэлектрическая пленка. Изобретение должно обеспечить повышение КПД установки. 2 ил.
Изобретение относится к гелиоветротехнике и может быть использовано для получения электрической энергии.
Известна энергетическая установка, содержащая каркас, поворотное устройство, датчики положения Солнца, тонкопленочные фотоэлектрические преобразователи с защитным покрытием и панели с основной пьезоэлектрической пленкой, к которой прикреплены ФЭП (A.C. СССР 1454211, Н 02 N 2/00, 1988).
Известная энергетическая установка сложна по конструкции из-за наличия поворотного устройства.
Известна комбинированная энергетическая установка, использующая энергию ветра и солнечное тепловое излучение, содержащая над бассейном вытяжную колонну с воздухоподогревателем и воздушную лопаточную турбину с вертикальным валом (А.С. СССР 1460402, F 03 D 9/00, БИ №7, 1989 г.).
Известная комбинированная энергетическая установка сложна по конструкции и в основном предназначена для производства тепла. Наиболее близким по технической сущности к предлагаемому изобретению является роторный ветродвигатель для питания радиоустановок, содержащий роторный ветродвигатель, вал которого закреплен на станине и через систему шкивов и шестерен связан с индуктором (генератором). (см. В.П.Брагин. Техническое творчество. М.: Молодая гвардия, 1956 г. Стр.145. Рис.25). Известный роторный ветродвигатель вырабатывает электроэнергию для низкоточных потребителей и весьма энергоемок. Система фрикционного сцепления, ременная и шестеренчатая передачи снижают общий КПД установки.
Согласно изобретению гелиоветровая энергетическая установка содержит роторный ветродвигатель, вертикальный вал, электрический генератор, при этом вал роторного ветродвигателя в верхней части закреплен в подшипниках в станине круглой формы, в средней части контактирует с пьезоэлектрическим генератором, закрепленным в центре конусного основания, расположенного на подошве, а нижней частью вал через редуктор механически связан с электрическим генератором, причем на станине через цилиндрические пружины установлен шатровый каркас, сверху имеющий отверстие, покрыт пьезоэлектрической пленкой, с прикрепленными к ней фотоэлектрическими преобразователями, а снаружи конусного основания на стержнях и шарнирах прикреплены диэлектрические щиты прямоугольной формы, соединенные между собой шарнирами, контактирующие со стенкой основания через цилиндрические пружины, сверху к щитам прикреплена пьезоэлектрическая пленка, электрически связанная с пьезоэлектрической пленкой, расположенной на шатровом каркасе, с пьезоэлектрическим генератором и пультом управления, прикрепленным к стенке основания, а электрический генератор соединен электропроводами с электрическим аккумулятором.
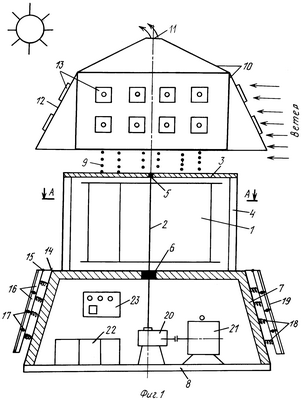
На чертеже представлена гелиоветровая энергетическая установка, фиг.1, общий вид; на фиг.2 – вид А на ротор ветродвигателя.
Роторное колесо ветродвигателя 1 закреплено на вертикальном валу 2. В верхней части круглой формы станины 3, установленной на стойках 4, вал 2 закреплен в подшипнике 5. В средней части вал 2 контактирует с пьезоэлектрическим генератором 6, закрепленным в центре конусного основания 7, расположенного на подошве 8. На станине 3, на цилиндрических пружинах 9, установлен шатровой каркас 10, сверху имеющий отверстие 11. Снаружи каркас 10 покрыт пьезоэлектрической пленкой 12 с прикрепленными к ней фотоэлектрическими преобразователями 13.
Снаружи конусного основания 7 на стержнях 14 и шарнирах 15 прикреплены прямоугольной формы диэлектрические щиты 16, соединенные между собой шарнирами 17. Каждый щит 16 контактирует со стенкой основания 7 через цилиндрические пружины 18, прикрепленные к стене. Сверху к щитам 16 прикреплена пьезоэлектрическая пленка 19, электрически связанна с пьезоэлектрической пленкой 12 и пьезоэлектрическим генератором 6. Вал 2 через редуктор 20 механически связан с электрическим генератором 21, соединенным с электропроводами (не показаны) с электрическим аккумулятором 22 и пультом управления 23, прикрепленным к стенке основания 7.
Пьезоэлектрические пленки 12 и 19 и пьезоэлектрический генератор 6 электропроводами (не показаны) соединены также с пультом управления 23. Цилиндрические пружины 9, установленные на станине 3, одна в центре по окружности, имеют низкую жесткость, с возможностью вибрации каркаса 10 с пьезоэлектрической пленкой 12. Цилиндрические пружины 18 имеют также низкую жесткость, с возможностью колебания щитов 16 и пьезоэлектрической пленки 19 при воздействии на них порывов ветра. Щиты 16 размещены вокруг основания отдельными блоками, свободно двигаясь на шарнирах 15.
Гелиоветровая энергетическая установка работает следующим образом. При наличии Солнца и ветра фотоэлектрические преобразователи 13 преобразуют световую энергию в электрическую в течение всего светового дня. Поток ветра воздействует на пьезоэлектрическую пленку 12, колышет ее снаружи и внутри и через отверстие 11 выходит наружу. От колебания в пленке 12 образуется электрический ток, который по электропроводам от нее и фотоэлектрических преобразователей 13 поступает на пульт управления 23. Роторное колесо ветродвигателя 1, вращаясь через вал 2 и редуктор 20, вращает электрический генератор 21. Образуемый электрический ток поступает на подзарядку аккумулятора 22 или прямо на пульт управления 23. Электрический ток от пьезоэлектрического генератора прямо поступает на пульт управления 23. Пьезоэлектрическая пленка 19 за счет изгибов от порывов ветра и колебаний от работы вала 2 и генератора 21 также будет вырабатывать электрический ток, поступающий на пульт управления. При отсутствии Солнца и ветра электроэнергия потребителю будет поступать от электрического аккумулятора 22.
Предлагаемая гелиоветровая энергетическая установка проста в конструкции и малошумная из-за наличия конусного основания и цилиндрических пружин. Наличие электрического аккумулятора позволяет надежно снабжать потребителя электрической энергией.
Формула изобретения
Гелиоветровая энергетическая установка, содержащая роторный ветродвигатель, вертикальный вал и электрический генератор, отличающаяся тем, что вал роторного ветродвигателя в верхней части закреплен в подшипниках в круглой формы станине, в средней части контактирует с пьезоэлектрическим генератором, закрепленным в центре конусного основания, расположенного на подошве, а нижней частью вал через редуктор механически связан с электрическим генератором, причем на станине через цилиндрические пружины установлен шатровый каркас, сверху имеющий отверстие, и покрыт пьезоэлектрической пленкой с прикрепленными к ней фотоэлектрическими преобразователями, а снаружи конусного основания на стержнях и шарнирах прикреплены прямоугольной формы диэлектрические щиты, соединенные между собой шарнирами, и контактируют со стенкой основания через цилиндрические пружины, сверху к щитам прикреплена пьезоэлектрическая пленка, электрически связанная с пьезоэлектрической пленкой, расположенной на шатровом каркасе, пьезоэлектрическим генератором и пультом управления, прикрепленным к стенке основания, а электрический генератор соединен электропроводами с электрическим аккумулятором.
РИСУНКИ
MM4A – Досрочное прекращение действия патента СССР или патента Российской Федерации на изобретение из-за неуплаты в установленный срок пошлины за поддержание патента в силе
Извещение опубликовано: 27.04.2009 БИ: 12/2009
|
|