|
|
(21), (22) Заявка: 2004107487/06, 12.08.2002
(24) Дата начала отсчета срока действия патента:
12.08.2002
(30) Конвенционный приоритет:
13.08.2001 (пп.1-15, 18-26) AU PR6973 29.10.2001 (пп.16, 17) AU PR8551
(43) Дата публикации заявки: 20.05.2005
(46) Опубликовано: 27.01.2007
(56) Список документов, цитированных в отчете о поиске:
US 3864543 А, 04.02.1975. US 4029937 А, 14.06.1977. US 5506391 А, 09.04.1996. US 3867610 А, 18.02.1975. RU 2018061 C1, 15.08.1994. RU 2136123 C1, 27.08.1999.
(85) Дата перевода заявки PCT на национальную фазу:
15.03.2004
(86) Заявка PCT:
AU 02/01084 (12.08.2002)
(87) Публикация PCT:
WO 03/016791 (27.02.2003)
Адрес для переписки:
129010, Москва, ул. Б.Спасская, 25, стр.3, ООО “Юридическая фирма Городисский и Партнеры”, Егоровой Г.Б.
|
(72) Автор(ы):
ИЗРАЕЛЬСОН Седрик (AU), ВАН АКЕН Роберт К (AU)
(73) Патентообладатель(и):
МАЙКРОХИТ ПТИ ЛТД (AU)
|
(54) СИСТЕМА И СПОСОБ ДЛЯ БЫСТРОГО НАГРЕВА ЖИДКОСТИ
(57) Реферат:
Изобретение предназначено для быстрого нагрева жидкости. Устройство для быстрого нагрева жидкости содержит канал течения жидкости с электродами, между которыми протекает жидкость. Между парами электродов прикладывается напряжение, вследствие чего через жидкость протекает ток. Температуры жидкости на впуске и выпуске измеряются, а ток регулируется изменением прикладываемого напряжения, чтобы обеспечить необходимое повышение температуры жидкости в соответствии с измеренным расходом жидкости. Изобретение позволяет осуществить быстрый экономичный нагрев жидкости. 3 н. и 23 з.п. ф-лы, 3 ил.
Область техники, к которой относится изобретение
Настоящее изобретение относится к устройству, системе и способу для быстрого нагрева жидкости, в частности к устройству, системе и способу для быстрого нагрева жидкости с помощью электроэнергии.
Уровень техники
Во многих жилых и хозяйственных зданиях в развитых странах устанавливают разные по типу системы горячей воды. В некоторых странах электроэнергия является самым распространенным источником энергии для нагревания воды.
Конечно, общеизвестно, что генерация электроэнергии за счет сжигания ископаемых топлив является существенным фактором загрязнения и глобального потепления. Например, в 1966 г. крупнейшим потребителем электроэнергии в США были домашние хозяйства жилого сектора, на которые приходилось 20% от всех выбросов углерода. Из общего объема выбросов углерода данным сектором потребления электроэнергии 63% были прямо обусловлены сжиганием ископаемых топлив, использованных с целью генерации электроэнергии для данного сектора.
Сейчас в развитых странах электроэнергию считают реально необходимой для жилых зданий, и, ввиду ежегодного 1,8% роста потребления электроэнергии на одно домашнее хозяйство с 1990 г., ожидаемое увеличение энергопотребления в жилом секторе стало главным вопросом полемики по проблеме стабилизации объемов выбросов углерода и достижению целей Киотского протокола.
В период 1982-1996 гг. число домашних хозяйств в США возрастало на 1,4% в год, а потребление электроэнергии в жилом секторе – на 2,6% в год. Соответственно, на период до 2010 г. прогнозируют увеличение числа домашних хозяйств в США на 1,1% в год и рост потребления электроэнергии на 1,6% в год.
По оценкам, в 1995 г. около 40 млн. домашних хозяйств по всему миру применяли электрические водонагревательные системы. Электрическая водонагревательная система в самом общем виде содержит аккумуляторный бак, в котором воду медленно нагревают с течением времени до заданной температуры. Температуру воды в аккумуляторном баке поддерживают на заданном уровне по мере забора воды из аккумуляторного бака и его пополнения холодной входящей водой. Аккумуляторные баки обычно содержат погружной электронагревательный элемент, подключенный к электросети и работающий с управлением от термореле или устройства контроля температуры.
Водоаккумулирующие электронагревательные системы принято считать энергетически затратными, поскольку они работают по принципу аккумулирования и нагревания воды до заданной температуры, которая выше температуры, необходимой для применения, хотя потребитель может не нуждаться в горячей воде до какого-то времени. Из-за потери тепловой энергии горячей водой в аккумуляторном баке воду приходится подогревать до заданной температуры, для чего может потребоваться дополнительный расход электроэнергии. И, наконец, потребитель может не нуждаться в горячей воде довольно долгое время. Однако и в это время некоторые водоаккумулирующие электронагревательные системы продолжают потреблять энергию для подогрева воды до готовности к использованию потребителем в любой момент, когда потребуется горячая вода.
Естественно, быстрое нагревание воды, при котором температура воды достигает заданного уровня за короткое время, позволяет избавить систему от энергозатратности, неизбежной при хранении горячей воды. Системы быстрого или «мгновенного» нагревания горячей воды сейчас пригодны к применению там, где источниками энергии служат как газ, например природный газ или сжиженный нефтяной газ (LPG), так и электроэнергия. Природный газ и LPG являются топливами, наиболее подходящими для быстрого нагревания жидкостей, так как пламя от сжигания данных топлив способно передать жидкости достаточно тепловой энергии, чтобы поднять температуру жидкости до требуемого уровня за сравнительно короткое время в управляемом режиме. Однако, хотя источники топлив на природном газе и можно использовать для быстрого нагревания воды, эти источники не всегда имеются в распоряжении. Напротив, электроэнергия всегда в распоряжении большинства домашних хозяйств в развитых странах.
Известны безуспешные попытки создания электрической системы «мгновенного» нагревания горячей воды. Пробовали разработать системы с резистивными и электромагнитными индукционными нагревателями. Разработана система «мгновенного» нагревания горячей воды резистивными нагревателями, в составе которой провод с высоким сопротивлением помещен в термо- и электрически изолированную трубу сравнительно небольшого диаметра. Принцип действия состоит в том, что вода протекает по трубе в контакте с проводом или в непосредственной близости от провода, по которому пропускают ток, чтобы тем самым передавать тепловую энергию воде в трубе. Управление обычно включает в себя контроль температуры воды на выходе из трубы и сравнение контролируемой температуры с параметром настройки заданной температуры. Напряжение, регулируемое в зависимости от контролируемой выходной температуры воды, прикладывают к проводу, пока температура воды не достигнет искомого параметра настройки заданной температуры. Хотя система данного типа свободна от недостатка энергозатратности, обусловленного хранением горячей воды, у данной системы есть некоторые другие недостатки. В частности, провод необходимо нагревать до температур, намного более высоких, чем температура окружающей воды. Этим обусловлен неблагоприятный эффект наведения кристаллизации растворенных солей, таких как сульфат и карбонат кальция, обычно присутствующих в воде в различных концентрациях. На горячих участках провода, непосредственно соприкасающихся с водой, создаются условия, способствующие интенсивной кристаллизации упомянутых солей, и, в результате, провод покрывается «коркой», которая снижает эффективность теплопередачи от провода в окружающую воду. Поскольку обычно трубка имеет сравнительно небольшой диаметр, то образующиеся кристаллы могут ослаблять водяной поток по трубе. Кроме того, для эффективной работы систем с нагревателями сопротивления вода в них должна быть под сравнительно высоким давлением, поэтому данные системы малоэффективны в регионах, где применяют сравнительно низкое давление воды или давление воды часто падает, что может происходить в периоды максимального водопотребления. Системы с электромагнитными индукционными нагревателями функционируют аналогично трансформатору. В данном случае, токи, наводимые во вторичной обмотке трансформатора, приводят к нагреву вторичной обмотки. Вода, циркулирующая по водяной рубашке, окружающей вторичную обмотку, отводит выделяющееся в ней тепло. Затем нагретую воду выпускают из системы для потребления. Управление обычно включает в себя контроль температуры воды на выходе из водяной рубашки и сравнение контролируемой температуры с параметром настройки заданной температуры. Напряжение, подаваемое на первичную обмотку можно регулировать в зависимости от контролируемой выходной температуры воды, что обеспечивает регулировку электрических токов, наводимых во вторичной обмотке, пока температура воды не достигнет искомого параметра настройки заданной температуры. Хотя система данного типа свободна от недостатка энергозатратности, обусловленного хранением горячей воды, у данной системы также есть некоторые другие недостатки. В частности, вторичную обмотку необходимо нагревать до температур выше температуры окружающей воды. Поэтому имеет место вышеупомянутый эффект наведения кристаллизации растворенных солей. Поскольку между вторичной обмоткой и окружающей водяной рубашкой обычно создают сравнительно узкий просвет, то образующиеся кристаллы также могут ослаблять водяной поток в рубашке.
Кроме того, создаваемые магнитные поля и сильные токи, наводимые во вторичной обмотке, могут в результате привести к излучению электрических и радиочастотных помех недопустимого уровня. Данные электрические или радиочастотные помехи могут с трудом поддаваться подавлению или экранированию и нарушать функционирование других устройств, чувствительных к электромагнитным излучениям и находящимся в зоне распространения упомянутых электромагнитных полей.
Поэтому в основу настоящего изобретения положена задача создания устройства, предназначенного для быстрого нагревания жидкости, в частности воды, с помощью электроэнергии и свободного, по меньшей мере, от некоторых недостатков других систем.
Кроме того, задачей изобретения является создание усовершенствованного способа, предназначенного для быстрого нагревания воды с помощью электроэнергии и сводящего до минимума расход энергии.
Задачей изобретения является также создание усовершенствованной системы, предназначенной для нагревания воды с помощью электроэнергии и обеспечивающей относительно быстрое нагревание воды, подходящее для бытовых и/или технических целей.
Еще одной задачей изобретения является создание усовершенствованных устройства и способа, предназначенных для быстрого электрического нагревания жидкости и облегчающих регулирование выходной температуры, при сведении до минимума кристаллизации растворенных солей.
Еще одной задачей изобретения является создание усовершенствованной системы нагревания жидкости, работающей от сети электроснабжения, обычной для жилых и хозяйственных зданий.
Еще одной задачей изобретения является создание усовершенствованного нагревательного устройства, которое можно изготавливать в модификациях с разными производительностями по расходу жидкости.
Еще одной задачей изобретения является создание устройства для нагревания жидкости, которое можно выполнить в модификации для работы с разными жидкостями или водой переменной жесткости. Еще одной задачей изобретения является создание устройства для нагревания жидкости, которое можно устанавливать вблизи места выпуска горячей воды для сокращения тем самым запаздывания поступления горячей воды и сокращения благодаря этому излишних потерь воды.
Понятно, что любые устройства, изделия и т.д. будут рассмотрены в настоящем описании исключительно для изложения существа настоящего изобретения. Данное описание не дает права считать, что какие-либо или все данные материалы либо составляют основу известного уровня техники, либо были общеизвестны в области техники, к которой относится настоящее изобретение, в том виде, в котором данная область техники существовала до даты приоритета каждого пункта настоящей заявки.
Краткое изложение существа изобретения
В соответствии с одной особенностью настоящего изобретения предлагается устройство для нагревания жидкости, содержащее пропускное устройство, определяющее канал течения нагреваемой жидкости, средство измерения температуры жидкости на впуске, предназначенное для измерения температуры жидкости, подлежащей нагреванию, совокупность групп электродных устройств, помещенных в канал течения или формирующих упомянутый канал, между которыми протекает упомянутая жидкость, при этом упомянутые группы электродных устройств содержат, по меньшей мере, первую и вторую группы электродов вдоль канала течения жидкости, а упомянутая первая группа электродов и упомянутая вторая группа электродов, каждая, содержат, по меньшей мере, одну пару электродов, между которыми пропускают электрический ток через упомянутую жидкость для нагревания жидкости в процессе ее протекания по каналу течения, первое средство измерения температуры на выпуске за второй группой электродов, средство измерения расхода жидкости и средство электрической регулировки для подачи и регулирования электрической мощности на электродах каждой группы, при этом упомянутое средство регулировки содержит средство обработки для установления связи между протекающим током и прикладываемым напряжением в зависимости от измеренных температур на впуске и выпуске и расхода жидкости для определения мощности, которую каждая группа электродов должна подводить к жидкости, чтобы обеспечить необходимую температуру жидкости за второй группой электродов.
В соответствии с предпочтительным вариантом, пропускное устройство содержит кольцевое пространство между пространственно разнесенными, по существу, коаксиальными цилиндрическими элементами. Пропускное устройство может определять ряд параллельных каналов течения для жидкости.
В соответствии с одним вариантом осуществления, второе средство измерения температуры измеряет температуру жидкости между первой и второй группами электродов, а средство регулировки регулирует мощность, подаваемую на первую и вторую группы электродов, в соответствии с измеренными температурами и необходимым приростом температуры жидкости при протекании жидкости между соответствующими группами электродов.
В соответствии с предпочтительным вариантом осуществления, электродное устройство содержит, по меньшей мере, три пары электродов, пространственно разнесенных вдоль канала течения. Электроды каждой пары пространственно разнесены поперечно каналу течения для того, чтобы напряжение, прикладываемое к электродам каждой пары, вызывало протекание электрического тока через жидкость поперечно каналу течения, когда жидкость протекает по пропускному устройству.
В соответствии с одним предпочтительным вариантом осуществления, электродное устройство содержит цилиндрические, по существу, коаксиальные электроды, формирующие секцию пропускного устройства или помещенные в ней. В соответствии с предпочтительным вариантом, пропускное устройство содержит три секции, при этом каждая пропускная секция содержит впускное отверстие и выпускное отверстие, секции соединены между собой последовательно так, что выпускное отверстие первой секции составляет впускное отверстие второй секции, а выпускное отверстие второй секции составляет впускное отверстие третьей секции, с электродами в каждой из трех секций.
При данной схеме построения выпускные отверстия первой и второй секций содержат средства измерения температуры жидкости, а средство регулировки регулирует мощность, подаваемую на электроды каждой секции в соответствии с измеренными температурами на впуске и выпуске каждой секции и заданной необходимой разностью температур.
В соответствии с предпочтительным вариантом осуществления, каждая пропускная секция сформирована пространственно разнесенными, по существу, коаксиальными цилиндрическими электродами, определяющими кольцевой канал течения жидкости.
В соответствии с другим вариантом осуществления, пропускное устройство содержит больше трех пропускных секций, при этом каждая секция содержит впускное и выпускное отверстия, секции соединены между собой последовательно, а средство регулировки регулирует мощность, подаваемую на пару электродов каждой секции, в соответствии с измеренными температурами на впуске и выпуске каждой секции и заданной необходимой разностью температур для каждой секции.
В соответствии с предпочтительным вариантом осуществления настоящего изобретения, регулировку электроэнергии, подводимой к жидкости, обеспечивает микрокомпьютерная управляющая система. В соответствии с предпочтительным вариантом, микрокомпьютерная управляющая система способна определять и учитывать изменения удельной проводимости самой жидкости, обусловленные изменением температуры жидкости в самой системе, а также изменения электрической проводимости входящей жидкости. А именно, в соответствии с предпочтительным вариантом осуществления настоящего изобретения, управляющая система контролирует и реагирует на электрическую проводимость или градиент удельной проводимости между впускным и выпускным отверстиями элементов нагревательной системы. В системе мгновенного нагревания жидкости по варианту осуществления настоящего изобретения, предназначенному для нагревания воды для бытовых нужд, изменения электрической проводимости входящей воды также могут быть обусловлены такими факторами, как изменения температур воды и изменения концентраций растворенных химикатов и солей, и тогда неизбежно приходится учитывать данные изменения. Однако в соответствии с предпочтительными вариантами осуществления, настоящее изобретение будет также обеспечивать учет изменений электрической проводимости жидкости в процессе нагревания жидкости внутри самой системы, т.е. будет осуществлять эффективное управление с учетом градиента удельной проводимости.
В соответствии с другой особенностью настоящего изобретения, предлагается способ для нагревания жидкости, содержащий следующие этапы:
пропускают жидкость по каналу течения;
создают, по меньшей мере, две группы электродов, пространственно разнесенных вдоль канала течения;
прикладывают регулируемое электрическое напряжение к электродам каждой группы, чтобы пропускать электрические токи через жидкость между электродами каждой группы;
контролируют температуру жидкости на впуске канала течения;
контролируют температуру жидкости на выпуске канала течения;
контролируют токи, протекающие через жидкость между электродами каждой группы электродов при прикладывании регулируемого электрического напряжения; и регулируют регулируемое электрическое напряжение между электродами каждой группы электродов по удельной проводимости жидкости, установленной по контролируемым температурам жидкости и протекающим токам для данного расхода жидкости в каждой секции канала течения, из условия, чтобы количество электроэнергии, подводимой к жидкости, соответствовало заданному приросту температуры жидкости.
Предпочтительные варианты осуществления способа по настоящему изобретению могут дополнительно содержать следующие этапы.
Вводят поправки на изменение электрической проводимости жидкости, обусловленное изменениями температур и изменениями концентраций растворенных химикатов и солей, а также нагреванием жидкости, посредством изменения регулируемого электрического напряжения, чтобы учесть изменения удельной проводимости при повышении температуры жидкости на необходимую величину.
Вышеописанный этап можно выполнять регулировкой электрической мощности, подаваемой на группы электродов, чтобы обеспечивать необходимый постоянный прирост температуры жидкости в пределах данного электродного сегмента. Затем регулируемое электрическое напряжение можно корректировать, чтобы вводить поправки на изменение удельной проводимости жидкости в пределах сегмента канала течения, относящегося к каждой паре электродов, которая влияет на ток, протекающий через жидкость в пределах данного сегмента. Таким образом, можно по отдельности учитывать изменения удельной проводимости жидкости, протекающей через отдельные электродные сегменты. Поэтому система способна эффективно регулировать и учитывать результирующий градиент удельной проводимости по всей системе.
Аналогично, система по предпочтительному варианту осуществления настоящего изобретения дополнительно содержит средство для учета изменений удельной проводимости жидкости, обусловленных нагреванием жидкости. Данное средство может содержать температурный датчик для измерения температуры жидкости на выпуске системы для сравнения с температурой жидкости на впуске каждой секции, чтобы определить, получен ли необходимый прирост температуры жидкости.
В соответствии с предпочтительными вариантами осуществления перед электродными сегментами устанавливают температурный датчик, чтобы формировался сигнал, соответствующий температуре жидкости перед ее протеканием между сегментами. При установке температурного датчика перед электродными сегментами, можно определять разность между температурой входящей жидкости и заданной температурой выходящей жидкости. Пользователь может настраивать заданную температуру выходящей жидкости с помощью настраиваемого средства регулировки.
Объем жидкости, протекающей между любой группой электродов можно точно определить измерением размеров прохода, в пределах которого жидкость испытывает воздействие электродов, с учетом скорости потока жидкости.
Аналогично, время, за которое будет осуществляться подвод электроэнергии к данному объему жидкости, можно определить измерением расхода жидкости через проход. Прирост температуры жидкости пропорционален количеству электроэнергии, подведенной к жидкости. Количество электроэнергии, необходимой для повышения температуры жидкости на известную величину, пропорциональна массе (объему) нагреваемой жидкости и расходу жидкости через проход. Измеренное значение электрического тока, протекающего через жидкость, можно использовать как меру электрической проводимости или удельной проводимости данной жидкости, что дает возможность определить изменение прикладываемого напряжения, необходимое для обеспечения постоянного значения подводимой электроэнергии. Электрическая проводимость и, следовательно, удельная проводимость нагреваемой жидкости будет изменяться с повышением температуры, что приводит к формированию градиента удельной проводимости вдоль канала течения жидкости. Энергию, необходимую для повышения температуры массы жидкости, можно определить из совокупности двух уравнений:
Уравнение 1
Энергия = Удельная теплоемкость × Плотность × Объем × Изменение температуры.
Или
Энергию в единицу времени, необходимую для повышения температуры массы жидкости, можно определить из уравнения:

Для анализа удельную теплоемкость воды можно считать постоянной в температурном интервале от 0°С до 100°С.Плотность воды также можно считать постоянной величиной, равной 1. Поэтому количество энергии, необходимое для изменения температуры единичной массы воды на 1°С в 1 сек считают постоянной величиной и обозначают “k”. Отношение «Объем/Время» эквивалентно расходу (Fr). Следовательно:
Энергию в единицу времени, необходимую для повышения температуры массы жидкости, можно определить из уравнения:

Таким образом, если известно заданное изменение температуры, то можно определить расход и вычислить необходимую мощность.
В соответствии с предпочтительными вариантами осуществления настоящего изобретения, электроды разделяют на сегменты и измеряют температуры на впусках и выпусках. Измерение температуры позволяет вычислительному устройству, предусмотренному в составе микрокомпьютерной управляющей системы, определять напряжение, которое следует прикладывать к электродам электродного сегмента, чтобы подводить необходимое количество электроэнергии к жидкости с обязательным учетом изменений удельной проводимости жидкости для того, чтобы повысить температуру жидкости на заданную величину.
Обычно, когда пользователь нуждается в нагретой воде, открывают кран горячей воды, и вода начинает течь. Данный поток воды допускает регистрацию расходомером и включает цикл нагревания. Температуру входящей воды можно измерить и сравнить с параметром настройки заданной температуры воды на выпуске системы. По двум данным значениям можно определить необходимое изменение температуры воды от впуска до выпуска.
Естественно, с течением времени можно повторять измерения температуры воды на впуске электродного сегмента, и, когда измеренное значение температуры входящей воды изменяется, расчетное значение необходимого изменения температуры от впуска до выпуска электродных сегментов можно соответствующим образом скорректировать. Аналогично, при изменении температуры, изменении содержания минеральных веществ и т.д., могут со временем наблюдаться изменения электрической проводимости и, следовательно, удельной проводимости жидкости. Соответственно, ток, протекающий через жидкость, будет изменяться и тем самым вызывать изменения результирующей мощности, подводимой к воде. Повторные измерения с течением времени температур на выпусках электродных сегментов и сравнение результатов данных измерений с заданными значениями температур на выпуске позволит повторять вычисления, чтобы корректировать напряжение, прикладываемое к электродам сегментов.
В одном предпочтительном варианте осуществления, вычислительное устройство, предусмотренное в составе микрокомпьютерной управляющей системы, используют, чтобы определять электрическую мощность, которую следует подводить к жидкости, протекающей между электродами, посредством определения количества электроэнергии, которое обеспечит заданное изменение температуры от впуска до выпуска электродного сегмента, и измерения влияния изменения на удельную проводимость воды, и по полученным результатам вычислять напряжение, которое следует прикладывать при данном расходе.
Регулировка электрической мощности
В соответствии с предпочтительными вариантами осуществления настоящего изобретения, измеряют электрический ток, протекающий между электродами каждого электродного сегмента и, следовательно, через жидкость. Измеряют также температуры на впуске и выпуске электродных сегментов. Измерение электрического тока и температуры позволяет вычислительному устройству, предусмотренному в составе микрокомпьютерной управляющей системы, определять мощность, которую необходимо подводить к жидкости в пределах электродного сегмента, чтобы повышать температуру жидкости на заданную величину.
Ток, протекающий через жидкость, будет изменяться. С течением времени целесообразны повторные измерения тока, протекающего через жидкость, чтобы можно было выполнять повторные вычисления, что позволяет обеспечивать подходящую электрическую мощность, подаваемую на электродный сегмент.
В соответствии с одним вариантом осуществления, вычислительное устройство, предусмотренное в составе микрокомпьютерной управляющей системы, определяет электрическую мощность, которую следует подводить к жидкости, протекающей между электродами, и тем самым вычисляет среднее напряжение, которое требуется прикладывать для обеспечения, по существу, постоянного изменения температуры.
Нижеприведенное уравнение (2) облегчает как можно более точное мгновенное вычисление потребной электрической мощности. Данный подход исключает неизбежность излишнего водопотребления, необходимого для того, чтобы первоначально пропустить через систему некоторое количество воды для последующего облегчения подачи воды при необходимой температуре. Это обеспечивает возможность экономии воды. В соответствии с предпочтительными вариантами осуществления, после определения электрической мощности, которую следует подводить к жидкости, протекающей между электродами, вычислительное устройство может вычислить из нижеприведенного уравнения напряжение, которое следует прикладывать к каждому электродному сегменту (ES), если можно вычислить мощность, необходимую для электродного сегмента, и измерить ток, протекающий в пределах электродных сегментов (n):
Уравнение (2)
Напряжение ESn (Vappn) = Мощность ESn (Preqn)/Ток ESn (Isn) Vappn = Preqn/Isn
В рамках начального цикла нагревания, прикладываемое напряжение можно настроить на относительно низкое значение, чтобы определить исходную удельную проводимость жидкости, протекающей между электродами. Напряжение, прикладываемое к электродам, вызовет протекание тока через жидкость, протекающую между данными электродами, что позволит определить удельную проводимость жидкости, поскольку удельная проводимость прямо пропорциональна току, протекающему через жидкость. Соответственно, после определения электрической мощности, которую следует подводить к жидкости, протекающей между электродами электродных сегментов, можно определить необходимое напряжение, которое следует прикладывать к данным электродам, чтобы повышать температуру жидкости, протекающей между электродами электродных сегментов, на необходимую величину. Мгновенный ток, протекающий через жидкость, целесообразно непрерывно контролировать на предмет его изменения на отрезке нагревательного канала. Любое изменение мгновенного тока, протекающего в любой точке нагревательного канала, указывает на изменение электрической проводимости или удельной проводимости жидкости. Изменение значений удельной проводимости жидкости, протекающей между электродами электродных сегментов, фактически определяет градиент удельной проводимости вдоль нагревательного канала.
Целесообразно непрерывно контролировать различные параметры и непрерывно производить вычисления, чтобы определять электрическую мощность, которую следует подводить к жидкости, и напряжение, которое следует прикладывать к электродам, чтобы повышать температуру жидкости до заданной температуры в данный период.
Краткое описание чертежей
Ниже следует описание вариантов осуществления настоящего изобретения со ссылками на прилагаемые чертежи, на которых:
Фиг.1 представляет принципиальную блок-схему системы быстрого нагревания в соответствии с одним вариантом осуществления настоящего изобретения;
Фиг.2 представляет пояснение некоторых символов, использованных на фиг.1; а
Фиг.3 изображает одну из форм узла электродного сегмента в соответствии с вариантом осуществления настоящего изобретения.
Подробное описание примеров осуществления изобретения
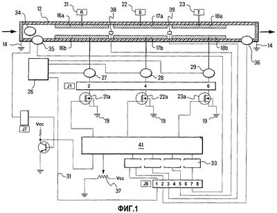
Как видно из чертежей, на фиг.1 изображена принципиальная блок-схема нагревательной системы в соответствии с одним вариантом осуществления, в котором поток воды направляется через трубопровод или трубу 12. Трубу 12 целесообразно выполнять из электроизоляционного материала, например из синтетического пластика. Однако трубу 12 очевидно соединяют с электропроводящей металлической, например медной, водопроводной трубой. Соответственно с каждой стороны трубы 12 предусмотрены заземляющие проводники 14 для электрического заземления любой металлической трубы, присоединяемой к трубе 12. Заземляющие проводники 14 целесообразно подсоединять к электрическому заземлению электроустановки, в составе которой монтируют нагревательную систему по настоящему варианту осуществления. Поскольку от электрода к заземляющим проводникам может протекать ток через воду, протекающую по трубе 12, то возможно срабатывание автоматического выключателя защиты по току утечки или устройства выключения остаточных токов (RCD). В соответствии с наиболее предпочтительной формой настоящего варианта осуществления, система содержит устройства защиты от замыкания на землю.
Труба 12, которая определяет канал течения жидкости, оборудована тремя группами электродов 16, 17 и 18. Материалом электродов может быть любой подходящий металл или неметаллический электропроводящий материал, например электропроводящие пластики, материал с углеродным наполнителем или другой аналогичный материал. Важно выбирать для электродов материал, который сводит до минимума химические реакции и/или электролиз.
В каждой паре электродов один электрод 16b, 17b и 18b подсоединен к общей переключаемой обратной цепи 19 через отдельные устройства 21а, 22а и 23а регулировки мощности, а другой электрод 16а, 17а и 18а в каждой паре электродов подсоединен к входящему трехфазному источнику напряжения 21, 22 и 23. Отдельные устройства 21а, 22а и 23а регулировки мощности переключают общую обратную цепь в соответствии с требованиями регулирования мощности. Токоизмерительное устройство 26 измеряет суммарный электрический ток, пропускаемый через электроды, а токоизмерительные устройства 27, 28 и 29 измеряют ток, соответственно, через каждую отдельную пару электродов 16, 17 и 18. Сигнал, соответствующий суммарному току, подается как входной сигнал по линии 31 через соединитель J6 и интерфейс 33 ввода сигнала в контроллер 41 мощности. В контроллер 41 мощности поступают также сигналы непосредственно от устройства 34 измерения расхода, расположенного в трубе 12, и от устройства 37 настройки температуры, с помощью которого пользователь может настроить заданную температуру жидкости на выпуске, и дополнительные сигналы через соединитель J6 и интерфейс ввода сигналов от устройства 35 измерения температуры на впуске, чтобы измерять температуру жидкости, поступающей в трубу 12, устройства 36 измерения температуры на выпуске, измеряющего температуру жидкости, вытекающей из трубы 12, первого промежуточного устройства 38 измерения температуры, чтобы измерять температуру жидкости между электродами 16 и 17, и второго промежуточного устройства 39 измерения температуры, чтобы измерять температуру жидкости между группами электродов 17 и 18. Устройства измерения температуры жидкости размещены вблизи каждой группы электродов.
Средство электрической регулировки, содержащее средство обработки, выполнено в виде контроллера мощности с возможностью подачи регулируемого напряжения на пары электродов с частотой следования импульсов, которая является субгармоникой промышленной частоты напряжения питания, а регулирование мощности, подаваемой на электроды, осуществляется регулированием числа импульсов в единицу времени. Контроллер 41 принимает различные контролируемые входные сигналы и выполняет необходимые вычисления для определения необходимых напряжений на электродных парах, чтобы обеспечивать подвод расчетной мощности к жидкости, протекающей по трубе 12. Контроллер 41 мощности регулирует импульсное напряжение питания, подаваемое от каждой из трех отдельных фаз, подсоединенных к каждой паре 16, 17 и 18 электродов. Каждое импульсное напряжение питания отдельно регулируется отдельными управляющими сигналами, выдаваемыми контроллером 41 мощности в каждое устройство 21а, 22а и 23а регулировки мощности.
Поэтому видно, что на основании различных параметров, которым соответствуют входные сигналы контроллера 41 мощности, вычислительное средство под управлением программы, заложенной в контроллере 41 мощности, вычисляет управляющие сигналы, необходимые для соответствующих устройств 21а, 22а и 23а регулировки мощности, чтобы подавать электрическую мощность, необходимую для обеспечения такого заданного изменения температуры воды, протекающей по трубе 12, при котором нагретая вода вытекает из трубы 12 при заданной температуре, настроенной устройством 37 настройки температуры.
Когда пользователь настраивает необходимую температуру воды на выпуске с помощью устройства 37 настройки температуры, численное значение параметра настройки поступает в контроллер 41 мощности и сохраняется в системной памяти до изменения или сброса. Целесообразно, чтобы в памяти хранилось заданное значение по умолчанию, а устройство 37 настройки температуры могло представлять визуальное показание параметра настройки температуры. В контроллер 41 мощности можно вводить заданное максимальное значение, которое предназначено для устройства 37 настройки температуры и соответствует максимальному значению температуры, выше которого нагрев воды не допускается. Итак, устройство 37 настройки температуры не может настраивать значение выше, чем максимальное значение настройки. Система может быть выполнена так, чтобы система немедленно выводилась из работы и выключалась, если температура, регистрируемая устройством 36 измерения температуры на выпуске, превысила по каким-то причинам максимальную температуру настройки.
Система включается, когда устройство 34 измерения расхода регистрирует расход воды через соединитель J7. При этом запускается цикл нагревания. Устройство 35 измерения температуры на впуске измеряет температуру входящей воды, а измеренное значение поступает в интерфейс 33 ввода и записывается в память системы. Если в устройстве 37 настройки температуры хранится параметр настройки или значение температуры по умолчанию, то заданное изменение температуры воды легко определить как разность между настройкой температуры и измеренной температурой на впуске. Естественно, измерения температуры воды на впуске повторяют, и если измеренное значение изменяется, то изменяется также вычисленная разность температур.
В результате, вычислительное устройство получает возможность определить электрическую мощность, которую необходимо подводить к воде, протекающей по трубе 12, чтобы повысить температуру воды от измеренной температуры на впуске до настроенного уровня температуры. Вычисление электрической мощности, которую необходимо подводить к протекающей воде, дает вычислительному устройству возможность вычислить напряжение, которое необходимо прикладывать к электродам пар 16, 17 и 18, чтобы тем самым обеспечить протекание необходимого тока через воду.
В рамках начального цикла нагревания, прикладываемое напряжение настраивают на заданное низкое значение, чтобы вычислить проводимость воды или удельную теплоемкость. Когда к воде прикладывают данное напряжение, через воду будет протекать ток, а токоизмерительное устройство 26 будет измерять протекающий ток и выдавать сигнал в интерфейс 33 ввода. Величину общего тока измеряют также периодически.
Затем система управления выполняет последовательность проверок, чтобы
(a) температура воды на выпуске не превысила максимально допустимую температуру;
(b) утечка тока на землю не превышает заданное значение настройки; и
(c) ток в системе не превышает текущего предела тока в системе.
Перечисленные проверки повторно выполняются до тех пор, пока установка находится в работе, и если какая-то проверка выявляет нарушение пределов регулирования, то система немедленно выключается.
После успешного выполнения системой начальной проверки, выполняется вычисление для определения необходимого напряжения, которое следует прикладывать к воде, протекающей по трубе 12, чтобы изменить температуру на заданную величину. Затем вычисленное напряжение прикладывают к парам 16, 17 и 18 электродов, чтобы быстро повысить температуру воды, пока она протекает по трубе 12.
Поскольку температура воды, протекающей по трубе 12, возрастает от входного конца трубы, проводимость возрастает с ростом температуры. Первое и второе промежуточные устройства 38 и 39 измерения температуры и устройство 36 измерения температуры на выпуске измеряют дифференциальные повышения температуры в пределах трех сегментов трубы 12, содержащих электроды 16, 17 и 18. Напряжение, прикладываемое затем к соответствующим парам электродов 16, 17 и 18, можно регулировать с учетом изменений проводимости воды, чтобы обеспечить равномерное повышение температуры по длине трубы 12 и тем самым обеспечить, по существу, постоянное значение мощности, подводимой каждой группой электродов, и максимальную эффективность и стабильность нагревания воды от уровня измеренной температуры на впуске до уровня измеренной температуры на выпуске. Мощность, подводимую к протекающей воде, изменяют увеличением или уменьшением числа управляющих импульсов, подаваемых в устройства 21а, 22а и 23а регулировки мощности. При этом повышается или снижается мощность, подводимая к воде отдельными парами электродов 16, 17 и 18.
Понятно, что система повторно контролирует воду на изменения проводимости непрерывным опросом общего системного токоизмерительного устройства 26 и отдельных токоизмерительных устройств 27, 28 и 29 и устройств 35, 36, 38 и 39 измерения температуры. Любые изменения значений температур воды, снятые по длине трубы 12, или изменения снятых токов являются командой для вычислительного устройства вычислить исправленные средние значения напряжений, которые следует прикладывать к парам электродов. Постоянный контроль по замкнутому контуру изменений системного тока, токов отдельных электродов и температуры воды для сегмента электрода приводит к повторному вычислению напряжения, которое следует прикладывать к отдельным электродным сегментам, чтобы система могла подавать соответствующую стабильную мощность в воду, протекающую через нагревательную систему.
На фиг.2 представлен другой вариант осуществления настоящего изобретения, в котором поток воды направляется через три ячейки 51, 52 и 53, которые соединены между собой соединительными патрубками 54 и 55. Впускной патрубок 56 для воды обеспечивает подачу воды в ячейки 51, 52 и 53, а выпускной патрубок 57 для воды выпускает воду из системы.
Блок управления 58, смонтированный на одной боковой стороне системы, управляет работой системы; а в точке 59 блок управления 58 подключен к источнику сетевого питания. В системе по данному варианту осуществления каждая отдельная ячейка 51, 52 и 53 содержит одну группу электродов, между которыми протекает вода, протекающая через систему. Вследствие этого в каждую ячейку поступает вода с температурой на впуске, которая зависит от относительного расположения ячейки.
Система управления в данном варианте осуществления действует аналогично вышеприведенному описанию. Осуществляется непрерывное измерение температур воды на впуске и выпуске каждой ячейки, а напряжения, прикладываемые к электродам каждой ячейки, регулируются так, чтобы подавать необходимую мощность в каждую ячейку для равномерного повышения температуры воды, протекающей от впускного патрубка 56 до выпускного патрубка 57.
Как видно из фиг.3, каждая отдельная ячейка, изображенная на фиг.2, может содержать пару радиально разнесенных коаксиальных электродов 61 и 62, формирующих кольцевой канал 63 течения жидкости. Внешний электрод 61 выполнен из трубы, изготовленной из электропроводящего материала, а впускной патрубок 64 для жидкости обеспечивает поступление жидкости в кольцевой канал 63 между электродами 61 и 62.
Внутренние электроды 62 также могут быть выполнены в виде трубы из электропроводящего материала, коаксиально смонтированной внутри внешнего электрода 61. Коаксиальный монтаж может содержать торцевую вставку 66, закрепленную в одном конце внутреннего электрода 62, проставку 67, надеваемую на концевой участок внутреннего электрода 62 и заходящую под концевой участок внешнего электрода 61, и торцевую крышку 68, прикрепленную к вставке 66 болтом 69. Установку проставки 67 в кольцевой зазор между внутренним и внешним электродами 61 и 62 осуществляют по посадке с натягом или плотной, чтобы тем самым обеспечить уплотнение данного канала и обеспечить отсутствие утечек жидкости при протекании жидкости по каналу течения.
Выполненная таким образом ячейка обеспечивает подачу напряжения между внутренним и внешним электродами 61 и 62 из условия, чтобы ток мог протекать между поверхностями электродов и через жидкость, протекающую по кольцевому каналу 63 течения. Соединения для подачи электрической мощности на внутренний электрод 62 можно выполнять через торцевую вставку 66 и торцевую крышку 68.
Внешний электрод 61 может быть облицован изоляционным материалом, чтобы обеспечить электробезопасные условия эксплуатации водонагревательной системы. Упомянутый изоляционный материал может быть выполнен в виде пластиковой трубы или подобной конструкции, которая сопрягается по плотной посадке с внешней поверхностью внешнего электрода 61.
Специалистам в данной области техники очевидно, что для осуществления настоящего изобретения можно использовать любое число групп электродов. Следовательно, хотя описанные варианты осуществления изобретения содержат три пары электродов, число электродов можно увеличивать или уменьшать в соответствии с индивидуальными требованиями нагревания жидкости. Если число электродов увеличить до, например, шести пар, то электрическое напряжение на каждой отдельной паре можно по отдельности регулировать аналогично тому, как в описанных вариантах осуществления.
Формула изобретения
1. Устройство для нагрева жидкости, содержащее пропускное устройство, определяющее канал течения нагреваемой жидкости, средство измерения температуры жидкости на впуске, предназначенное для измерения температуры жидкости, подлежащей нагреванию, совокупность групп электродных устройств, помещенных в канал течения или формирующих упомянутый канал, между которыми протекает упомянутая жидкость, при этом упомянутые группы электродных устройств содержат, по меньшей мере, первую и вторую группы электродов вдоль канала течения жидкости, а упомянутая первая группа электродов и упомянутая вторая группа электродов каждая содержит, по меньшей мере, одну пару электродов, между которыми пропускают электрический ток через упомянутую жидкость для нагревания жидкости в процессе ее протекания по каналу течения, первое средство измерения температуры на выпуске за второй группой электродов, средство измерения расхода жидкости и средство электрической регулировки для подачи и регулирования электрической мощности на электродах каждой группы, при этом упомянутое средство регулировки содержит средство обработки для установления связи между протекающим током и прикладываемым напряжением в зависимости от измеренных температур на впуске и выпуске и расхода жидкости для определения мощности, которую каждая группа электродов должна подводить к жидкости, чтобы обеспечить необходимую температуру жидкости за второй группой электродов.
2. Устройство по п.1, в котором упомянутое пропускное устройство содержит кольцевое пространство между пространственно разнесенными, по существу, коаксиальными цилиндрическими элементами.
3. Устройство по п.1, в котором второе средство измерения температуры выполнено с возможностью измерения температуры жидкости между первой и второй группами электродов, а средство регулировки выполнено с возможностью регулирования мощности, подаваемой на первую и вторую группы электродов, в соответствии с измеренными температурами и необходимым приростом температуры жидкости при протекании жидкости между соответствующими группами электродов.
4. Устройство по п.1, в котором упомянутая совокупность групп электродных устройств содержит третью группу электродов, расположенную за упомянутой второй группой электродов, а третье средство измерения температуры на выпуске выполнено с возможностью измерения температуры жидкости за третьей группой электродов.
5. Устройство по п.1, в котором электродное устройство содержит цилиндрические, по существу, коаксиальные электроды, формирующие отдельные секции пропускного устройства вдоль канала(ов) течения жидкости.
6. Устройство по п.1, в котором упомянутое пропускное устройство содержит три секции, при этом каждая пропускная секция содержит впускное отверстие и выпускное отверстие, секции соединены между собой последовательно так, что выпускное отверстие первой секции является смежным с впускным отверстием второй секции, а выпускное отверстие второй секции является смежным с впускным отверстием третьей секции, с группой электродов в каждой секции.
7. Устройство по п.6, в котором выпускные отверстия каждой из первой, второй и третьей секций содержат средство измерения температуры жидкости, а упомянутое средство регулировки выполнено с возможностью регулирования мощности, подаваемой на электроды каждой секции, в соответствии с измеренными температурами на впуске и выпуске каждой секции и заданной необходимой разностью температур.
8. Устройство по п.6, в котором каждая пропускная секция сформирована пространственно разнесенными, по существу, коаксиальными цилиндрическими электродами, определяющими кольцевой канал течения жидкости.
9. Устройство по п.1, в котором упомянутое пропускное устройство содержит больше трех пропускных секций, при этом каждая секция содержит впускное и выпускное отверстия, секции соединены между собой последовательно, а средство регулировки выполнено с возможностью регулировки мощности, подаваемой на пару электродов каждой секции, в соответствии с измеренными температурами на впуске и выпуске каждой секции и заданной необходимой разностью температур.
10. Устройство по п.9, в котором заданная необходимая разность температур определяется как функция напряжения, прикладываемого к соответствующим электродам, и измеренных значений протекающего тока, температур на впуске и выпуске секций, расхода жидкости и температур входящей и вытекающей жидкости.
11. Устройство по п.1, в котором средство регулировки выполнено с возможностью подачи регулируемого напряжения на пары электродов с частотой следования импульсов, которая является субгармоникой промышленной частоты напряжения питания, а регулирование мощности, подаваемой на электроды, осуществляется регулированием числа импульсов в единицу времени.
12. Устройство по п.1, в котором упомянутым пропускным устройством определяется ряд параллельных каналов течения для упомянутой жидкости, при этом каждый канал течения содержит совокупность групп электродных устройств, помещенных в канал течения или формирующих канал течения.
13. Способ нагрева жидкости, содержащий следующие этапы:
пропускают жидкость по каналу течения;
создают, по меньшей мере, две группы электродов, пространственно разнесенных вдоль канала течения;
прикладывают регулируемое электрическое напряжение к электродам каждой группы, при этом пропускают электрические токи через жидкость между электродами каждой группы;
контролируют температуру жидкости на впуске канала течения;
контролируют температуру жидкости на выпуске канала течения;
контролируют токи, протекающие через жидкость между электродами каждой группы электродов, в зависимости от прикладываемого регулируемого электрического напряжения и
регулируют регулируемое электрическое напряжение между электродами каждой группы электродов по удельной проводимости жидкости, установленной по контролируемым температурам жидкости и протекающим токам для данного расхода жидкости в каждой секции канала течения, из условия, что количество электроэнергии, подводимой к жидкости, соответствует заданному приросту температуры жидкости.
14. Способ нагрева жидкости по п.13, содержащий этап, на котором контролируют температуру жидкости между группами электродов.
15. Способ нагрева жидкости по п.13, содержащий этап, на котором электрическую мощность, подводимую к жидкости, регулируют микрокомпьютерной управляющей системой.
16. Способ нагрева жидкости по п.13, содержащий этап, на котором учитывают и реагируют на изменения электрической проводимости жидкости в процессе нагревания жидкости внутри системы вместе с измеренным расходом жидкости, температуры жидкости на впуске и необходимой скорости повышения температуры.
17. Способ нагрева жидкости по п.13, содержащий этап, на котором вводят поправки на изменение электрической проводимости жидкости, обусловленное изменениями температур и изменениями концентраций растворенных химикатов и солей, а также нагреванием жидкости посредством изменения среднего электрического напряжения, при этом учитывают изменения удельной проводимости при повышении температуры жидкости на необходимую величину.
18. Способ нагрева жидкости по любому из пп.13-17, содержащий этапы, на которых создают, по меньшей мере, три группы электродов в потоке жидкости и прикладывают электрическое напряжение к электродам каждой пары в соответствии с контролируемыми температурами жидкости в точках перед и за парами электродов.
19. Способ нагрева жидкости по п.18, содержащий этапы, на которых контролируют температуру жидкости в канале течения по обе стороны каждой пары электродов и регулируют по отдельности электрическую мощность, подаваемую на пары электродов каждой группы электродов, при этом обеспечивают необходимый постоянный прирост температуры жидкости в пределах данного сегмента потока жидкости, прилежащего к соответствующим парам электродов.
20. Система для нагрева жидкости, содержащая, по меньшей мере, один канал течения нагреваемой жидкости, впускное отверстие для жидкости, средство измерения температуры входящей жидкости, по меньшей мере, две пары электродов, помещенных в канал течения или формирующих канал течения, при этом пары электродов пространственно разнесены вдоль канала течения, средство измерения температуры жидкости на выпуске каждой пары электродов, средство измерения расхода жидкости, средство электрической регулировки для подачи и регулирования электрической мощности на электродах каждой пары, при этом упомянутое средство регулировки содержит средство обработки для установления отношения между протекающим током, прикладываемым напряжением, температурой входящей жидкости, температурой жидкости на соответствующих выпусках и расходом жидкости для определения мощности, которую необходимо подводить к жидкости каждой парой электродов, чтобы обеспечить необходимую температуру выходящей в определенное время жидкости.
21. Система для нагрева жидкости по п.20, в которой упомянутый канал течения содержит кольцевое пространство между пространственно разнесенными, по существу, коаксиальными цилиндрическими элементами.
22. Система для нагрева жидкости по п.20, в которой упомянутые цилиндрические элементы составляют упомянутые электроды.
23. Система для нагрева жидкости по п.20, содержащая ряд параллельных каналов течения для упомянутой жидкости, при этом каждый канал течения содержит совокупность групп электродных устройств, помещенных в канал течения или формирующих канал течения.
24. Система для нагрева жидкости по п.20, в которой упомянутый канал течения содержит три секции, при этом каждая секция содержит впускное отверстие и выпускное отверстие, секции соединены между собой последовательно так, что выпускное отверстие первой секции является смежным с впускным отверстием второй секции, а выпускное отверстие второй секции является смежным с впускным отверстием третьей секции, с электродами в каждой секции.
25. Система для нагрева жидкости по п.20, в которой устройства измерения температуры жидкости размещены вблизи каждой группы электродов, а упомянутым средством регулировки регулируется мощность, подаваемая на электроды каждой секции, в соответствии с измеренными температурами на впуске и выпуске каждой секции и заданной необходимой разностью температур в каждой секции.
26. Система для нагрева жидкости по п.20, в которой средством регулировки подается напряжение на пары электродов с частотой следования импульсов, которая является субгармоникой промышленной частоты напряжения питания, а регулирование мощности, подаваемой на каждую пару электродов, осуществляется путем изменения числа импульсов.
РИСУНКИ
PC4A – Регистрация договора об уступке патента СССР или патента Российской Федерации на изобретение
Прежний патентообладатель:
МАЙКРОХИТ ПТИ ЛТД (AU)
(73) Патентообладатель:
МАЙКРОХИТ ТЕКНОЛОДЖИЗ ПТИ ЛТД (AU)
Договор № РД0028282 зарегистрирован 30.10.2007
Извещение опубликовано: 10.12.2007 БИ: 34/2007
|
|