|
|
(21), (22) Заявка: 2005124391/06, 01.08.2005
(24) Дата начала отсчета срока действия патента:
01.08.2005
(46) Опубликовано: 27.01.2007
(56) Список документов, цитированных в отчете о поиске:
RU 2129243 C1, 20.04.1999. RU 2024790 C1, 15.12.1994. SU 1756745 A1, 23.08.1992. RU 2151948 C1, 27.06.2000. GB 1102115 A, 07.02.1969.
Адрес для переписки:
454091, г.Челябинск, ул. Труда, 157, каб.28-4, пат. пов. Н.К. Скрипкиной
|
(72) Автор(ы):
Рудин Михаил Федорович (RU)
(73) Патентообладатель(и):
Рудин Михаил Федорович (RU)
|
(54) ПАРОВОДОГРЕЙНЫЙ КОТЕЛ
(57) Реферат:
Изобретение предназначено для нагрева воды и выработки пара и может быть использовано в теплоснабжении и/или горячем водоснабжении. Котел содержит топку шахтного типа, образованную фронтальным, задним, боковыми, подовым и потолочным трубными экранами, трубы которых соединяют нижний и верхний коллекторы, при этом трубы подовых экранов переходят в боковые и далее в потолочный экраны, образуя в разрезе С-образную конфигурацию, в центральной части топки расположен двухсветный змеевиковый трубный парообразователь. Нижний и верхний коллекторы выполнены горизонтальными одинаковой конфигурации, в плане оба имеют конфигурацию поперечного сечения двутавра, двухсветный змеевиковый трубный парообразователь на выходе имеет гребенку из патрубков для выдачи потребителям пара, один из которых присоединен трубопроводом к выходному патрубку котла, подающему потребителю горячую воду. Изобретение обеспечивает упрощение конструкции, повышение функциональных возможностей котла и повышение его КПД. 3 з.п. ф-лы, 3 ил.
Пароводогрейный котел относится к теплоэнергетике и может использоваться в теплоснабжении и/или горячем водоснабжении с естественной циркуляцией теплоносителя в коммунальных, промышленных и сельских объектах.
Известен водогрейный котел по патенту RU 2177116. Котел содержит корпус, горелку, топку, образованную боковыми, потолочными и задним экраном, каждый из которых выполнен по меньшей мере из двух параллельных, разнесенных друг от друга горизонтальных коллекторов, сообщающихся между собой через трубки, причем экраны посредством коллекторов соединены между собой в единую систему подачи и отвода теплоносителя.
Недостатками известного котла являются:
– отсутствие в его конструкции фронтального и подового экранов, что снижает эффективность нагрева теплоносителя;
– отсутствие в его конструкции парообразователя, что сужает функциональные возможности котла;
– повышенная суммарная металлоемкость коллекторов, что увеличивает трудоемкость монтажа топки и стоимость котла.
Известен водогрейный котел по патенту RU 2129243, выбранный в качестве прототипа. Экранированная топочная камера известного котла образована фронтальным, подовым, внутренними и внешними боковыми, потолочными и задними экранами. Экраны выполнены двухрядными и состоят из вертикальных и горизонтальных трубок, соединенных с коллекторами. Продольные коллекторы соединены одним или несколькими двухсветными экранами. Трубки фронтального экрана разведены под горелочное устройство и соединены с внешними трубками потолочного экрана. Фронтальный экран соединен с горизонтальным коллектором, концы которого соединены с передними вертикальными коллекторами. Котел может быть пароводогрейным при дополнительной установке между трубками вертикального двухсветного экрана змеевиковой трубной системы – парообразователя, которая продлена в конвективную горизонтальную шахту и служит для выработки котлом пара.
Недостатками прототипа являются:
– низкая эффективность нагрева теплоносителя;
– большое гидравлическое сопротивление из-за сложной конструкции и наличия многих изгибов трубопроводов;
– невысокие функциональные возможности котла;
– повышенная суммарная металлоемкость коллекторов, увеличивающая трудоемкость монтажа топки и стоимость котла;
– низкий КПД из-за отсутствия подвода пара к горелке.
Техническим результатом предложенного изобретения является устранение недостатков прототипа, а именно:
– упрощение конструкции топочной камеры котла (собственно самого котла);
– снижение суммарной металлоемкости коллекторов;
– снижение трудоемкости монтажа топочной камеры и снижение стоимости котла;
– повышение функциональных возможностей котла, повышение его КПД и устойчивости парообразования.
Технический результат достигается тем, что в пароводогрейном котле, содержащем топку шахтного типа, образованную фронтальным, задним, боковыми, подовым и потолочным трубными экранами, трубы которых соединяют нижний и верхний коллекторы, при этом трубы подовых экранов переходят в боковые и далее в потолочный экраны, образуя в разрезе С-образную конфигурацию, в центральной части топки расположен двухсветный змеевиковый трубный парообразователь, согласно изобретению нижний и верхний коллекторы выполнены горизонтальными, одинаковой конфигурации, в плане оба имеют конфигурацию поперечного сечения двутавра, двухсветный змеевиковый трубный парообразователь на выходе имеет гребенку из патрубков для выдачи потребителям пара, один из которых присоединен трубопроводом к выходному патрубку котла, подающему потребителю горячую воду.
В пароводогрейном котле к одному из патрубков гребенки на выходе двухсветного змеевикового трубного парообразователя может быть присоединен трубопровод подачи пара в горелку для улучшения свечения пламени.
Двухсветный змеевиковый трубный парообразователь на входе может иметь регулятор питания.
Трубы фронтального и заднего экранов могут иметь гидравлические шайбы для обеспечения равномерного расхода воды.
Выполнение нижнего входного и верхнего выходного коллекторов горизонтальными, одинаковой конфигурации, имеющими в плане конфигурацию поперечного сечения двутавра, обеспечивает упрощение конструкции котла за счет компактности присоединения всех вертикальных и С-образных труб радиационных экранов к коллекторам. Упрощение конструкции котла повышает его КПД за счет наиболее полной передачи излучения от факела горелки к трубным экранам. Упрощение конструкции позволяет также снизить гидравлическое сопротивление котла, что расширяет его функциональные возможности.
Снижение количества коллекторов до двух обеспечивает уменьшение, по сравнению с прототипом, суммарной длины труб коллекторов, что снижает вес металлоконструкции котла, уменьшает трудоемкость монтажа элементов топки, снижает стоимость котла.
Наличие гребенки из патрубков, расположенной на выходе двухсветного змеевикового трубного парообразователя, обеспечивает независимую подачу пара одновременно разным потребителям.
Присоединение первого патрубка гребенки трубопроводом к выходному патрубку котла обеспечивает потребителя горячей водой, содержащей некоторое количество пара.
Потребителем горячей воды с содержанием пара может быть система автономного теплоснабжения с естественной циркуляцией теплоносителя, в которой горячая вода должна содержать около 2% пара, необходимого для обеспечения и усиления естественной циркуляции теплоносителя.
Двухсветный змеевиковый трубный парообразователь функционально представляет собой встроенный прямоточный паровой котел, качественная работа которого обеспечивается расположенным на входе регулятором питания водой. Так как пароводогрейный котел работает по водогрейному графику, то при отсутствии регулятора питания, можно получить влажный пар, образующийся при неполном испарении воды. Наличие автоматического регулятора питания водой, установленного на входе двухсветного змеевикового трубного парообразователя, повышает устойчивость процесса парообразования и обеспечивает получение сухого насыщенного пара, как при пуске котла, так и на переходных и штатных режимах его работы.
В связи с тем, что С-образные трубы котла, образующие подовый, боковые и потолочные экраны, в 1,5-2 раза длиннее по сравнению с трубами фронтального и заднего экранов, то для выравнивания гидравлического сопротивления трубы фронтального и заднего экранов снабжены гидравлическими шайбами, позволяющими обеспечить расход воды равномерно по всем экранам котла.
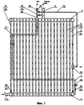
На фиг 1 показан общий вид топочной камеры котла.
На фиг.2 изображен вид на камеру сверху.
На фиг 3 показан разрез А-А на фиг.2.
Основой топки шахтного типа пароводогрейного котла являются нижний входной 1 и верхний выходной 2 коллекторы, выполненные из труб диаметром около 200 мм. Коллекторы расположены горизонтально. К коллектору 1 присоединен входной патрубок 3, к коллектору 2 присоединен выходной патрубок 4 подачи потребителя горячей воды. Коллекторы 1 и 2 соединены между собой трубами экранов диаметром около 50 мм. Посредством труб 5 выполнен фронтальный 6 экран. Посредством труб 8 выполнен задний 22 экран. Посредством С-образных труб 9 выполнены боковые 10, подовые 11 и потолочный 12 экраны. Между трубами 5 фронтального экрана 6 установлено горелочное устройство 13. В центральной части топки имеется двухсветный змеевиковый трубный парообразователь 7, входной патрубок которого соединен трубопроводом с нижним входным коллектором 1 вне зоны топочного пространства, что вызвано необходимостью врезки в него встроенного регулятора 14 питания парообразователя 7 водой. Выходной патрубок 15 парообразователя 7 соединен с выходным патрубком 4 верхнего коллектора 2. Выходной патрубок 15 парообразователя 7 выполнен на выходе в виде гребенки 15, первый патрубок 16 которой присоединен трубопроводом 17 к выходному патрубку 4 котла, по которому потребителю поставляется горячая вода. К второму патрубку 18 гребенки 15 на выходе двухсветного змеевикового трубного парообразователя 7 присоединен трубопровод 19 подачи пара в горелку 13 для улучшения свечения пламени. На входе гребенки 15 имеется также патрубок 23 подачи пара потребителю. Двухсветный змеевиковый трубный парообразователь 7 на входе имеет регулятор питания 14 водой. Трубы фронтального 6 и заднего 22 экранов имеют гидравлические шайбы 20 для обеспечения равномерного расхода воды по всем экранам котла.
Пароводогрейный котел работает следующим образом.
Холодная вода подается в котел через патрубок 3 и нижний входной коллектор 1, через который поступает также через встроенный регулятор 14 питания в трубку парообразователя 7. При работе горелочного устройства 13 питающая вода нагревается в коллекторах, во всех экранах и в змеевиковом парообразователе 7. Нагретая в котле вода через патрубок 4 верхнего коллектора 2 отводится в отопительную систему и/или систему горячего водоснабжения. Пар из парообразователя 7 посредством патрубков 16, 18 и выходного патрубка 23 гребенки 15 отбирается на технологические нужды потребителей. Потребителей пара может быть несколько, в том числе и система автономного теплоснабжения с естественной циркуляцией теплоносителя, которой нужна горячая вода с содержанием в ней около 2% пара, необходимого для обеспечения и улучшения циркуляции теплоносителя. Подачу пара в патрубок 4 выдачи потребителю горячей воды, в частности в систему автономного теплоснабжения с естественной циркуляцией теплоносителя, осуществляют открытием вентиля, установленного на патрубке 16 гребенки 15. Подачу пара в горелку для улучшения свечения пламени осуществляют открытием вентиля, установленного на патрубке 18 гребенки 15. Необходимое повышение гидравлического сопротивления в трубах фронтального 6 и заднего 22 экранов осуществляют при помощи гидравлических шайб 20, обеспечивая равномерный расход воды во всех экранах котла.
Предлагаемый пароводогрейный котел повышает эффективность системы автономного теплоснабжения (CAT) с естественной циркуляцией теплоносителя за счет упрощения конструкции топки, снижения металлоемкости, повышения КПД котла и обеспечения минимального гидравлического сопротивления.
Формула изобретения
1. Пароводогрейный котел, содержащий топку шахтного типа, образованную фронтальным, задним, боковым, подовым и потолочным трубными экранами, трубы которых соединяют нижний и верхний коллекторы, при этом трубы подового экрана переходят в боковые и далее в потолочный экран, образуя в разрезе С-образную конфигурацию, в центральной части топки расположен двухсветный змеевиковый трубный парообразователь, отличающийся тем, что нижний и верхний коллекторы выполнены горизонтальными одинаковой конфигурации, в плане оба имеют конфигурацию поперечного сечения двутавра, двухсветный змеевиковый трубный парообразователь на выходе имеет гребенку из патрубков для выдачи потребителям пара, один из которых присоединен трубопроводом к выходному патрубку котла, подающему потребителю горячую воду.
2. Пароводогрейный котел по п.1, отличающийся тем, что к одному из патрубков гребенки на выходе двухсветного змеевикового трубного парообразователя присоединен трубопровод подачи пара в горелку для улучшения свечения пламени.
3. Пароводогрейный котел по п.1 или 2, отличающийся тем, что двухсветный змеевиковый трубный парообразователь на входе имеет регулятор питания.
4. Пароводогрейный котел по п.1, отличающийся тем, что трубы фронтального и заднего экранов имеют гидравлические шайбы для обеспечения равномерного расхода воды во всех экранах котла.
РИСУНКИ
|
|