|
(21), (22) Заявка: 2005104208/06, 16.02.2005
(24) Дата начала отсчета срока действия патента:
16.02.2005
(43) Дата публикации заявки: 27.07.2006
(46) Опубликовано: 27.01.2007
(56) Список документов, цитированных в отчете о поиске:
Баркалов Б.В., Карпис Е.Е.Кондиционирование воздуха в промышленных, общественных и жилых зданиях. М.: Стройиздат, 1982. – с.134, 136, 137. RU 2243451 C2, 27.12.2004. SU 859770 A, 30.08.1981. US 3828528 A, 13.08.1974. US 2723837 A, 15.11.1955.
Адрес для переписки:
440066, г.Пенза, пр. Победы, 138, кв.49, А.Г.Аверкину
|
(72) Автор(ы):
Аверкин Александр Григорьевич (RU)
(73) Патентообладатель(и):
Аверкин Александр Григорьевич (RU)
|
(54) УСТРОЙСТВО ДЛЯ ТЕПЛОВЛАЖНОСТНОЙ ОБРАБОТКИ ВОЗДУХА И СПОСОБ ЕГО МОНТАЖА
(57) Реферат:
Устройство и способ предназначены соответственно для тепловлажностной обработки воздуха в системах вентиляции и кондиционирования воздуха и монтажа его оборудования. Устройство состоит из приточной и вытяжной систем, параллельно присоединенных воздуховодами к вращающемуся осушителю воздуха барабанного типа со слоем зернистого адсорбента. В приточной системе установлены байпасный воздуховод для наружного воздуха, расположенный за вентилятором до и после вращающегося осушителя воздуха, поверхностный воздухоохладитель, соединенный с системой получения холодной воды на основе многоступенчатого косвенного и прямого охлаждения воздуха. Узлы приточной и вытяжной системы смонтированы на шарнирной раме, имеющей ось вращения, совпадающей с ее вертикальной или горизонтальной осью симметрии. Технический результат – круглогодичная работа устройства, повышение экологической безопасности, уменьшение его стоимости. 2 н.п. ф-лы, 3 ил.
Изобретение относится к технике вентиляции и кондиционирования воздуха и может быть использовано для осушения, охлаждения, нагрева и увлажнения воздуха.
В системах кондиционирования для осушения воздуха применяются устройства, содержащие твердые сорбенты с высокоразвитой внутренней удельной поверхностью. В частности, в качестве адсорбентов применяют силикагель, алюмогель и др. [1, с.134]. Адсорбенты часто применяют в виде зерен диаметром 2…8 мм.
При прохождении влажного воздуха через слой зернистого адсорбента происходит явление капиллярной конденсации паров воды, т.е. его осушение. При этом температура осушенного воздуха интенсивно возрастает из-за выделения удельной теплоты адсорбции [1, с.137; 2, с.67].
Осушение воздуха может проводиться с помощью аппаратов двух типов: с непрерывно вращающимся слоем адсорбента и с неподвижным слоем адсорбента [1, с.136; 2, с.157-160].
Характерной особенностью применения данных аппаратов является то, что в них необходимо попеременно осуществлять процессы сорбции водяных паров адсорбентом и его активации (реактивации). Реактивацию проводят с целью восстановления прежних свойств адсорбента: избирательно поглощать водяные пары из воздуха. Для реактивации слой зернистого адсорбента нагревают, пропуская через него горячий воздух t=120…150°С [1, с.136], чтобы давление паров адсорбированной влаги стало выше парциального давления водяных паров в воздухе.
Наибольший интерес представляют аппараты с непрерывно вращающимся слоем адсорбента, т.к. они компактны и занимают меньшую производственную площадь.
Зернистый адсорбент находится в полости барабана с приводом (вращающегося осушителя), обеспечивающим его вращение до 10 мин-1.
При вращении барабана 75% слоя адсорбента (сектор адсорбции) постоянно находится в потоке наружного (осушаемого) воздуха, и он сорбирует из него водяные пары своей развитой капиллярной структурой. На выходе из вращающегося осушителя может быть получен абсолютно сухой воздух [1].
Другая часть 25% слоя адсорбента в барабане (сектор реактивации) постоянно находится в потоке горячего внутреннего воздуха, отдавая ему сорбированные водяные пары, восстанавливая свою поглощающую способность.
Недостатком данного устройства является получение приточного воздуха с параметрами, не отвечающими расчетным (влагосодержание воздуха d0 г/кг; температура воздуха – выше температуры рабочей зоны).
По этой причине в устройствах со слоем зернистого адсорбента в приточной системе предусмотрено дополнительное оборудование [2, с.158-160].
Вначале осушенный воздух направляют в поверхностный воздухоохладитель для сухого охлаждения, затем – в увлажнительное устройство, например оросительную форсуночную камеру (ОКФ) для адиабатического увлажнения и охлаждения приточного воздуха в теплый период года.
Для сухого охлаждения воздуха в воздухоохладитель подают холодную воду, полученную с помощью холодильной машины.
Таким образом, недостатками приведенного устройства для тепловлажностной обработки воздуха являются:
1. Наличие дополнительного оборудования (воздухоохладителя, увлажнителя – ОКФ);
2. Потребность в холодильной машине для получения холодной воды для поверхностного воздухоохладителя.
3. Сезонный режим работы устройства (в теплый период года).
Также известен способ глубокого охлаждения воздуха при постоянном влагосодержании (сухое охлаждение) [3]. В поверхностный воздухоохладитель подается холодная циркуляционная вода, полученная путем испарительного охлаждения воздуха, температура которого снижена за счет использования воды на предыдущих циклах прямого и косвенного охлаждения воздуха.
Предлагаемым изобретением решается задача сохранения работоспособности устройства для тепловлажностной обработки воздуха круглогодично, при снижении количества дополнительного оборудования, уменьшении его стоимости и повышении экологической безопасности.
Для достижения указанного технического результата в устройстве для тепловлажностной обработки воздуха, состоящем из узлов приточной системы, включающей последовательно соединенные воздуховодами воздушный фильтр, вентилятор для наружного воздуха, вращающийся осушитель воздуха со слоем зернистого адсорбента, а также из узлов вытяжной системы, включающей последовательно соединенные воздуховодами воздушный фильтр, воздухонагреватель, сектор регенерации во вращающемся осушителе воздуха и вентилятор для внутреннего воздуха, в приточной системе установлены байпасный воздуховод для наружного воздуха, расположенный за вентилятором для наружного воздуха до и после вращающегося осушителя воздуха, и поверхностный воздухоохладитель, соединенный с системой получения холодной воды на основе многоступенчатого косвенного и прямого охлаждения воздуха.
Применение данного способа совместно с вращающимся осушителем воздуха со слоем зернистого адсорбента позволит получить практически любые требуемые (нормативные) параметры приточного воздуха в теплый период в соответствии с СНиП 41-01-2003 Отопление, вентиляция, кондиционирование.
В этих условиях необходимость в холодильной машине отсутствует, т.е. решение находят экологические проблемы (нет загрязнений атмосферы хладагентами-фреонами), повышаются технико-экономические показатели СКВ (из-за снижения стоимости устройства для тепловлажностной обработки воздуха).
Также может быть уменьшено количество стадий (узлов) для обработки воздуха в теплый период. За счет применения байпасного воздуховода, установленного до и после осушителя воздуха, необходимость в увлажнительном устройстве отпадает.
Монтаж основных узлов устройств для тепловлажностной обработки воздуха, например, автономных кондиционеров оконного типа и др. традиционно осуществляется на неподвижном каркасе – стационарной раме, которая может устанавливаться в оконном проеме, иметь форму прямоугольного параллелепипеда или шкафа [2, с.188-189, 236].
Недостатком монтажа на стационарной раме является ограниченность функциональных возможностей узлов приточной и вытяжной систем, например, изменить функцию работы приточного радиального вентилятора на работу вытяжного вентилятора и обратно практически невозможно, т.к. это реверсирование связано с установкой дополнительных обводных воздуховодов, увеличением аэродинамического сопротивления, дополнительных энергозатрат.
Монтаж узлов приточной и вытяжной систем заявляемого устройства осуществляется на шарнирной раме, имеющей ось вращения, совпадающей с ее вертикальной или горизонтальной осью симметрии. Данный способ монтажа обеспечит относительную легкость реверсирования цикла работы всех узлов приточной и вытяжной системы с целью создания оптимальных параметров внутреннего воздуха и в холодный период.
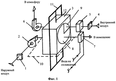
Схема предлагаемого устройства для тепловлажностной обработки воздуха приведена на фиг.1.
Позиции на фиг.1 обозначают:
1 – воздушный фильтр для наружного воздуха;
2 – вентилятор для наружного воздуха (приточный);
3 – осушитель воздуха с вращающимся барабаном для адсорбента;
4 – воздушный фильтр для внутреннего воздуха;
5 – воздухонагреватель;
6 – вентилятор для внутреннего воздуха (вытяжной);
7 – поверхностный воздухоохладитель;
8 – сектор адсорбции;
9 – сектор реактивации адсорбента;
10 – байпасный воздуховод у осушителя;
11 – рама;
12 – ось вращения.
Устройство для тепловлажностной обработки воздуха содержит узлы приточной системы, включающие последовательно соединенные воздушный фильтр 1, вентилятор для наружного воздуха 2, байпасный воздуховод 10 у осушителя, осушитель с вращающимся барабаном с зернистым слоем адсорбента (силикагелем) 3 и сектором адсорбции 8, поверхностный воздухоохладитель с наружным оребрением 7, а также узлы вытяжной системы, включающие последовательно соединенные воздуховодами воздушный фильтр для внутреннего воздуха 4, воздухонагреватель 5, сектор реактивации адсорбента во вращающемся барабане осушителя воздуха 9, вентилятор для внутреннего воздуха 6. Узлы приточной и вытяжной систем смонтированы на шарнирной раме 11, имеющей ось вращения 12, совпадающей с ее вертикальной осью симметрии.
Устройство для тепловлажностной обработки воздуха работает следующим образом.
1. Теплый период года
Наружный воздух при помощи вентилятора 2 проходит через воздушный фильтр 1, затем – слой зернистого адсорбента (сектор адсорбции – 8) во вращающемся барабане осушителя 3. При этом часть наружного воздуха может быть направлена по байпасному воздуховоду 10, минуя осушитель 3. В воздухе, проходящем через осушитель, за счет сорбции паров воды зернами адсорбента снижается влагосодержание до 0.
За осушителем оба потока (из осушителя, из байпасного воздуховода) смешиваются. Путем регулирования расхода данных воздушных потоков можно получить воздушную смесь с заданным влагосодержанием.
Затем воздушная смесь поступает в поверхностный теплообменник-воздухоохладитель 7 для сухого охлаждения и доведения ее параметров, соответствующих приточному воздуху на входе в помещение.
Для охлаждения воздуха в воздухоохладитель подается холодная вода, которая получается в отдельной системе за счет многоступенчатого косвенного и прямого охлаждения воздуха [3].
Для удаления внутреннего воздуха, содержащего вредные тепловлагогазовыделения служит вытяжная система. Другой функцией системы является реактивация слоя адсорбента после его насыщения парами воды в осушителе 3.
За счет работы радиального вентилятора 6 внутренний воздух последовательно проходит воздушный фильтр 4, воздухонагреватель 5, сектор реактивации 9 во вращающемся барабане осушителя 3 и выбрасывается в атмосферу.
Воздухонагреватель 5 может иметь электрический обогрев (с помощью ТЭНов) или водяной – при использовании горячей воды и поверхностного теплообменника.
При прохождении горячего воздуха через сектор реактивации зерна адсорбента нагреваются, что вызывает рост парциального давления водяных паров в поровом пространстве адсорбента.
Водяные пары из капилляров адсорбента диффундируют в воздушный поток. Воздух увлажняется, а адсорбент восстанавливает свои первоначальные свойства – сорбировать водяные пары из воздуха в секторе адсорбции 8, куда его вернет вращающийся барабан осушителя 3. Перед выходом из сектора реактивации зерна адсорбента подвергаются охлаждению за счет подсоса внутреннего воздуха у его периферии.
Таким образом, в теплый период обеспечивается непрерывная тепловлажностная обработка наружного воздуха: осушение, смешение, охлаждение и подача его в помещение. При этом он очищается от пыли. Параллельно осуществляется непрерывное удаление загрязненного внутреннего воздуха и непрерывная реактивация адсорбента во вращающемся осушителе.
Схема обработки воздуха в теплый период на (I-d) диаграмме влажного воздуха приведена на фиг.2.
Физический смысл отрезков следующий:
НН1 – нагрев наружного воздуха в вентиляторе 2.
H1A – осушение наружного воздуха во вращающемся осушителе 3 со слоем зернистого адсорбента. Данный отрезок также можно рассматривать как процесс смешения осушенного потока воздуха на выходе из осушителя 3 с исходным наружным воздухом, поступившим через байпасный воздуховод 10.
Здесь параметры воздушной смеси определяются положением точки С.
СП – сухое охлаждение смешанного воздуха в воздухоохладителе 7.
ПВУ – изменение параметров воздуха в помещении.
Точка В характеризует оптимальные параметры внутреннего воздуха в помещении, точка У характеризует состояние удаляемого воздуха из помещения.
2. Холодный период.
В данный период тепловлажностная обработка наружного воздуха заключается в его нагреве и увлажнении. При этом наружный воздух также очищается от пыли.
Для проведения тепловлажностной обработки воздуха шарнирную раму, на которой смонтированы узлы приточной и вытяжной системы, поворачивают на 180° в горизонтальной плоскости благодаря оси вращения, расположенной в вертикальной плоскости и совпадающей с вертикальной осью симметрии рамы (при наличии у шарнирной рамы оси вращения в горизонтальной плоскости и совпадающей с горизонтальной осью ее симметрии раму поворачивают на 180° в вертикальной плоскости).
После проведения этой операции расположение узлов приточной и вытяжной систем изменяется в пространстве (фиг.1).
При установке данного устройства, например, в оконном проеме помещения и при повороте рамы вокруг вертикальной шарнирной оси на 180° вентиляторы 2 и 6, воздушный фильтр 1 окажутся справа от осушителя воздуха 3 и будут контактировать с внутренним воздухом, а все узлы устройства, находившиеся ранее справа от осушителя, примут положение слева от него, они будут контактировать с наружным воздухом. Слева от осушителя будут находиться воздушный фильтр 4, воздухонагреватель 5, теплообменник-воздухоохладитель 7.
В данных условиях вентиляторы меняют свои функции.
Вентилятор 2 будет перемещать внутренний воздух и выбрасывать его из помещения наружу в атмосферу, а вентилятор 6 будет забирать наружный воздух и подавать его в помещение.
Наружный воздух за счет работы вентилятора 6 будет проходить воздушный фильтр 4, воздухонагреватель 5, слой зернистого адсорбента в аппарате 3 и поступать в помещение. Нагретый наружный воздух, проходя слой зернистого адсорбента, будет десорбировать водяные пары из него и увлажняться. Адсорбент вновь приобретет свойства поглощать водяные пары. За счет вращения барабана в узле 3 этот сектор адсорбента переместится в поток внутреннего воздуха. Внутренний воздух за счет работы вентилятора 2 проходит воздушный фильтр 1, слой зернистого адсорбента 8 в аппарате 3 и через теплообменник 7 выбрасывается наружу. Подача воды в теплообменник 7 в холодный период года не производится.
Внутренний воздух, проходя слой адсорбента 8, отдает ему водяные пары и в осушенном состоянии удаляется в атмосферу, наделяя адсорбент возможностью увлажнять поток нагретого наружного воздуха.
Таким образом, в холодный период года аппарат 3 работает как увлажнитель наружного воздуха за счет осушения внутреннего воздуха.
Способ предлагаемого монтажа узлов на шарнирной раме позволяет не монтировать дополнительных рециркуляционных воздуховодов, соответственно, не повышать аэродинамическое сопротивление воздушной сети и не применять дополнительную систему воздушных регулировочных клапанов, т.е. не завышать тип (марку) вентилятора, следовательно, способствует снижению материалоемкости, расхода электрической энергии и стоимости тепловлажностного устройства.
Схема обработки воздуха в холодный период на (I-d) диаграмме влажного воздуха приведена на фиг.3.
Физический смысл указанных отрезков следующий:
НК – нагрев наружного воздуха в воздухонагревателе 5.
КП – увлажнение нагретого наружного воздуха в увлажнителе 3.
ПВУ – изменение параметров приточного воздуха в помещении.
Как видно из приведенного выше, предлагаемое устройство для тепловлажностной обработки воздуха и способ его монтажа обеспечивают создание и поддержание необходимых (требуемых) параметров приточного воздуха в теплый и холодный периоды года, подачу его в помещение, а также удаление воздуха, содержащего вредности (избыток тепла, водяных паров), из помещения при непрерывном режиме работы.
Достоинствами заявляемого устройства для тепловлажностной обработки воздуха и способа его монтажа являются:
– отсутствие холодильной машины, например, компрессионного типа с экологически опасными холодильными агентами;
– снижение материалоемкости;
– уменьшение расхода электрической энергии;
– снижение стоимости устройства;
– круглогодичность работы.
ИСТОЧНИКИ ИНФОРМАЦИИ
1. Б.В.Баркалов, Е.Е.Карпис. Кондиционирование воздуха в промышленных, общественных и жилых зданиях. М.: Стройиздат, 1982. – 312 с.
2. В.Н.Богословский, О.Я.Кокорин, Л.В.Петров. Кондиционирование воздуха и холодоснабжение. М.: Стройиздат, 1985. – 367 с.
3. Патент РФ 2243451, F 24 F 3/14, 6/02. Способ охлаждения воздушного потока / А.Г.Аверкин – №2002104376; заявлено 18.02.02; опубл. 27.12.2004, приоритет 18.02.02. – 10 с.
Формула изобретения
1. Устройство для тепловлажностной обработки воздуха, состоящее из узлов приточной системы, включающей последовательно соединенные воздуховодами воздушный фильтр, вентилятор для наружного воздуха, вращающийся осушитель воздуха со слоем зернистого адсорбента, а также из узлов вытяжной системы, включающей последовательно соединенные воздуховодами воздушный фильтр, воздухонагреватель, сектор регенерации во вращающемся осушителе воздуха и вентилятор для внутреннего воздуха, отличающееся тем, что в приточной системе установлены байпасный воздуховод для наружного воздуха, расположенный за вентилятором для наружного воздуха до и после вращающегося осушителя воздуха, и поверхностный воздухоохладитель, соединенный с системой получения холодной воды на основе многоступенчатого косвенного и прямого охлаждения воздуха.
2. Способ монтажа устройства для тепловлажностной обработки воздуха, включающий установку узлов приточной и вытяжной системы, отличающийся тем, что узлы приточной и вытяжной системы монтируют на шарнирной раме, имеющей ось вращения, совпадающую с ее вертикальной или горизонтальной осью симметрии.
РИСУНКИ
|