|
|
(21), (22) Заявка: 2005118904/03, 17.06.2005
(24) Дата начала отсчета срока действия патента:
17.06.2005
(46) Опубликовано: 27.01.2007
(56) Список документов, цитированных в отчете о поиске:
RU 16618 U1, 20.01.2001. RU 2134381 C1, 10.08.1999. RU 17075 U1, 10.03.2001. RU 30937 U1, 10.07.2003. RU 2231716 C2, 27.06.2004.
Адрес для переписки:
601900, Владимирская обл., г. Ковров, ул. Труда, 4, ОАО “Завод им. В.А. Дегтярева”, ОПЛИР
|
(72) Автор(ы):
Мосалев Сергей Михайлович (RU), Наумов Виктор Иванович (RU), Сыса Виктор Павлович (RU)
(73) Патентообладатель(и):
Открытое акционерное общество “Завод им. В.А. Дегтярева” (RU)
|
(54) УСТРОЙСТВО ДЛЯ ОТОПЛЕНИЯ И ГОРЯЧЕГО ВОДОСНАБЖЕНИЯ
(57) Реферат:
Изобретение относится к теплотехнике, а именно к вихревым теплогенераторам и может быть использовано в качестве источника тепловой энергии в системах отопления и горячего водоснабжения. Устройство для отопления и горячего водоснабжения содержит насос с электродвигателем и цилиндрический резервуар, которые установлены на раме с виброопорами из упругого материала. Внутри резервуара неподвижно установлено разгонное устройство, состоящее из жестко связанных между собой конусного ускорителя движения жидкости, завихрителя жидкой среды и трубопровода, расположенного вдоль резервуара. Тормозное устройство выполнено в виде пластины, являющейся одновременно кронштейном для фиксированной установки разгонного устройства внутри резервуара. Резервуар гидравлически соединен с насосом трубопроводами. На трубопроводах выполнены входное и выходное отверстия, которые служат для подсоединения к системе отопления и горячего водоснабжения. На электродвигателе закреплен кожух в форме конуса, выполняющий роль диффузора. Для удаления скопившегося в устройстве воздуха в верхней точке резервуара установлен воздушный клапан. Резервуар по цилиндрической поверхности и с торцов покрыт тепло- и шумоизолятором. Технический результат: повышение теплопроизводительности устройства и снижение потерь тепловой энергии, повышение механической надежности устройства с улучшением эргономических показателей. 2 з.п. ф-лы, 3 ил.
Изобретение относится к теплотехнике, а именно к вихревым теплогенераторам, и может быть использовано в качестве источника тепловой энергии в системах отопления и горячего водоснабжения.
Известно устройство для нагрева текущей среды (см. заявку RU № 2002122224, F 25 В 29/00, 10.12.2002 г.), включающее в себя замкнутый контур, содержащий насос, нагнетательный патрубок которого соединен с оснащенной завихрителем текущей среды кавитационной камерой, в виде полого цилиндра, выходной конец которого подключен к всасывающему патрубку насоса и оснащен гидротормозом в виде, по меньшей мере, одной пластины, причем завихритель представляет собой отрезок трубы в форме спирали уменьшающегося проходного сечения.
Недостатками данного устройства являются большие потери тепловой энергии при теплогенерации, сложность конструкции, низкая эффективность теплопроизводительности, высокий уровень шума и вибрации.
Известно устройство для отопления и горячего водоснабжения, представляющее собой теплогенератор гидравлический проточный (см. заявку RU № 2000124721, F 24 D 3/02, 20.01.2001), принятый за прототип. Теплогенератор содержит корпус с цилиндрической частью, оснащенный циклоном, торцевая сторона которого соединена с цилиндрической частью корпуса. В основании цилиндрической части, противолежащей циклону, смонтировано тормозное устройство, за которым установлено дно с выходным отверстием. Циклон посредством инжекторного патрубка соединен с насосом, приводимым в действие электродвигателем. Сечение инжекторного патрубка в месте установки сопряжено с сечением основания сменных конусных втулок, устанавливаемых для регулировки диаметра входного отверстия инжектора. Циклон с конусными втулками инжектора совместно с рабочей цилиндрической частью корпуса до тормозного устройства представляет собой разгонное устройство.
Недостатками данного устройства являются большие потери тепловой энергии при теплогенерации, достаточно низкая теплопроизводительность, высокий уровень шума и вибрации, низкая технологичность.
Предлагаемым изобретением решается задача: снижение энергозатрат, создающее экономический эффект для потребителя, улучшение условий труда за счет снижения уровня шума, уровня вибрации до приемлемых санитарных норм, увеличение срока службы электродвигателя.
Технический результат, получаемый при осуществлении изобретения, заключается в следующем: повышение теплопроизводительности устройства и снижение потерь тепловой энергии, повышение механической надежности устройства с улучшением эргономических показателей.
Указанный технический результат достигается тем, что в устройстве, состоящем из насоса с электродвигателем, разгонного устройства, вход и выход которого через гидравлические каналы подсоединены к насосу, и тормозного устройства, новым является то, что для обеспечения аккумуляции тепловой энергии устройство снабжено цилиндрическим резервуаром, покрытым тепло- и шумоизоляционным материалом, и являющимся одновременно несущей конструкцией для неподвижной установки разгонного устройства, выполненного в виде жестко связанных между собой конического ускорителя движения жидкости, завихрителя жидкой среды и трубопровода, расположенного вдоль резервуара до тормозного устройства, выполненного в виде пластины и являющегося одновременно кронштейном для фиксированной установки разгонного устройства внутри резервуара, в верхней части которого выполнен воздушный клапан, на трубопроводах гидравлических каналов, соединяющих в замкнутую систему резервуар с разгонным устройством и насос, выполнены входное и выходное отверстия для подсоединения к системе отопления и горячего водоснабжения.
Резервуар и насос с электродвигателем установлены на раме с виброопорами из упругого материала.
Электродвигатель снабжен кожухом в форме конуса, выполняющего роль диффузора.
Резервуар, покрытый тепло- и шумоизоляционным материалом, является не только несущей конструкцией для установки разгонного устройства, но и теплоизолированным аккумулятором тепловой энергии, что позволяет снизить энергозатраты на нагрев жидкости в ночное время, когда тариф на электроэнергию снижен, использование нагретого теплоносителя в дневное время приводит к значительному экономическому эффекту для потребителя по сравнению с равномерной загрузкой устройства в течение суток.
Работа теплогенератора сопровождается значительным шумовым фоном, в некоторых случаях превышающим допустимые показатели по шуму для агрегатов общепромышленного назначения. Размещение основного источника шума – разгонного устройства в резервуаре в сплошной жидкой среде, из которой удален воздух посредством размещенного на резервуаре воздушного клапана, позволяет работать устройству эффективно с невысоким уровнем шума, который еще более снижается при покрытии резервуара тепло- и шумоизолятором.
Еще одним негативным моментом при эксплуатации вихревых теплогенераторов является высокий уровень вибрации. Для гашения уровня вибрации при работе устройства рама с расположенными на ней насосом с электродвигателем и резервуаром установлена на виброопоры из упругого материала, что позволяет снизить вибрацию до приемлемых санитарных норм. Ввиду того, что разгонное устройство внутри резервуара расположено не консольно, а жестко связано с цилиндрической стенкой посредством кронштейна, одновременно являющегося гидравлическим тормозом, то, следовательно, конструкции придана необходимая жесткость, что также ведет к снижению вибрационных нагрузок.
Одним из основных и дорогостоящих узлов данной конструкции является электродвигатель, и выход его из строя при эксплуатации крайне нежелателен. С целью увеличения ресурса электродвигателя, он снабжен кожухом, выполненным в виде конуса, изготовленного из листовой стали и выполняющий роль диффузора, который обеспечивает доступ дополнительного потока воздуха для охлаждения электродвигателя. Входное (малое) отверстие конуса может быть соединено со средой наружного воздуха.
Технические решения с признаками, отличающими заявляемое решение от прототипа, не известны и явным образом из уровня техники не следуют. Это позволяет считать, что заявляемое решение является новым и обладает изобретательским уровнем.
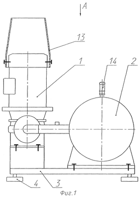
Сущность изобретения поясняется чертежами, где на фиг.1 показана общая компоновка устройства для отопления и горячего водоснабжения, на фиг.2 – вид А, схема расположения разгонного устройства в резервуаре, на фиг.3 – вид Б, схема расположения тормозного устройства.
Устройство для отопления и горячего водоснабжения содержит насос 1 с электродвигателем, цилиндрический резервуар 2, которые установлены на раме 3 с виброопорами из упругого материала 4. Внутри резервуара 2 неподвижно установлено разгонное устройство, состоящее из жестко связанных между собой конусного ускорителя 6 движения жидкости, завихрителя 5 жидкой среды и трубопровода 7, расположенного вдоль резервуара 2. Тормозное устройство 8 выполнено в виде пластины, являющейся одновременно кронштейном для фиксированной установки разгонного устройства внутри резервуара 2. Резервуар 2 гидравлически соединен с насосом трубопроводами 9, 10, которые выполнены из прямолинейного участка трубы, отвода и фланца. На трубопроводах выполнены входное и выходное отверстия 11, 12, которые служат для подсоединения к системе отопления и горячего водоснабжения. На электродвигателе закреплен кожух в форме конуса 13, выполняющий роль диффузора для обеспечения доступа дополнительного потока воздуха для охлаждения электродвигателя. Для удаления скопившегося в устройстве воздуха в верхней точке резервуара 2 установлен воздушный клапан 14. Резервуар по цилиндрической поверхности и с торцев покрыт тепло- и шумоизолятором 15.
Устройство работает следующим образом.
По трубопроводу от насоса 1 теплоноситель (вода) под давлением подается в конусный ускоритель 6 движения жидкости и далее – в завихритель 5, где она проходит по спирали и ее движение приобретает характер вихревого потока с возрастающей скоростью. Оттуда жидкость попадает в трубопровод 7, а затем в тормозное устройство 8, выполненное в виде пластины. Скорость и давление снижаются, а механическая энергия жидкости изменяется с направлением на увеличение температуры. Тормозное устройство 8 служит не только для повышения эффективности нагрева жидкой среды, но и является кронштейном, обеспечивающим жесткость всего разгонного устройства внутри резервуара. По трубопроводу 10 через выходное отверстие 12 разогретая жидкость частично поступает в обратную линию системы отопления и горячего водоснабжения, а частично на вход насоса.
Формула изобретения
1. Устройство для отопления и горячего водоснабжения, состоящее из насоса с электродвигателем, разгонного устройства, вход и выход которого через гидравлические каналы подсоединены к насосу, и тормозного устройства, отличающееся тем, что для обеспечения аккумуляции тепловой энергии устройство снабжено цилиндрическим резервуаром, покрытым тепло- и шумоизоляционным материалом и являющимся одновременно несущей конструкцией для неподвижной установки разгонного устройства, выполненного в виде жестко связанных между собой конического ускорителя движения жидкости, завихрителя жидкой среды и трубопровода, расположенного вдоль резервуара до тормозного устройства, выполненного в виде пластины и являющегося одновременно кронштейном для фиксированной установки разгонного устройства внутри резервуара, в верхней части которого выполнен воздушный клапан, на трубопроводах гидравлических каналов, соединяющих в замкнутую систему резервуар с разгонным устройством и насос, выполнены входное и выходное отверстия для подсоединения к системе отопления и горячего водоснабжения.
2. Устройство по п.1, отличающееся тем, что резервуар и насос с электродвигателем установлены на раме с виброопорами из упругого материала.
3. Устройство по п.1, отличающееся тем, что электродвигатель снабжен кожухом в форме конуса, выполняющего роль диффузора.
РИСУНКИ
|
|