|
|
(21), (22) Заявка: 2004117790/06, 30.11.2001
(24) Дата начала отсчета срока действия патента:
30.11.2001
(43) Дата публикации заявки: 27.05.2005
(46) Опубликовано: 27.01.2007
(56) Список документов, цитированных в отчете о поиске:
FR 2159340 А, 22.06.1973. GB 2196391 А, 27.04.1988. US 3706203 А, 19.12.1972. ЕР 0273126 A1, 06.07.1988. RU 2085810 C1, 27.07.1997. RU 94015884 A1, 20.17.1995.
(85) Дата перевода заявки PCT на национальную фазу:
10.06.2004
(86) Заявка PCT:
US 01/45097 (30.11.2001)
(87) Публикация PCT:
WO 03/093664 (13.11.2003)
Адрес для переписки:
119034, Москва, Пречистенский пер., д.14, стр.1, Гоулингз Интернэшнл Инк., пат.пов. В.Н.Дементьеву
|
(72) Автор(ы):
КРЭФТ Роберт Дж. (US), МАРТЛИНГ Винсент С. (US), МЭК Брайан Р. (US), МИННИЧ Марк А. (US)
(73) Патентообладатель(и):
ПАУЭ СИСТЕМС МФГ. ЛЛС (US)
|
(54) БЛОК КАМЕРЫ СГОРАНИЯ И СПОСОБ ОХЛАЖДЕНИЯ ТРУБКИ ВЕНТУРИ В ЭТОМ БЛОКЕ
(57) Реферат:
Блок камеры сгорания, предназначенный для использования с газотурбинным двигателем, содержит камеру предварительного смешения, предназначенную для перемешивания топлива и воздуха, и камеру сгорания, предназначенную для сжигания топлива и воздуха, сообщающиеся между собой через трубку Вентури. Камера сгорания и трубка Вентури окружены стенкой с образованием канала для протекания охлаждающего воздуха. В указанной стенке и стенке камеры смешения выполнено, по меньшей мере, по одному отверстию для прохода охлаждающего воздуха. Указанный канал в нижнем по течению конце камеры сгорания перекрыт блокировочным кольцом, предотвращающим перетекание охлаждающего воздуха, находящегося в этом участке канала, непосредственно в камеру сгорания, и имеет флюидное сообщение, по меньшей мере, одним отверстием в стенке камеры смешения. Охлаждающий воздух нагревается при его движении поверх камеры сгорания и трубки Вентури и затем направляется назад в камеру предварительного смешения, в результате чего повышается эффективность блока камеры сгорания и снижаются выбросы NOx в процессе сгорания. 2 н. и 4 з.п. ф-лы, 6 ил.
Область применения изобретения
Настоящее изобретение в общем имеет отношение к созданию устройства и способа охлаждения камеры сгорания и трубки Вентури, предназначенных для использования в газотурбинном двигателе, для снижения выбросов оксида азота. Более конкретно, в изобретении раскрыто устройство для охлаждения камеры сгорания и трубки Вентури, позволяющее обеспечить снижение выбросов оксида азота за счет введения в камеру предварительного смешения предварительно подогретого охлаждающего воздуха, предназначенного для использования в процессе горения.
Известный уровень техники
Настоящее изобретение может быть использовано в сухом газотурбинном двигателе с малыми выбросами NOx, который обычно используют для приведения в движение электрических генераторов. Каждый блок камеры сгорания содержит расположенную выше по течению камеру предварительного смешения топлива и воздуха и расположенную ниже по течению камеру сгорания, разделенные при помощи трубки Вентури, имеющей узкую горловину, которая действует в качестве защиты от пламени. Настоящее изобретение направлено на улучшение охлаждения камеры сгорания, которая содержит стенки трубки Вентури, и одновременно позволяет снизить выбросы оксида азота.
В патенте США No.4292801 раскрыт блок камеры сгорания газовой турбины, который содержит расположенную выше по течению камеру предварительного смешения топлива и воздуха и расположенную ниже по течению камеру сгорания. Возникает проблема, если проход (канал) для охлаждающего воздуха, вводимого в камеру сгорания, имеет выпуск, расположенный слишком близко от горловины трубки Вентури. Трубка Вентури создает разделительную зону ниже по течению от расходящегося участка, которая создает разность давлений, в результате чего всасывается охлаждающий воздух, который может вызывать нестабильности горения. Однако при этом очень важно, чтобы стенки трубки Вентури и стенка камеры сгорания охлаждались соответствующим образом, так как в камере сгорания развиваются высокие температуры.
Настоящее изобретение позволяет решить проблему, о которой говорится в указанных патентах, так как контур охлаждения для трубки Вентури устроен таким образом, что охлаждающий воздух больше не выходит по оси в хвостовой части трубки Вентури и ниже по течению от горловины трубки Вентури в зону горения. По сути, охлаждающий воздух течет в противоположном направлении, таким образом, что воздух, который используют для охлаждения камеры сгорания и трубки Вентури, принудительно вводится в камеру предварительного смешения, расположенную выше по течению от трубки Вентури, что повышает общую эффективность процесса горения, при одновременном исключении любой рециркуляции охлаждающего воздуха в разделительной зоне в задней части трубки Вентури, что обсуждается в патенте США No.5117636.
Хорошо известно, что образование NOx является функцией температуры пламени, продолжительности пребывания и соотношения эквивалентности. Уже было показано, что более низкие температуры пламени и более короткие продолжительности пребывания пламени при более высокой температуре приводят к снижению выбросов оксида азота. Также было показано, что содержание оксида азота является функцией соотношения эквивалентности и стехиометрии топливовоздушной смеси, причем требуется очень низкое соотношение компонентов топливовоздушной смеси для снижения выбросов NOx. Однако снижение соотношения компонентов топливовоздушной смеси не проходит безболезненно, в первую очередь, за счет возможности “гашения”. “Гашением” называют ситуацию, при которой не удается поддерживать пламя по причине его нестабильности. Такая ситуация является обычной, когда стехиометрия топливовоздушной смеси снижается до значения чуть выше предела обедненной воспламеняемости. За счет предварительного подогрева воздуха в камере предварительного смешения снижается температура “гашения” пламени, что обеспечивает стабильное горение при более низкой температуре и, следовательно, позволяет снизить выбросы NOx. Следовательно, введение предварительно подогретого воздуха является идеальным решением для приведения соотношения компонентов топливовоздушной смеси к пределу крайнего обеднения, для того, чтобы снизить выбросы NOx, однако при поддержании стабильного пламени.
В двухсекционной, двухрежимной системе газовой турбины вторичный блок камеры сгорания содержит узел трубки Вентури для стабилизации пламени в зоне горения. Топливо (природный газ или жидкое топливо) и воздух предварительно перемешиваются в камере предварительного смешения блока камеры сгорания, расположенной выше по течению от трубки Вентури, и топливовоздушная смесь воспламеняется или сгорает ниже по течению от горловины трубки Вентури. Узел трубки Вентури ускоряет течение топливовоздушной смеси через горловину и идеально предохраняет пламя от возврата назад в область предварительного смешения. Область удержания пламени после (позади) горловины в трубке Вентури является необходимой для непрерывного и стабильного горения топлива. Стенка камеры сгорания и стенки трубки Вентури до и после области узкой горловины, нагреваются за счет пламени и поэтому их следует охлаждать. Раньше это делали за счет принудительного охлаждения задней стороны стенки камеры сгорания и стенок трубки Вентури, когда охлаждающий воздух выходит и направляется в камеру сгорания, ниже по течению от трубки Вентури.
Настоящее изобретение позволяет решить проблемы, возникающие по причине наличия такого типа прохода для воздуха охлаждения, за счет полного исключения сброса охлаждающего воздуха в зону сгорания ниже по течению от трубки Вентури. В соответствии с настоящим изобретением никакой воздушный поток охлаждающего воздуха из трубки Вентури не поступает в расположенную ниже по течению камеру сгорания. В это же время, в соответствии с настоящим изобретением, охлаждающий воздух, который протекает через проход для воздуха охлаждения вдоль стенки камеры сгорания и стенок трубки Вентури и становится подогретым, поступает в охлаждающий воздух выше по течению от трубки Вентури (сходящаяся стенка) в камере предварительного смешения. Это, в свою очередь, повышает общую эффективность снижения выбросов NOx.
Краткое изложение изобретения
В соответствии с настоящим изобретением предлагается усовершенствованное устройство охлаждения стенки камеры сгорания, имеющее защищающую от пламени трубку Вентури, причем устройство предназначено для использования в газотурбинных двигателях с низкими выбросами оксида азота, которые содержат блок камеры сгорания газовой турбины, имеющий камеру предварительного смешения, вторичную камеру сгорания и трубку Вентури, причем проход для охлаждающего воздуха концентрически окружает указанные стенки трубки Вентури и указанную стенку камеры сгорания. Множество отверстий для впуска охлаждающего воздуха в указанный канал для охлаждающего воздуха расположены в непосредственной близости от конца камеры сгорания.
Собственно стенка камеры сгорания является главным образом цилиндрической и содержит множество выступающих ребер на внешней поверхности, которые создают дополнительную площадь поверхности для взаимодействия с потоком охлаждающего воздуха, протекающим поверх цилиндрической камеры сгорания. Стенки трубки Вентури соединены со стенкой камеры сгорания и содержат пару в виде сходящейся и расходящейся стенок.
Охлаждающий воздух проходит вокруг не только цилиндрической стенки камеры сгорания, но и обеих стенок, которые образуют трубку Вентури, обеспечивая поступление охлаждающего воздуха как в камеру сгорания, так и в трубку Вентури. Когда охлаждающий воздух протекает выше по течению в направлении горловины, его температура повышается.
Проход для охлаждающего воздуха имеет дополнительную цилиндрическую стенку, отдельную от стенки камеры сгорания, которая концентрически расположена вокруг стенки камеры сгорания, и пару конических стенок, которые концентрически расположены вокруг стенок трубки Вентури аналогичной конфигурации, что позволяет образовать законченный кольцевой проход для протекания охлаждающего воздуха вокруг всей камеры сгорания и всей трубки Вентури. Расположенный ниже по течению конец камеры сгорания и впускное отверстие прохода для охлаждающего воздуха разделены барьерным (блокировочным) кольцом, так что никакой охлаждающий воздух, находящийся в проходе, не может протекать ниже по течению в камеру сгорания, поступать в зону, расположенную ниже по течению от камеры сгорания, или проходить в разделительную область трубки Вентури. По сути, выпуск охлаждающего воздуха расположен выше по течению от трубки Вентури, и охлаждающий воздух протекает в противоположном направлении относительно потока газообразных продуктов сгорания, сначала проходя мимо стенки камеры сгорания и затем мимо стенок трубки Вентури. Подогретый охлаждающий воздух в конечном счете поступает в камеру предварительного смешения, что повышает эффективность системы и снижает выбросы оксида азота при поддержании стабильного пламени.
Источником охлаждающего воздуха является турбокомпрессор, который прогоняет воздух под высоким давлением вокруг всего корпуса блока камеры сгорания в направлении выше по течению относительно процесса горения. Воздух под высоким давлением принудительно циркулирует вокруг корпуса блока камеры сгорания и подается через множество отверстий для впуска воздуха в проход для охлаждающего воздуха, в непосредственной близости от расположенного ниже по течению конца камеры сгорания, причем охлаждающий воздух протекает вдоль внешней стенки блока камеры сгорания в направлении трубки Вентури, проходит через горловину трубки Вентури и проходит мимо передней кромки стенки трубки Вентури, где он выходит через выпуск прохода для охлаждающего воздуха и поступает в канал, который направляет воздух через другие группы впускных отверстий в камеру предварительного смешения, выше по течению от горловины трубки Вентури. При таком режиме течения исключается возможность того, что охлаждающий воздух будет создавать помехи процессу горения, который протекает во вторичной камере сгорания, так как отсутствует выпуск или отверстие, которое может взаимодействовать с собственно вторичной камерой сгорания. Кроме того, так как охлаждающий воздух нагревается в проходе, когда он течет в направлении трубки Вентури и поступает на впуск камеры предварительного смешения, расположенной выше по течению от трубки Вентури, то подогретый воздух содействует повышению эффективности блока камеры сгорания и снижению загрязняющих выбросов.
Внешний кожух блока камеры сгорания содержит кольцевую бандажную камеру, в которую поступает охлаждающий воздух через выпускные отверстия, расположенные выше по течению от трубки Вентури. Затем воздух направляется далее выше по течению через множество отверстий для впуска воздуха, ведущих в камеру предварительного смешения, что позволяет подогретому охлаждающему воздуху протекать из прохода для охлаждающего воздуха у переднего конца стенки трубки Вентури в область предварительного смешения.
Стенка камеры сгорания содержит множество выступающих колец (ребер), которые позволяют повысить эффективность теплопередачи от указанной стенки в воздух, так как создается большая площадь поверхности для контакта с воздухом. Несмотря на то что в соответствии с настоящим изобретением используют отдельную концентрическую стенку для образования прохода для охлаждающего воздуха вокруг камеры сгорания и трубки Вентури, в альтернативном варианте сама внешняя стенка блока камеры сгорания может выполнять эту функцию.
Задачей настоящего изобретения является снижение выбросов оксида азота (NOx) в системе блока камеры сгорания газовой турбины, однако при поддержании стабильного пламени в желательных рабочих условиях и обеспечении воздушного охлаждения камеры сгорания и трубки Вентури.
Другой задачей настоящего изобретения является создание системы сгорания с низкими выбросами, в которой используют трубку Вентури для множества применений охлаждающего воздуха в камере сгорания и в трубке Вентури.
Еще одной задачей настоящего изобретения является снижение температуры “гашения” пламени в блоке камеры сгорания за счет использования предварительно подогретого воздуха в процессе предварительного перемешивания, причем подогрев обеспечивается за счет охлаждения камеры сгорания и трубки Вентури.
Указанные ранее и другие задачи изобретения будут более ясны из последующего детального описания, данного в качестве примера, не имеющего ограничительного характера и приведенного со ссылкой на сопроводительные чертежи.
Краткое описание чертежей
На фиг.1 показан вид сбоку в разрезе системы сгорания газовой турбины в соответствии с известным уровнем техники, в которой проход для охлаждающего воздуха идет вокруг камеры сгорания и открыт в нее.
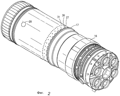
На фиг.2 показан вид в перспективе системы сгорания газовой турбины в соответствии с настоящим изобретением.
На фиг.3 показан вид сбоку в разрезе системы сгорания газовой турбины в соответствии с настоящим изобретением.
На фиг.4 показана часть (вырыв) поперечного сечения камеры сгорания и трубки Вентури, а также участки камеры предварительного смешения, выполненные в соответствии с настоящим изобретением.
На фиг.5 показана часть (вырыв) поперечного сечения прохода для охлаждающего воздуха у расположенного выше по течению конца трубки Вентури в кольцевой бандажной камере для приема охлаждающего воздуха, предназначенной для введения воздуха в камеру предварительного смешения.
На фиг.6 показана с увеличением часть (вырыв) поперечного сечения кормового (заднего) конца стенки камеры сгорания.
Подробное описание предпочтительного варианта изобретения
Обратимся теперь к рассмотрению фиг.1, на которой показан хорошо известный блок 110 камеры сгорания газовой турбины. Блок 110 камеры сгорания содержит трубку Вентури 111, камеру 112 предварительного смешения, предназначенную для предварительного смешения воздуха и топлива, камеру сгорания 113 и головку 115 камеры сгорания.
Можно видеть, что в этом известном блоке камеры сгорания охлаждающий воздух, показанный стрелками, протекает под давлением вдоль внешней стенки трубки Вентури 111. Охлаждающий воздух входит в систему через множество местоположений, распределенных вдоль блока 110 камеры сгорания. Порция воздуха входит через отверстия 120, в то время как остальной воздух проходит вдоль внешней оболочки. Охлаждающий воздух поступает под давлением от источника в виде турбокомпрессора и входит в систему через множество отверстий 121. Как это показано на фиг.1, охлаждающий воздух соударяется со сходящейся и расходящейся стенками 127 трубки Вентури 111, которые имеют коническую форму, и охлаждает их, и проходит ниже по течению через цилиндрический проход 114, охлаждая стенки цилиндрической камеры сгорания 113. Охлаждающий воздух выходит вдоль стенки камеры сгорания через кольцевое выпускное отверстие 125. Этот воздух затем выпускают в идущий ниже по течению процесс горения. Порция охлаждающего воздуха также входит в зону предварительного смешения через отверстия 126. Остальной охлаждающий воздух идет к переднему концу камеры и входит в нее через отверстия 123 и головку 115. Порция охлаждающего воздуха, которая не входит через отверстия 123, поступает в область 124 и перемешивается с газом и топливом. В патенте США No.5117636 раскрыта конструкция известной трубки Вентури, показанной на фиг.1. Обсуждаются проблемы, связанные с охлаждающим воздухом, выходящим в непосредственной близости от трубки Вентури 111 через выпускное отверстие 125, причем воздух препятствует процессу горения и смешивания за счет создания описанной в этом патенте так называемой разделительной зоны.
Настоящее изобретение позволяет полностью решить все проблемы, возникающие в соответствии с патентом США No.5117636.
Обратимся теперь к рассмотрению фиг.2 и 3, на которых показан блок 10 камеры сгорания газовой турбины, имеющий трубку Вентури 11.
Трубка Вентури 11 содержит цилиндрический участок, который образует камеру сгорания 13, и имеет образованные в виде единого целого стенки трубки Вентури, которые сходятся и расходятся в направлении ниже по течению, образуя кольцевую или круговую узкую горловину 11а. Задачей трубки Вентури и узкой горловины 11а является предотвращение возврата назад пламени от камеры сгорания 13.
Камера 12 представляет собой камеру предварительного смешения, в которой происходит перемешивание воздуха и топлива и подача смеси под давлением в направлении ниже по течению через горловину трубки Вентури 11а в камеру сгорания 13.
Концентрическая, частично цилиндрическая стенка 11b окружает трубку Вентури 11, при этом образуется воздушный проход (канал) 14 между трубкой Вентури 11 и концентрической стенкой 11b, который позволяет охлаждающему воздуху проходить вдоль внешней поверхности трубки Вентури 11 для охлаждения.
Снаружи блок камеры сгорания 10 заключен в кожух (не показан) и содержит воздух под давлением, который движется выше по течению в направлении зоны предварительного смешения 12, причем воздух поступает от турбокомпрессора, создающего очень высокое давление воздуха. Проход для охлаждающего воздуха 14 имеет отверстия 27 для впуска воздуха, которые позволяют воздуху под высоким давлением, окружающему блок камеры сгорания, входить через отверстия 27 и поступать в первый участок 45 канала 14, который окружает трубку Вентури 11. Охлаждающий воздух проходит вдоль трубки Вентури 11, проходя мимо сходящейся и расходящейся стенок трубки Вентури и через горловину 11а трубки Вентури. Предварительно подогретый охлаждающий воздух выходит через выпускные отверстия 28 в кольцевую бандажную камеру 16. В блоке камеры сгорания используется охлаждающий воздух, который был подогрет и поступает в камеру предварительного смешения 12 через отверстия 29 и 22. Детали показаны на фиг.5 и 6. Следует иметь в виду, что подогретый воздух, который ранее сразу использовали для охлаждения, теперь вводится в камеру предварительного смешения, выше по течению от сходящейся стенки трубки Вентури и выше по течению от горловины трубки Вентури 11а. Использование предварительно подогретого воздуха приводит соотношение компонентов топливовоздушной смеси к пределу обеднения, чтобы обеспечить снижение выбросов NOx, однако при поддержании стабильного пламени.
Обратимся теперь к рассмотрению фиг.4, на которой показан проход 14 для охлаждающего воздуха, который содержит множество распорок 14а, которые отделяют трубку Вентури 11 от стенки 11b. Бандажная стенка 16 определяет (задает) радиально внешнюю границу второго участка 46 канала 14 и создает главным образом кольцевую камеру, которая позволяет внешнему воздуху под давлением и выходящему охлаждающему воздуху поступать в камеру предварительного смешения 12. На расположенном ниже по течению конце камеры сгорания 13, образованном при помощи кольцевого кормового конца трубки Вентури 11, расположено кольцевое воздушное блокировочное кольцо 40, которое предотвращает любую утечку охлаждающего воздуха в направлении ниже по течению в камеру сгорания. Это позволяет смягчить все проблемы горения, вызванные охлаждающим воздухом, которые описаны в известных публикациях и обсуждались выше.
Обратимся теперь к рассмотрению фиг.5, на которой показан воздушный канал 14, который идет вдоль секции трубки Вентури, имеющей горловину На и сходящуюся и расходящуюся стенки, через которые проходит охлаждающий воздух и выходит через отверстия 28 и поступает в воздушную камеру, образованную при помощи бандажной стенки 16. Дополнительный воздух под более высоким давлением входит через отверстия 32 и выталкивает воздух, который содержит теперь подогретый охлаждающий воздух в канале 14, через отверстия 22 и 29 в камеру предварительного смешения 12.
На фиг.6 показан участок кормового конца камеры сгорания 13 и конца трубки Вентури 11, который содержит блокировочное кольцо 40, причем это кольцо герметично закреплено вокруг всего кормового участка трубки Вентури 11. Охлаждающий воздух, который входит в канал 14, не может проходить ни в один из участков камеры сгорания 13. Следует иметь в виду, что некоторая часть воздуха может поступать в заднюю стенку камеры сгорания 13 через отверстия 30-31, которые расположены вокруг наружной стороны блока камеры сгорания 10, что необходимо для охлаждения кормового конца блока камеры сгорания.
В соответствии с настоящим изобретением предлагается также способ улучшенного охлаждения камеры сгорания и трубки Вентури, в соответствии с которым воздух, использованный для охлаждения, может повышать эффективность собственно процесса горения и обеспечивать снижение выбросов NOx. Что касается течения воздуха, то охлаждающий воздух входит во внешний канал 14 трубки Вентури через множество отверстий 27. Заданное количество воздуха направляется в канал 14 при помощи элемента 17. Охлаждающий воздух принудительно направляется выше по течению при помощи блокировочного кольца 40, которое расширяется и входит в контакт с блоком камеры сгорания 10 в условиях тепловой нагрузки. Охлаждающий воздух проходит в направлении выше по течению через сходящуюся и расходящуюся секции первого участка 45 канала 14, а затем выходит во второй участок канала 14 через отверстия 28 в трубке Вентури 11 и в блоке камеры сгорания 10. Охлаждающий воздух затем заполняет камеру, созданную при помощи полного бандажного кольца 16. За счет падения давления и увеличения температуры, что происходит на всем протяжении пути охлаждения, питающий воздух, который имеет повышенное давление, вводится в бандажную камеру 16 через множество отверстий 32. Охлаждающий воздух проходит вокруг множества элементов 18, которые расположены по всей бандажной камере 16 и служат для поддержки бандажа под давлением. Охлаждающий воздух затем вводится в камеру предварительного смешения через отверстия 22 и пазы 29 в блоке камеры сгорания 10. Неблагоприятная утечка между каналом охлаждения 14 и камерой предварительного смешения 12 не возникает благодаря наличию передней опоры 19, которая прикреплена к блоку камеры сгорания 15 и к трубке Вентури 11. Остаток охлаждающего воздуха, который не вводится в канал 14 через отверстия 27, проходит над элементом 17 в направлении выше по течению и поступает в блок камеры сгорания 10 или в головку 15. Этот воздух вводится через множество местоположений, расположенных впереди от бандажной полости 16.
За счет использования предложенного способа, в соответствии с которым изменяют направление движения воздуха, который используют для охлаждения и подают для сгорания, понижается соотношение компонентов топливовоздушной смеси, что позволяет обеспечить снижение выбросов NOx, однако без создания нестабильного пламени.
Несмотря на то что был описан предпочтительный вариант осуществления изобретения, совершенно ясно, что в него специалистами в данной области могут быть внесены изменения и дополнения, которые не выходят, однако, за рамки формулы изобретения.
Формула изобретения
1. Блок камеры сгорания, предназначенный для использования с газотурбинным двигателем, содержащий камеру предварительного смешения, предназначенную для перемешивания топлива и воздуха, и камеру сгорания, предназначенную для сжигания топлива и воздуха, сообщающиеся между собой через трубку Вентури, причем камера сгорания и трубка Вентури окружены стенкой с образованием канала для протекания охлаждающего воздуха, в указанной стенке и стенке камеры смешения выполнены, по меньшей мере, по одному отверстию для прохода охлаждающего воздуха, отличающийся тем, что указанный канал в нижнем по течению конце камеры сгорания перекрыт блокировочным кольцом, предотвращающим перетекание охлаждающего воздуха, находящегося в этом участке канала, непосредственно в камеру сгорания, и имеет флюидное сообщение, по меньшей мере, одним отверстием в стенке камеры смешения, при этом охлаждающий воздух, нагретый за счет охлаждения трубки Вентури, выходит из канала в камеру предварительного смешения.
2. Блок камеры сгорания по п.1, отличающийся тем, что дополнительно содержит кольцевую бандажную стенку, окружающую камеру смешения в зоне расположения отверстий для прохода охлаждающего воздуха в указанную камеру и образующую со стенкой этой камеры воздушную полость, сообщающуюся с указанным каналом для прохода охлаждающего воздуха.
3. Блок камеры сгорания по п.2, отличающийся тем, что дополнительно содержит множество отверстий в стенке, окружающей камеру сгорания, служащих для ввода охлаждающего воздуха.
4. Блок камеры сгорания по п.3, отличающийся тем, что дополнительно содержит множество отверстий в стенке, окружающей трубку Вентури, служащих для ввода охлаждающего воздуха.
5. Блок камеры сгорания по п.2, отличающийся тем, что дополнительно содержит множество отверстий в стенке камеры смешения, расположенных в зоне воздушной полости, образованной бандажной стенкой.
6. Способ охлаждения трубки Вентури в блоке камеры сгорания для газотурбинного двигателя, включающем в себя камеру предварительного смешения, предназначенную для перемешивания топлива и воздуха, и камеру сгорания, предназначенную для сжигания топлива и воздуха, причем камера предварительного смешения сообщается с камерой сгорания через трубку Вентури путем пропускания охлаждающего воздуха по каналу, образованному стенкой трубки Вентури и окружающей ее стенкой, отличающийся тем, то блокируют проход охлаждающего воздуха из указанного канала в камеру сгорания, при этом охлаждающий воздух входит в указанный канал через, по меньшей мере, одно отверстие в стенке, окружающей стенку трубки Вентури, протекает вдоль стенки трубки Вентури, охлаждая их, и входит через, по меньшей мере, одно отверстие в камеру предварительного смешения.
РИСУНКИ
|
|