|
| На основании пункта 3 статьи 13 Патентного закона Российской Федерации от 23 сентября 1992 г. № 3517-I патентообладатель обязуется передать исключительное право на изобретение (уступить патент) на условиях, соответствующих установившейся практике, лицу, первому изъявившему такое желание и уведомившему об этом патентообладателя и федеральный орган исполнительной власти по интеллектуальной собственности, – гражданину РФ или российскому юридическому лицу. |
|
(21), (22) Заявка: 2005111358/03, 18.04.2005
(24) Дата начала отсчета срока действия патента:
18.04.2005
(46) Опубликовано: 27.01.2007
(56) Список документов, цитированных в отчете о поиске:
JP 11237016 А, 03.08.1999. RU 2172891 C1, 27.08.2001. SU 1087088 A3, 15.04.1984. RU 2187759 С2, 20.08.2002. US 5285737 A, 15.02.1994. FR 2705716 A, 02.12.1994. JP 11182825 A, 06.07.1999.
Адрес для переписки:
192242, Санкт-Петербург, ул. Турку, 2, корп.1, кв.216, Г.В. Соловьеву
|
(72) Автор(ы):
Соловьев Геннадий Васильевич (RU)
(73) Патентообладатель(и):
Соловьев Геннадий Васильевич (RU)
|
(54) СПОСОБ УТИЛИЗАЦИИ ГОРОДСКИХ ОТХОДОВ И УСТРОЙСТВО, ЕГО ОБЕСПЕЧИВАЮЩЕЕ
(57) Реферат:
Изобретение относится к способам и средствам утилизации городских бытовых отходов в сфере коммунального хозяйства, а также может быть применено для утилизации промышленных отходов, практически во всех отраслях промышленности, связанных с образованием горючих отходов. Устройство для утилизации городских отходов содержит реактор с наружным теплоизолированным кожухом, размещенный в реакторе перфорированный загрузочный барабан с приводом, в котором расположен во внутреннем загрузочном объеме основной шнек, жестко связанный с одной стороны с приводом, а с другой стороны с барабаном. Наружные поверхности основного шнека и загрузочного барабана образуют между внутренней поверхностью реактора и барабаном пространство, в котором, на наружной поверхности загрузочного барабана, жестко расположен шнек. Реактор выполнен с газоотводящими каналами, расположенными вдоль реактора, с одной стороны связанными с внутренним объемом реактора со стороны установки шнека, а с другой стороны с дымоходом, с горелками, установленными в реакторе со стороны загрузочного барабана, с загрузочным устройством и воздуховодами. Загрузочное устройство выполнено в виде двух поворотных полуконтейнеров, стенки которых, совместно с отходами, загружаемыми в них, постоянно перекрывают проем в реактор при повороте полуконтейнеров в период загрузки отходов в проем, на внутренней поверхности реактора установлены роликовые опоры, контактирующие с наружными поверхностями основного шнека и загрузочного барабана, шнек на наружной поверхности загрузочного барабана образует встречное направление по отношению к основному шнеку, а в дымоходе смонтирован центробежный вентилятор, который засасывающим патрубком связан с воздушным объемом, образованным наружными поверхностями реактора с газоотводящими каналами и наружным кожухом, а нагнетательным патрубком – с воздуховодом, с горелками и эжектором, создающим разрежение в реакторе для удаления дымовых газов. Охарактеризован способ утилизации отходов. Технический результат: снижение потребляемой мощности при работе данной мобильной установки и исключение загрязнения окружающей среды дымовыми газами. 2 н. и 2 з.п. ф-лы, 1 ил.
Изобретение относится к способам и средствам утилизации городских бытовых отходов в сфере коммунального хозяйства, а также может быть применено для утилизации промышленных отходов, практически во всех отраслях промышленности, связанных с образованием горючих жидких и твердых отходов.
Известен способ сжигания твердых отходов в барабанных вращающихся печах (Бернадинер М.Н., Шурыгин А.П. “Огневая переработка и обезвреживание промышленных отходов”. М., Химия, 1990, с.37-41), заключающийся во вращении футерованного стального барабана с твердыми отходами при их сжигании пламенем от горелок, работающих при распыливании топлива.
Известен способ сжигания жидких горючих отходов в циклонных реакторах (Бернадинер М.Н., Шурыгин А.П. “Огневая переработка и обезвреживание промышленных отходов”. М., Химия, 1990, с.61-73) при вихревой структуре газового потока и при разных комбинациях расположения горелок и направления распыливания топлива.
Известно устройство для сжигания твердого топлива (RU 2172891 C1, F 23 В 1/24, 27.08.2001). В данном устройстве твердое топливо сжигается в топке внутри вращающейся цилиндрической, непровальной, воздухообдуваемой колосниковой решетки с приводным механизмом. Колосниковая решетка снабжена лопастями подъема топлива, размещенными на ее внутренней поверхности, соединенной водоохлаждаемыми спицами с водоохлаждаемым валом приводного механизма. Устройство содержит механизм подачи топлива и систему подачи воздуха. Механизм подачи топлива включает ограничительную решетку, дробилку-регулятор и шнековый питатель, последовательно расположенные в бункере, причем шнековый питатель размещен на валу приводного механизма колосниковой решетки, а опорные узлы вала приводного механизма размещены за корпусом топки.
Известен способ утилизации отходов и печь для осуществления способа (JP 11-237016 А, В 60 Р 3/00, F 23 G 5/20, 03.08.1999). Способ утилизации отходов заключается в загрузке отходов в бункер и подаче его оттуда на вращающийся шнек, расположенный внутри реактора с горелкой с воспламененным топливом. Шнек перемещает отходы на вторичный вращающийся барабан, выполненный из трубок. На внутренней поверхности этого барабана имеются наклонные лопасти, перемешивающие отходы и перемещающие их. С наружной стороны барабана из трубок расположен шнек, перемещающий зольные остатки к отверстию, куда зола сбрасывается. Конструктивно все вращающиеся элементы устройства жестко связаны с полым центральным валом, связанным с приводом. По полому валу нагнетается воздух, передаваемый через сопла к отходам и обеспечивающий горение их и топлива, подаваемого через горелку. Данное техническое решение является наиболее близким к заявляемому и принимается в качестве прототипа.
Задачами настоящего изобретения являются снижение потребляемой мощности при работе установки и тепловой мощности при сжигании отходов, исключение просачивания дымовых газов из загрузочных отверстий, мобильность установки.
Основной технический результат, благодаря которому обеспечивается выполнение поставленных задач, это:
– уменьшение разветвлений воздуха (объема воздуха), подаваемого с нагнетательного патрубка вентилятора;
– уменьшение тепловой мощности, необходимой для сжигания твердых отходов;
– герметичность реактора при выполнении загрузочных операций;
– обеспечение мобильности установки и эффективности ее использования.
Указанные цели достигаются за счет того, что в устройстве для утилизации городских отходов, содержащем реактор с наружным теплоизолированным кожухом, размещенный в реакторе перфорированный загрузочный барабан с приводом, в котором расположен во внутреннем загрузочном объеме основной шнек, жестко связанный с одной стороны с приводом, а с другой стороны с барабаном, причем наружные поверхности основного шнека и загрузочного барабана образуют между внутренней поверхностью реактора и барабаном пространство, в котором, на наружной поверхности загрузочного барабана, жестко расположен шнек, реактор выполнен с газоотводящими каналами, расположенными вдоль реактора, с одной стороны связанными с внутренним объемом реактора со стороны установки шнека, а с другой стороны с дымоходом, с горелками, установленными в реакторе со стороны загрузочного барабана, с загрузочным устройством и воздуховодами, загрузочное устройство выполнено в виде двух поворотных полуконтейнеров, стенки которых, совместно с отходами, загружаемыми в них, постоянно перекрывают проем в реактор при повороте полуконтейнеров в период загрузки отходов в проем, на внутренней поверхности реактора установлены роликовые опоры, контактирующие с наружными поверхностями основного шнека и загрузочного барабана, шнек на наружной поверхности загрузочного барабана образует встречное направление по отношению к основному шнеку, а в дымоходе смонтирован центробежный вентилятор, который засасывающим патрубком связан с воздушным объемом, образованным наружными поверхностями реактора с газоотводящими каналами и наружным кожухом, а нагнетательным патрубком – с воздуховодом, с горелками и эжектором, создающим разрежение в реакторе для удаления дымовых газов.
Описанное устройство может быть смонтировано на шасси автомобиля.
Указанные цели также достигаются за счет способа утилизации городских отходов, реализуемого в заявленном устройстве.
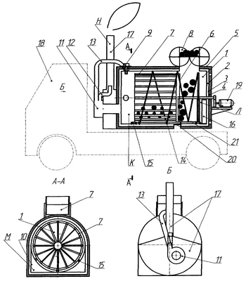
Сущность предлагаемого технического решения поясняется схемой, приведенной на чертеже.
На чертеже приведена схема установки для утилизации городских отходов.
На чертеже обозначены позициями:
1 – реактор (камера сжигания);
2 – воздушный объем;
3 – внутренний кожух;
4 – теплоизоляция;
5 – наружный кожух;
6 – шнек основной;
7 – загрузочный барабан;
8 – загрузочное устройство;
9 – горелки;
10 – газоотводящие каналы реактора;
11 – вентилятор;
12 – эжектор воздушный;
13 – воздуховод на горелку;
14 – шнек зольный;
15 – роликовая опора;
16 – отверстия к каналам позиции 10;
17 – дымоход;
18 – автомобиль;
19 – привод;
20 – отверстие с колосниковой решеткой;
21 – внутренний загрузочный объем;
К, Л, М, Н – температурные зоны.
Установка для утилизации городских отходов содержит реактор 1, изготовленный из жаростойкого металла. Внутри реактора, соосно с ним, расположены шнек основной 6 и жестко с ним связанный перфорированный загрузочный барабан 7, со стороны шнека не имеющий боковой стенки. Шнек 6 и загрузочный барабан 7 образуют с внутренней поверхностью реактора кольцевой зазор. В этом кольцевом зазоре, на внутренней поверхности реактора, установлены роликовые опоры 15, контактирующие с наружными поверхностями шнека 6 и загрузочного барабана 7. Шнек основной 6 валом связан с приводом 19. Вокруг шнека 6 расположен внутренний загрузочный объем 21, связанный отверстием с загрузочным устройством 8. Между наружной поверхностью загрузочного объема 21 и внутренней поверхностью реактора 1 имеются зазоры для прохода дымовых газов. Со стороны соединения шнека 6 с приводным валом имеется диск, исключающий попадание мусора из внутреннего загрузочного объема 21 в сторону отверстий 16. По наружному диаметру загрузочного барабана 7 жестко установлен шнек зольный 14, имеющий встречное перемещение по отношению к шнеку основному 6. Со стороны шнека основного 6 в реакторе 1 выполнены отверстия 16, связывающие внутренний объем реактора 1 с газоотводящими каналами 10, которые с противоположной стороны связаны с дымоходом 17. Наружная поверхность реактора 1 окружена воздушным объемом 2, образованным между реактором и внутренним кожухом 3. На внутренний кожух 3 установлена теплоизоляция 4, и на нее – наружный кожух 5. С торцевой стороны, со стороны расположения привода 19, через наружный и внутренний кожухи 5 и 3 и теплоизоляцию 4 выполнены отверстия, связывающие наружный воздух с воздушным объемом 2. Кроме того, внутренний объем реактора 1 с наружной поверхностью кожуха 5 связан сквозными отверстиями для установки горелок 9 с воздухоподводами 13, загрузочного устройства 8 и колосниковой решетки 20. Между реактором 1, внутренним кожухом 3, наружным кожухом 5 установлены распорки, центрирующие эти узлы между собой. На дымоходе 17 смонтирован центробежный вентилятор 11, который засасывающим патрубком связан с воздушным объемом 2. Нагнетательный патрубок вентилятора 11 связан воздуховодом 13 с горелками 9 и эжектором 12. Установка для утилизации городских отходов смонтирована на шасси автомобиля 18.
Утилизация городских отходов выполняется в следующей последовательности. При установке утилизатора стационарно отходы подвозят к утилизатору и загружают в загрузочное устройство 8. Проводят продувку установки, далее, не выключая вентилятора, подают топливо на форсунку и воспламеняют распыливаемое топливо. Включают привод 19 и приводят во вращение шнек основной 6, загрузочный барабан 7 со шнеком зольным 14. Подают отходы из загрузочного устройства 8 во внутренний загрузочный объем 21 реактора 1. Шнеком 6 перемещают отходы из внутреннего загрузочного объема 21 в загрузочный барабан 7. Сжигают отходы в барабане 7, а образовавшийся шлак через его перфорированные поверхности попадает в кольцевой зазор между реактором. Далее шлак шнеком зольным перемещают к отверстию 20 с колосниковой решеткой. Через отверстие 20 шлак удаляют из реактора и используют по различным вариантам: на подсыпку дорог; как удобрение на сельхозработах; как добавку при изготовлении различных материалов. Шлак можно просто свозить на свалку и выбросить, не беспокоясь об экологических последствиях, так как продукты сгорания являются термически обезвреженными.
При установке утилизатора на шасси автомобиля 18 эффективность его работы увеличивается. При этом варианте нет необходимости возить отходы к утилизатору. Утилизатор сам подают к месту скопления отходов, загружают прямо из контейнеров, используя штатные механизмы загрузки, и сжигают, либо непосредственно на месте, либо при переездах от места к месту утилизации, в пути. Утилизация отходов в этом варианте выполнения установки осуществляется в той же последовательности, что и при стационарной ее работе.
Установка для утилизации городских отходов работает следующим образом. При установке утилизатора стационарно отходы подвозят к утилизатору и загружают в загрузочное устройство 8 любым из существующих методов: транспортером, шнековой подачей, гидравлическими устройствами, вручную. Загрузку можно производить непосредственно в два соединенных полуконтейнера, как показано на чертеже, так и в два других полуконтейнера, направленных в разные стороны, для загрузки в реактор 1 через цикл. Далее производят продувку установки для удаления паров топлива, которые могут находиться в реакторе от предыдущей работы. Для этого включают вентилятор 11, который по воздуховоду 13 подает воздух в реактор 1, а из реактора, через отверстия 16, по газоотводящим каналам 10, через дымоход 17, воздух эжектором 12 выбрасывается в атмосферу. После продувки установки через промежуток времени, регламентируемый нормативными документами, производят розжиг горелок 9. Конструкция горелки и принцип ее работы изложены в материалах заявки №2004100558 (20/000153), поступившей в Ваше ведомство 5 января 2004 года. Отличительной особенностью горелки является установка на место топливоподающих форсунок стандартных стальных медицинских игл, занимающих меньше места в воздушном потоке, а значит меньше нарушающих однородность распыливания и улучшающих процесс горения. При поднятии температуры внутри реактора включают привод 19, вследствие чего приводят во вращение шнек основной 6 и барабан загрузочный 7. Производят поворот загрузочного устройства 8 с отходами. Как видно на чертеже, загрузочное устройство состоит из двух барабанов, каждый из которых состоит из четырех полуконтейнеров, причем два из них в положении “загрузка” соединяются в один контейнер, а вращение барабанов направлено навстречу друг другу в верхней части. После поворота отходы через сквозной проем попадают внутрь реактора 1 в его внутренний загрузочный объем 21 в зону действия шнека основного 6. Этим шнеком отходы подаются во внутреннюю полость перфорированного загрузочного барабана 7, вращающегося вместе со шнеком 6. Под температурным воздействием внутри реактора от работы горелок 9 отходы сгорают, а шлак, состоящий из негорючих материалов, золы и прочих составляющих, проваливается через отверстия в загрузочном барабане 7. Шнеком зольным 14, имеющим встречное аксиальное перемещение рабочих плоскостей по отношению к шнеку основному 6, шлак перемещается к отверстию с колосниковой решеткой 20 и удаляется из реактора 1. Вентилятор 11, непрерывно работающий с начала пуска установки, через свой нагнетательный патрубок по воздуховоду 13 направляет воздух в реактор для обеспечения горения жидких нефтеотходов или другого вида жидкого топлива, подаваемого через горелку, и городских отходов и на эжектор 12, создающий разрежение в реакторе для удаления дымовых газов. Жидкое топливо, поступающее через форсунки горелок 9, распыливают либо сжатым воздухом от компрессора, либо от вентилятора 11, если он обеспечивает необходимое давление. Как видно из схемы установки для утилизации городских отходов, чертеж, в рабочих полостях выделены четыре температурные зоны: К, Л, М и Н. Самая высокая температура в зоне К, из опыта работы на подобных установках, она достигает порядка 900-1000°С. В зоне Л температура – порядка 700°С, в зоне М – 600°С, на выходе из дымохода 17, в зоне Н – 200-300°С. Подобная организация размещения основных элементов установки позволяет снизить требования по жаростойкости к шнеку 6, к стенкам газоотводящих каналов 10; к стенкам дымохода 17. Это позволит снизить стоимость установки в целом.
Формула изобретения
1. Устройство для утилизации городских отходов, содержащее реактор с наружным теплоизолированным кожухом, размещенный в реакторе перфорированный загрузочный барабан с приводом, в котором расположен во внутреннем загрузочном объеме основной шнек, жестко связанный с одной стороны с приводом, а с другой стороны – с барабаном, причем наружные поверхности основного шнека и загрузочного барабана образуют между внутренней поверхностью реактора и барабаном пространство, в котором на наружной поверхности загрузочного барабана жестко расположен шнек, реактор выполнен с газоотводящими каналами, расположенными вдоль реактора, с одной стороны связанными с внутренним объемом реактора со стороны установки шнека, а с другой стороны – с дымоходом, с горелками, установленными в реакторе со стороны загрузочного барабана, с загрузочным устройством и воздуховодами, отличающееся тем, что загрузочное устройство выполнено в виде двух поворотных полуконтейнеров, стенки которых совместно с отходами, загружаемыми в них, постоянно перекрывают проем в реактор при повороте полуконтейнеров в период загрузки отходов в проем, на внутренней поверхности реактора установлены роликовые опоры, контактирующие с наружными поверхностями основного шнека и загрузочного барабана, шнек на наружной поверхности загрузочного барабана образует встречное направление по отношению к основному шнеку, а в дымоходе смонтирован центробежный вентилятор, который засасывающим патрубком связан с воздушным объемом, образованным наружными поверхностями реактора с газоотводящими каналами и наружным кожухом, а нагнетательным патрубком – с воздуховодом, с горелками и эжектором, создающим разрежение в реакторе для удаления дымовых газов.
2. Устройство по п.1, отличающееся тем, что оно смонтировано на шасси автомобиля.
3. Способ утилизации городских отходов путем загрузки отходов в загрузочный барабан реактора, сжигания твердых отходов при их вращении вместе с загрузочным барабаном теплом сгорания топлива при подаче в реактор воздуха, подачи топлива на горелки и воспламенения его, отличающийся тем, что способ осуществляют в устройстве по п.1 или 2.
4. Способ по п.3, отличающийся тем, что устройство устанавливают на шасси автомобиля и перемещают в работающем или неработающем состоянии к месту скопления отходов.
РИСУНКИ
|
|