|
|
(21), (22) Заявка: 2005129892/06, 26.09.2005
(24) Дата начала отсчета срока действия патента:
26.09.2005
(46) Опубликовано: 27.01.2007
(56) Список документов, цитированных в отчете о поиске:
RU 40391 U1, 10.09.2004. RU 2157889 С2, 20.10.2000. RU 2259551 С1, 27.08.2005. SU 1688020 A1, 30.10.1991.
Адрес для переписки:
423236, Республика Татарстан, г. Бугульма, ул. М. Джалиля, 32, “ТатНИПИнефть”, Сектор создания и развития промышленной собственности
|
(72) Автор(ы):
Мусин Камиль Мугаммарович (RU), Махмутов Ильгизар Хасимович (RU), Кострач Владимир Иванович (RU), Страхов Дмитрий Витальевич (RU), Зиятдинов Радик Зяузятович (RU)
(73) Патентообладатель(и):
Открытое акционерное общество “Татнефть” им. В.Д. Шашина (RU)
|
(54) ПРОБООТБОРНОЕ УСТРОЙСТВО
(57) Реферат:
Изобретение относится к добыче, сбору, подготовке и транспорту жидких и газовых продуктов и может быть использовано на нефтегазодобывающих, нефтегазоперерабатывающих и нефтетранспортных предприятиях. В пробоотборном устройстве пробоотборная секция на входе потока жидкости внутри основного трубопровода снабжена патрубком с радиальными отверстиями, размещенными против потока жидкости со скошенным верхним концом, при этом срез скошенного верхнего конца размещен с противоположной радиальным отверстиям стороны патрубка, причем за патрубком в основном трубопроводе установлено устройство, сужающее поток, а отборный кран выполнен в виде втулки, жестко соединенной с рукояткой и герметично установленной внутри корпуса, снабженного сквозным горизонтальным пазом, через который пропущена вышеупомянутая рукоятка, при этом в исходном положении втулка перекрывает сливное отверстие корпуса, а рукоятка посредством опорного кольца подпружинена относительно корпуса и имеет возможность осевого перемещения совместно со втулкой, открывая сливное отверстие корпуса в рабочем положении. Технический результат изобретения – простая конструкция, низкая металлоемкость, а также повышение долговечности. 1 ил.
Изобретение относится к добыче, сбору, подготовке и транспорту жидких и газовых продуктов и может быть использовано на нефтегазодобывающих, нефтегазоперерабатывающих и нефтетранспортных или иных предприятиях, где производятся работы по отбору проб жидкости из трубопроводов.
Известен пробоотборник и способ отбора проб жидкости (патент РФ №2157889 МПК 7 Е 21 В 49/08, G 012 N 1/10, опубл. бюл. №29, от 20.10.2000 г.), включающий корпус с полостью для накопления жидкой фазы с крышкой в нижней части, фильтрующим приспособлением и сливным устройством, при этом корпус пробоотборника жестко закреплен снаружи внизу трубопровода или технологического аппарата, фильтрующее приспособление установлено внутри корпуса между полостями трубопровода и пробоотборника, полностью перекрывая сечение, обеспечивающее их гидродинамическое сообщение, а сливное устройство смонтировано на штуцере, жестко закрепленном на корпусе пробоотборника в нижней части полости пробоотборника.
Недостатками данного устройства являются:
во-первых, отбираемые пробы имеют искаженный состав, поскольку корпус пробоотборника расположен снизу и при течении жидкости по трубопроводу происходит ее расслоение, в него попадают в основном более тяжелые фракции жидкости, находящиеся снизу, а более легкие фракции жидкости, расположенные выше минуют корпус пробоотборника;
во-вторых, при течении жидкости по трубопроводу фильтрующее устройство, размещенное внутри корпуса забивается механическими примесями, в связи с чем для отбора проб необходимо производить его регулярную очистку, для чего требуется постоянный контроль.
Наиболее близким по технической сущности является пробоотборное устройство (патент RU на полезную модель №40391 МПК 7 Е 21 В 49/08, F 17 D 3/10, опубл. бюл. №25, от 10.09.2004 г.), смонтированное на основном трубопроводе и выполненное в виде двух секций, закрепленных с основным трубопроводом посредством фланцевых соединений, и снабженное регулируемым трехходовыми шаровыми задвижками, отборным краном и манометром, при этом трехходовые шаровые задвижки соединены валом с рычагом управления с возможностью попеременно отсекать одну из секций, а каждая из секций выполнена с возможностью пропуска всего потока жидкости, причем одна из секций является байпасной, а другая – пробоотборной (мерной) с возможностью отбора пробы с охватом поперечного сечения потока жидкости без потерь.
Недостатками данного устройства являются:
во-первых, сложность конструкции, обусловленная большим количеством узлов и деталей, а также громоздкость и металлоемкость;
во-вторых, при частом отборе проб детали отборного крана изнашиваются и он теряет герметичность, в связи с чем снижается срок службы устройства в целом и требуется ревизия уплотнительных элементов отборного крана или полная его замена.
Задачей изобретения является упрощение конструкции и снижение металлоемкости без ухудшения эффективности работы, а также повышение срока службы устройства.
Техническая задача решается предлагаемым пробоотборным устройством, содержащим основной трубопровод, пробоотборную секцию, закрепленную с основным трубопроводом с возможностью отбора пробы с охватом поперечного сечения потока жидкости без потерь, отборный кран, манометр.
Новым является то, что пробоотборная секция на входе потока жидкости внутри основного трубопровода снабжена патрубком с радиальными отверстиями, размещенными против потока жидкости со скошенным верхним концом, при этом срез скошенного верхнего конца размещен с противоположной радиальным отверстиям стороны патрубка, причем за патрубком в основном трубопроводе установлено устройство, сужающее поток, а отборный кран выполнен в виде втулки, жестко соединенной с рукояткой и герметично установленной внутри корпуса, снабженного сквозным горизонтальным пазом, через который пропущена вышеупомянутая рукоятка, при этом в исходном положении втулка перекрывает сливное отверстие корпуса, а рукоятка посредством опорного кольца подпружинена относительно корпуса и имеет возможность осевого перемещения совместно со втулкой, открывая сливное отверстие корпуса в рабочем положении.
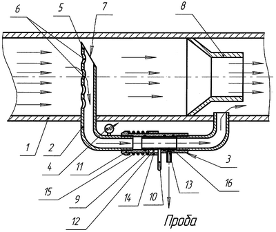
На чертеже схематично представлено пробоотборное устройство в исходном положении.
Пробоотборное устройство, содержащее основной трубопровод 1, пробоотборную секцию 2, закрепленную с основным трубопроводом 1 с возможностью отбора пробы с охватом поперечного сечения потока жидкости без потерь, отборный кран 3 и манометр 4. Пробоотборная секция 2 на входе потока жидкости внутри основного трубопровода 1 снабжена патрубком 5 с радиальными отверстиями 6, размещенными против потока жидкости со скошенным верхним концом 7. Срез скошенного верхнего конца 7 размещен с противоположной радиальным отверстиям 6 стороны патрубка 5. За патрубком 5 в основном трубопроводе 1 установлено устройство, сужающее поток 8.
Отборный кран 3 выполнен в виде втулки 9, жестко соединенной с рукояткой 10. Втулка 9 герметично установлена внутри корпуса 11, снабженного сквозным горизонтальным пазом 12, через который пропущена вышеупомянутая рукоятка 10.
В исходном положении втулка 9 перекрывает сливное отверстие 13 корпуса 11, а рукоятка 10 посредством опорного кольца 14 подпружинена посредством пружины 15 относительно корпуса 11 и имеет возможность осевого перемещения совместно с втулкой 9, открывая сливное отверстие 13 корпуса 11 в рабочем положении.
С целью предотвращения несанкционированных перетоков жидкости на сопряженных поверхностях деталей установлены уплотнительные кольца 16.
Пробоотборное устройство работает следующим образом.
В процессе движения по основному трубопроводу 1 (см. чертеж) поток жидкости, достигнув патрубка 5, установленного на входе потока жидкости в пробоотборную секцию 2 перпендикулярно основному трубопроводу 1, через радиальные отверстия 6 поступает внутрь патрубка 5, где поток жидкости перемешивается и разделяется на два направления:
– первое, через скошенный верхний конец 7 патрубка 5 поток жидкости поступает сначала в основной трубопровод 1, а затем в устройство, сужающее поток 8 и далее вновь в основной трубопровод 1 за пробоотборной секцией 2;
– второе, по патрубку 5 поток жидкости стекает вниз и попадает в пробоотборную секцию 2, где заполняя ее внутреннее пространство поток жидкости вновь вытекает в основной трубопровод 1 за устройством сужающим поток и соединяется с потоком, движущимся в первом направлении.
При постоянно работающем основном трубопроводе 1 движение потока жидкости происходит с охватом всего его поперечного сечения в двух направлениях и пробоотборная секция 2 постоянно заполнена пробой жидкости с составом, соответствующим времени и условиям ее отбора без образования застойных зон.
Манометр 4 установлен в пробоотборной секции 2 с целью контроля давления при эксплуатации и отборе проб.
Отбор пробы происходит следующим образом. Открывают отборный кран 3 путем физического воздействия на рукоятку 10 в сторону сжатия пружины 15, при этом последняя посредством опорного кольца 14 начинает сжиматься, а рукоятка 10 совместно со втулкой 9, герметично установленной в корпусе 11, перемещается по сквозному горизонтальному пазу 12 корпуса 11 и в определенный момент открывается сливное отверстие 13 отборного крана 3, при этом происходит снижение давления за устройством сужающим поток 8 (пробоотборник принимает рабочее положение), и текущий по пробоотборной секции поток жидкости (проба) сливается в контейнер (на чертеже не показано) для ее транспортировки.
Набрав необходимый объем пробы, физическое воздействие на рукоятку 10 прекращают, при этом последняя за счет силы упругости пружины 15 и посредству опорного кольца 14 совместно со втулкой 9 возвращается в исходное положение, герметично перекрывая сливное отверстие 13 отборного крана 3.
Предлагаемое пробоотборное устройство имеет простую конструкцию и низкую металлоемкость, а повышение долговечности устройства обусловлено созданием конструкции отборного крана повышенной износостойкости и герметичности к частым циклам его открытия и закрытия.
Формула изобретения
Пробоотборное устройство, содержащее основной трубопровод, пробоотборную секцию, закрепленную с основным трубопроводом с возможностью отбора пробы с охватом поперечного сечения потока жидкости без потерь, отборный кран, манометр, отличающееся тем, что пробоотборная секция на входе потока жидкости внутри основного трубопровода снабжена патрубком с радиальными отверстиями, размещенными против потока жидкости, со скошенным верхним концом, при этом срез скошенного верхнего конца размещен с противоположной радиальным отверстиям стороны патрубка, причем за патрубком в основном трубопроводе установлено устройство, сужающее поток, а отборный кран выполнен в виде втулки, жестко соединенной с рукояткой и герметично установленной внутри корпуса, снабженного сквозным горизонтальным пазом, через который пропущена вышеупомянутая рукоятка, при этом в исходном положении втулка перекрывает сливное отверстие корпуса, а рукоятка посредством опорного кольца подпружинена относительно корпуса и имеет возможность осевого перемещения совместно со втулкой, открывая сливное отверстие корпуса в рабочем положении.
РИСУНКИ
|
|