|
|
(21), (22) Заявка: 2005109313/06, 31.03.2005
(24) Дата начала отсчета срока действия патента:
31.03.2005
(43) Дата публикации заявки: 10.09.2006
(46) Опубликовано: 27.01.2007
(56) Список документов, цитированных в отчете о поиске:
Каталог «Клапаны с пневмоприводом», «Ливныгидроавтоматика», 2003, с.26-27. SU 694717 А, 30.10.1979. SU 277475 А, 22.07.1970. SU 1239439 А1, 23.06.1986. DE 1498294 А1, 16.01.1969. ЕР 1205699 А1, 15.05.2002.
Адрес для переписки:
410017, г.Саратов, ул. Шелковичная, 37/45, ООО фирма “Саратовгазприборавтоматика”
|
(72) Автор(ы):
Котов Юрий Иванович (RU), Ермаков Вячеслав Федорович (RU)
(73) Патентообладатель(и):
Общество с ограниченной ответственностью фирма “Саратовгазприборавтоматика” (RU)
|
(54) ОТСЕЧНОЕ УСТРОЙСТВО
(57) Реферат:
Изобретение относится к трубопроводной арматуре и предназначено для автоматического отключения трубопроводов. Отсечное устройство состоит из исполнительного механизма в виде корпуса с неподвижным клапаном и подвижной втулкой с седлом, гидравлического насоса, гидробака и электромагнитного клапана. Втулка выполнена в виде поршня. Поршень расположен в средней части и разделяет полость корпуса на управляющую и связанную с атмосферой камеры. В устройство введены преобразователь давления, предохранительное устройство и кран ручного управления. Преобразователь давления выполнен в виде корпуса, разделенного перегородкой на верхнюю и нижнюю камеры, и соосно расположенного подвижного дифференциального поршня с осевым каналом. Этот канал соединяет надпоршневое пространство верхней камеры с нижней. В торце дифференциального поршня размещен клапан. Клапан взаимодействует с седлом. Седло расположено на входе. Верхний торец дифференциального поршня выполнен с площадью сечения больше площади клапана. Предохранительное устройство составлено из корпуса и размещенных в нем седла, клапана и регулировочного винта с пружиной. Управляющая камера исполнительного механизма соединена напорной линией с выходом гидравлического насоса и входом преобразователя давления. Выход последнего связан со входами электромагнитного клапана и предохранительного устройства. Выходы электромагнитного клапана и предохранительного устройства и подпоршневая полость верхней камеры преобразователя давления соединены сбросной линией с гидробаком. Кран ручного управления установлен между напорной и сбросной линиями. Изобретение направлено на повышение надежности и обеспечение аварийного срабатывания при минимальных затратах энергии. 1 ил.
Изобретение относится к трубопроводной арматуре и может быть использовано для автоматического отключения трубопроводов.
Известен клапан запорный управляемый КЗУ 160/100, разработанный ООО фирмой «Саратовгазприборавтоматика» (см. рекламный проспект). Клапан имеет запорное прямоточное устройство, состоящее из корпуса с втулочным, неуравновешенным от действия перепада давления затвором, совмещенным с поршневым приводом, пневматический переключатель с пневмоприводом и электромагнитный клапан. Клапан открыт, когда с помощью пневматического переключателя в управляющую полость запорного устройства подается газ из газопровода, и клапан закрыт, когда электромагнитный клапан переключает пневмопереключатель и последний сбрасывает газ из управляющей полости запорного устройства. К недостаткам клапана можно отнести отказы в работе при попадании неочищенного газа из газопровода в пневмопереключатель и управляющую полость запорного устройства, а также образование гидратных пробок.
Наиболее близким техническим решением является клеточно-плунжерный отсечной клапан КМО фирмы ОАО «Ливныгидроавтоматика» (см. каталог, 2003 г., стр.26).
Клеточно-плунжерный отсечной клапан имеет запорное устройство с мембранным пневмоприводом и электромагнитный клапан для подачи воздуха в мембранный привод. Для удержания отчетного клапана в открытом состоянии на катушку элктромагнитного клапана постоянно подается напряжение.
В случае производственной необходимости или при аварии закрытие отсечного клапана осуществляется путем отключения электромагнитного клапана от источника питания.
При этом воздух из пневмопривода удаляется через электромагнитный клапан в атмосферу.
Для надежной работы клеточно-плунжерного отсечного клапана и удержания его в открытом положении необходимо постоянно подавать осушенный воздух в мембранный привод.
Недостатком известных отсечных устройств является то, что электромагнитные клапаны, входящие в их состав, работают в условиях больших величин давления среды, поэтому для их функционирования требуются электрические источники питания большой мощности. Другим недостатком является малая надежность устройства в условиях эксплуатации при большом давлении.
Целью данного изобретения является повышение надежности и обеспечение аварийного срабатывания при минимальных затратах энергии.
Указанная цель достигается тем, что в отсечное устройство, состоящее из исполнительного механизма в виде корпуса с неподвижным клапаном и подвижной втулкой с седлом, выполненной в средней части в виде поршня, разделяющего полость корпуса на управляющую и связанную с атмосферой камеры, гидравлического насоса, гидробака и электромагнитного клапана, введены преобразователь давления, предохранительное устройство и кран ручного управления, причем преобразователь давления выполнен в виде корпуса, разделенного перегородкой на верхнюю и нижнюю камеры и соосно расположенного подвижного дифференциального поршня, снабженного осевым каналом, соединяющим надпоршневое пространство верхней камеры с нижней, клапаном, размещенным в торце дифференциального поршня и взаимодействующим с седлом, расположенным на входе, причем верхний торец дифференциального поршня выполнен с площадью сечения больше площади клапана, а предохранительное устройство составлено из корпуса и размещенных в нем седла, клапана и регулировочного винта с пружиной, кроме того, управляющая камера исполнительного механизма соединена напорной линией с выходом гидравлического насоса и входом преобразователя давления, выход которого связан со входами электромагнитного клапана и предохранительного устройства, а их выходы и подпоршневая полость верхней камеры преобразователя давления соединены сбросной линией с гидробаком, а кран ручного управления установлен между напорной и сбросной линиями.
Анализ отобранных в результате поиска патентных, информационных и каталожных материалов по отсечным устройствам по фондам областной научно-технической библиотеки г.Саратова позволяет сделать вывод, что предлагаемое изобретение не известно из уровня техники, т.е. оно является новым. Кроме того, данное устройство не следует явным образом из уровня техники, т.е. имеет изобретательский уровень.
Данная конструкция вызвана к жизни недостатками известных отсечных устройств и практикой их эксплуатации и направлена на устранение этих недостатков.
Так, например, в предлагаемой конструкции благодаря введению преобразователя давления с дифференциальным поршнем, площадь сечения верхнего торца которого больше площади клапана, размещенного в его торце, реально на его выходе величина давления будет меньше величины входного давления. Таким образом, облегчается работа электромагнитного клапана, т.е. он может переключаться в условиях малых давлений. Это приводит к тому, что предлагаемое отсечное устройство востребовано в экстремальных аварийных ситуациях, когда экстренное закрытие можно осуществить от резервного источника питания постоянного тока малой мощности.
Уменьшение перепада давления на электромагнитном клапане повышает его износоустойчивость. Наличие предохранительного устройства предотвращает рост давления масла в гидроприводной системе, например в случае повышения температуры в управляющей камере.
Введение крана ручного управления позволяет закрывать отсечное устройство вручную, сбросив давление гидрожидкости в гидробак.
Предлагаемая конструкция отсечного устройства прошла опытные испытания, в том числе и в зимних условиях, с подтверждением всех заложенных функциональных возможностей. Следовательно, данное отсечное устройство обладает промышленной полезностью.
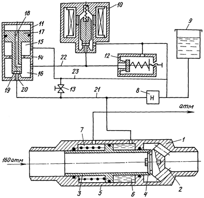
Изобретение поясняется чертежом, на котором изображена блок-схема устройства.
Отсечное устройство состоит из исполнительного механизма в виде корпуса 1 с неподвижным клапаном 2 и подвижной втулкой 3 с седлом 4, выполненной в средней части в виде поршня 5, разделяющего полость корпуса исполнительного механизма 1 на управляющую 6 и связанную с атмосферой камеры 7, гидравлического насоса 8, гидробака 9, электромагнитного клапана 10, преобразователя давления 11, предохранительного устройства 12 и крана ручного управления 13.
Преобразователь давления 11 выполнен в виде корпуса, разделенного перегородкой 14 на верхнюю 15 и нижнюю 16 камеры, и соосно расположенного подвижного дифференциального поршня 17, снабженного осевым каналом 18, соединяющим надпоршневое пространство верхней камеры 15 с нижней 16, клапаном 19, размещенным в торце дифференциального поршня 17 и взаимодействующим с седлом 20, расположенным на входе, причем верхний торец дифференциального поршня 17 выполнен с площадью сечения больше площади клапана 19, а предохранительное устройство 12 составлено из корпуса и размещенных в нем седла, клапана и регулировочного винта с пружиной.
Кроме того, управляющая камера 6 исполнительного механизма 1 соединена напорной линией 21 с выходом гидравлического насоса 8 и входом преобразователя давления 11, выход которого связан линией 22 со входами электромагнитного клапана 10 и предохранительного устройства 12, а их выходы и подпоршневая полость верхней камеры 15 преобразователя давления 11 соединены сбросной линией 23 с гидробаком 9, а кран ручного управления 13 установлен между напорной 21 и сбросной 23 линиями.
Отсечное устройство работает следующим образом. С помощью гидравлического насоса 8 жидкая среда, например масло, из гидробака 9 подается в управляющую камеру 6 исполнительного механизма 1. Благодаря поршню 5 подвижная втулка 3 сдвигается влево и седло 4 отходит от клапана 2. Таким образом, исполнительный механизм 1 открывается. Газ под давлением порядка 160 атм проходит к объекту потребления.
При отсутствии тока в катушке электромагнитный клапан 10 закрыт, поэтому закрыт клапан 19 преобразователя давления 11, и в управляющей камере 6 исполнительного механизма 1 и в напорной линии 21 сохраняется высокое давление. Исполнительный механизм 1 открыт.Отсечное устройство открыто.
Пока давление в управляющей камере 6 исполнительного механизма 1 поддерживается постоянным, клапан исполнительного механизма 1 находится в открытом состоянии.
При наличии преобразователя давления 11, у которого величина давления на выходе меньше входного, электромагнитный клапан 10 находится в работе при пониженном давлении.
При поступлении электрического импульса на катушку электромагнитного клапана 10 происходит его открытие и масло удаляется из управляющей камеры 6 исполнительного механизма 1 в маслобак 9. По мере вытекания масла из управляющей камеры 6 исполнительного механизма 1 она закрывается.
Исполнительный механизм 1 можно закрыть и с помощью крана ручного управления 13.
Таким образом, наличие преобразователя давления 11 позволяет работать электромагнитному клапану 10 от источников питания малой мощности, обеспечивает надежное функционирование всего устройства в целом.
Формула изобретения
Отсечное устройство, состоящее из исполнительного механизма в виде корпуса с неподвижным клапаном и подвижной втулкой с седлом, выполненной в средней части в виде поршня, разделяющего полость корпуса на управляющую и связанную с атмосферой камеры, гидравлического насоса, гидробака и электромагнитного клапана, отличающееся тем, что в него введены преобразователь давления, предохранительное устройство и кран ручного управления, причем преобразователь давления выполнен в виде корпуса, разделенного перегородкой на верхнюю и нижнюю камеры, и соосно расположенного подвижного дифференциального поршня, снабженного осевым каналом, соединяющим надпоршневое пространство верхней камеры с нижней, клапаном, размещенным в торце дифференциального поршня и взаимодействующего с седлом, расположенным на входе, причем верхний торец дифференциального поршня выполнен с площадью сечения больше площади клапана, а предохранительное устройство составлено из корпуса и размещенных в нем седла, клапана и регулировочного винта с пружиной, кроме того, управляющая камера исполнительного механизма соединена напорной линией с выходом гидравлического насоса и входом преобразователя давления, выход которого связан со входами электромагнитного клапана и предохранительного устройства, а их выходы (электромагнитного клапана и предохранительного устройства) и подпоршневая полость верхней камеры преобразователя давления соединены сбросной линией с гидробаком, а кран ручного управления установлен между напорной и сбросной линиями.
РИСУНКИ
|
|