|
|
(21), (22) Заявка: 2005115174/11, 18.05.2005
(24) Дата начала отсчета срока действия патента:
18.05.2005
(46) Опубликовано: 27.01.2007
(56) Список документов, цитированных в отчете о поиске:
SU 1257327 A1, 15.09.1986. SU 1295091 A2, 31.01.1985. SU 1420276 A1, 30.08.1988.
Адрес для переписки:
427622, Удмуртская Республика, г. Глазов, ул. Кирова, 36, В.С. Кузнецову
|
(72) Автор(ы):
Кузнецов Василий Сергеевич (RU), Кузнецов Андрей Сергеевич (RU), Веретенников Николай Данилович (RU), Казанцев Александр Сергеевич (RU)
(73) Патентообладатель(и):
Государственное образовательное учреждение высшего профессионального образования “Ижевский государственный технический университет” (RU)
|
(54) БЕЗВОДИЛЬНАЯ ПЛАНЕТАРНАЯ ПЕРЕДАЧА
(57) Реферат:
Изобретение относится к машиностроению, в частности к зубчатым механическим передачам. Передача содержит солнечную шестерню 1, сателлиты 2, опорное кольцо 6 сателлитов, неподвижное центральное колесо 4 с укороченными внутренними зубьями и тихоходное центральное колесо 7 с зубьями-перемычками. Подшипники скольжения 5 тихоходного колеса выполнены в виде двух колес с внутренними зубьями. Толщина подшипников скольжения соответствует ширине впадин зубьев-перемычек тихоходного колеса. Подшипники установлены на тихоходное колесо в местах соединения его зубьев-перемычек с ободами. Технический результат – уменьшение осевых размеров, которое достигается установкой подшипников скольжения непосредственно во впадины зубьев-перемычек тихоходного центрального колеса, и повышение нагрузочной способности передачи, которая достигается увеличением изгибной прочности зубьев-перемычек при заполнении нерабочей части всех впадин зубьев-перемычек прочным материалом подшипников скольжения. 2 ил.
Изобретение относится к области машиностроения, в частности к зубчатым механическим передачам, и может быть использовано во всех отраслях народного хозяйства.
Известна планетарная зубчатая передача, содержащая ведущую солнечную шестерню, сателлиты, оси сателлитов, подшипниковые узлы, водило и неподвижное центральное колесо с внутренними зубьями [1].
Недостатками ее являются сложность изготовления нетехнологичного водила и высокая себестоимость из-за наличия большого количества подшипников сателлитов.
Известна также безводильная планетарная зубчатая передача, содержащая ведущую солнечную вал-шестерню, сателлиты, оси сателлитов, опорное кольцо сателлитов, неподвижное центральное колесо с укороченными внутренними зубьями и тихоходное центральное колесо с зубьями-перемычками, установленное на подшипники скольжения, выполненные в виде простых цилиндрических колец [2] (прототип).
Недостатками ее являются увеличенные осевые размеры, что обусловлено расположением подшипников скольжения на внешних цилиндрических ободах тихоходного центрального колеса и невысокая нагрузочная способность передачи из-за низкой изгибной прочности зубьев-перемычек.
Целью изобретения является уменьшение осевых размеров и повышение нагрузочной способности безводильной планетарной передачи.
Поставленная цель достигается тем, что в передаче, содержащей солнечную шестерню, сателлиты, оси сателлитов, опорное кольцо сателлитов, центральное колесо с укороченными внутренними зубьями и тихоходное центральное колесо с зубьями-перемычками, подшипники скольжения тихоходного колеса выполнены в виде двух колес с внутренними зубьями, толщина которых соответствует ширине впадин зубьев-перемычек тихоходного колеса, и установлены на тихоходное колесо в местах соединения его зубьев-перемычек с ободами.
Уменьшение осевых размеров достигается установкой подшипников скольжения непосредственно во впадины зубьев-перемычек тихоходного центрального колеса.
Повышение нагрузочной способности передачи достигается увеличением изгибной прочности зубьев-перемычек при заполнении нерабочей части всех впадин зубьев-перемычек прочным материалом подшипников скольжения.
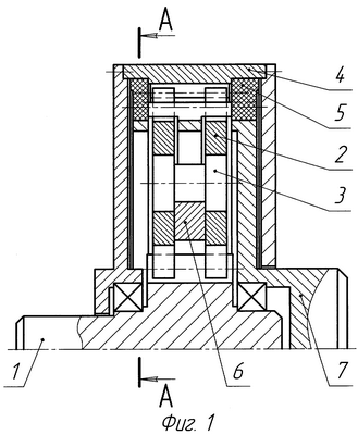
Суть технического решения поясняется чертежами, где на фиг.1 изображен общий вид передачи в разрезе, на фиг.2 – разрез по А-А на фиг.1.
Передача содержит солнечную шестерню 1, сателлиты 2, оси сателлитов 3, неподвижное центральное колесо с укороченными внутренними зубьями 4, подшипник скольжения 5, опорное кольцо сателлитов 6, тихоходное центральное колесо с внутренними зубьями-перемычками 7.
Тихоходное центральное колесо 7 установлено в неподвижное центральное колесо 4 посредством двух подшипников скольжения 5, которые установлены симметрично с двух сторон внутренними пазами непосредственно на зубья-перемычки тихоходного колеса.
Передача работает следующим образом.
Вращательное движение передается от солнечной шестерни 1 сателлитам 2, а через них и через неподвижное центральное колесо с укороченными внутренними зубьями 4 тихоходному центральному колесу с внутренними зубьями-перемычками 7. Так как тихоходное центральное колесо 7 опирается на неподвижное центральное колесо 4 посредством подшипников скольжения 5, внутренние опорные элементы которых размещаются во впадинах между зубьями-перемычками, передача имеет меньшие осевые размеры, уменьшается величина прогиба зубьев-перемычек, что увеличивает их изгибную прочность и повышает нагрузочную способность передачи в целом.
Источники информации
1. Кудрявцев В.Н. Планетарные передачи. – 2-е изд., перераб. и доп. – Л.: Машиностроение, 1966.
2. Плеханов Ф.И., Ефимов И.Н., и др. Комбинированная планетарная передача. Пат. РФ №2169869, МПК F 16 H 1/46. – №99122540/28. Заяв. 26.10.1999, Опубл. 27.06.2001. – БИ №18.
Формула изобретения
Безводильная планетарная передача, содержащая солнечную шестерню, сателлиты, неподвижное центральное колесо с укороченными внутренними зубьями, тихоходное центральное колесо с зубьями-перемычками и подшипники скольжения, отличающаяся тем, что подшипники скольжения тихоходного колеса выполнены в виде двух колес с внутренними зубьями, толщина которых соответствует ширине впадин зубьев-перемычек тихоходного колеса, и установлены на тихоходное колесо в местах соединения его зубьев-перемычек с ободами.
РИСУНКИ
MM4A – Досрочное прекращение действия патента СССР или патента Российской Федерации на изобретение из-за неуплаты в установленный срок пошлины за поддержание патента в силе
Дата прекращения действия патента: 19.05.2007
Извещение опубликовано: 27.07.2008 БИ: 21/2008
|
|