|
|
(21), (22) Заявка: 2004120411/11, 02.07.2004
(24) Дата начала отсчета срока действия патента:
02.07.2004
(43) Дата публикации заявки: 10.12.2005
(46) Опубликовано: 27.01.2007
(56) Список документов, цитированных в отчете о поиске:
SU 1796810 A1, 23.02.1993. SU 916828 A, 05.04.1982. SU 739289 A, 15.06.1980.
Адрес для переписки:
600000, г.Владимир, ул. Горького, 87, Владимирский государственный университет, патентный отдел
|
(72) Автор(ы):
Козырев Вячеслав Васильевич (RU)
(73) Патентообладатель(и):
Козырев Вячеслав Васильевич (RU)
|
(54) ПЛАНЕТАРНАЯ ПЕРЕДАЧА ВИНТ – ГАЙКА С ДЛИННЫМИ РЕЗЬБОВЫМИ РОЛИКАМИ
(57) Реферат:
Изобретение относится к машиностроению и приборостроению, в частности к механическим передачам винт-гайка качения, и может быть использовано для точного преобразования вращательного движения в поступательное. Планетарная передача винт-гайка содержит длинные резьбовые ролики, которые выполнены с разными числами заходов резьб на ходовом 4 и опорном 3 участках. Ролики сопряжены с винтом с соответствующими числами заходов резьб на его ходовом 2 и опорном 1 участках при определенных условиях сборки. Опора передачи выполнена или в виде опорной гайки 5 на одном из концов передачи, или в виде двух опорных полугаек на обоих концах передачи. Между ходовым 2 и опорным 1 участками резьбы роликов выполнены проточки 10 (канавки) с шириной, превышающей ширину ходовой полугайки, и с глубиной ниже глубины впадин резьбы. На концах винта, длинных роликов и опорных гаек могут быть выполнены или зубчатые венцы, или дополнительная резьба с углом подъема, превышающим угол подъема резьбы на ходовом и опорном участках. Опорные участки резьбы винта, роликов и опорных гаек могут быть выполнены с величинами углов подъема и профиля резьб, предотвращающими заклинивание передачи. Технический результат – повышение грузоподъемности, долговечности и жесткости передачи при высокой кинематической точности и плавности ее работы. 4 ил.
Предлагаемое изобретение относится к области машиностроения и приборостроения, в частности к механическим передачам винт-гайка качения, и может быть использовано для точного преобразования вращательного движения в поступательное, например, в приводах подач станков, роботов, измерительных машин, грузоподъемных устройств.
Однако условия сборки, то есть необходимость одновременного размещения длинных резьбовых роликов в ходовой и опорной гайках, накладывают ограничения на параметры передачи:

где z1, z3, z30 – числа заходов резьб на винте, ходовой и опорной гайках, nр – числа роликов, Е, E0 – целые числа.
Поэтому при роликах с одинаковой резьбой на всей их длине величина перемещения гайки за оборот винта S (1…0,5)Р (где Р – шаг резьбы), то есть ограничивается возможность повышения редукции, передаточного отношения. Вместе с тем во многих приводах, в особенности в приводах с высокой разрешающей способностью (высокой чувствительностью), необходимость повышения передаточного отношения обеспечивается за счет установки промежуточного редуктора (зубчатого или червячного), что приводит согласно принципу кратчайшей размерной или кинематической цепи к снижению кинематической точности и плавности работы привода, снижению его надежности, повышению веса, габаритов и стоимости.
Наиболее близким аналогом к предлагаемому изобретению является планетарная передача винт-гайка с длинными резьбовыми роликами [Авторское свидетельство СССР N 739289, кл. F 16 Н 1/34, 1976 (прототип)]. Такая конструкция обеспечивает передаточное отношение при S 0,5P и максимальное число роликов nр 4 по условию сборки.
Недостатком этой известной передачи является ограниченная грузоподъемность, долговечность и жесткость, что обусловлено невозможностью размещения более четырех роликов. К тому же ограниченная редукция при S 0,5P (обычно S=P) не всегда позволяет обойтись без промежуточного редуктора, а промежуточный редуктор удлиняет кинематическую цепь и снижает кинематическую точность.
Задача изобретения – повышение грузоподъемности, долговечности и жесткости передачи при высокой кинематической точности и плавности ее работы.
Это достигается тем, что ролики выполнены с разными числами заходов резьб на ходовом и опорном участках и сопряжены с винтом с соответствующими числами заходов резьб на его ходовом и опорном участках при условии сборки

где nр – число роликов, z1, z10, z3, z30 – числа заходов резьб на ходовом и опорном участках винта и ходовой и опорной гайках, Е, Е0 – целые числа, причем
или опора передачи выполнена в виде опорной гайки на одном из концов передачи, а на концах винта, длинных роликов и опорных гаек выполнены зубчатые венцы,
или опора передачи выполнена в виде двух опорных полугаек на обоих концах передачи, ходовая гайка выполнена в виде двух полугаек при проточках между ходовым и опорными участками резьбы роликов с шириной, превышающей ширину ходовой полугайки, и с глубиной ниже глубины впадин резьбы, а на концах винта, длинных роликов и опорных гаек выполнены зубчатые венцы,
или опора передачи выполнена в виде двух опорных полугаек на обоих концах передачи, ходовая гайка выполнена в виде двух полугаек при проточках между ходовым и опорными участками резьбы роликов с шириной, превышающей ширину ходовой полугайки, и с глубиной ниже глубины впадин резьбы, а на концах винта, длинных роликов и опорных гаек выполнена дополнительная резьба с углом подъема, превышающим угол подъема резьбы на ходовом и опорном участках,
или опора передачи выполнена в виде двух опорных полугаек на обоих концах передачи, ходовая гайка выполнена в виде двух полугаек при проточках между ходовым и опорными участками резьбы роликов с шириной, превышающей ширину ходовой полугайки, и с глубиной ниже глубины впадин резьбы, а опорные участки резьбы винта, роликов и опорных гаек выполнены с величинами углов подъема и профиля резьб, предотвращающими заклинивание передачи.
Например, при z10=-3, z30=9, z1=-1, z3=2 число роликов nр=3 и условие сборки выполняются, а величина перемещения ходовой гайки за оборот винта

при k=1, z2=1 равна

Или при z10=-5, z30=15, z1=-1, z3=4 число роликов nр=5 и условие сборки выполняются, а величина перемещения ходовой гайки за оборот винта при k=1, z2=1

На чертежах (фиг.1, 2, 3, 4) представлены общие виды четырех вариантов конструкции предлагаемой передачи.
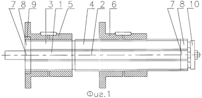
На фиг.1 показана передача с длинными резьбовыми роликами (РВПД), состоящая из винта с опорным участком 1 и ходовым участком 2, резьбовых роликов с опорным участком 3 и ходовым участком 4, опорной гайки 5, которая для создания натяга может состоять из двух полугаек, и ходовой гайки 6, которая для создания натяга может состоять из двух полугаек, зубчатых венцов 7 винта, зубчатых венцов 8 роликов и зубчатого венца 9 опорной гайки, сепаратора 10.
Число заходов резьбы на опорном участке 1 винта отличается от числа заходов резьбы на ходовом участке 2 винта, а число заходов резьбы на опорном участке 3 ролика отличается от числа заходов резьбы на ходовом участке 4 ролика. Резьба пересекает зубчатые венцы роликов. Если максимальная длина перемещения ходовой гайки не превышает ее ширины, то сепаратор может быть исключен.
При сборке передачи на блок винта с роликами навинчивается ходовая гайка со стороны ходовых участков роликов. Опорная гайка (без своего зубчатого венца) навинчивается со стороны опорных участков роликов, а затем устанавливается венец в опорной гайке.
При вращении винта резьбовые ролики совершают планетарное движение, при котором ходовая гайка перемещается поступательно в осевом направлении относительно опорной гайки.
На фиг.2 показана РВПД, состоящая из винта с двумя опорными участками 1 на его концах и ходовым участком 2, резьбовых роликов с двумя опорными участками 3 на их концах и ходовым участком 4, опорной гайки 5 из двух полугаек, ходовой гайки 6 из двух полугаек, зубчатых венцов 7 винта, зубчатых венцов 8 роликов и зубчатых венцов 9 опорных гаек, двух проточек 11 с шириной, превышающей ширину одной ходовой полугайки, и с глубиной ниже глубины впадины резьбы.
Число заходов резьбы на опорных участках 1 винта отличается от числа заходов резьбы на ходовом участке 2 винта, а число заходов резьбы на опорных участках 3 ролика отличается от числа заходов резьбы на ходовом участке 4 ролика. Резьба пересекает зубчатые венцы роликов.
При сборке передачи длинные резьбовые ролики равномерно располагаются своими проточками в ходовых полугайках. Внутри между роликами вставляется винт. Ходовые полугайки навинчиваются на ходовые участки роликов. Затем опорные полугайки навинчиваются на опорные участки роликов, после чего в опорные гайки устанавливаются зубчатые венцы.
При вращении винта резьбовые ролики совершают планетарное движение, при котором ходовая гайка перемещается поступательно в осевом направлении относительно опорных гаек.
На фиг.3 показана РВПД, состоящая из винта с двумя опорными участками 1 на его концах и ходовым участком 2, резьбовых роликов с двумя опорными участками 3 на их концах и ходовым участком 4, опорной гайки 5 из двух полугаек, ходовой гайки 6 из двух полугаек, дополнительной резьбы 12 на концах винта, дополнительной резьбы 13 на концах роликов и дополнительных полугаек 14, жестко связанных с опорными полугайками, проточек 11 с шириной, превышающей ширину одной ходовой полугайки, и с глубиной ниже глубины впадины резьбы.
Число заходов резьбы на опорных участках 1 винта отличается от числа заходов резьбы на ходовом участке 2 винта, а число заходов резьбы на опорных участках 3 ролика отличается от числа заходов резьбы на ходовом участке 4 ролика.
Угол подъема резьбы дополнительной полугайки равен углу подъема дополнительной резьбы на концах роликов. Угол подъема дополнительной резьбы на концах винта равен по величине и противоположен по направлению углу подъема дополнительной резьбы на концах роликов. Угол подъема дополнительных резьб превышает углы подъема резьб на ходовых и опорных участках.
При сборке передачи длинные резьбовые ролики равномерно располагаются своими проточками в ходовых и опорных полугайках. Внутри между роликами вставляется винт. Ходовые полугайки навинчиваются на ходовые участки роликов. Опорные полугайки навинчиваются на опорные участки роликов. Дополнительные полугайки навинчиваются на дополнительные резьбовые участки на концах роликов.
При вращении винта резьбовые ролики совершают планетарное движение, при котором ходовая гайка перемещается поступательно в осевом направлении относительно опорных и дополнительных гаек.
На фиг.4 показана РВПД, состоящая из винта с двумя опорными участками 1 на его концах и ходовым участком 2, резьбовых роликов с двумя опорными участками 3 на их концах и ходовым участком 4, опорной гайки 5 из двух полугаек, ходовой гайки 6 из двух полугаек, проточек 11 с шириной, превышающей ширину одной ходовой полугайки, и с глубиной ниже глубины впадины резьбы.
Число заходов резьбы на опорных участках 1 винта отличается от числа заходов резьбы на ходовом участке 2 винта, а число заходов резьбы на опорных участках 3 ролика отличается от числа заходов резьбы на ходовом участке 4 ролика.
Опорные участки резьбы винта, роликов и опорных гаек выполнены с величинами углов подъема и профиля резьбы, предотвращающими заклинивание передачи.
При сборке передачи длинные резьбовые ролики равномерно располагаются своими проточками в ходовых полугайках. Внутри между роликами вставляется винт. Ходовые полугайки навинчиваются на ходовые участки роликов. Опорные полугайки навинчиваются на опорные участки роликов.
При вращении винта резьбовые ролики совершают планетарное движение, при котором ходовая гайка перемещается поступательно в осевом направлении относительно опорных гаек.
В предлагаемой передаче резьбовые сопряжения роликов с винтом как на ходовых, так и на опорных участках увеличивают число параллельно работающих контактов резьб, а высокая редукция предложенной передачи позволяет создавать приводы с непосредственным соединением двигателя и передачи без промежуточного редуктора, то есть сокращать число звеньев кинематической цепи. Использование резьбовых участков с повышенными углами подъема резьб вместо зубчатых венцов увеличивает число точек контактов, воспринимающих осевую нагрузку, а точечное сопряжение резьбовых поверхностей по сравнению с эвольвентным зубчатым зацеплением увеличивает плавность работы передачи. Все это обеспечивает повышение грузоподъемности, долговечности, жесткости, точности и плавности работы предлагаемой передачи по сравнению с прототипом.
Формула изобретения
Планетарная передача винт – гайка с длинными резьбовыми роликами, отличающаяся тем, что ролики выполнены с разными числами заходов резьб на ходовом и опорном участках и сопряжены с винтом с соответствующими числами заходов резьб на его ходовом и опорном участках при условии сборки
(z3-z1)/Е=(z30-z10)/E0=np,
где nр – число роликов,
z1, z10, z3, z30 – числа заходов резьб на ходовом и опорном участках винта и ходовой и опорной гайках,
Е, E0 – целые числа,
причем или опора передачи выполнена в виде опорной гайки на одном из концов передачи, а на концах винта, длинных роликов и опорных гаек выполнены зубчатые венцы, или опора передачи выполнена в виде двух опорных полугаек на обоих концах передачи, ходовая гайка выполнена в виде двух полугаек при проточках между ходовым и опорными участками резьбы роликов шириной, превышающей ширину ходовой полугайки, и глубиной ниже глубины впадин резьбы, а на концах винта, длинных роликов и опорных гаек выполнены зубчатые венцы, или опора передачи выполнена в виде двух опорных полугаек на обоих концах передачи, ходовая гайка выполнена в виде двух полугаек при проточках между ходовым и опорными участками резьбы роликов шириной, превышающей ширину ходовой полугайки, и глубиной ниже глубины впадин резьбы, а на концах винта, длинных роликов и опорных гаек выполнена дополнительная резьба с углом подъема, превышающим угол подъема резьбы на ходовом и опорном участках, или опора передачи выполнена в виде двух опорных полугаек на обоих концах передачи, ходовая гайка выполнена в виде двух полугаек при проточках между ходовым и опорными участками резьбы роликов шириной, превышающей ширину ходовой полугайки, и глубиной ниже глубины впадин резьбы, а опорные участки резьбы винта, роликов и опорных гаек выполнены с величинами углов подъема и профиля резьб, предотвращающими заклинивание передачи.
РИСУНКИ
|
|