|
|
(21), (22) Заявка: 2005123445/11, 22.07.2005
(24) Дата начала отсчета срока действия патента:
22.07.2005
(46) Опубликовано: 27.01.2007
(56) Список документов, цитированных в отчете о поиске:
RU 2044937 C1, 27.09.1995. RU 2050485 C1, 20.12.1995. RU 2223428 C2, 10.02.2004. DE 1775168 A, 12.08.1971. US 5090822 A, 25.02.1992.
Адрес для переписки:
198097, Санкт-Петербург, пр. Стачек, 47, Научно-технический центр “Центротех-ЭХЗ”, Директору А.К. Калитеевскому
|
(72) Автор(ы):
Калитеевский Алексей Кириллович (RU), Кураев Валентин Владимирович (RU), Глухов Николай Петрович (RU), Лихачев Александр Владимирович (RU), Петруненков Андрей Викторович (RU), Лисейкин Вячеслав Павлович (RU), Фридлянд Алексей Павлович (RU), Зубрицкий Алексей Викторович (RU)
(73) Патентообладатель(и):
Федеральное государственное унитарное предприятие Производственное объединение “Электрохимический завод” (RU)
|
(54) ДЕМПФИРУЮЩИЙ УЗЕЛ
(57) Реферат:
Изобретение относиться к машиностроению и может быть использовано в вертикальных роторах быстровращающихся машин и приборов. Демпфирующий узел опоры вертикального ротора содержит корпус с полостью, заполненной вязкой жидкостью, и погруженный в нее протяженный в вертикальном направлении подвижный элемент. В верхней части подвижного элемента установлен подпятник для опирания конца вала ротора и закреплены концы центрирующих пружин. Центрирующие пружины другими концами закреплены к корпусу. Нижняя часть подвижного элемента установлена на шарнире на упругой мембране, закрепленной по периферии в корпусе. Между мембраной и дном полости установлен демпфирующий элемент, закрепленный на мембране. Техническим результатом является расширение частотного диапазона эффективного демпфирования колебаний вертикального ротора. 12 з.п. ф-лы, 2 ил.
Изобретение относится к машиностроению и может быть использовано в вертикальных роторах быстровращающихся машин и приборов, например, в накопителях энергии, центрифугах.
Известен демпфер колебаний быстровращающегося ротора с вертикальной осью вращения (Патент RU №2121089, F 16 F 15/02, 29.05.1996), содержащий шарнирно опертый в заполненном жидкостью резервуаре подвижный элемент ступенчатой формы с подшипником для опоры ротора и центрирующими пружинами в верхней части, поперечную разделительную мембрану, герметично соединенную со стенкой резервуара и с нижней утолщенной частью подвижного элемента, выполненной в виде открытого снизу полого демпфирующего цилиндра, и центральный опорный штырь на дне резервуара, расположенный с зазором в полости демпфирующего цилиндра. Центр вращения шарнира расположен в плоскости разделительной мембраны.
Известный демпфер простой конструкция эффективно гасит как низкочастотные, так и высокочастотные радиальные колебания ротора и обладает высокой стабильностью демпфирующих характеристик, однако не может быть использован для демпфирования вертикальных колебаний, например, многозвенных роторов.
Наиболее близким к изобретению техническим решением является опорный узел быстровращающегося вертикального ротора (патент США №5090822, F 16 С 25/00, 25.02.92), предназначенный для гашения как радиальных, так и вертикальных сил, возникающих при вращении ротора центрифуги. Опорный узел содержит корпус с полостью, заполненной демпфирующей жидкостью, в которой установлен подвижный цилиндрический элемент. В верхней части подвижного элемента установлен несущий подшипник для вала ротора со сферической опорой и демпфирующий колпак с радиальными и осевыми отверстиями. К нижней части подвижного элемента под прямым углом к его продольной оси закреплена круглая упругая мембрана, наружный край которой закреплен к внутренней стенке корпуса. Между мембраной и дном корпуса установлена ограничивающая прогиб мембраны опора.
Данный демпфер не может обеспечить эффективное гашение в широком диапазоне частот (низкочастотных и высокочастотных) колебаний из-за большой приведенной к опоре ротора массы подвижного элемента, так как взаимное расположение его демпфирующих поверхностей (радиальной и осевой) не является оптимальным.
Задачей, на решение которой направлено заявляемое изобретение, является расширение частотного диапазона эффективного демпфирования колебаний вертикального ротора.
Поставленная задача решается тем, что в демпфирующем узле опоры вертикального ротора, содержащем корпус с полостью, заполненной вязкой жидкостью, и погруженный в нее протяженный в вертикальном направлении подвижный элемент, в верхней части которого установлен подпятник для опирания конца вала ротора и закреплены концы центрирующих пружин, другими концами прикрепленные к корпусу, а нижняя часть установлена на шарнире, закрепленном на упругой мембране, прикрепленной по периферии в корпусе, между мембраной и дном полости установлен демпфирующий элемент, закрепленный на мембране.
Дополнительно демпфирующий элемент соединен с мембраной стержнем.
Кроме того, демпфирующий элемент соединен с мембраной упругим элементом, например, винтовой пружиной.
Дополнительно демпфирующий элемент выполнен в виде плоской круговой пластины.
Кроме того, между мембраной и демпфирующим элементом установлена перегородка, закрепленная в корпусе.
Дополнительно на демпфирующем элементе установлена опора, ограничивающая осевой прогиб мембраны относительно дна полости.
Кроме того, на дне полости установлена опора, ограничивающая осевое смещение демпфирующего элемента относительно дна полости.
Дополнительно опора выполнена в виде упругого элемента, например, в виде винтовой пружины.
Кроме того, в мембране выполнено два или более сквозных отверстий.
Дополнительно в демпфирующем элементе выполнено два или более сквозных отверстий.
Кроме того, в перегородке выполнено два или более сквозных отверстий.
Дополнительно,подвижный элемент выполнен в виде цилиндра ступенчатой формы, нижняя утолщенная часть которого образует радиальный демпфирующий зазор с корпусом.
Кроме того, подвижный элемент соединен с шарниром упругой связью, например, упругим стержнем.
Изобретение дополнительно иллюстрировано прилагаемыми чертежами, где:
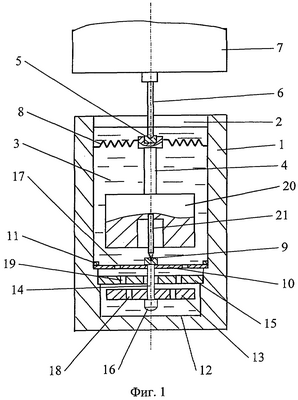
на фиг.1 показан общий вид варианта демпфирующего узла;
на фиг.2 показан вариант выполнения элементов демпфирующего узла.
Демпфирующий узел опоры вертикального ротора содержит корпус 1 с полостью 2, заполненной вязкой жидкостью 3, в которую погружен протяженный в вертикальном направлении подвижный элемент 4. В верхней части элемента 4 установлен подпятник 5 для опирания конца вала 6 ротора 7 и закреплены концы центрирующих пружин 8, другими концами прикрепленные к корпусу 1. Нижняя часть элемента 4 установлена на шарнире 9, закрепленном на упругой мембране 10, прикрепленной по периферии в корпусе 1 кольцом 11. Между мембраной 10 и дном 12 полости 2 установлен демпфирующий элемент 13, выполненный в виде плоской круговой пластины, соединенной с мембраной 10 стержнем 14.
Между мембраной 10 и демпфирующим элементом 13 установлена перегородка 15, закрепленная в корпусе 1. На демпфирующем элементе 13 установлена опора 16, ограничивающая осевой прогиб мембраны 10 относительно дна 12 полости 2. В мембране 10, в демпфирующем элементе 13 и перегородке 15 выполнено по два или более сквозных отверстий 17, 18 и 19, соответственно, для прохода демпфирующей жидкости 3. Подвижный элемент 4 выполнен в виде цилиндра ступенчатой формы, нижняя утолщенная часть 20 которого образует радиальный демпфирующий зазор с корпусом 1 и соединена с шарниром 9 упругой связью в виде упругого стержня 21.
В варианте выполнения на фиг.2 демпфирующий элемент 13 соединен с мембраной 10 упругим элементом в виде винтовой пружины 22, а опора, ограничивающая осевое смещение демпфирующего элемента 13 относительно дна полости 12, выполнена в виде винтовой пружины 23 и установлена на дне 12 полости 2.
Работа демпфирующего узла происходит следующим образом.
При вращении ротора 7 на различных режимах работы могут возникать его радиальные и осевые колебания, вызванные дисбалансами ротора и дестабилизирующими возмущениями. При радиальных колебаниях вал 6 за подпятник 5 отклоняет подвижный элемент 4 на шарнире 9 и перемещает его в полости 2 с вязкой жидкостью 3. Перемещение подвижного элемента 4 в вязкой жидкости 3 вызывает поглощение энергии колебаний ротора 7 и подавляет его радиальные колебания, а центрирующие пружины 8 возвращают подвижный элемент 4 и ротор 7 в исходное положение.
При осевых колебаниях ротора 7 вал 6 через подпятник 5, подвижный элемент 4 и шарнир 9 нагружает и прогибает мембрану 10, соединенную стержнем 14 с круглой пластиной 13, которая перемещается в полости с вязкой жидкостью и поглощает энергию колебаний ротора 7 и подавляет его осевые колебания. Упругая мембрана 10 возвращает подвижный элемент 4 и ротор 7 в исходное положение.
Расширение частотного диапазона эффективного демпфирования радиальных колебаний вертикального ротора 7 достигается выполнением подвижного элемента 4 ступенчатой формы с утолщенной нижней частью 20, которая перемещается вблизи стенки корпуса 1 и снижает эффективную массу подвижного элемента 4 на низких частотах, а выполнение соединения с шарниром 9 упругой связью в виде упругого стержня 21 позволяет настраивать величину демпфирования в желаемом высокочастотном диапазоне.
Повышение эффективности демпфирования осевых колебаний ротора 7 достигается закреплением перегородки 15 между мембраной 10 и демпфирующим элементом 13 и выполнением сквозных отверстий 17, 18, 19 для перетекания демпфирующей жидкости при смещениях мембраны 10 и демпфирующего элемента 13 относительно перегородки 15 и дна 12 корпуса 1.
Выполнение соединения демпфирующего элемента 13 с мембраной 10 упругим элементом в виде винтовой пружины 22 позволяет регулировать частотный диапазон осевого демпфирования, а выполнение опоры, ограничивающей нагрузку упругой мембраны 10 и осевое смещение демпфирующего элемента 13 относительно дна полости 12, в виде винтовой пружины 23, устраняет ударные нагрузки между валом 6 и подпятником 5 и повышает работоспособность опоры.
Формула изобретения
1. Демпфирующий узел опоры вертикального ротора, содержащий корпус с полостью, заполненной вязкой жидкостью, и погруженный в нее протяженный в вертикальном направлении подвижный элемент, в верхней части которого установлен подпятник для опирания конца вала ротора и закреплены концы центрирующих пружин, другими концами прикрепленные к корпусу, а нижняя часть установлена на шарнире, закрепленном на упругой мембране, прикрепленной по периферии в корпусе, отличающийся тем, что между мембраной и дном полости установлен демпфирующий элемент, закрепленный на мембране.
2. Демпфирующий узел по п.1, отличающийся тем, что демпфирующий элемент соединен с мембраной стержнем.
3. Демпфирующий узел по п.1, отличающийся тем, что демпфирующий элемент соединен с мембраной упругим элементом, например винтовой пружиной.
4. Демпфирующий узел по п.1, отличающийся тем, что демпфирующий элемент выполнен в виде плоской круговой пластины.
5. Демпфирующий узел по п.1, отличающийся тем, что между мембраной и демпфирующим элементом установлена перегородка, закрепленная в корпусе.
6. Демпфирующий узел по п.1, отличающийся тем, что на демпфирующем элементе установлена опора, ограничивающая осевой прогиб мембраны относительно дна полости.
7. Демпфирующий узел по п.1, отличающийся тем, что на дне полости установлена опора, ограничивающая осевое смещение демпфирующего элемента относительно дна полости.
8. Демпфирующий узел по п.6 или 7, отличающийся тем, что опора выполнена в виде упругого элемента, например в виде винтовой пружины.
9. Демпфирующий узел по п.1, отличающийся тем, что в мембране выполнено два или более сквозных отверстий.
10. Демпфирующий узел по п.1, отличающийся тем, что в демпфирующем элементе выполнено два или более сквозных отверстий.
11. Демпфирующий узел по п.5, отличающийся тем, что в перегородке выполнено два или более сквозных отверстий.
12. Демпфирующий узел по п.1, отличающийся тем, что подвижный элемент выполнен в виде цилиндра ступенчатой формы, нижняя утолщенная часть которого образует радиальный демпфирующий зазор с корпусом.
13. Демпфирующий узел по п.1, отличающийся тем, что подвижный элемент соединен с шарниром упругой связью, например упругим стержнем.
РИСУНКИ
|
|