|
(21), (22) Заявка: 2005113108/11, 29.04.2005
(24) Дата начала отсчета срока действия патента:
29.04.2005
(46) Опубликовано: 27.01.2007
(56) Список документов, цитированных в отчете о поиске:
RU 2044937 C1, 27.09.1995. RU 2050485 C1, 20.12.1995. RU 2223428 C2, 10.02.2004. DE 1775168 A, 12.08.1971.
Адрес для переписки:
198097, Санкт-Петербург, пр. Стачек, 47, Научно-технический центр “Центротех-ЭХЗ”, Директору А.К. Калитеевскому
|
(72) Автор(ы):
Кураев Валентин Владимирович (RU), Глухов Николай Петрович (RU), Лихачев Александр Владимирович (RU), Булатов Юрий Валентинович (RU)
(73) Патентообладатель(и):
Федеральное государственное унитарное предприятие Производственное объединение “Электрохимический завод” (RU)
|
(54) ДЕМПФИРУЮЩИЙ УЗЕЛ
(57) Реферат:
Изобретение относится к машиностроению и может быть использовано в роторах быстровращающихся машин и приборов. Демпфирующий узел быстровращающегося вертикального ротора включает основной демпфер, содержащий подвижный элемент с подшипником для гибкой опоры ротора и центрирующими пружинами в верхней части, шарнирно опертый в резервуаре, заполненном демпфирующей жидкостью, и дополнительный демпфер, содержащий демпфирующий цилиндр ступенчатой формы, нижняя часть которого имеет больший диаметр и помещена в полости с демпфирующей жидкостью, а в верхней части меньшего диаметра установлено корректирующее кольцо, охватывающее с зазором полуось гибкой опоры. Демпфирующий цилиндр подвешен в полости на дополнительных центрирующих пружинах, закрепленных за верхнюю часть меньшего диаметра. Техническим результатом является повышение эффективности демпфирования колебаний ротора при сильных возмущениях. 19 з.п. ф-лы, 12 ил.
Изобретение относиться к машиностроению и может быть использовано в роторах быстровращающихся машин и приборов, например в накопителях энергии, центрифугах.
Известен демпфирующий опорный узел быстровращающегося вертикального ротора [Японская заявка №55-32927, кл. F 16 C 27/00, 1974 г.], выполненный в виде цилиндрических демпфирующих элементов, установленных в резервуаре с демпфирующей жидкостью, с закрепленным на одном элементе подшипником торцевой опоры. На другом цилиндрическом демпфирующем элементе, установленном между полуосью и первым цилиндрическим элементом, закреплено охватывающее с некоторым радиальным зазором полуось корректирующее кольцо, которое установлено на вертикальной винтовой цилиндрической пружине и взаимодействует с полуосью при больших амплитудах колебаний ротора, демпфируя эти колебания при сильных возмущениях.
Недостаток известной конструкции состоит в том, что демпфирующие цилиндры взаимосвязаны через демпфирующие зазоры, что усложняет настройку демпфера для демпфирования многочастотных колебаний ротора.
Известен демпфирующий узел быстровращающегося вертикального ротора [Японская заявка №55-32928, кл. F 16 C 27/00, 1974 г.], выполненный в виде трех цилиндрических демпфирующих элементов, коаксиально установленных один в другом в резервуаре с демпфирующей жидкостью, с закрепленным на двух элементах подшипником для торцевой опоры. На двух цилиндрических демпфирующих элементах закреплено охватывающее с некоторым радиальным зазором полуось ротора корректирующее кольцо, которое взаимодействует с полуосью при больших амплитудах колебаний ротора, демпфируя эти колебания при сильных возмущениях.
Недостаток известной конструкции состоит в том, что демпфирующие цилиндры взаимосвязаны через демпфирующие зазоры, что усложняет настройку демпфера для демпфирования колебаний ротора различной интенсивности и на различных частотах.
Наиболее близким к изобретению техническим решением является демпфирующий узел быстровращающегося вертикального ротора [Патент Российской Федерации RU 2044937, кл. F 16 F 9/10, 15/023, 1992 г.], который включает основной демпфер, содержащий подвижный элемент с подшипником для гибкой опоры ротора и центрирующими пружинами в верхней части, шарнирно опертый в резервуаре, заполненном демпфирующей жидкостью, и дополнительный демпфер, содержащий демпфирующий цилиндр с корректирующим кольцом. Демпфирующий цилиндр выполнен ступенчатой формы, нижняя часть которого имеет больший диаметр и свободно установлена в полости с демпфирующей жидкостью, а в верхней части меньшего диаметра установлено корректирующее кольцо, охватывающее с зазором полуось гибкой опоры. На нижнем конце демпфирующего цилиндра выполнен участок конической формы или дно полости выполнено с участком конической формы.
Конструкция известного демпфирующего узла не обеспечивает достаточно стабильного эффективного демпфирования колебаний ротора в аварийном режиме при взаимодействии полуоси с корректирующим кольцом из-за вытеснения демпфирующей жидкости из демпфирующего зазора и отрыва демпфирующего цилиндра от дна полости при интенсивных колебаниях. Кроме того, при отрыве демпфирующего цилиндра от дна полости затрудняется его самоцентровка по дну полости, что затягивает выход ротора из режима работы по корректирующему кольцу.
Задача, на решение которой направлено изобретение, состоит в повышении эффективности работы демпфера и стабильности его характеристик.
Технический результат изобретения – создание простой конструкции демпфера, обеспечивающей надежное и эффективное демпфирование колебаний ротора при больших амплитудах его перемещения и сильных взаимодействиях.
Для этого в демпфирующем узле быстровращающегося вертикального ротора, который включает основной демпфер, содержащий подвижный элемент с подшипником для гибкой опоры ротора и центрирующими пружинами в верхней части, шарнирно опертый в резервуаре, заполненном демпфирующей жидкостью, и дополнительный демпфер, содержащий демпфирующий цилиндр ступенчатой формы, нижняя часть которого имеет больший диаметр и помещена в полости с демпфирующей жидкостью, а в верхней части меньшего диаметра установлено корректирующее кольцо, охватывающее с зазором полуось гибкой опоры, демпфирующий цилиндр подвешен в полости на дополнительных центрирующих пружинах, закрепленных за верхнюю часть меньшего диаметра.
Дополнительно, в демпфирующем узле радиальный зазор между демпфирующим цилиндром и корпусом частично перекрыт кольцевым радиальным выступом.
Кроме того, в демпфирующем узле кольцевой радиальный выступ выполнен, примерно, у середины длины нижней части большего диаметра.
Дополнительно, в демпфирующем узле радиальный зазор до кольцевого радиального выступа составляет 0,002-0,01 от величины диаметра выступа.
Кроме того, в демпфирующем узле кольцевой радиальный выступ выполнен на нижней части демпфирующего цилиндра.
Дополнительно, в демпфирующем узле выступ выполнен в виде наружного выступа.
Кроме того, в демпфирующем узле выступ выполнен в виде внутреннего выступа.
Дополнительно, в демпфирующем узле на демпфирующем цилиндре выполнен дополнительный внутренний кольцевой радиальный выступ.
Кроме того, в демпфирующем узле кольцевой радиальный выступ выполнен на поверхности полости.
Дополнительно, в демпфирующем узле выступ выполнен на выпуклой поверхности полости.
Кроме того, в демпфирующем узле выступ выполнен на вогнутой поверхности полости.
Дополнительно, в демпфирующем узле на вогнутой поверхности полости выполнен дополнительный кольцевой радиальный выступ.
Кроме того, в демпфирующем узле на выпуклой поверхности полости, примерно, напротив выступа на демпфирующем цилиндре выполнен дополнительный кольцевой радиальный выступ.
Дополнительно, в демпфирующем узле на вогнутой поверхности полости, примерно, напротив выступа на демпфирующем цилиндре выполнен дополнительный кольцевой радиальный выступ.
Кроме того, в демпфирующем узле на поверхности полости выполнен дополнительный кольцевой радиальный выступ, расположенный над радиальным выступом на демпфирующем цилиндре и ограничивающий осевое перемещение дополнительного демпфера.
Дополнительно, в демпфирующем узле на демпфирующем цилиндре выполнен дополнительный кольцевой радиальный выступ, расположенный под радиальным выступом на поверхности полости и ограничивающий осевое перемещение дополнительного демпфера.
Кроме того, в демпфирующем узле радиальный выступ выполнен в виде установленного в проточку пружинного кольца.
Кроме того, в демпфирующем узле дополнительные кольцевые радиальные выступы выполнены в виде установленного в проточку пружинного кольца.
Дополнительно, в демпфирующем узле подвижный элемент шарнирно оперт на гибкую мембрану, установленную по ее краю в резервуаре с осевым зазором от его дна.
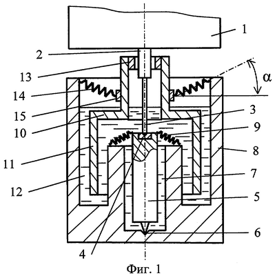
На фиг.1 схематично изображен вертикальный разрез ротора с демпфирующим узлом; на фиг.2 показан вариант выполнения демпфирующего узла с наружным кольцевым радиальным выступом на демпфирующем цилиндре; на фиг.3 показан вариант выполнения узла с внутренним кольцевым радиальным выступом на демпфирующем цилиндре; на фиг.4 показан вариант выполнения с наружным и внутренним кольцевыми радиальными выступами на демпфирующем цилиндре; на фиг.5 показан вариант выполнения узла с кольцевым радиальным выступом на вогнутой поверхности полости; на фиг.6 показан вариант выполнения узла с радиальным выступом на выпуклой поверхности полости; на фиг.7 показан вариант выполнения узла с радиальными выступами на вогнутой и выпуклой поверхности полости; на фиг.8 показан вариант выполнения узла с наружным радиальным выступом на демпфирующем цилиндре и радиальным выступом на выпуклой поверхности полости; на фиг.9 показан вариант выполнения узла с внутренним радиальным выступом на демпфирующем цилиндре и радиальным выступом на вогнутой поверхности полости; на фиг.10 показан вариант выполнения узла с наружным радиальным выступом на демпфирующем цилиндре в виде пружинного кольца; на фиг.11 показан вариант выполнения узла с радиальными выступами в виде пружинных колец на вогнутой и выпуклой поверхностях полости и на демпфирующем цилиндре; на фиг.12 показан вариант выполнения демпфирующего узла с наружным радиальным выступом на демпфирующем цилиндре, пружинным кольцом на вогнутой поверхности полости и с подвижным элементом, шарнирно опертым на гибкую мембрану.
Демпфирующий узел содержит ротор 1 с полуосью 2, в которую установлена упругая опора в виде иглы 3, опирающейся на подпятник 4 подшипника опоры, установленный в верхней части подвижного элемента 5 основного демпфера, нижняя часть которого установлена на шарнире 6 в резервуаре 7 с демпфирующей жидкостью в корпусе 8. Подвижный элемент удерживается в вертикальном положении центрирующими пружинами 9. Дополнительный демпфер содержит демпфирующий цилиндр 10 ступенчатой формы, нижняя часть 11 которого имеет больший диаметр и установлена в полости 12 с демпфирующей жидкостью. В верхней части демпфирующего цилиндра 10, которая имеет меньший диаметр, закреплено корректирующее кольцо 13, охватывающее с зазором полуось 2. Демпфирующий цилиндр 10 подвешен в полости 12 на дополнительных центрирующих пружинах 14. Пружины 14 закреплены одним концом за верхнюю часть демпфирующего цилиндра 10 меньшего диаметра с помощью втулки 15, а другим концом за корпус 8 таким образом, что демпфирующий цилиндр 10 не касается ни стенок, ни дна полости 12, ни других неподвижных деталей демпфирующего узла. При этом под действием веса демпфирующего цилиндра дополнительные пружины прогибаются на небольшой угол .
В варианте выполнения демпфирующего узла на фиг.2 на демпфирующем цилиндре 10, примерно, в середине нижней части 11 выполнен наружный радиальный выступ 16. Кольцевой радиальный выступ 16 диаметром D частично перекрывает радиальный зазор , образованный в полости 12 между нижней частью 11 демпфирующего цилиндра 10 и корпусом 8. При этом радиальный выступ 16 по диаметру D образует небольшой радиальный зазор от вогнутой стенки полости 12. Радиальный зазор до кольцевого радиального выступа 16 составляет 0,002÷0,01 от величины диаметра D выступа 16, т.е. выполняется соотношение =(0,002÷0,01)D.
В варианте выполнения демпфирующего узла на фиг.3 на демпфирующем цилиндре 10, примерно, в середине нижней части 11 выполнен внутренний радиальный выступ 17 диаметром D. Кольцевой радиальный выступ 17 диаметром D частично перекрывает радиальный зазор , образованный в полости 12 между нижней частью 11 демпфирующего цилиндра 10 и корпусом 8. При этом радиальный выступ 17 по диаметру D образует небольшой радиальный зазор 6 от выпуклой стенки полости 12.
В варианте выполнения демпфирующего узла на фиг.4 на демпфирующем цилиндре 10, примерно, в середине нижней части 11 выполнены наружный 16 и дополнительный, расположенный напротив него, внутренний 17 радиальные выступы, которые выполнены с небольшими радиальными зазорами от вогнутой и выпуклой стенки полости 12 соответственно.
В варианте выполнения демпфирующего узла на фиг.5 на вогнутой поверхности полости 12, примерно, напротив середины нижней части 11 демпфирующего цилиндра 10 выполнен радиальный выступ 18 диаметром D. Кольцевой радиальный выступ 18 диаметром D частично перекрывает радиальный зазор , образованный в полости 12 между нижней частью 11 демпфирующего цилиндра 10 и корпусом 8. При этом радиальный выступ 18 по диаметру D образует небольшой радиальный зазор 6 с наружной стенкой нижней части 11 демпфирующего цилиндра 10.
В варианте выполнения демпфирующего узла на фиг.6 на выпуклой поверхности полости 12, примерно, напротив середины нижней части 11 демпфирующего цилиндра 10 выполнен радиальный выступ 19 диаметром D. Кольцевой радиальный выступ 19 диаметром D частично перекрывает радиальный зазор , образованный в полости 12 между нижней частью 11 демпфирующего цилиндра 10 и корпусом 8. При этом радиальный выступ 19 по диаметру D образует небольшой радиальный зазор до внутренней стенки нижней части 11 демпфирующего цилиндра 10.
В варианте выполнения демпфирующего узла на фиг.7 на вогнутой и выпуклой поверхностях полости 12, примерно, напротив середины нижней части 11 демпфирующего цилиндра 10 выполнены радиальные выступы 18 и 19 соответственно. Радиальные выступы 18 и 19 выполнены с небольшими радиальными зазорами от наружной и внутренней стенки нижней части 11 демпфирующего цилиндра 10 соответственно.
В варианте выполнения демпфирующего узла на фиг.8 на демпфирующем цилиндре 10, примерно, в середине нижней части 11 выполнен наружный радиальный выступ 16 и на выпуклой поверхности полости 12, примерно, напротив середины нижней части 11 демпфирующего цилиндра 10 выполнен радиальный выступ 19. Радиальный выступ 16 выполнен с небольшим радиальным зазором от вогнутой стенки полости 12, а радиальный выступ 19 выполнен с небольшим радиальным зазором от внутренней стенки нижней части 11 демпфирующего цилиндра 10.
В варианте выполнения демпфирующего узла на фиг.9 на демпфирующем цилиндре 10, примерно, в середине нижней части 11 выполнен внутренний радиальный выступ 17 и на вогнутой поверхности полости 12, примерно, напротив середины нижней части 11 демпфирующего цилиндра 10 выполнен радиальный выступ 18. Радиальный выступ 17 выполнен с небольшим радиальным зазором от выпуклой стенки полости 12, а радиальный выступ 18 выполнен с небольшим радиальным зазором от наружной стенки нижней части 11 демпфирующего цилиндра 10.
В варианте выполнения демпфирующего узла на фиг.10 на демпфирующем цилиндре 10, примерно, в середине нижней части 11 выполнен наружный радиальный выступ в виде пружинного кольца 20 круглого сечения, установленного в проточку цилиндра. Пружинное кольцо 20 установлено с небольшим радиальным зазором от вогнутой стенки полости 12.
В варианте выполнения демпфирующего узла на фиг.11 на вогнутой и выпуклой поверхностях полости 12, примерно, напротив середины нижней части 11 демпфирующего цилиндра 10 выполнены радиальные выступы в виде пружинных колец круглого сечения 21 и 22 соответственно. Пружинные кольца 21 и 22 установлены в проточках в стенках полости с небольшими радиальными зазорами от наружной и внутренней стенки нижней части 11 демпфирующего цилиндра 10 соответственно. На демпфирующем цилиндре ниже кольца 22 установлено дополнительное пружинное кольцо 23.
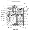
В варианте выполнения демпфирующего узла на фиг.12 на демпфирующем цилиндре 10, примерно, в середине нижней части 11 выполнен наружный радиальный выступ 16, выше которого в корпусе установлено дополнительное пружинное кольцо 24. Радиальный выступ 16 выполнен с небольшим радиальным зазором от вогнутой стенки полости 12. Подвижный элемент 5 шарниром 6 установлен на гибкой мембране 25. Мембрана 25 по ее краю установлена в резервуаре 7 с осевым зазором от его дна.
Работа демпфирующего узла происходит следующим образом.
При приведении ротора 1 во вращение его низкочастотные колебания, например колебания при разгоне от неуравновешенности ротора, и низкочастотные и высокочастотные колебания на рабочей скорости вращения, при которых амплитуды колебаний не очень велики и зазор между корректирующим кольцом 13 и полуосью 2 не выбирается, передаются через опорную иглу 3 и подпятник 4 подшипника на верхнюю часть подвижного элемента 5 в виде цилиндра, в результате чего подвижный элемент 5 наклоняется в резервуаре 7 с демпфирующей жидкостью, качаясь на шарнире 6. При таких движениях подвижного элемента 5 возникают упругая восстанавливающая сила при деформации центрирующих пружин 9 и демпфирующие силы при перемещении демпфирующей жидкости, главным образом в радиальном зазоре между подвижным элементом 5 и корпусом 8. Упругие и демпфирующие силы стабилизируют вращение ротора и предотвращают или гасят его колебания.
При сильных воздействиях на вращающийся ротор 1, при которых амплитуда его колебаний превышает величину зазора между полуосью 2 и корректирующим кольцом 13, полуось 2 входит во взаимодействие с кольцом 13 и отклоняет верхнюю часть демпфирующего цилиндра 10. Так как демпфирующий цилиндр 10 свободно подвешен в полости 12 на дополнительных центрирующих пружинах 14, он наклоняется и нижняя часть 11 демпфирующего цилиндра 10 перемещается в полости 12 таким образом, что верхняя ее половина радиально перемещается в одну сторону, а нижняя половина перемещается радиально в другую сторону. При взаимодействии полуоси 2 с корректирующим кольцом 13 возникают дополнительные упругие силы от дополнительных центрирующих пружин 14 и дополнительные демпфирующие силы от перемещения демпфирующего цилиндра 10 в полости 12 с демпфирующей жидкостью, действующие на ротор 1, которые уменьшают амплитуду колебаний ротора 1. При уменьшении амплитуды колебаний ротора 1 полуось 2 выходит из взаимодействия с корректирующим кольцом 13, а демпфирующий цилиндр 10 центрируется в корпусе 8 под действием упругих сил дополнительных центрирующих пружин 14.
При работе демпфирующего узла в вариантах выполнения с выступами 16-22 полуось 2 отклоняет верхнюю часть демпфирующего цилиндра 10, в результате чего выбирается небольшой зазор между диаметром D выступов 16, 20 или 17 на цилиндре или выступов 18, 21 или 19, 22 на стенках полости, независимо от варианта выполнения.
При этом нижняя часть 11 демпфирующего цилиндра 10 перемещается в полости 12 таким образом, что верхняя ее половина радиально перемещается в одну сторону, а нижняя половина перемещается радиально в другую сторону, опираясь на выступ, как центр вращения. Поскольку выступы 16-22 выполнены, примерно, в середине нижней части 11 демпфирующего цилиндра 10, усилия на выступах незначительны из-за примерного равновесия демпфирующих сил в верхней и нижней части демпфирующего цилиндра. Осевое перемещение демпфирующей жидкости в зазоре между стенкой полости 12 и нижней частью 11 демпфирующего цилиндра в этих вариантах выполнения демпфирующего узла затруднено кольцевыми выступами и практически отсутствует в вариантах с использованием двух выступов одновременно. В результате этого демпфирующие силы возникают, главным образом, за счет тангенциального перетекания демпфирующей жидкости в полости 12, что обеспечивает стабильные характеристики узла в различных режимах работы и предотвращает выплескивание демпфирующей жидкости из корпуса 8 при интенсивных взаимодействиях.
Использование пружинных колец 20-22 для выполнения радиальных выступов упрощает изготовление демпфирующего узла.
При взаимодействии полуоси 2 с корректирующим кольцом 13 могут возникать вертикальные силы, которые приводят к всплыванию нижней части 11 демпфирующего цилиндра 10 из полости 12. Для ограничения такого всплывания на демпфирующем цилиндре установлено пружинное кольцо 23 (фиг.11), которое ограничивает осевое перемещение демпфирующего цилиндра при взаимодействии с расположенным над ним пружинным кольцом 22, установленным в корпусе 8. В варианте выполнения на фиг.12 пружинное кольцо 24, установленное в корпусе 8, ограничивает осевое перемещение нижней части 11 демпфирующего цилиндра 10 при взаимодействии с выполненным на нем кольцевым выступом 16.
При радиальных колебаниях ротора неизбежно возникают осевые нагрузки на подпятник 4. Эти нагрузки эффективно снижаются осевыми смещениями демпфирующего элемента 5 на упругой мембране 25, установленной по ее краю в резервуаре 7, заполненном демпфирующей жидкостью, с осевым зазором от его дна. При прогибе мембраны 23 за счет перемещения демпфирующей жидкости между мембраной 23 и корпусом 8 возникают демпфирующие силы, которые снижают нагрузку на подпятник 4 и уменьшают колебания ротора 1.
Формула изобретения
1. Демпфирующий узел быстровращающегося вертикального ротора, который включает основной демпфер, содержащий подвижный элемент с подшипником для гибкой опоры ротора и центрирующими пружинами в верхней части, шарнирно опертый в резервуаре, заполненном демпфирующей жидкостью, и дополнительный демпфер, содержащий демпфирующий цилиндр ступенчатой формы, нижняя часть которого имеет больший диаметр и помещена в полости с демпфирующей жидкостью, а в верхней части меньшего диаметра установлено корректирующее кольцо, охватывающее с зазором полуось гибкой опоры, отличающийся тем, что демпфирующий цилиндр подвешен в полости на дополнительных центрирующих пружинах, закрепленных за верхнюю часть меньшего диаметра.
2. Демпфирующий узел по п.1, отличающийся тем, что радиальный зазор между демпфирующим цилиндром и корпусом частично перекрыт кольцевым радиальным выступом.
3. Демпфирующий узел по п.2, отличающийся тем, что кольцевой радиальный выступ выполнен примерно у середины длины нижней части большего диаметра.
4. Демпфирующий узел по п.2, отличающийся тем, что радиальный зазор до кольцевого радиального выступа составляет 0,002-0,01 величины диаметра выступа.
5. Демпфирующий узел по п.2, отличающийся тем, что кольцевой радиальный выступ выполнен на нижней части демпфирующего цилиндра.
6. Демпфирующий узел по п.5, отличающийся тем, что выступ выполнен в виде наружного выступа.
7. Демпфирующий узел по п.5, отличающийся тем, что выступ выполнен в виде внутреннего выступа.
8. Демпфирующий узел по п.6, отличающийся тем, что на демпфирующем цилиндре выполнен дополнительный внутренний кольцевой радиальный выступ.
9. Демпфирующий узел по п.2, отличающийся тем, что кольцевой радиальный выступ выполнен на поверхности полости.
10. Демпфирующий узел по п.9, отличающийся тем, что выступ выполнен на выпуклой поверхности полости.
11. Демпфирующий узел по п.9, отличающийся тем, что выступ выполнен на вогнутой поверхности полости.
12. Демпфирующий узел по п.10, отличающийся тем, что на вогнутой поверхности полости выполнен дополнительный кольцевой радиальный выступ.
13. Демпфирующий узел по п.6, отличающийся тем, что на выпуклой поверхности полости примерно напротив выступа на демпфирующем цилиндре выполнен дополнительный кольцевой радиальный выступ.
14. Демпфирующий узел по п.7, отличающийся тем, что на вогнутой поверхности полости примерно напротив выступа на демпфирующем цилиндре выполнен дополнительный кольцевой радиальный выступ.
15. Демпфирующий узел по одному из пп.5-8, 13 и 14, отличающийся тем, что на поверхности полости выполнен дополнительный кольцевой радиальный выступ, расположенный над радиальным выступом на демпфирующем цилиндре и ограничивающий осевое перемещение дополнительного демпфера.
16. Демпфирующий узел по одному из пп.9-12, 13 и 14, отличающийся тем, что на демпфирующем цилиндре выполнен дополнительный кольцевой радиальный выступ, расположенный под радиальным выступом на поверхности полости и ограничивающий осевое перемещение дополнительного демпфера.
17. Демпфирующий узел по одному из пп.2-14, отличающийся тем, что радиальный выступ выполнен в виде установленного в проточку пружинного кольца.
18. Демпфирующий узел по пп.8 или 12, отличающийся тем, что дополнительный кольцевой радиальный выступ выполнен в виде установленного в проточку пружинного кольца.
19. Демпфирующий узел по п.16, отличающийся тем, что дополнительный кольцевой радиальный выступ выполнен в виде установленного в проточку пружинного кольца.
20. Демпфирующий узел по одному из пп.1-7, 12 и 13, отличающийся тем, что подвижный элемент шарнирно оперт на гибкую мембрану, установленную по ее краю в резервуаре с осевым зазором от его дна.
РИСУНКИ
|