|
|
(21), (22) Заявка: 2005114953/06, 18.05.2005
(24) Дата начала отсчета срока действия патента:
18.05.2005
(46) Опубликовано: 27.01.2007
(56) Список документов, цитированных в отчете о поиске:
КОЖЕВНИКОВ С.Н. и др. Механизмы. Справочное пособие. М.: Машиностроение, 1976, с.396-397, рис.6.41. SU 1303766 А1, 5.04.1987. SU 868175 А, 30.09.1981. GB 1085532 А, 04.10.1967. GB 978627 А, 23.12.1964. FR 2726611 А1, 10.05.1996.
Адрес для переписки:
600910, Владимирская обл., ЗАТО, г. Радужный, кварт. 17, 150, а/я 77, ЗАО “ЭЛЕКТОН”
|
(72) Автор(ы):
Кузнецов Владимир Александрович (RU), Лепехин Владислав Иванович (RU), Маслак Евгений Пантелеевич (RU), Шенгур Николай Владимирович (RU), Шенгур Ирина Александровна (RU)
(73) Патентообладатель(и):
Закрытое акционерное общество “ЭЛЕКТОН” (RU)
|
(54) МУФТА ПУСКОВАЯ ПОГРУЖНОГО НАСОСА
(57) Реферат:
Изобретение может быть использовано преимущественно в погружном электронасосном оборудовании. Муфта содержит соосно установленные ведущую 1 и ведомую 2 полумуфты (ПМ). Ведущая ПМ выполнена в виде винтового вала 3. ПМ соединены ползуном 4, связанным с ведущей ПМ посредством винтового соединения, а с ведомой – подпружиненным подвижным упором (ПУ) 5, установленным в ползуне 4. ПМ размещены в корпусе 6, содержащем продольный неподвижный упор 7. Ведомая ПМ 2 представляет собой цилиндрический стакан (ЦС) 8, имеющий прорезь 9, выполненную в нем под углом к образующей. Начальный участок прорези ЦС длиной не менее длины ПУ параллелен образующей. ПУ 5 находится в зацеплении с прорезью 9 и имеет возможность взаимодействия с неподвижным упором 7. ПУ 5 представляет собой прямоугольный параллелепипед. Верхняя часть ПУ имеет боковой паз, взаимодействующий с нижним краем прорези 9 ЦС. Изобретение позволяет расширить функциональные возможности муфты за счет увеличения пусковой муфтой крутящего момента электродвигателя до величины пускового крутящего момента насоса. 5 з.п. ф-лы, 5 ил.
Изобретение относится к машиностроению и может быть использовано в нефтедобывающей промышленности в погружном электронасосном оборудовании скважин, а также в других отраслях промышленности в приводах машин и механизмов.
Известны фрикционные сцепные муфты, служащие для плавного сцепления валов под нагрузкой (см. B.C.Поляков и др. Справочник по муфтам. 1979, с.142). Фрикционные муфты передают крутящий момент от ведущего вала к ведомому за счет сил трения, создаваемых на контактных поверхностях сцепляющихся частей муфты. Включение муфты производится прижатием друг к другу указанных поверхностей, а выключение – их разъединением.
Применение данных муфт в ряде случаев, когда необходимо передавать значительный крутящий момент при малых диаметральных габаритах, например, в приводе погружного электронасоса, ограничено. Кроме того, при запуске исполнительного механизма в ряде случаев возникают динамические крутящие моменты и моменты от сил трения, превосходящие по величине номинальные крутящие моменты, в этом случае расчетной силы трения на контактных поверхностях может оказаться недостаточно для передачи крутящего момента и соединения ведущего и ведомого валов может не произойти.
Наиболее близким техническим решением является пусковая муфта, содержащая две соосно установленные полумуфты, первая полумуфта, выполненная в виде винтового вала, является ведомой. Полумуфты соединены ползуном, связанным с первой полумуфтой посредством винтового соединения, а со второй – посредством подвижных, подпружиненных упоров (собачек), установленных в ползуне. Ползун имеет возможность продольного перемещения относительно полумуфт.
Вторая полумуфта является ведущей и содержит зубчатое колесо и храповое колесо с внутренними зубьями. Храповое колесо входит в зацепление с ползуном посредством собачек (см. С.Н.Кожевников, Я.И.Есиненко, Я.М.Раскин «Механизмы» Справочное пособие. Под ред. чл. кор. АН УССР С.Н.Кожевникова. Изд.4., М.: Машиностроение, 1976, с.396-397, рис.6.41). Соединение валов надежное, жесткое, обеспечивается с задержкой по отношению к моменту пуска электродвигателя.
Однако данная конструкция пусковой муфты не обеспечивает возможность передачи крутящего момента, превышающего момент на валу электродвигателя во время его запуска, а также не обеспечивает плавности передачи крутящего момента при соединении ведущего и ведомого валов. Это, например, в случае заклинивания погружного электронасоса во время его запуска, влечет за собой большие материальные затраты, связанные с подъемом оборудования из скважины, с его заменой и последующим спуском.
Задачей изобретения является расширение функциональных возможностей пусковой муфты.
Технический результат, получаемый при использовании изобретения, заключается в расширении функциональных возможностей пусковой муфты за счет обеспечения возможности передачи крутящего момента, превышающего момент на валу электродвигателя во время его запуска, а также за счет обеспечения плавности передачи крутящего момента при соединении ведущего и ведомого валов, и, соответственно, облегчении запуска приводного двигателя.
Указанный технический результат достигается тем, что в муфте пусковой погружного насоса, содержащей соосно установленные первую и вторую полумуфты, первая полумуфта выполнена в виде винтового вала, полумуфты соединены ползуном, связанным с первой полумуфтой посредством винтового соединения, а со второй – посредством по меньшей мере одного подвижного, подпружиненного упора, установленного в ползуне, полумуфты размещены в корпусе, содержащем по меньшей мере один продольный, размещенный на его внутренней цилиндрической поверхности неподвижный упор, вторая полумуфта представляет собой цилиндрический стакан, имеющий по меньшей мере одну прорезь, выполненную в нем под углом к образующей, при этом начальный участок прорези цилиндрического стакана длиной не менее длины подвижного упора параллелен образующей, подвижный упор находится в зацеплении с прорезью и имеет возможность взаимодействия с неподвижным упором, первая полумуфта является ведущей, вторая – ведомой, а подвижный упор представляет собой, например, прямоугольный параллелепипед, причем верхняя часть подвижного упора имеет боковой паз, выполненный с возможностью взаимодействия с нижним краем прорези цилиндрического стакана, образованным поверхностью самой прорези и граничащей с ней внутренней поверхностью цилиндрического стакана.
Угол подъема винтовой линии резьбы винтового вала больше угла трения.
Между торцевыми поверхностями ползуна и торцевыми поверхностями полумуфт установлены упругие элементы, например пружины сжатия.
Между упругим элементом и внутренней торцевой поверхностью ведомой полумуфты установлен упорный подшипник.
Продольный неподвижный упор выполнен в виде выступа клиновидной формы, имеющего две грани, одна из которых практически перпендикулярна внутренней поверхности цилиндрического стакана и является упорной, другая выполнена тангенциально к внутренней цилиндрической поверхности корпуса и имеет возможность взаимодействия с верхней торцевой поверхностью подвижного упора.
Продольные неподвижные упоры расположены равномерно на внутренней цилиндрической поверхности корпуса.
Муфта пусковая, содержащая ползун, кинематически связанный с ведущей полумуфтой, выполненной в виде винтового вала, и с ведомой полумуфтой, представляющей собой цилиндрический стакан с прорезью, выполненной в нем под углом к образующей, посредством подпружиненного подвижного упора, находящегося в зацеплении с прорезью ведомой полумуфты и с одним из продольных, расположенных на внутренней поверхности корпуса муфты, неподвижных упоров, представляет собой комбинированный механизм, состоящий из винтового и клинового механизмов, повышающий крутящий момент приводного двигателя во время его запуска. Величина пускового крутящего момента обратно пропорциональна величине угла наклона прорези относительно образующей цилиндрического стакана.
Выполнение цилиндрического стакана с двумя или большим количеством прорезей, расположенных равномерно по окружности цилиндрического стакана, обеспечивает уравновешивание сил, действующих на элементы конструкции муфты.
Снабжение подвижного упора боковым пазом позволяет как передавать крутящий момент от ведущей полумуфты на ведомую, так и удерживать подвижный упор внутри цилиндрического стакана в рабочем режиме работы муфты.
Параллельный образующей начальный участок прорези цилиндрического стакана обеспечивает выход паза подвижного упора из зацепления с нижним краем прорези цилиндрического стакана в процессе возврата муфты в исходное положение.
Выполнение угла подъема винтовой линии резьбы винтового вала большим угла трения позволяет обеспечить возврат ползуна под действием пружины сжатия в исходное положение.
Упругие элементы, например пружины сжатия, установленные между торцевыми поверхностями ползуна и торцевыми поверхностями полумуфт, позволяют производить плавное сцепление ведущего и ведомого валов и производить возврат ползуна в исходное положение.
Упорный подшипник, установленный между упругим элементом и внутренней торцевой поверхностью ведомой полумуфты, повышает надежность работы муфты.
Форма выполнения неподвижных упоров обеспечивает вращение полумуфт в одном направлении по аналогии с храповым колесом.
Равномерное расположение неподвижных упоров на внутренней цилиндрической поверхности корпуса обеспечивает уравновешивание сил, действующих на элементы конструкции муфты.
Изобретение позволяет облегчить запуск приводного двигателя за счет увеличения пусковой муфтой крутящего момента электродвигателя во время его запуска до величины пускового крутящего момента исполнительного механизма, а также обеспечить плавность передачи крутящего момента при соединении ведущего и ведомого валов.
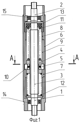
На Фиг.1 приведен чертеж муфты пусковой, разрез.
На Фиг.2 приведен чертеж муфты пусковой, вид сверху, разрез. Режим пуска. Подвижные упоры находятся в зацеплении с неподвижными упорами корпуса и прорезями цилиндрического стакана.
На Фиг.3 приведен чертеж муфты пусковой, вид сверху, разрез. Переходный режим. Подвижные упоры находятся вне зацепления с неподвижными упорами корпуса и прорезями цилиндрического стакана.
На Фиг.4 приведен чертеж муфты пусковой, вид сверху, разрез. Рабочий режим. Подвижные упоры удерживаются внутри цилиндрического стакана и находятся в зацеплении с прорезями цилиндрического стакана.
На Фиг.5 приведен чертеж цилиндрического стакана ведомой полумуфты с прорезями, выполненными в нем под углом к образующей, изометрия.
Муфта пусковая погружного насоса содержит (см. Фиг.1) первую ведущую 1 и вторую ведомую 2 соосно установленные полумуфты. Полумуфты 1 и 2 жестко зафиксированы относительно друг друга в направлении оси. Ведущая полумуфта 1, выполненная в виде винтового вала 3, имеет возможность вращения относительно ведомой полумуфты 2. Полумуфты 1 и 2 соединены ползуном 4, связанным с ведущей полумуфтой 1 посредством винтового соединения, а с ведомой – посредством подвижных подпружиненных упоров 5, установленных на ползуне 4. Величина угла подъема винтовой линии резьбы винтового вала 3 больше величины угла трения в его винтовом соединении с ползуном 4. Полумуфты 1 и 2 размещены в корпусе 6, содержащем продольные, равномерно расположенные на внутренней цилиндрической поверхности неподвижные упоры 7.
Каждый продольный неподвижный упор 7 выполнен в виде выступа клиновидной формы, имеющего две грани. Одна грань практически перпендикулярна поверхности цилиндрического стакана 8, является упорной и взаимодействует с подвижным упором 5. Другая грань выполнена тангенциально к внутренней цилиндрической поверхности корпуса и имеет возможность взаимодействия с верхней торцевой поверхностью подвижного упора 5. Количество неподвижных упоров 7 кратно количеству подвижных упоров 5. В данном конкретном примере исполнения количество подвижных упоров равно 2, неподвижных упоров – 8 (см. Фиг.1-4). Ведущая полумуфта 2 представляет собой цилиндрический стакан 8 с двумя прорезями 9 (см. Фиг.1, 5), выполненными в его стенках под углом к образующей. Начальный участок «а» прорези цилиндрического стакана длиной не менее длины подвижного упора выполнен параллельным образующей (см. Фиг.5).
Количество прорезей 9 равно количеству подвижных упоров 5. Прорези 9 равномерно расположены на поверхности цилиндрического стакана 8. Подвижные упоры 5 находятся в зацеплении с прорезями 9, а также имеют возможность взаимодействия с неподвижными упорами 7 корпуса муфты.
Каждый подвижный упор 5 (см. Фиг.1-4) представляет собой прямоугольный параллелепипед и установлен с возможностью радиального перемещения в специальном отдельном гнезде, выполненном в ползуне 4. Подвижные упоры 5 подпружинены пружиной сжатия 10, установленной в гнезде между подвижным упором и ползуном 4.
В верхней части подвижного упора 5 имеется паз, выполненный с возможностью взаимодействия с нижним краем прорези 9 цилиндрического стакана 8, включающим как поверхность самой прорези, так и граничащую с ней внутреннюю поверхность цилиндрического стакана 8. Подвижный упор 5 имеет следующие рабочие поверхности:
I – рабочая поверхность, взаимодействующая с поверхностью прорези цилиндрического стакана 8 в режиме пуска (см. Фиг.2);
II – рабочая поверхность, взаимодействующая с неподвижным упором 7 корпуса муфты в режиме пуска (см. Фиг.2);
III – рабочая поверхность бокового паза, взаимодействующая с поверхностью прорези цилиндрического стакана 8 и передающая крутящий момент от ведущей полумуфты на ведомую в рабочем режиме муфты (см. Фиг.4);
IV – рабочая поверхность бокового паза, взаимодействующая с внутренней поверхностью цилиндрического стакана 8, и позволяющая удерживать подвижный упор 5 внутри цилиндрического стакана в рабочем режиме муфты (см. Фиг.3, 4).
V – рабочая поверхность, взаимодействующая с внутренней цилиндрической поверхностью корпуса и тангенциальной гранью неподвижного упора 7 (см. Фиг.3).
Паз подвижного упора 5 образован поверхностями III и IV, расположенными под углом, несколько превышающим 90 градусов (см. Фиг.3). В данном примере конкретного исполнения подвижный упор 5 выполнен в виде прямоугольного параллелепипеда и имеет прямоугольное сечение, однако подвижный упор может иметь сечение любой другой формы, например круглой, шестиугольной и т.д. Рабочей поверхностью прорези 9 является поверхность, взаимодействующая с поверхностью I и IV подвижного упора 5.
Между торцевой поверхностью ползуна 4 и внутренней торцевой поверхностью ведомой полумуфты 2 установлен упругий элемент-пружина сжатия 11. Между торцевой поверхностью ползуна 4 и торцевой поверхностью ведущей полумуфты 1 установлен упругий элемент-пружина сжатия 12.
Между внутренней торцевой поверхностью полумуфты 2 и пружиной сжатия 11 установлен упорный подшипник 13. Полумуфты 1 и 2 установлены в корпусе 6 на подшипниках 14 и 15 соответственно.
Муфта пусковая устанавливается, например, в погружном оборудовании нефтяных скважин между погружным электродвигателем и центробежным или винтовым погружным насосом. Электрический двигатель подключается к ведущей полумуфте 1. Погружной насос, например центробежный, подключается к ведомой полумуфте 2. В момент запуска электродвигателя (см. Фиг.1, 2) ползун 4, представляющий собой гайку, начинает сворачиваться с винтового вала 3. Подвижные упоры 5 ползуна 4 находятся в зацеплении с прорезями 9, взаимодействуя с поверхностью прорези 9 поверхностью I, и под действием момента сопротивления погружного насоса – с неподвижными упорами 7, взаимодействуя с ними поверхностью II, за счет чего ползун 4 начинает поступательно перемещаться вдоль неподвижных упоров 7.
Подвижные упоры 5, перемещаясь вдоль неподвижных упоров 7 за счет винтового механизма, образованного винтовым валом 3 и ползуном 4, разворачивают цилиндрический стакан 8 на угол, соответствующий положению подвижного упора 5 в прорезях 9 и вала насоса, подключенного к ведомой полумуфте. Подвижные упоры 5, находящиеся в зацеплении с прорезями 9 и с продольными неподвижными упорами 7, образуют клиновой механизм, увеличивающий крутящий момент на ведомом валу на величину, обратно пропорциональную углу наклона прорези 9 к образующей цилиндрического стакана 8.
При достижении на ведомом валу крутящего момента, равного пусковому моменту насоса, последний страгивается со скоростью вращения, обусловленной геометрией винтового и клинового механизмов и скоростью вращения приводного электродвигателя.
При достижении на ведущем валу в результате силового взаимодействия в винтовой передаче крутящего момента, равного крутящему моменту на валу насоса после его страгивания (см. Фиг.3), силовое воздействие подвижных упоров 5 на неподвижные упоры 7 прекращается и ведомая полумуфта 2 начинает вращаться с угловой скоростью, равной скорости вращения приводного электродвигателя. Подвижные упоры 5, находящиеся в зацеплении с прорезями 9 ведомой полумуфты 2, в начале движения по окружности выходят из зацепления с неподвижными упорами 7. Так как подвижные упоры 5 подпружинены и подвижны, они наезжают на пологую, то есть тангенциальную, поверхность неподвижных упоров 7 (см. Фиг.3), взаимодействуя с ними поверхностью V. Подвижные упоры 5 сжимают пружину 10, перемещаются в радиальном направлении вовнутрь ползуна 4. При этом поверхность IV паза на подвижном упоре 5 оказывается ниже прорези 9 цилиндрического стакана 8. Под действием окружного усилия, возникающего от действия крутящего момента на ползуне 4, подвижный упор 5 заходит вовнутрь цилиндрического стакана 8 так, что паз подвижного упора 5 входит в зацепление с краем прорези 9, образованным поверхностью самой прорези и граничащей с ней внутренней поверхностью цилиндрического стакана 8. Далее подвижный упор 5 при вращении удерживается в данном состоянии, взаимодействуя с поверхностью прорези 9 поверхностью III паза (при этом происходит передача крутящего момента от ведущей полумуфты на ведомую) и с внутренней поверхностью цилиндрического стакана 8 поверхностью IV (см. Фиг.4). Пружина 10 прижимает подвижный упор 5 к внутренней поверхности цилиндрического стакана 8 поверхностью IV.
Таким образом, муфта выходит в номинальный режим работы.
При остановке двигателя под действием пружины 11 происходит возврат ползуна 4 муфты пусковой в исходное положение. Это достигается тем, что угол наклона винтовой линии резьбы винтового вала 3 больше угла трения. При этом под действием пружины 11 происходит возврат ползуна 4 в начало прорезей 9 и поворот вала ведущей полумуфты и, соответственно, вала выключенного электродвигателя в сторону, обратную направлению рабочего вращения.
Таким образом, изобретение позволяет получить на ведомом валу муфты пусковой крутящий момент, превышающий крутящий момент на валу электродвигателя в момент его запуска, и обеспечить плавность передачи крутящего момента при соединении ведущего и ведомого валов.
Формула изобретения
1. Муфта пусковая погружного насоса, содержащая соосно установленные первую и вторую полумуфты, первая полумуфта выполнена в виде винтового вала, полумуфты соединены ползуном, связанным с первой полумуфтой посредством винтового соединения, а со второй посредством, по меньшей мере, одного подвижного подпружиненного упора, установленного в ползуне, отличающаяся тем, что полумуфты размещены в корпусе, содержащем, по меньшей мере, один продольный размещенный на его внутренней цилиндрической поверхности неподвижный упор, вторая полумуфта представляет собой цилиндрический стакан, имеющий, по меньшей мере, одну прорезь, выполненную в нем под углом к образующей, при этом начальный участок прорези цилиндрического стакана длиной не менее длины подвижного упора параллелен образующей, подвижный упор находится в зацеплении с прорезью и имеет возможность взаимодействия с неподвижным упором, первая полумуфта является ведущей, вторая – ведомой, а подвижный упор представляет собой, например, прямоугольный параллелепипед, причем верхняя часть подвижного упора имеет боковой паз, выполненный с возможностью взаимодействия с нижним краем прорези цилиндрического стакана, образованным поверхностью самой прорези и граничащей с ней внутренней поверхностью цилиндрического стакана.
2. Муфта пусковая погружного насоса по п.1, отличающаяся тем, что угол подъема винтовой линии резьбы винтового вала больше угла трения.
3. Муфта пусковая погружного насоса по п.1, отличающаяся тем, что между торцевыми поверхностями ползуна и торцевыми поверхностями полумуфт установлены упругие элементы, например пружины сжатия.
4. Муфта пусковая погружного насоса по п.1, отличающаяся тем, что между упругим элементом и внутренней торцевой поверхностью ведомой полумуфты установлен упорный подшипник.
5. Муфта пусковая погружного насоса по п.1, отличающаяся тем, что продольный неподвижный упор выполнен в виде выступа клиновидной формы, имеющего две грани, одна из которых практически перпендикулярна внутренней поверхности цилиндрического стакана и является упорной, другая выполнена тангенциально к внутренней цилиндрической поверхности корпуса и имеет возможность взаимодействия с верхней торцевой поверхностью подвижного упора.
6. Муфта пусковая погружного насоса по п.1, отличающаяся тем, что продольные неподвижные упоры расположены равномерно на внутренней цилиндрической поверхности корпуса.
РИСУНКИ
|
|