|
|
(21), (22) Заявка: 2003131326/11, 26.03.2002
(24) Дата начала отсчета срока действия патента:
26.03.2002
(30) Конвенционный приоритет:
07.05.2001 (пп.4, 38, 39, 50) AU PR 4767 18.06.2001 (пп.1-3, 5-13, 22-27, 45, 46) AU PR 5731 29.06.2001 (пп.28-30) AU PR 5992 10.09.2001 (пп.52-55) AU PR 7569 21.12.2001 AU PR 9690
(43) Дата публикации заявки: 20.04.2005
(46) Опубликовано: 27.01.2007
(56) Список документов, цитированных в отчете о поиске:
US 3456458, 22.07.1969. US 4103513 A, 01.08.1978. JP 10037848 A, 13.02.1998. US 4509932 A, 09.04.1985. SU 894238 A, 30.12.1981.
(85) Дата перевода заявки PCT на национальную фазу:
27.10.2003
(86) Заявка PCT:
IB 02/00927 (26.03.2002)
(87) Публикация PCT:
WO 02/077479 (03.10.2002)
Адрес для переписки:
129010, Москва, ул. Б.Спасская, 25, стр.3, ООО”Юридическая фирма Городисский и Партнеры”, пат.пов. С.А. Дорофееву
|
(72) Автор(ы):
ТОМПСОН Гленн Александр (AU)
(73) Патентообладатель(и):
ТОМПСОН Гленн Александр (AU)
|
(54) МУФТА РАВНЫХ УГЛОВЫХ СКОРОСТЕЙ И РЕГУЛИРУЮЩАЯ СИСТЕМА ДЛЯ НЕЕ
(57) Реферат:
Изобретение относится к соединительным муфтам между валами, и в частности – к универсальным шарнирам, и конкретнее – к муфтам, имеющим равные мгновенные угловые скорости входного вала и выходного вала или обеспечивающим приблизительно таковые скорости. Предложены муфта равных угловых скоростей и двойная муфта равных угловых скоростей, в которых регулирующий механизм выполнен с возможностью поддержания условий равной мгновенной передачи угловых скоростей между входным и выходным валами (либо между входной и выходной осями для двойной муфты). Муфта равных угловых скоростей содержит ось вращения входного вала, ось вращения выходного вала, регулирующий механизм. Муфта содержит U-образную вилку выходной оси, имеющую регулирующий штифт выходной оси, прикрепленный к одному плечу вилки выходной оси. Причем ось регулирующего штифта выходной оси находится в плоскости, образуемой выходной осью и осью, образуемой цапфами вилки выходной оси, и пересекает геометрический центр муфты. Муфта также включает выступ входной оси, имеющий регулирующий штифт входной оси. Причем ось регулирующего штифта входной оси находится в плоскости, образуемой входной осью и осью вращения выступа, и пересекает геометрический центр муфты. Регулирующий механизм выполнен с возможностью удерживания по меньшей мере частей муфты для получения характеристик равных угловых скоростей. Двойная муфта равных угловых скоростей содержит входную ось, выходную ось, вилку входного конца, вилку выходного конца, регулирующий механизм. Вилка входного конца имеет первую и вторую пары цапф. Причем вторая пара цапф вилки входного конца шарнирно соединена с входной концевой парой цапф на входном конце соединительной трубы. Вилка выходного конца имеет первую и вторую пары цапф вилки, причем вторая пара цапф шарнирно соединена с выходной концевой парой цапф соединительной трубы. В результате достигается обеспечение строгих геометрических ограничений муфты равных угловых скоростей и уменьшение износа за счет уменьшения потерь на трение скользящих компонентов. 2 н. и 69 з.п. ф-лы, 23 ил.
Настоящее изобретение относится к соединительным муфтам между валами, и в частности – к универсальным шарнирам, и конкретнее – к муфтам, имеющим равные мгновенные угловые скорости входного вала и выходного вала или обеспечивающим приблизительно таковые скорости.
Область техники
Задача соединения двух вращающихся валов, работающих под углом друг к другу, решается инженерами по меньшей мере со времен начала промышленной революции. «Карданное Соединение», разработанное первоначально Карданом в 16 веке, в принципе применяется еще и сегодня, несмотря на присущие ему недостатки, и это соединение можно увидеть, например, практически в каждом автомобиле с приводом на задние колеса.
Присущий недостаток конструкции простого карданного соединения фактически заключается в том, что под любым углом между входным и выходным валами, превышающим 180 градусов, угловая скорость выходного вала изменяется по синусоиде относительно угловой скорости входного вала.
Обычно, опять же на примере привода на задние колеса автомобилей, используются два карданных соединения, соединяющие входной и выходной валы с промежуточным валом. За счет обеспечения параллельной соосности между входным и выходным валами и за счет согласования элементов соединения можно обеспечивать равные угловые скорости, колебания которых теперь ограничиваются промежуточным валом.
Но колебательные напряжения, возникающие по причине изменений угловых скоростей входного и выходного валов по отношению к промежуточному валу, необходимо амортизировать в двух карданных соединениях. При этом во многих применениях, и в частности в автомобилях, невозможно выдерживать строгую геометрическую взаимосвязь между входным и выходным валами, в результате чего возникают вибрации, механические напряжения и потери передачи мощности.
Частичное решение задачи обеспечения выверки входного и выходного валов было выработано в виде т.н. «двойного карданного соединения», которое часто называют Шарниром Равных Угловых Скоростей и которое представляет собой узел из двух карданных соединений, связанных с коротким промежуточным валом вместе с центрующим механизмом, который ограничивает оба соединения в заданной геометрической взаимосвязи друг с другом, в результате чего входной и выходной валы образуют равные углы с промежуточным валом. Основные недостатки этой конструкции заключаются в передаче осевых и радиальных нагрузок в центрующий механизм, и это обстоятельство ускоряет износ и потери на трение.
Для обеспечения передачи равных угловых скоростей между валами разработаны многие другие муфты. Все они, как правило, имеют тот недостаток, что являются приблизительными решениями задачи обеспечения строгих геометрических ограничений муфты действительно равных угловых скоростей; либо согласно этим решениям приближение к нужной геометрии достигается за счет больших приводящих к износу потерь на трение скользящих компонентов.
Технической задачей настоящего изобретения является устранение или по меньшей мере снижение одного из упоминаемых выше недостатков или по меньшей мере обеспечение полезной альтернативы.
Краткое существо изобретения
Соответственно, согласно одному широкому варианту настоящего изобретения создана муфта равных угловых скоростей, в которой условия для равной мгновенной передачи угловых скоростей между входным и выходным валами обеспечены регулирующим механизмом, при этом указанная муфта содержит:
(а) ось вращения входного вала,
(б) ось вращения выходного вала,
(в) регулирующий механизм,
при этом указанный регулирующий механизм выполнен с возможностью ограничения по меньшей мере частей указанного соединения, чтобы обеспечивать характеристику равных угловых скоростей.
Настоящее изобретение также в общем виде предлагает муфту равных угловых скоростей, в которой угол между входным валом и выходным валом регулируется для изменения объемных характеристик гидравлического устройства смещения наклонного диска.
Настоящее изобретение также в общем виде предлагает двойную муфту равных угловых скоростей, в которой условия равной мгновенной передачи угловых скоростей между входной и выходной осями обеспечивает регулирующий механизм, при этом указанная муфта содержит:
(а) входную ось,
(б) выходную ось,
(в) вилку входного конца,
(г) вилку выходного конца,
(д) регулирующий механизм.
Настоящее изобретение также в общем виде предлагает шарнир равных угловых скоростей, имеющий входной вал, с возможностью поворота соединенный с выходным валом с помощью механизма универсального шарнира; при этом указанный шарнир содержит механическое регулирующее средство, которое удерживает указанный универсальный шарнир по отношению к указанной входной оси и указанной выходной оси, в результате чего, при работе, характеристика равных угловых скоростей обеспечена в заданном диапазоне значений угла между указанным входным валом и указанным выходным валом.
Настоящее изобретение также в общем виде предлагает шарнир равных угловых скоростей, включающий в себя регулирующий механизм, основанный на сферической геометрии по отношению к геометрическом центру, определяемому как пересечение указанной входной оси и указанной выходной оси.
Настоящее изобретение также в общем виде предлагает центрирующее средство для шарнира равных угловых скоростей; при этом указанное центрирующее средство содержит шарниры, определяемые по отношению к сферическим треугольным конструкциям, чтобы ограничивать по меньшей мере части указанного шарнира на гомокинетической плоскости, определяемой по отношению к точке пересечения указанной входной оси с указанной выходной осью.
Настоящее изобретение также в общем виде предлагает способ ограничения первого входного вала по отношению ко второму выходному валу шарнира равных угловых скоростей с достижением по существу равных угловых скоростей; согласно указанному способу используют регулирующее средство, центрированное и шарнирно установленное на одной или более осей, проходящих через центр муфты, определяемый пересечением входного вала с осью выходного вала.
Краткое описание чертежей
Варианты осуществления настоящего изобретения далее описываются со ссылкой на прилагаемые чертежи, на которых:
Фиг.1 – вид в перспективе полностью собранной муфты равных угловых скоростей согласно первому предпочтительному осуществлению с входным и выходным валам, расположенными на одной прямой,
Фиг.2 – вид в перспективе изображаемой на Фиг.1 муфты, входной и выходной валы имеют некоторое угловое смещение;
Фиг.3 – вид в перспективе изображаемой на Фиг.1 муфты, некоторые компоненты удалены для наглядности,
Фиг.4 – вид в перспективе изображаемой на Фиг.2 муфты, иллюстрирующий принцип действия регулирующего механизма,
Фиг.5 – вид в перспективе полностью собранного регулирующего механизма изображаемой на Фиг.1 муфты;
Фиг.6 – ортогональный вид регулирующего механизма согласно второму предпочтительному осуществлению,
Фиг.7 – ортогональный вид рычажного механизма согласно третьему предпочтительному осуществлению,
Фиг.8 – вид в перспективе собранной муфты равных угловых скоростей согласно четвертому предпочтительному осуществлению,
Фиг.9 – вид в перспективе изображаемой на Фиг.8 муфты без центральной трубы,
Фиг.10 – вид в перспективе компонентов муфты, изображаемой на Фиг.9,
Фиг.11 – вид в перспективе конструкции муфты, выполненной с возможностью ее функционирования в качестве гидравлического двигателя, в соответствии с пятым осуществлением,
Фиг.12 – боковая проекция муфты, изображаемой на Фиг.11,
Фиг.13 – вид в перспективе основных компонентов, составляющих муфту, изображаемую на Фиг.11,
Фиг.14.1-14.20 – разные виды осуществления с шестого по десятое,
Фиг.15.1-15.4 – разные виды одиннадцатого осуществления,
Фиг.16.1-16.14 – разные виды осуществлений с двенадцатого до пятнадцатого,
Фиг.17.1-17.9 – виды шестнадцатого осуществления,
Фиг.18.1-18.13 – виды семнадцатого осуществления,
Фиг.19.1 – вид в перспективе восемнадцатого осуществления,
Фиг.20.1-20.9 – виды девятнадцатого осуществления,
Фиг.21.1-21.5 – виды двадцатого осуществления,
Фиг.22.1-22.7 – виды двадцать первого осуществления, и
Фиг.23 – графическое изображение гомокинетической плоскости и соответствующих осей для пояснения общего описания некоторых общих признаков многих упоминаемых выше осуществлений.
Подробное описание предпочтительных вариантов выполнения изобретения
Далее приводится описание разных вариантов выполнения изобретения. Различные варианты в общем относятся к системам, имеющим входной вал, механически соединенный с выходным валом таким образом, что крутящий момент можно передавать от входного вала на выходной вал с одновременным обеспечением характеристики по существу «равных угловых скоростей». Характеристика равных угловых скоростей должна обеспечиваться несмотря на изменения угла между входным и выходным валами.
В данном описании характеристика «равных угловых скоростей» относится к характеристике, согласно которой мгновенная угловая скорость входного вала согласована с мгновенной угловой скоростью выходного вала в течение полного поворота валов. Подразумевается, что характеристика равных угловых скоростей является целью конструкции, и различные осуществления могут обеспечивать эту характеристику в большей или меньшей степени на основании параметров, которые могут включать в себя механические и структурные изменения в собранном узле.
В тех случаях, когда допускается изменение угла между входным и выходным валами, то эти шарниры в данном описании называются универсальными шарнирами равных угловых скоростей.
Характеристика равных угловых скоростей входного и выходного валов в общем обеспечивается с помощью регулирующей системы, которая согласно осуществлениям настоящего изобретения выполнена в механическом виде и называется в разных осуществлениях как регулирующая вилка, регулирующий механизм, рычажный механизм, ограничивающее средство, межустановочный соединительный элемент, центрирующий механизм и центрирующее средство.
Во всех осуществлениях точка пересечения осей входного и выходного валов именуется центром муфты или геометрическим центром и, в некоторых случаях, называется «контактными точками» осей двух валов.
Значение центра муфты или геометрического центра в том, что в значительном числе осуществлений эта точка становится общей точкой шарнира равных угловых скоростей, через которую проходят оси вращения всех шарниров, образующих часть регулирующей системы (и также оси входного и выходного валов по определению).
Также в значительном числе осуществлений механизм универсального шарнира можно определить как механизм, образующий часть муфты и, в частности, включающий в себя части, регулируемые регулирующей системой, для обеспечения характеристики равных угловых скоростей. В данном описании универсальный шарнир в большинстве случаев означает внутреннюю по существу круглую вилку, установленную внутри наружной также по существу круглой вилки и выполненную с возможностью поворота относительно нее. Вилки механизма универсального шарнира в свою очередь соединены, с возможностью поворота, с соответствующими входным и выходным валами. Универсальный шарнир по меньшей мере частично ограничен в своих движениях регулирующим механизмом; в большинстве случаев в виде регулирующей вилки и соответствующих регулирующих компонентов, которые придают характеристику равных угловых скоростей взаимным перемещениям входного и выходного валов.
Ограничивающее действие, необходимое для обеспечения характеристики равных угловых скоростей, описывается в большинстве осуществлений по отношению к центру муфты или геометрическому центру и также по отношению к «гомокинетической плоскости» муфты.
Как видно из Фиг.23, в данном описании гомокинетической плоскостью является плоскость 300, которая располагается на биссектрисе 301 угла 302 между входной осью 303 и выходной осью 304 иллюстрируемой муфты 305 равных угловых скоростей. В частности, гомокинетическая плоскость 300 располагается под прямыми углами к плоскости, определяемой входной и выходной осями 303, 304. В случае Фиг.23: если входная ось 303 и выходная ось 304 находятся в плоскости страницы, то гомокинетическая плоскость 300 будет располагаться под прямыми углами к странице.
В своих частных видах регулирующая система более наглядно определена относительно дополнительного угла 306, который образован, в данном случае, между выходной осью 304 и продолжением входной оси 303 через центр муфты или геометрический центр 307. С математической точки зрения: дополнительный угол 306 составляет 180о, минус угол 302 между входным и выходным валами.
Биссектриса 308 дополнительного угла является биссектрисой дополнительного угла 306 и проходит через центр 307 и, по определению, расположена под прямыми углами к гомокинетической плоскости 300 и под прямыми углами к биссектрисе 301. На Фиг.23 биссектриса 308 дополнительного угла обозначена как СС и соответствует оси С на Фиг.4, описываемой со ссылкой на первое осуществление.
Особенность многих осуществлений настоящего изобретения заключается в том, что регулирующая система в виде регулирующего механизма центрирована на оси 308 и действует симметрично вокруг этой оси во всех видах работы. В отдельных осуществлениях термины «сферические треугольники» и «сферическая геометрия» используются в контексте рычажных механизмов и осей для регулирующей системы 309, и все они вращаются вокруг осей, которые проходят через центр 307.
В некоторых ее осуществлениях всю регулирующую систему, обеспечивающую характеристику равных угловых скоростей (или приближение, в той или иной степени, к этой характеристике), можно выполнить с помощью шарниров, которые вращаются вокруг этих осей, например с помощью шарико- или роликоподшипников, то есть, т.с., с использованием несущих поверхностей, для которых не требуются несущие нагрузку поверхности скольжения.
1. Первый вариант выполнения
Первый предпочтительный вариант выполнения муфты равных угловых скоростей далее излагается со ссылкой на Фиг.1-5.
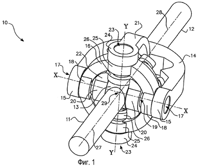
На Фиг.1 и 2 показана муфта 10 равных угловых скоростей, в которой входной вал 11 связан с выходным валом 12. Входной вал 11 жестко соединен с выступом 13 входного вала. Выходной вал 12 жестко соединен с вилкой 14 выходного вала, имеющей цапфы 15.
Вилка 14 выходного вала шарнирно соединена с наружной вилкой 16 с помощью шарнирных валов 17 и подшипников (не видны) в цапфах 18 наружной вилки.
Выступ 13 входного вала выполнен с возможностью поворота вокруг вала 19, проходящего через цапфы 20 внутренней вилки.
Регулирующая вилка 21 шарнирно соединена с наружной вилкой 16 и с внутренней вилкой 22 посредством валов 23 в цапфах 24 регулирующей вилки и подшипников (не видны) в цапфах 25 наружной вилки и цапфах 26 внутренней вилки. Ось Y-Y, определяемая регулирующей вилкой 21 и цапфами наружной вилки 16 и внутренней вилки 22, является главной осью муфты 10.
Как видно из Фиг.1 и 2, все шарнирные оси вместе с осью 27 входного вала и осью 28 выходного вала пересекаются в центре 29 муфты.
Как видно из Фиг.3: внутренняя вилка 22 и наружная вилка 16 для наглядности не изображены, чтобы показать первый ножничный механизм 30, состоящий из первого ножничного звена 31 и первых ножничных кулис 32 и 33. На Фиг.3 также показаны: продолжение 34 входного вала и регулирующий штифт 35 входного вала. Ось регулирующего штифта 35 входного вала пересекает центр 29 муфты и расположена в плоскости, переделяемой осью 27 входного вала и осью 36 выступа входного вала.
Обращаясь к Фиг.4, на которой входной вал 11 не показан для наглядности: далее излагаются геометрические характеристики первой половины ножничного регулирующего механизма 30.
Вилка 14 выходного вала имеет регулирующий штифт 37 выходного вала. Ось А регулирующего штифта 37 находится в плоскости, определяемой осью 28 выходного вала и осью Х-Х, проходящей через центры цапф 15 вилки выходного вала и пересекающей центр 29 муфты.
Шарнирный штифт 38 регулирующей вилки жестко соединен в центре регулирующей вилки 21 таким образом, что его ось С пересекает центр 29 муфты. Первое ножничное звено 31 поворачивается вокруг шарнирного штифта 38 регулирующей вилки и имеет на своих внешних концах шарнирные валы 39, оси которых также пересекаются в центре 29 муфты. Первые ножничные кулисы 32 и 33 шарнирно соединены с шарнирными валами 39 первого ножничного звена 31. Внешний конец первой ножничной кулисы 32 шарнирно соединен с регулирующим штифтом 35 входного вала (см. Фиг.3), и внешний конец первой ножничной кулисы 33 шарнирно соединен с регулирующим штифтом 37 выходного вала.
Поскольку все оси вращения первого ножничного механизма 30 пересекаются в центре 29 муфты, поэтому ясно, что вращательное смещение регулирующего штифта 35 входного вала из плоскости, определяемой осью 28 выходного вала и осью Х-Х, обусловит вращение регулирующей вилки 21 вокруг оси Х-Х. Если межцентровые расстояния шарнирных валов 39 от шарнирного штифта 38 регулирующей вилки и шарнирных центров кулис 32 и 33 равны, то из этого следует, что угловое смещение регулирующей вилки 21 будет составлять половину углового смещения регулирующего штифта 35 входного вала.
Это угловое соотношение верно, если оси А, В и С ограничены своим нахождением в общей плоскости, проходящей через центр 29 муфты. Как видно из Фиг.5, регулирующий ножничный механизм фактически содержит двойные симметричные ножничные звенья и рычажные механизмы, которые обеспечивают соблюдение этого условия. Можно считать, что этот механизм расположен на нескольких концентричных сферах таким образом, что номинальные точки шарнирного пересечения ножничных звеньев и рычажных механизмов расположены на вершинах сферических треугольников и ограничены таким образом, что соответствующие углы в треугольниках остаются равными при изменении ориентации ножничного механизма за счет действия двух регулирующих штифтов.
Для ясности: приводимые ниже примеры относятся только к одной половине двойного ножничного регулирующего механизма, но подразумевается, что упоминаемые здесь движения регулируются полным механизмом.
Обращаясь к Фиг.3 и 4, предположим, что ось 28 выходного вала 12 фиксирована в ориентации, находящейся в горизонтальной плоскости по оси Х-Х. Теперь если входной вал 11 вращается вниз только вокруг оси Х-Х, т.е. ось 27 входного вала 11 продолжает находиться в той же вертикальной плоскости, что и плоскость, проходящая через ось выходного вала 12 и ось Y-Y, тогда конец оси В в ее шарнирном соединении с первой ножничной кулисой 32 будет следовать траектории вверх на радиусе В сферы с центром в центре 29 муфты. Этой траекторией является малый круг на радиусе В сферы, и она находится в вертикальной плоскости, параллельной вертикальной плоскости, проходящей через оси входного вала 11 и выходного вала 12. Это смещение кулисы 32 принуждает первичное ножничное звено 31 поворачиваться вокруг прикрепленного к регулирующей вилке 21 шарнирного штифта 38 регулирующей вилки. Но ножничное звено 31 ограничено своим соединением с кулисой 33 и регулирующим штифтом 37 выходного вала. Если угол между плоскостью, определяемой осью Х-Х и повернутой осью В и горизонтальной плоскостью, проходящей через Х-Х, равен , то ножничное звено 31 и кулисы 32 и 33 будут поворачивать ось С в плоскость через ось Х-Х под углом /2. Теперь угол между осью 27 входного вала и горизонтальной плоскостью также составляет , и из этого следует, что ось Y-Y делит пополам угол (180- ) между осью 27 входного вала и осью 28 выходного вала.
Ось Y-Y теперь находится в плоскости, делящей пополам тупой угол между осью 27 входного вала и осью 28 выходного вала и перпендикулярной к плоскости, определяемой осями 27 и 28. Эта плоскость является т.н. гомокинетической плоскостью, а оси Y-Y можно определить как ось симметрии муфты.
Очевидно, что ось Y-Y удовлетворяет этой взаимосвязи с осями 27 и 28, т.е. она находится в гомокинетической плоскости, для любого относительного угла между входным валом 11 и выходным валом 12 – в пределах физических ограничений муфты 10.
Это удовлетворяет теоретическому условию для муфты равных угловых скоростей, согласно которому оси входного и выходного валов встречаются в некоторой точке, и контактные точки между двумя валами находятся на оси симметрии в гомокинетической плоскости.
Все относительные движения компонентов внутри муфты являются вращательными и реализуются роликоподшипниками, тем самым в значительной степени устраняя потери крутящего момента, обусловленные трением.
2. Второй вариант выполнения
Согласно второму предпочтительному варианту выполнения: описываемый ножничный регулирующий механизм можно заменить механизмом 40 зубчатой передачи – Фиг.6.
Как видно из Фиг.3, 4 и 6, центр 45 основного звена 41 и центральное зубчатое колесо 44 установлены с возможностью поворота вокруг шарнирного штифта 38 регулирующей вилки. Рычажные звенья 42 и 43 имеют зацепляющие зубчатые сегменты 48 и 49, соответственно, и имеют на своих внешних концах шарнирные центры 46 и 47. Рычажные звенья 42 и 43 шарнирно прикреплены к основному звену 41 на валах 50 и 51.
Все вращательные и шарнирные оси регулирующего механизма 40 являются радиальными по отношению к геометрическому центру 29 муфты 10 (см. Фиг.4). Рычажные звенья 42 и 43 имеют одинаковую длину и стягивают равные углы с основным звеном 41. Поэтому шарнирные центры 46 и 47 и центр центрального зубчатого колеса 44 ограничены их нахождением на дуге большого круга сферы, центр которой находится в геометрическом центре 29; и центр зубчатого колеса 44 всегда находится в срединной точке этой дуги большого круга независимо от изменения длины этой дуги.
В собранном виде шарнир 46 регулирующего механизма 40 соединен с регулирующим штифтом 35 входного вала, и шарнир 47 соединен с регулирующим штифтом 37 выходного вала.
Очевидно, что любое изменение угла между входным валом 11 и выходным валом 12 обусловит смещения рычажных звеньев 42 и 43. Например, если предположить, что шарнирный центр 47 рычажного звена 43 остается стационарным, то любое смещение, вызванное в шарнирном центре 46 регулирующим штифтом 35 входного вала, обусловит половину этого смещения в центре зубчатого колеса 44. Поэтому ось, проходящая через шарнирный штифт 38 регулирующей вилки, будет постоянно делить пополам дополнительный угол между входным валом 11 и выходным валом 12 и оставаться в плоскости, определяемой осями валов 11 и 12. Из этого поэтому следует, что ось Y-Y будет ограничена ее нахождением в указанной выше гомокинетической плоскости.
3. Третий вариант выполнения
Согласно третьему предпочтительному варианту выполнения на Фиг.7 предложена рычажная система 60, которая заменяет внутреннюю вилку 26 и наружную вилку 27 муфты 10, показанные на Фиг.1 и 2. Вал 61 жестко соединен своими внешними концами с рычажными элементами 62 и 63, каждый из которых на своем внешнем конце имеет выступ 64 и 65, соответственно. На выступе 64 и выступе 65 установлены регулирующие цапфовые валы 66 и 67, соответственно. Рычажная система 60 также имеет рычажные звенья 68 и 69, концы 70 и 71 каждого из которых шарнирно соединены с регулирующими цапфовыми валами 66 и 67, соответственно. Внешние концы 70 и 71 рычажных звеньев 68 и 69 имеют цапфовые валы 74 и 75 вилки выходного вала.
Рычажные элементы 62 и 63 и рычажные звенья 68 и 69 находятся в сферических оболочках, центр которых находится в точке 80 пересечения оси вала 61 и оси Y-Y, и все оси вращения рычажной системы 60 пересекаются в точке 80 пересечения осей.
На осях узла точка 80 пересечения совпадает с геометрическим центром 29 муфты 10 согласно Фиг.1.
В этом осуществлении выступ 13 входного вала на входном вале 11 согласно Фиг.1 вращается вокруг вала 61 рычажной системы 60, показанной на Фиг.7; и цапфы 15 вилки выходного вала на вилке 14 выходного вала соединены с цапфовыми валами 74 и 75. Цапфы 24 регулирующей вилки на регулирующей вилке 21 соединены с регулирующими цапфовыми валами 74 и 75.
Как и в предыдущем осуществлении, ось Y-Y- регулирующей вилки ограничена своим постоянным нахождением в гомокинетической плоскости за счет использования описываемых выше либо ножничного регулирующего механизма, либо зубчатого регулирующего механизма.
Преимущество расположения оси Y-Y и вала 61 под предпочтительным углом 45 градусов в этом осуществлении заключается в том, что создаваемое таким образом пространство обеспечивает повышенную степень свободы движения описываемых выше различных элементов вращения и регулирующих механизмов.
4. Четвертый вариант выполнения
В четвертом предпочтительном варианте выполнения, иллюстрируемом на Фиг.7, предложена двойная муфта 100 равных угловых скоростей, которая содержит входной вал 111 и выходной вал 112. Каждый из валов 111 и 112 имеет вилки 113 и 114, соответственно, в которых валы 111 и 112 шарнирно соединены вокруг осей X-X и X’-X’. Вилки 113 и 114 в свою очередь шарнирно соединены с соединительной трубой 115, и каждая из вилок 113 и 114 выполнена с возможностью вращения вокруг осей Y-Y и Y’-Y’, соответственно.
Как видно из Фиг.8 и 9, входной вал 111 и выходной вал 112 имеют одинаковую конструкцию, каждая из которых имеет соответствующие продолжения 116 и 117 вала, соответственно; при этом каждое продолжение вала имеет регулирующие штифты 118 и 119, соответственно. Оси регулирующих штифтов 118 и 119 находятся в плоскости, ограничиваемой осью вала и осями вращения Х-Х и X’-X’ вала валов 111 и 112, и пересекаются с пересечением этих осей.
В центре соединительной трубы 115 (на Фиг.8 и 9 эта труба для ясности не показана) установлен регулирующий узел 120, содержащий верхний и нижний трансмиссионные блоки 121 и 122, соответственно. Блоки 121 и 122 соединены шарнирно вокруг шарнирного вала 129 регулирующего блока, расположенного на центральной оси Z-Z соединительной трубы 115. Вал 129 установлен в фиксированном шарнире (не показан для ясности), который прикреплен к внутренней стенке соединительной трубы 115.
Как видно из Фиг.8, все оси вращения на конце входного вала муфты 100 являются радиальными по отношению к пересечению осей Х-Х и Y-Y; аналогично, все оси вращения на выходном конце муфты 100 являются радиальными по отношению к пересечению осей X’-X’ и Y’-Y’.
Любое вращение в пределах физических ограничений муфты входного вала 111 вокруг его осей вращения Х-Х и Y-Y обусловит смещение соединенных рычажных механизмов 125 и 126 регулирующим валом 118, что в свою очередь обусловит вращение трансмиссионных блоков 121 и 122 вокруг шарнирного вала 129. Соответствующие рычажные механизмы 125 и 126 на выходном конце регулирующего узла 120 принудительно повторяют смещение, создаваемое на входном конце, передавая смещение на связанный рычажным механизмом регулирующий вал 119, тем самым приводя выходной вал 112 в соответствующие вращения вокруг осей X’-X’ и Y’-Y’.
Угловые смещения входного вала 111 и 112 симметричны вокруг плоскости, перпендикулярной к плоскости, определяемой осями валов 111 и 112 и проходящей через центр регулирующего узла 120. Сама эта плоскость находится на пересечении осей валов 111 и 112, деля пополам угол между ними и имея ось симметрии. Эта плоскость поэтому является гомокинетической плоскостью, и условия равных угловых скоростей входного и выходного валов выполняются.
Все относительные перемещения между компонентами муфты в этом осуществлении являются вращательными и реализованы роликоподшипниками, в значительной степени устраняя потери крутящего момента на трение.
5. Пятый вариант выполнения
Согласно пятому варианту выполнения предложена муфта равных угловых скоростей, в которой угол между входным и выходным валами обеспечен в некотором нужном значении с помощью регулирующего механизма, чтобы изменять объемное смещение наклонного диска, действующего как гидравлический насос или двигатель. В этом предпочтительном осуществлении возвратно-поступательные насосные или двигательные элементы составляют часть конструкции муфты.
В этом пятом предпочтительном осуществлении муфта равных угловых скоростей содержит гидравлическое устройство смещения в виде наклонного диска.
На Фиг.11 показана муфта 200 равных угловых скоростей, имеющая входной вал 211 и выходной вал 212. Специалистам в данной области техники будет очевидно, что терминами «входной вал» и «выходной вал» в этом осуществлении можно обозначить каждый из этих элементов в зависимости от конкретного применения муфты.
Ось каждого из валов 211 и 212 пересекает точку 220, совпадающую с пересечением осей Х-Х и Y-Y на Фиг.11; точка 220 определяет геометрический центр муфты. Угол между осями валов 111 и 112 можно изменять по желанию в пределах физических ограничений муфты с помощью соответствующего регулирующего механизма. Регулирующий механизм также выполнен с возможностью обеспечивать угол регулирующей вилки 213 в фиксированной взаимосвязи с этим углом, заданным между валами 211 и 212. Эта взаимосвязь показана на Фиг.12, на которой если дополнительный угол между валами 211 и 212 есть , то ось вращения регулирующей вилки 113 делит пополам угол . Поэтому ось Y-Y ограничена вращением в гомокинетической плоскости, выполняя при этом условия муфты равных угловых скоростей.
Фиг.13 показывает отличающиеся от предыдущих элементы муфты, включая регулирующую вилку 213, внутреннюю вилку 214 и наружную вилку 215. Входной вал 211 жестко соединен с наклонным диском 216, имеющим цапфовые валы 217 наклонного диска.
В сборе: цапфовые валы 217 наклонного диска шарнирно соединяются в цапфах 218 внутренней вилки на внутренней вилке 214. Внутренняя вилка 214 шарнирно соединена своими цапфовыми валами 219 внутренней вилки с цапфами 221 наружной вилки на наружной вилке 215. В свою очередь наружная вилка 215 с помощью своих цапфовых валов 222 наружной вилки шарнирно установлена в цапфах 223 вилки выходного вала на вилке 224 выходного вала. Регулирующая вилка 213 (показана с ее конца) шарнирно соединена с помощью цапф 225 регулирующей вилки с продолженными цапфовыми валами 219 внутренней вилки на внутренней вилке 214.
Выходной вал 212 муфты 200 также имеет цилиндрический блок 226. Цилиндрический блок 226 имеет радиальную совокупность цилиндров 227. В каждый из цилиндров 227 входит поршень 228, имеющий на своем сжимающем конце уплотнения 229 и на своих противоположных концах имеющий шаровое гнездо 230. Каждый поршень 228 посредством своего шарового гнезда 230 соединен с первым концом 231 соединительного стержня 232. Второй конец 233 соединительного стержня 232 соединен с шаровым гнездом 234 наклонного диска 216.
В сборе: когда выходной вал 211 и выходной вал 212 соосны, то поверхность наклонного диска 216 ориентирована перпендикулярно к оси выходного вала 212 и поэтому – к осям цилиндров 227. В этом положении при вращении входного вала 211 и выходного вала 212 вокруг их общей оси поршни 228 остаются в цилиндрах 227 неподвижными. Если между входным валом 211 и выходным валом 212 создан угол регулирующим механизмом, то возвратно-поступательное осевое перемещение обусловливается в каждом из цилиндров 227 с помощью поршней 228 для каждого вращения муфты 200.
Объемные смещения, обусловленные этим возвратно-поступательным перемещением поршней 228 в цилиндрах 227 при вращении муфты 200, возрастают с увеличением угла .
Возможные преимущества такой конфигурации:
А. Ранее использовались шарниры равных угловых скоростей типа Rzeppa, в которых внутренний элемент шарнира равных угловых скоростей выдерживался соосно с цилиндрическим корпусом и внешним элементом шарнира равных угловых скоростей, таким образом формируя наклонный диск. В этой конструкции весь крутящий момент узла передавался через шарнир равных угловых скоростей и элементы передачи крутящего момента с радиусом, меньшим, чем наклонный диск, в результате чего средства передачи крутящего момента подвергались сильным нагрузкам.
Б. Согласно предлагаемой конструкции крутящий момент можно передавать к наклонному диску, или от него, в соответствии с одним из двух способов, оба из которых превосходят известный уровень техники:
1. Крутящий момент, передаваемый валом, соединенным с цилиндрическим корпусом – В этом случае средство, передающее крутящий момент, находится на большем радиусе, чем наклонный диск, в результате чего элементы, передающие крутящий момент, подвержены меньшим нагрузкам крутящего момента, чем в известном уровне техники.
2. Крутящий момент, передаваемый валом, соединенным с наклонным диском – В этом случае элементы, передающие крутящий момент, шарнира равных угловых скоростней не подвергаются рабочему крутящему моменту устройства; единственной нагрузкой, передаваемой посредством муфты, является крутящий момент, необходимый для вращения цилиндрического корпуса.
6. Шестой вариант выполнения
Этот вариант согласно Фиг.14 предусматривает шарнир типа модифицированного шарнира Гука, в котором ось А5 непрерывно находится на гомокинетической плоскости за счет действия системы зубчатых колес и рычагов, выполненных таким образом, что частота и угол поворота первого приводного зубчатого колеса всегда одинаковы с частотой и углом поворота второго приводного зубчатого колеса за счет обеспечения угла наклона между осью А3 и осью первого приводного зубчатого колеса, равного углу наклона между осью А4 и осью второго приводного зубчатого колеса. Либо предусматривается только система рычагов, в которой рычаги выполняют функции, аналогичные функциям упомянутых зубчатых колес.
Далее следует описание предпочтительных способов реализации этого осуществления. В каждом предпочтительном способе предусматриваются две половины модифицированного шарнира Гука согласно Фиг.14.6. Нужно отметить, что изображаемый на Фиг.14.6 шарнир аналогичен шарниру согласно Фиг.14.1 за тем исключением, что крестовина 6, показанная на Фиг.14.1, не показана, и круглый элемент 7 позиционирован на вилке 4 таким образом, что выполнен с возможностью свободного вращения вокруг оси А4. Размер кольцевого элемента 7 и вилки 4 таковы, что узел выполнен с возможностью плотной посадки внутри кольцевого элемента 5, который прикреплен к вилке 3. Показанные на Фиг.14.6 компоненты являются общими для всех предпочтительных осуществлений настоящего изобретения.
Фиг.14.7 показывает крестовинный элемент, два плеча одинаковой длины которого длиннее двух других плечей, в результате чего более длинные плечи имеют совокупную длину, по меньшей мере равную наружному диаметру более крупного кольцевого элемента 5; и два более коротких плеча имеют совокупную длину, которая меньше внутреннего диаметра кольцевого элемента 7, в результате чего, в сборе, более длинные плечи соединяют две половины шарнира, показанного на Фиг.14.6, на оси А5; и крестовинный элемент выполнен с возможностью свободного вращения на оси А5 внутри кольцевого элемента 7.
Фиг.14.8 иллюстрирует крестовинный элемент, показанный на Фиг.14.7, с четырьмя зацепленными коническими зубчатыми колесами, одно из которых позиционировано на каждом из плечей указанного крестовинного элемента и выполнено с возможностью свободного вращения на них. Два зубчатых колеса на более коротких плечах крестовинного элемента имеют рычаг, жестко прикрепленный к ним – не показан.
Фиг.14.9 показывает одно из зубчатых колес с жестко прикрепленным плечом рычага. Плечо рычага имеет на конце шар 25. В упоминаемых ниже параметрах ни длина плеча рычага, ни его смещение по оси зубчатого колеса существенного значения не имеют.Одно из таких зубчатых колес позиционировано на каждом из более коротких плечей крестовинного элемента, в результате чего плечо рычага проходит на противоположные стороны крестовинного элемента. Плечо рычага, прикрепленное к одному из зубчатых колес, должно на половину зубца отличаться от выверки другого плеча рычага и зубчатого колеса, в результате чего ось двух более длинных плечей крестовинного элемента будет делить пополам угол между двумя рычагами, когда они будут вращаться в зацеплении с другими двумя зубчатыми колесами.
Фиг.14.10 показывает вилку с шаровым элементом, жестко прикрепленным к центру внутренней поверхности вилки; при этом обе вилки имеют этот прикрепленный к ним шар.
Фиг.14.11 показывает соединительный элемент, являющийся стержнем с шаровым гнездом на обоих концах и выполненный с возможностью соединения, одним концом, с шаром на другом конце рычага, показанного на Фиг.14.9, и, другим концом – с шаром в центре вилочного элемента, показанного на Фиг.14.10.
Упоминаемые выше и показанные на Фиг.14.6, 7, 8, 9, 10 и 11 компоненты собраны таким образом, что более длинные плечи крестовинного элемента проходят через отверстия в кольцевых элементах 5 и 7 таким образом, что указанные кольцевые элементы позиционированы относительно друг друга посредством более длинных плечей крестовинного элемента и имеют возможность свободного вращения вокруг оси А5; и крестовинный элемент также имеет возможность свободного вращения на оси А5. Положения различных компонентов в собранном виде таково, что когда оси вала 1 и вала 2 расположены на одной прямой, то составляющие узел детали имеют взаимное расположение согласно Фиг.14.12; и согласно этому чертежу оси А3 и А4 и оси зубчатых колес на более коротких плечах крестовинного элемента все являются соосными, и ось А5 перпендикулярна плоскости осей А3, А4, А1 и А2.
Шарнир, представленный на Фиг.14.12, специально показан с вилкой 3, существенно более крупной, чем вилка 4, чтобы проиллюстрировать взаимосвязь между различными компонентами. Рычажный элемент 13 (согласно изображению на Фиг.14.11) одним концом соединен с шаром на конце рычага 11, и другим концом – с шаром, который прикреплен к центру внутренней поверхности вилки 3; и аналогичный рычажный элемент 14 аналогично соединен в другой половине шарнира, и длина каждого рычажного элемента и длина двух плечей 11 и 12 рычага определяются следующим образом. Важное обстоятельство заключается в том, что треугольник, образованный между точкой оси плеча 11 рычага и центром шара, который прикреплен к центру вилки 3, и центром шара на конце рычага 11, имеет те же внутренние углы, что и у треугольника, аналогично сформированного в другой половине шарнира; т.е. два таким образом сформированных треугольника должны быть в этом осуществлении одинаковыми – за исключением размера.
Если центральные линии плечей рычага проходят к центру крестовинного элемента (или дискового элемента, описываемого ниже), то внутренние углы треугольника остаются одинаковыми все время при вращении шарнира. Но если центральные линии плечей рычага проходят к точке, которая смещена от центра крестовинного элемента, то внутренние углы треугольника постоянно изменяются при вращении шарнира. Если центральные линии плечей рычага смещены от центра крестовинного элемента, то существенно, чтобы оба плеча рычага были смещены до такой степени, чтобы одинаковые треугольники образовались на обеих сторонах шарнира.
Очевидно, что при работе описываемого выше шарнира оба упомянутых треугольника будут эффективно качаться относительно своих соответствующих оснований и также качаться вокруг точки оси плечей рычагов, в результате чего: когда оси А3 и А4 будут соосными, то тогда оси двух рычагов также будут соосными с осями А3 и А4; и когда оси А3 и А4 не будут соосными, то ось плечей рычага и соответствующих зубчатых колес всегда будет делить пополам угол между осями А3 и А4 во время их вращения вокруг оси А5, в результате чего углы между осью приводных рычагов 11 и 12 и их соответствующими зубчатыми колесами всегда будут одинаково наклонены к осям А3 и А4, соответственно, и поэтому при вращении вилки 3 вокруг оси А3 и при вращении вилки 4 вокруг оси А4 рычаги 11 и 12 и их прикрепленные зубчатые колеса будут вращаться в противоположную сторону вокруг своих осей с другой частотой и с другим углом поворота по сравнению с вращением вилок вокруг осей А3 и А4. Но указанные рычаги и соответствующие зубчатые колеса будут вращаться в противоположную сторону с равной частотой и равным углом поворота по отношению друг к другу, в результате чего ось AS будет непрерывно находиться на гомокинетической плоскости, и шарнир будет действовать как шарнир равных угловых скоростей в том смысле, что угловая скорость вала 1 и вала 2 всегда будет равной независимо от угла наклона указанных валов относительно друг друга, и всегда будет такой, даже если угол наклона во время работы будет изменяться.
7. Седьмой вариант выполнения
В соответствии с еще одним вариантом крестовинный элемент согласно Фиг.14 и четыре конических зубчатых колеса и соответствующие рычаги заменены элементом, выполненным с возможностью удерживать два зацепляющихся зубчатых колеса в таком положении, что когда оси вала 1 и вала 2 находятся на одной прямой, то их соответствующие оси перпендикулярны осям обоих зубчатых колес, и ось А5 будет перпендикулярна плоскости между осями двух зубчатых колес и центральной по отношению к этой плоскости. Плечо рычага жестко прикреплено к каждому зубчатому колесу, и шар находится на конце каждого плеча рычага. Обращаясь к Фиг.14.13: элементом, выполненным с возможностью удерживать два зубчатых колеса, является дискообразный элемент, диаметр которого будет посажен внутри кольца 7. Дисковый элемент имеет два прилива, которые используют для позиционирования и обеспечения оси для колец 5 и 7. Дисковый элемент имеет прямоугольное отверстие, чтобы обеспечивать возможность зацепления двух зубчатых колес через диск. Дисковый элемент выполнен с возможностью свободного вращения на оси А5. Дисковый элемент имеет два выступа с каждой поверхности, и ось для каждого из зубчатых колес удерживается этими выступами. Фиг.14.14 показывает боковую проекцию дискового элемента с двумя установленными зубчатыми колесами. Частично показаны плечи рычага, одно из которых жестко прикреплено к каждому из зубчатых колес. Действие этого дискообразного элемента и соответствующих зубчатых колес и рычагов идентично действию, подробно описываемому выше в отношении крестовинного элемента и четырех конических зубчатых колес, с теми же комментариями.
8. Восьмой вариант выполнения
Еще один вариант, показанный на Фиг.14, представляет собой систему рычагов, шарнирно установленных на каждом из четырех плечей описываемого выше крестовинного элемента, действие которых аналогично узлу из четырех зубчатых колес взаимного зацепления.
9. Девятый вариант выполнения
Еще один вариант, показанный на Фиг.14 и который можно использовать либо с крестовинным элементом и четырьмя коническими зубчатыми колесами, или с дискообразным элементом и двумя зубчатыми колесами, или только с системой рычагов, выполнен следующим образом. Шаровой элемент, прикрепленный к центру внутренней поверхности каждой вилки, здесь отсутствует, и каждая вилка имеет дугообразный паз на внутренней поверхности вилки, в результате чего в собранном положении шар на конце плечей рычагов располагается в этом пазе, и поэтому во время действия шарнира и когда угол между осями А3 и А4 изменяется, то шар на каждом рычаге в результате этого перемещается в пазе. В этой конструкции отсутствует упоминаемый выше треугольник, который обеспечивает правильную взаимосвязь между осями приводных зубчатых колес и осями А3 и А4, и поэтому для обеспечения одинакового наклона между осями зубчатых колес и рычагами и осями их соответствующих приводных вилок нужно применять другое средство. Один такой способ заключается в использовании ножничного действия колец 5 и 7, которое происходит при изменении угла между осями А3 и А4. Один из способов применения этого ножничного действия заключается в том, что стержень жестко прикреплен к одному из более длинных плечей крестовинного элемента, или – в зависимости от конкретного случая – к одному из приливов дискообразного элемента таким образом, что он будет ориентирован перпендикулярно плоскости четырех плечей крестовинного элемента или поверхности дискообразного элемента – в зависимости от конкретного случая; при этом используются два плеча рычага, одно из которых, с возможностью поворота, прикреплено к каждому из кольцевых элементов 5 и 7 на одном конце, и другой конец прикреплен к элементу, который соединяет оба плеча рычага на их другом конце с помощью элемента, который скользит по штырю, прикрепленному к плечу крестовинного элемента или дискового элемента, в зависимости от конкретного случая, и поэтому стержень постоянно делит пополам угол между кольцевыми элементами 5 и 7. Фиг.14.15 иллюстрирует именно этот ножничный механизм.
Необходимо отметить, что в пределах объема настоящего изобретения разнообразные другие конфигурации зубчатых колес и рычагов будут также обеспечивать взаимосвязь между упоминаемыми здесь разными компонентами.
Также нужно отметить, что в пределах объема данного изобретения также возможно выполнить только систему рычагов вместо состоящих из зубчатых колес и рычагов систем, чтобы обеспечить описываемые здесь взаимосвязи.
В отношении осуществлений с шестого по девятое обнаружено, что целесообразно предусмотреть отдельное средство, которое обеспечивает деление пополам угла между осями А3 и А4 более короткими плечами крестовинного элемента всякий раз, когда они не будут соосными; и в отношении седьмого осуществления также целесообразно предусмотреть отдельное средство, которое будет обеспечивать деление пополам плоскостью изображаемого на Фиг.14.13 элемента угла между осями А3 и А4 всякий раз, когда они не будут соосными. В обоих случаях это центрирующее устройство может использовать ножничное действие между элементами 5 и 7, как указано выше в отношении восьмого осуществления.
10. Десятый вариант выполнения
Как видно из Фиг.14, предлагается особое и обладающее новизной средство обеспечения ограничения для формирования шарнира равных угловых скоростей за счет ограничения оси AS на гомокинетической плоскости.
Это обладающее новизной средство предусматривает элементы, которые описывают два одинаковых сферических треугольника в каждой половине описываемого ниже шарнира.
Здесь используются изображаемые на Фиг.6 элементы описываемых выше универсальных шарниров равных угловых скоростей, но в этом обладающем новизной осуществлении, со ссылкой на Фиг.14.16, предусмотрен дискообразный элемент 15. Дисковый элемент имеет две штифта или цапфы 16, которые обеспечивают соединительные средства между кольцевыми элементами 5 и 7 и образуют ось А5. Дискообразный элемент имеет отверстие 17 в центре диска. Когда две половины изображаемого на Фиг.14.6 шарнира будут собраны с помощью дискообразного элемента, показанного на Фиг.14.16, то все оси А1, А2, А3, А4 и А5 пересекаются в некоторой точке. В данном описании точка, в которой все указанные оси пересекаются, называется «геометрическим центром».
Как видно из Фиг.14.17, также обеспечен двухконечный коленчатый элемент с шатунной шейкой 18 на каждом конце; при этом шатунная шейка имеет такой угол, что в собранном виде ось А6 каждой шатунной шейки расположена на радиусе, который пересекает геометрический центр.
В сборе, со ссылкой на Фиг.14.18: вал коленчатого элемента проходит через отверстие в дискообразном элементе, показанном на Фиг.14.16, и поэтому одна шатунная шейка находится на одной из сторон указанного дискообразного элемента.
Фиг.14.19 показывает две вилки шарнира: штифт 19 прикреплен к внутренней дуге или поверхности вилочных элементов 3, и еще один штифт 20 аналогично прикреплен к внутренней стороне или к дуге вилки 4, в результате чего ось каждого из указанных штифтов также располагается на радиусе, который пересекает геометрический центр. Штифты расположены таким образом, что они находятся на одной и той же стороне шарнира, а не напротив друг друга по диагонали.
Как видно из Фиг.14.20, предложен еще один элемент 21, который имеет отверстие 22 на одном конце, и таким образом элемент 21 можно позиционировать на штифте 19; и имеет еще одно отверстие 23, в результате чего другой конец элемента 21 можно позиционировать на первом штифте 18; еще один аналогичный элемент позиционирован на другом конце штифта 20 и на другом конце второго штифта 18. Длина, или точнее, угол между отверстиями на обоих концах элемента 21 устанавливается следующим образом.
В собранном состоянии шарнира, и когда шарнир находится в таком положении, в котором оси А1 и А2 выставлены находятся на одной прямой и оси А3 и А4 соосны, ось шатунных шеек 18 находится на плоскости осей А5, А1 и А2, и каждая из осей штифтов 19 и 20 находится на плоскости оси А3 и А4, и А1 и А2. Угол между отверстиями на обоих концах элемента 21 имеет значение, при котором выдерживаются и являются действительными указываемые в этом параграфе взаимосвязи.
При использовании описываемого здесь нового ограничивающего средства очевидно, что сферический треугольник описывается дугами большого круга между, во-первых, осью штифта 19 и осью А1, и, во-вторых, осью А1 и осью первой шатунной шейки, в-третьих, осью первой шатунной штифта и осью штифта 19. Аналогичный сферический треугольник описывается между соответствующими компонентами на другой стороне шарнира. Будет очевидно, что при вращении собранного шарнира в любое время, когда валы 1 и 2 наклонены друг к другу, определенный сферический треугольник формируется в каждой точке вращения и с каждым углом наклона, и этот треугольник формируется на каждой половине шарнира, в результате чего ось коленчатого элемента одинаково наклонена, во-первых, к оси А1 и, во-вторых, к оси А2, в результате чего плоскость дискообразного элемента 15 и, поэтому, ось А5 ограничены постоянным их нахождением на гомокинетической плоскости шарнира.
11. Одиннадцатый вариант выполнения
Этот вариант согласно Фиг.15 обеспечивает, во-первых, рычажный механизм согласно Фиг.15.1, описываемый ниже, и, во-вторых, описываемый ниже универсальный шарнир равных угловых скоростей, использующий указанный рычажный механизм.
Как видно из Фиг.15.1, состав рычажного механизма согласно данному варианту является следующим: Элементы 1 и 2 являются двумя аналогичными элементами, каждый из которых имеет отверстие, выполненное в каждом конце, при этом оси указанных отверстий пересекаются в некоторой точке. Элементы 3 и 4 также являются двумя аналогичными элементами и также аналогичны элементам 1 и 2, за тем исключением, что элементы 3 и 4 имеют отверстия, сформированные в каждом конце с более крупным радиусом, чем элементы 1 и 2. Элементы 1 и 2 соединены друг с другом валом 5. Позиционирующий штифт 6 соединяет элементы 1 и 3, в результате чего элементы 1 и 3 могут вращаться относительно друг друга вокруг оси А1. Указанные элементы собраны таким образом, что перпендикулярная ось вала 5 пересекает ось А1. Очевидно, что в этом узле элементы 1 и 2, соединенные вместе валом 5, будут вращаться синхронно вокруг оси А1, в результате чего перпендикулярная ось вала 5 будет вращаться вокруг оси А1, и, аналогично, если элементы 3 и 4 имеют фиксированную взаимосвязь друг с другом, то они также будут вращаться синхронно вокруг оси А1, в результате чего их ось, ось А2, будет также вращаться вокруг оси А1, а оси А1, А2 и перпендикулярная ось вала 5 будут всегда пересекаться в геометрическом центре описываемого выше рычажного механизма.
Одним из осуществлений, использующих описываемый выше рычажный механизм, является описываемый ниже универсальный шарнир равных угловых скоростей. Фиг.15.2 показывает вал с отверстием, выполненным в одном конце, в результате чего этот вал 5 может проходить через указанное отверстие. Фиг.15.3 показывает вилку, обычно используемую в таких универсальных шарнирах, как обычный шарнир Гука (также известный как карданный шарнир). Отверстия 13 и 14 выполнены в плечах вилки таким образом, что вилку можно позиционировать по отношению к описываемому рычажному механизму с помощью позиционирующих штифтов 8 и 9 в отверстиях 13 и 14, соответственно. Вал 10 установлен на вале 5 таким образом, что ось А3, являясь перпендикулярной осью вала 10, пересекает ось А1 и А2 в геометрическом центре рычажного механизма. Также нужно отметить, что в описываемом выше узле ось А4, являющаяся перпендикулярной осью вилочного элемента 12, также пересекает оси А1 и А2 в геометрическом центре рычажного механизма. Очевидно, что в этом узле всякий раз, когда оси А3 и А4 не будут на одной прямой или соосны, то вращение вала 10 и вилки 12 вокруг оси А3 и А4, соответственно, обусловит синхронное вращение элементов 1 и 2 вокруг оси А1, и при этом элементы 3 и 4 будут также вращаться синхронно вокруг оси А1 в направлении, противоположном вращению элементов 1 и 2. В этом узле: всякий раз, когда оси А3 и А4 не будут на одной прямой или соосными, и когда ось А2 и перпендикулярная ось вала 5 не будут на одной прямой или соосными, то плоскость вращения оси А1 всегда будет делить пополам угол между плоскостью вращения оси А2 и перпендикулярной осью вала 5; и при этом плоскость вращения оси А1 является перпендикулярной к плоскости между осью А3 и А4, и поэтому всегда обеспечивается шарнир равных угловых скоростей.
Фиг.15.4 показывает рычажный механизм, состоящий из вала 10 и вилки 12 с образованием ими описываемого выше шарнира равных угловых скоростей. Согласно этому чертежу оси А3 и А4 находятся на одной прямой, и ось А2 и перпендикулярная ось вала 5 также находятся на одной прямой или соосны. В этом осуществлении ось А2 и перпендикулярная ось вала 5 находятся на плоскости бумаги, при этом ось А1 входит в страницу снизу с наклоном, равным углу между отверстиями в элементах 1, 2, 3 и 4. В этом осуществлении очевидно, что если вал 10 вращается против часовой стрелки на плоскости бумаги и если вилка 12 вращается по часовой стрелке на плоскости бумаги, то вал 5 будет вращаться вокруг оси А1, и ось А2 будет также вращаться вокруг оси А1, но в противоположном направлении.
Также показан рычажный механизм с тремя пересекающимися осями, из которых две вращаются относительно третьей. Также показан шарнир равных угловых скоростей, использующий указанный рычажный механизм; при этом универсальный шарнир равных угловых скоростей имеет по меньшей мере три оси, две из которых вращаются вокруг третьей. Это осуществление использует ту же регулирующую систему, содержащую регулирующую вилку и регулирующие штифты первого осуществления, для ограничения оси А1 на гомокинетической плоскости.
12. Двенадцатый вариант выполнения
В данном варианте термин «сферическая геометрия» поясняется ниже и со ссылкой на Фиг.16. Фиг.16.1 показывает сферу со сферическим треугольником и соответствующим трехгранником на нем. Обращаясь к Фиг.16.1: оси 2 и 3 являются диаметрами сферы 1. Стороны AD, АО и AZ сферического треугольника являются отсекаемыми дугами большого круга углов D, Z и О трехгранника, соответственно; и углы А, В и С являются внутренними углами сферического треугольника AD, AO, AZ. Обращаясь к Фиг.16.1: очевидно, что если сферический треугольник AD, AO, AZ вращать вокруг либо радиуса 4 или радиуса 5, или диаметра 3, то вращающиеся радиусы описывают конусы в сфере. Как видно из Фиг.1, также очевидно, что если изменить любой плоский угол многогранного угла D, O или Z, то его отсеченная дуга большого круга также изменяется, как изменяется и сферический треугольник AD, AO, AZ. Очевидно, что здесь применимы правила сферической геометрии.
В контексте вышеизложенного термин «сферическая геометрия» в данном осуществлении означает перемещение компонентов шарнира таким образом, что они описывают или образуют формы или функции сферической геометрии.
Основная цель этого осуществления заключается в обеспечении, во-первых, основы универсального шарнира равных угловых скоростей с элементами, установленными между первым валом вращения и вторым валом вращения; при этом каждый двигающийся или действующий элемент из числа указанных межустановочных элементов описывает формы или функции сферической геометрии; и вторая цель настоящего изобретения заключается в обеспечении нескольких определенных и обладающих новизной вариантов универсального шарнира равных угловых скоростей, основанного на сферической геометрии.
Из приводимого ниже описания очевидно следует, что выполнение шарниров равных угловых скоростей на основе сферической геометрии 15, а не на иной геометрии, предусматривает шарниры уменьшенного размера и также шарниры, не имеющие компонентов скольжения.
Описываемое выше шестое осуществление предусматривало средство формирования одинаковых сферических треугольников в каждой половине шарнира, чтобы было средство для обеспечения нахождения межустановочного элемента на гомокинетической плоскости описываемого там шарнира. Указанное осуществление описывало центрующее средство, состоящее из вала, имеющего шатунную шейку на обоих концах, и также предусматривало две вилки, каждая из которых имеет штифт, установленный на внутренней поверхности; причем продолженные оси указанных шатунных шеек и указанных штифтов отсекали геометрический центр указанного шарнира. Для ясности: шарнир согласно шестому осуществлению состоял из модифицированного шарнира Гука, имеющего две половины согласно Фиг.16.2. Межустановочный соединительный элемент показан на Фиг.16.3 и состоит из дискообразного элемента 15 с отверстием 17 в центре и из двух прикрепленными к нему приливов 16, которые используются для соединения двух половин шарнира согласно Фиг.16.2 за счет позиционирования указанных приливов в отверстиях 8, 9, 10 и 11 согласно Фиг.16.2. Фиг.16.5 показывает вал 12 с плечами 13 и шатунными шейками 18, установленными на обоих концах, ориентированных таким образом, что продолженная ось А6, в собранном узле, указанных шатунных шеек пересекает геометрический центр шарнира. Фиг.16.4 показывает вал 12, собранный с дискообразным элементом 15. Фиг.16.6 показывает вилку 3 и вилку 4, каждая из которых имеет штифт 19 и 20, выступающий из внутренней поверхности вилок; при этом указанные штифты ориентированы таким образом, что продолженная ось каждого штифта пересекает геометрический центр шарнира в собранном узле. Указанные вилки собраны таким образом, что штифты 19 и 20 находятся на одной и той же стороне шарнира, или, другими словами, продолженные оси штифтов 19 и 20 не находятся на одной прямой или не являются соосными. Приводятся два примера еще одного элемента 21 согласно Фиг.16.7; указанный элемент имеет отверстие 22 на обоих концах, и длина указанного элемента и угол между указанными отверстиями таковы, что в собранном шарнире этот первый элемент находится на одном конце на штифте 19 и на другом конце на его соседнем штифте 18; и второй такой элемент находится на штифте 20 и втором штифте 18. Длина каждого из элементов 21 и угла между отверстиями 22 в каждом элементе 21 таковы, что в собранном шарнире и когда оси А1 и А2 соосны, то два одинаковых прямоугольных сферических треугольника со сторонами G, H, I и J, K, L согласно Фиг.16.8 сформированы по одному в каждой половине шарнира; при этом прямой угол находится на оси входного или выходного вала – в зависимости от конкретного случая. Первый элемент 21 образует сторону I на первом прямоугольном сферическом треугольнике, и второй элемент 21 образует сторону J на втором прямоугольном сферическом треугольнике.
Фиг.16.8А и 16.8В иллюстрируют шарнир согласно описываемому выше осуществлению. При изучении Фиг.16.8А и 16.8В в совокупности с излагаемым выше описанием очевидно, что всякий раз, когда оси входного вала и выходного вала наклонены друг к другу, то формируется определенный сферический треугольник для каждого возможного вращательного положения и углового положения; и также очевидно, что сферический треугольник, образованный в каждой половине шарнира за счет этой конструкции, должен быть идентичен другому, чтобы плоскость вращения оси А5 согласно Фиг.16.1 и позиционированная приливами 16 всегда делила пополам угол, появляющийся время от времени между осями входного и выходного валов.
Несмотря на то, что описываемые шарнир и центрирующее средство используют сферическую геометрию для обеспечения центрирования, все остальные компоненты, не являющиеся центрирующим средством, описывают диски или плоскости с центром на геометрическом центре шарнира при вращении, и каждый из этих дисков может быть описан простой планарной геометрией. Из приводимого ниже описания будет очевидно, что целесообразно модифицировать описываемый выше шарнир настоящего изобретения, чтобы обеспечить такую конструкцию, в которой компоненты и взаимосвязь между компонентами описывают формы сферической геометрии, а не планарной геометрии.
13. Тринадцатый вариант выполнения
Как видно из Фиг.16.9 из числа Фиг.16, предложен элемент 22, являющийся дискообразным элементом с отверстием 32 в центре. Цель и функция этого элемента идентичны элементу 15, описываемому выше в отношении двенадцатого осуществления. Элемент 22 имеет два жестко прикрепленных штифта 23 и 24. Элементы 25, 26, 27 и 33 являются идентично выполненными компонентами в виде дуги с центром на узле, показанном на Фиг.16.9; при этом каждый из элементов 25, 26, 27 и 33 выполнен с возможностью свободного вращения на штифтах 23 и 24. Шарнир также имеет две вилки, идентичные тем, которые показаны на Фиг.16.6; при этом одна вилка установлена на штифтах 28 и 29, другая – на штифтах 30 и 31. Центрирующее средство аналогично средству, описываемому в отношении первого шарнира, состоящего из элементов 12, 13, 18, 19, 20 и 21 – согласно Фиг.16.5, 6 и 7. Фиг.16.10 показывает шарнир в сборе; при этом оси входного вала и выходного вала находятся на одной прямой; изображение представлено по оси вала 2 – согласно Фиг.16.2. На этом чертеже видны только концы вилки 3. Во время работы этого описываемого шарнира всякий раз, когда оси входного вала и выходного вала наклонены друг к другу, то образуется сферический треугольник, формируемый отсекаемыми дугами трехгранника, сформированного осями штифтов 23, 28 и 31; и еще один идентичный сферический треугольник, сформированный отсеченными дугами трехгранника, сформированного осями штифтов 24, 29 и 30, за тем исключением, что дважды при каждом обороте, когда оси штифтов 28 и 31 соосны, в этот момент на обеих сторонах шарнира трехгранник не формируется. Также очевидно следует, что во время работы этого шарнира штифты 28, 29, 30 и 31 описывают дуги большого круга, и дуга большого круга присутствует между осями штифтов 28 и 31 и также между осями штифтов 29 и 30. Необходимо отметить, что во время работы шарнира согласно этому осуществлению в шарнире имеется четыре постоянно изменяющихся сферических треугольника – помимо упомянутых сферических треугольников имеется два сферических треугольника, относящихся к описываемому выше центрирующему средству.
14. Четырнадцатый вариант выполнения
Еще одна модификация с использованием сферической геометрии, а не планарной геометрии, показана на Фиг.16.11 из числа чертежей Фиг.16. Эта модификация предусматривает рычажный механизм, идентичный механизму, изображаемому на Фиг.16.9, – за тем исключением, что не показаны элементы 27 и 33. Обращаясь к Фиг.16.12: также предусмотрены две вилки, как и на Фиг.16.6, – за тем исключением, что одно плечо на каждой из вилок не показано, либо укорочено; при этом необходимо отметить, что для того, чтобы штифты 19 и 20 находились на одной и той же стороне шарнира, необходимо продлить по меньшей мере один из укороченных плечей, чтобы позиционировать штифт 20 или штифт 19, в зависимости от конкретного случая, в нужном положении. В этом варианте очевидно следует, что действие этого шарнира аналогично действию шарнира предыдущего описания: за тем исключением, что сферические треугольники, относящиеся к штифтам 23 и 24, оба являются прямоугольными сферическими треугольниками, образуемыми между осью штифтов 23 и 31 и точкой, в которой дуга, описываемая штифтом 31, отсекает дугу плоскости вращения штифта 23, и идентичный треугольник образован на другой стороне относительно штифтов 24, 30 и дуги штифта 24.
Необходимо отметить, что в шарнирах согласно трем последним описаниям само центрирующее средство выполнено с возможностью передачи усилия через шарнир, и в описываемых шарнирах оно принимает часть нагрузки. Поэтому обеспечена возможность выполнения шарнира равных угловых скоростей исключительно из центрирующего устройства, обеспечиваемого штифтами 19, 20 вместе с элементами, изображаемыми на Фиг.16.5 и 16.7.
Обращаясь к Фиг.16.13: вал 12 жестко установлен на поверхности с помощью подшипника 36 и соответствующего крепления. Валы 37 и 38 также жестко прикреплены таким образом, что когда угол между их осями может быть либо фиксированным, либо изменяемым, их оси всегда пересекают центр вала 12 и ось двух шатунных шеек 18; и оси штифтов 19 и 20 также пересекаются в этой же точке.
Специалисту в данной области техники будет ясно, что этот узел можно включить в автономное опорное средство, например в полый шаровой шарнир, из которого выходят трубы, позиционирующие валы 37 и 38.
15. Пятнадцатый вариант выполнения
Как видно из Фиг.16, ниже предлагается еще один вариант выполнения. Описываемые выше осуществления можно в широком смысле классифицировать как модифицированные шарниры Гука, а осуществление, сильно отличающееся от них, больше похоже на шарнир Rzeppa. Как видно из Фиг.16.4, предложен элемент, по существу аналогичный элементу, показанному на Фиг.16.12, – за тем исключением, что сферическая плоскость сферического треугольника, описываемого элементами 25, является трехмерным элементом 36 по меньшей мере той же формы и размера; и аналогично, на другой стороне шарнира сферическая плоскость, описываемая элементом 26, также является трехмерным элементом по меньшей мере того же размера и формы (независимо от изображения на Фиг.16.14 этот узел является симметричным). В поверхности каждого трехмерного элемента 36 и 37 выполнен паз, который описывает большой круг, который был бы описан штифтами 30 и 31, если бы они присутствовали в этом варианте. Также обеспечены две вилки 38 и 39, показанные на Фиг.16.15; при этом каждая вилка имеет удлиненное и искривленное плечо, и каждая из них имеет паз 40 и 41, выполненный во внутренней поверхности каждой вилки 38 и 39, в результате чего во время работы шарнира шар перемещается в пазах за счет скольжения. Сборка этого шарнира аналогична приводимым выше описаниям с использованием вилок, за тем исключением, что шар находится между вилкой 39 и трехмерным элементом 36, и также между вилкой 38 и трехмерным элементом 37. Согласно последнему варианту: третий и четвертый сферические треугольники формируются дугами большого круга между осью штифта 23 и центром шара и между точкой, в которой траектория шара отсекает плоскость вращения штифта 23, и аналогично на другой стороне; при этом первый и второй сферические треугольники сформированы центрирующим средством согласно приводимому выше описанию.
Из вышеизложенного следует, что потенциальная общая характеристика, согласно которой все подвижные элементы описывают сферические геометрические траектории и конструкции описываемого здесь типа, полагает возможными выполнения шарниров по существу равных угловых скоростей без наличия скользящих элементов. Также обеспечивается возможность сократить все составляющие конструкцию элементы до элементов простой конструкции; в то время как во всех вариантах известного уровня техники шарниров равных угловых скоростей, которые не выполняют функции сферической геометрии, присутствуют и скользящие компоненты, и также элементы очень сложной конструкции.
16. Шестнадцатый вариант выполнения
Фиг.17.1 представляет собой копию Фиг.16.2: две половины модифицированного шарнира Гука, хорошо известного и упоминаемого в предыдущих осуществлениях. Обращаясь к Фиг.17.2: способ согласно этому шестнадцатому осуществлению предусматривает наличие двух вилок 3 и 4, каждая из которых имеет штифт 19 и 20, установленный на внутренней дуговой поверхности указанных вилок согласно предыдущим осуществлениям. Фиг.17.3 и 17.4 представляют элементы, которые отличаются от описываемых или раскрываемых здесь центрирующих средств. Фиг.17.3 представляют собой круглый кольцевой элемент, внутренний диаметр которого превышает диаметр кольцевого элемента 5 на Фиг.17.1. Фиг.17.4 показывает еще один круглый кольцевой элемент, внутренний диаметр которого превышает наружный диаметр круглого элемента согласно Фиг.17.3. Обращаясь к Фиг.17.3: круглый кольцевой элемент 21 имеет два прилива или цапфы 24 и 25, диаметрально противоположные друг другу, и отверстия с подшипниками 22 и 23, чтобы обеспечивать или облегчать установку кольца 21 на оси А5 согласно Фиг.17.6. Обращаясь к Фиг.17.4: круглый кольцевой элемент 26 имеет два диаметрально противоположных отверстия с подшипниками для обеспечения или облегчения сборки кольцевого элемента 26 с кольцевым элементом 21, при этом приливы или цапфы 24 и 25 установлены в подшипниках 27 и 28, соответственно. Также согласно Фиг.17.4: элементами 29 и 30 являются штифты, оси которых соосны радиусам кольцевого элемента 26, и каждый из указанных штифтов под одинаковым углом отстоит от центра подшипников 27 и 28, соответственно. Круглые кольцевые элементы 21 и 26 установлены согласно Фиг.17.5, и их установка по отношению к шарниру показана на Фиг.17.6. Два дуговых элемента, показанных на Фиг.17.7, имеют дугу или угол между отверстиями 32 и 33, равный углу между элементами 29 и 19, и также между элементами 30 и 20, когда оси валов 1 и 2 соосны находятся на одной прямой, в результате чего первый сферический треугольник сформирован на первой половине шарнира, показанного на Фиг.17.6, и второй сферический треугольник сформирован на второй половине шарнира, показанного на Фиг.17.6; при этом первый сферический треугольник сформирован дугами большого круга между штифтом 29 и штифтом 19, и штифтом 19 и осью вала 1, и осью вала 1 и штифтом 29. Второй сферический треугольник сформирован дугами большого круга между соответствующими точками и элементами во второй половине шарнира.
Необходимо отметить, что описываемый здесь узел эффективно выполняет те же функции, что и узел согласно двенадцатому осуществлению, согласно которому вал с шатунной шейкой на обоих концах используется для выполнения той же задачи, которую выполняет кольцевой элемент 27 и штифты 29 и 30, описываемые здесь.
Раскрываемый здесь узел обеспечивает возможность использования элемента, показанного на Фиг.17.8. Элемент, показанный на Фиг.17.8, представляет собой вал, соединяющийся с центром шарнира либо в качестве входного вала, либо в качестве выходного вала вместо одной из вилок. Для содействия работе описываемого здесь центрирующего механизма: элемент, согласно Фиг.17.8 имеет выполненную в нем дугообразную прорезь 36, чтобы кольцевые элементы 21 и 26 смогли проходить через нее; и в указанной дугообразной прорези обеспечен штифт 37, который выполняет ту же задачу, что и штифт 19 или 20, в зависимости от конкретного случая. Фиг.17.9 показывает рычажный механизм согласно одиннадцатому осуществлению. Очевидно, что раскрываемый здесь центрирующий механизм вместе с элементом, показанным на Фиг.17.8, применим, в частности, в качестве целесообразного центрирующего средства, показанного на Фиг.17.9. В этом осуществлении подшипники 22 и 23 позиционируются штифтами 38 и 39, соответственно.
Данное осуществление представляет собой еще один пример центрирующего средства, которое формирует первый сферический треугольник в первой половине шарнира равных угловых скоростей, и также формирует идентичный сферический треугольник во второй половине шарнира равных угловых скоростей, чтобы обеспечивать или ограничивать элементы шарнира на гомокинетической плоскости шарнира, в то время как сферические треугольники непрерывно изменяются, но остаются идентичными друг другу во время работы шарнира.
17. Семнадцатый вариант выполнения
Данный вариант, показанный на Фиг.18, представляет собой гибрид описываемых выше шарниров, раскрываемых на конкретном примере центрирующего механизма, раскрываемого в шестнадцатом осуществлении.
Как видно из Фиг.18, Фиг.18.1 показывает вилку 1 с прикрепленным валом 2 и отверстиями 4 и 5 в вилке. Штифт 3 выступает из внутренней дуговой поверхности вилки 1. Ось А1 штифта 3 пересекает ось А2 отверстий 4 и ось А3 вала 2. Фиг.18.2 представляет собой круглый элемент 6, имеющий четыре расположенных с равным интервалом отверстия 7, 8, 9 и 10 на сторонах. Фиг.18.3 является еще одним круглым элементом 11, наружный диаметр которого меньше внутреннего диаметра круглого элемента 6. Круглый элемент 11 имеет четыре расположенных с равным интервалом отверстия 12, 13, 14 и 15 на сторонах.
Фиг.18.4 и Фиг.18.5 показывают боковую проекцию и горизонтальную проекцию, соответственно вала 16, имеющего сквозное отверстие 17 и прикрепленный выступ 18. Два дуговых элемента 19 и 20 прикреплены к выступу 18, и один из них выполнен только для равновесия, а другой – для обеспечения опоры для штифта 21. Ось А5 штифта 21 пересекает оси А4 и А6, которые являются осями вала 16 и отверстия 17, соответственно.
Фиг.18.6 показывает часть круглых элементов 22 и 23. Элемент 22 имеет штифт 24, который установлен в отверстии 25 и опирается на подшипник 26, в результате чего элемент 22 может вращаться на оси А7.
Элемент 22 имеет штифты 27 и 28, отделенные равным интервалом от оси А7.
Фиг.18.7 показывает дугообразный элемент с двумя отверстиями 30 и 31; причем присутствуют два таких элемента.
Узел из различных составляющих деталей показан на Фиг.18.8, 18.9 и 18.10, которые показывают сечение горизонтальной проекции и боковой проекции и боковую проекцию, соответственно, собранного шарнира. Элемент 29 собран на штифтах 27 и 3, и при этом второй элемент 29 установлен на штифтах 28 и 21.
Фиг.18.11 показывает еще один вид шарнира в сборе, без нумерации компонентов.
Фиг.18.12 показывает два сферических треугольника, сформированных указанным узлом. Первый сферический треугольник имеет стороны, сформированные дугами большого круга между элементами 3, 27 и 24; при этом второй сферический треугольник сформирован дугами большого круга между элементами 21, 28 и 24. Очевидно, что когда оси элементов 2 и 16 являются соосными, то оба указанных сферических треугольника являются прямоугольными сферическими треугольниками; и что во время действия шарнира всегда, когда оси А4 и А3 не соосны, указанные сферические треугольники непрерывно изменяются, но остаются идентичными друг другу, в результате чего соединительный штифт 60 между элементами 11, 6 и 23 ограничен непрерывным вращением на гомокинетической плоскости шарнира.
Как видно из Фиг.18.13: представлены сфера, сферические треугольники А, В, С и А, Е, D, которые сформированы с указанными взаимосвязями и с соответствующими элементами шарнира, указанными в скобках.
В качестве альтернативе элементам, раскрываемым и иллюстрируемым на Фиг.18.4 и Фиг.18.5: элемент 11 имеет ряд плоскостей и пазов, или шлиц, вырезанных во внутренней круглой поверхности; отверстия 12 и 13 не показаны. В этом осуществлении плечо жестко прикреплено к альтернативному элементу 11, чтобы позиционировать штифт 21 в том же относительном положении, которое указано выше.
18. Восемнадцатый вариант выполнения
Согласно Фиг.19.1 этот вариант предусматривает удвоение центрирующего механизма равных сферических треугольников, раскрываемого в предыдущих осуществлениях, и который теперь становится ножничным механизмом, применяемым в муфте первого осуществления.
19. Девятнадцатый вариант выполнения
Согласно Фиг.20, этот вариант имеет два вида – 1) шарнир или муфта равных угловых скоростей для двух валов, которые имеют фиксированное угловое осевое смещение, и 2) универсальный шарнир или муфта равных угловых скоростей для соединения двух валов, которые имеют изменяемое угловое осевое смещение. В обоих случаях продолженные оси двух валов пересекается в некоторой точке, и во втором случае оси могут также быть соосными.
Как видно из Фиг.20.1, предложено средство жесткого позиционирования по меньшей мере трех штифтов или цапф, отделенных равным радиальным интервалом от центральной оси и равным углом друг от друга, в результате чего все продолженные оси указанных штифтов или цапф пересекаются в некоторой точке. Фиг.20.1 показывает одно предпочтительное осуществление этого элемента; и иллюстрируемое осуществление показывает низ частичного сферического вогнутого профиля и верх частичного сферического выпуклого профиля; элемент имеет три одинаковых по размеру плеча, радиально исходящих из центра элемента; и также обеспечены три отверстия – по одному на каждом плече для вхождения штифта в них.
В целях данного осуществления, относительно шарниров или муфт для валов с фиксированным угловым смещением: обеспечивают два элемента, показанных на Фиг.20.1, при этом вогнутая внутренняя поверхность первого такого элемента имеет радиус больший, чем выпуклая внешняя поверхность второго такого элемента; причем эта разница радиусов превышает радиальную толщину рычажного элемента, указанного на Фиг.20.2 и описываемого ниже. Фиг.20.2 показывает искривленный или частично сферический элемент, имеющий по существу параллельные стороны, и штифт, выступающий из обоих концов, в результате чего продолженные оси указанных штифтов пересекаются в некоторой точке, которая также пересекается радиусом, делящим пополам оси двух штифтов и перпендикулярным внутренней или вогнутой поверхности указанного элемента. Один штифт выступает из вогнутой стороны, второй – из выпуклой стороны. Радиус внешней, или выпуклой, поверхности меньше вогнутой стороны первого, или более крупного, элемента, указанного на Фиг.1; в то время как внутренняя или вогнутая поверхность имеет радиус, больший, чем выпуклая поверхность второго, или меньшего, варианта элемента, показанного на Фиг.20.1.
В этом осуществлении, относительно муфт для валов с фиксированным угловым смещением, обеспечивают три варианта элемента, показанного на Фиг.20.1, причем каждый из них имеет одинаковые размеры, и каждый элемент имеет угловое расстояние между осями штифтов на обоих концах, равное фиксированному угловому смещению соединяемых им валов, но ни в одном из вариантов этот угол не может превышать угол меньшей дуги большого круга между любыми двумя отверстиями в элементах, показанных на Фиг.20.1, минус угол между осью штифта криволинейного элемента, показанного на Фиг.20.2, и его ближайшим прилегающим концом.
Сборка упомянутых элементов осуществляется следующим образом.
1. Штифт, выступающий из выпуклой стороны каждого из трех вариантов элемента, показанного на Фиг.2, установлен, с возможностью поворота, в отверстиях вогнутой стороны более крупного варианта элементов, показанных на Фиг.20.1.
2. Штифт, выступающий из вогнутой стороны элемента, показанного на Фиг.20.2, установлен, с возможностью поворота, в отверстиях выпуклой поверхности меньшего варианта элемента, показанного на Фиг.20.1.
Упомянутые элементы и их сборка обеспечивают трехслойный узел, в котором каждый из трех вариантов элементов, показанных на Фиг.20.2, осуществляет соединение отверстия более крупного варианта элемента согласно Фиг.20.1 с отверстием в меньшем варианте согласно Фиг.20.1; и в котором продолженные оси каждой из штифтов, выступающих из каждого из трех вариантов элемента согласно Фиг.20.2, и продолженные оси каждого из отверстий в обоих варианта элемента согласно Фиг.20.1 пересекаются в некоторой точке. Помимо указанного узла дуга между осями штифтов каждого из трех вариантов элемента согласно Фиг.2 находится на дуге большого круга, центр которой находится на точке пересечения всех упомянутых выше осей, а именно: продолженные оси каждого из трех отверстий в более крупном варианте элемента согласно Фиг.20.1, и продолженные оси трех отверстий в меньшем варианте элемента согласно Фиг.20.1; и продолженные оси каждого из штифтов, выступающих из каждого из трех вариантов элемента согласно Фиг.20.2. Помимо этого, оси каждого из вариантов элемента согласно Фиг.20.1 также пересекаются в одной и той же точке.
Фиг.20.3 схематически изображает боковую проекцию сечения указанного узла, без перспективы. Ссылаясь на Фиг.20.3: 1 – более крупный вариант элемента, показанного на Фиг.20.1; элементы 2 и 3 – первый и второй варианты элемента, показанного на Фиг.20.2; элемент 6 – меньший вариант элемента, показанного на Фиг.20.1; элементы 4, 5, 7 и 8 – штифты, выступающие из элементов 2 и 3, согласно вышеизложенному, и каждый из этих штифтов установлен в отверстии либо крупного, либо меньшего варианта элемента, показанного на Фиг.20.1. Оси А1, А3, А4 и А5 являются продолженными осями штифтов 7, 4, 8 и 5, соответственно; и оси А2 и А5 являются, соответственно, осями элементов 6 и 1.
Описываемый выше узел обеспечивает рычажную систему равных угловых скоростей, в которой: если оси А2 и А5 имеют фиксированную взаимосвязь и элемент 1 вращается вокруг оси А5, то рычажные механизмы между элементами 1 и 6 каждого из трех вариантов элемента, показанных на Фиг.20.2, два из которых видны на Фиг.20.3, обусловят вращение элемента 6 вокруг оси А2 с угловой скоростью, одинаковой с угловой скоростью вращения элемента 1 вокруг оси А5; и наоборот – если элемент 6 вращается вокруг оси А2, то указанные рычажные механизмы обусловят вращение элемента 1 вокруг оси А5 с угловой скоростью, одинаковой со скоростью вращения элемента 6.
С помощью описываемого выше узла или рычажной системы возможно обеспечить муфту или шарнир равных угловых скоростей для двух валов, имеющих фиксированное угловое смещение. Описываемый выше узел схематически представлен на Фиг.20.4; при этом Фиг.20.5 представляет шарнир или муфту полностью.
Как видно из Фиг.20.5, основание 12 представляет собой трехмерное основание, имеющее угол 15, через который необходимо передать мощность от первого вала 10 на второй вал 11. Вал 10 жестко прикреплен к основанию 12 с помощью подшипника и установочного средства 13, и вал 11 аналогично жестко прикреплен к основанию 12 с помощью подшипника и установочного средства 14. Для жесткого соединения вала 10 с узлом 9 используется любое целесообразное соединительное средство, в результате чего вал прикрепляется к элементу 6 и соосно с осью А2 – согласно Фиг.20.3; и аналогично любые целесообразные фиксирующие средства используется для жесткого соединения вала 10 с узлом 9, в результате чего он прикреплен к элементу 1 и соосен с осью А5 – согласно Фиг.20.3. Точка В является точкой пересечения всех упомянутых осей и также осей валов 10 и 11. Этот узел будет передавать мощность с равными угловыми скоростями от вала 10 на вал 11.
Для обеспечения универсального шарнира или муфты равных угловых скоростей, способных передавать мощность между валами, имеющими изменяемое угловое осевое смещение, обеспечивают, во-первых, узел, идентичный описываемому выше и показанному на Фиг.20.3, вместе с тремя последующими вариантами элементов, показанных на Фиг.20.2, и еще одним вариантом элемента, показанным на Фиг.20.1, где еще три варианта элемента согласно Фиг.20.2 и еще один вариант элемента согласно Фиг.20.1 имеют уменьшающийся радиус для формирования еще одного слоя, добавленного снизу, или более центрального относительно точки В согласно Фиг.20.3, для описываемого ранее узла; хотя элементы имеют меньшие физические размеры, но их угловой размер идентичен размерам соответствующих элементов в более высоких слоях, в результате чего все оси пересекаются в некоторой точке.
Фиг.20.6 показывает осуществление, выполненное с возможностью обеспечения узла, соответствующего для включения его в шарнир или муфту, и в котором валы имеют изменяемую угловую взаимосвязь друг с другом. Элемент 22 является третьим вариантом элемента согласно Фиг.20.1 и имеет тот же угловой размер, что и первые два варианта указанного элемента, а именно: элементы 1 и 6. Элементы 16 и 17 являются четвертым и пятым вариантами элемента согласно Фиг.20.2, и они имеют тот же угловой размер, что и первые три варианта. Необходимо отметить, что третий и шестой варианты элемента согласно Фиг.20.2 не видны и не показаны на Фиг.20.6. Вал 23 жестко соединен с центром вогнутой поверхности элемента 22, и вал 24 жестко соединен с выпуклой поверхностью элемента 1, в результате чего в положении узла согласно Фиг.20.6 валы 23 и 24 являются соосными друг с другом и также соосными с осями элементов 1 и 22. Все оси сходятся в точке В.
Чтобы данный описываемый узел функционировал как универсальный шарнир равных угловых скоростей, необходимо обеспечить крепление или соединение, которое предусматривает угловое перемещение осей валов 23 и 24 с одновременным ограничением осей валов 23 и 24, в результате чего всякий раз, когда оси указанных валов являются несоосными, они будут пересекаться в некоторой точке. Описываемый выше узел, показанный на Фиг.20.6, схематически представлен на Фиг.20.7, но сначала следует обратиться к Фиг.20.8, который представляет важные взаимосвязи между раскрываемыми здесь валами и узлом. Во время работы шарнира согласно данному осуществлению важно, что точка В, указанная на Фиг.20.6, всегда попадает на ось вала 23, и важно, что точка на оси вала 24 всегда попадает на сферическую плоскость, центр которой находится на точке В. Если узел согласно Фиг.20.6 будет выполнен с достаточной прочностью и допуском, то он будет обеспечивать нужные взаимосвязи, или альтернативно ограничивающие средства могут быть обеспечены для создания указанных взаимосвязей; и пример такого ограничивающего механизма показан на Фиг.20.9.
Как видно из Фиг.9, вилка 25 имеет подшипник 26, в котором установлен вал 24, в результате чего вал 24 может вращаться в подшипнике 26. Подшипник 27 выполнен с возможностью вмещения в нем вала 23, в результате чего вал 23 может вращаться в подшипнике 27, но он жестко удерживается, и поэтому точка В, показанная как точка 10 на Фиг.20.6 и Фиг.20.8, будет всегда находится на пересечении осей А7 и А8. Ось А7 является осью для подшипника 27 в корпусе 28; и ось А8 в свою очередь является осью для корпуса 28.
Очевидно, что узел, описываемый здесь и показанный на Фиг.20.6 и ограниченный таким образом, что точка В согласно Фиг.20.6 является точкой оси всех упомянутых осей, обеспечивает универсальный шарнир равных угловых скоростей, в котором нет несущих нагрузку скользящих поверхностей, не являющихся поверхностями вращения; и в котором все действующие элементы передают крутящий момент с первого вала на второй вал, являющийся частью сферической конструкции и действующий в сферической системе.
Предлагается шарнир, имеющий характеристики, присущие раскрываемой конструкции, и шарнир, основанный на сферической геометрии, и шарнир, имеющий конструкцию, первоначально описываемую и иллюстрируемую на Фиг.20.3; и шарнир, имеющий конструкцию, описываемую и иллюстрируемую на Фиг.20.6; и предлагается установочное средство, описываемое на Фиг.20.5 и Фиг.20.9.
20. Двадцатый вариант выполнения
Как видно из Фиг.21, этот вариант предлагает два варианта узла, описываемого на Фиг.21.3, который представляет собой сферический четырехстержневой рычажный механизм с продолженными осями каждой из четырех осей А1, А2, А3 и А4 в рычажном механизме, проходящем к единой точке и где дуги между каждой из осей формируют дуги большого круга.
Установочное средство обеспечено в центре двойной вилки 5, в результате чего два варианта узла, показанного на Фиг.21.3, удерживаются в двойной вилке 5 во взаимосвязи друг с другом – согласно Фиг.21.4. На Фиг.21.4 точки Р1 и Р2 представляют центр крестовинных элементов 1 и 2, соответственно; С1 и С2 являются большими кругами сфер, центр которых находится на точках Р1 и Р2, соответственно.
Штифт (не показан) проходит от валов 3 и 4 таким образом, что ось каждого штифта проходит в радиальном направлении от точки Р1 и Р2, соответственно, в собранном узле и формирует ось для оси А3 в каждом варианте, показанном на Фиг.21.3.
Очевидно, что в этом узле – если обеспечено средство, обусловливающее оба варианта узла согласно Фиг.21.3 – двигаться единообразно с действием шарнира, угол между валом 1 и двойной вилкой 5 будет оставаться тем же, что и угол между валом 4 и двойной вилкой 5; и будут выполняться необходимые условия для шарнира равных угловых скоростей двойного карданного типа.
Один из способов, который обеспечит единообразное движение двух вариантов узла согласно Фиг.21.3, заключается в жестком соединении первого варианта элемента 6 со вторым вариантом элемента 6, и в аналогичном жестком соединении двух вариантов элемента 7.
Один из способов жесткого соединения каждого варианта элемента 6 друг с другом заключается в обеспечении единого элемента согласно Фиг.21.5, где штифты 10 и 11 обеспечивают ось каждого из двух вариантов оси А2, и отверстие 12 является осью А1.
Без дальнейшего пояснения очевидно следует, что два варианта элемента 7 можно выполнить в виде одиночного компонента согласно Фиг.21.5.
21. Двадцать Первый вариант выполнения
Со ссылкой на Фиг.22 приводится описание еще одного варианта ограничивающего механизма семнадцатого осуществления, согласно которому сферические треугольники, образуемые этим механизмом, идентичны друг другу в работе шарнира.
Фиг.22.1 продолжает описание механизма, показанного на Фиг.18.12. Фиг.22.2 представляет собой описание механизма, раскрываемого в восемнадцатом осуществлении. Фиг.22.3 – перспективное изображение с пространственным разделением деталей шарнира равных угловых скоростей согласно описанию семнадцатого и восемнадцатого осуществлений. Фиг.22.4, 5 и 6 представляют изображение в сборе этого шарнира, при этом сферический узел, указанный под ссылочным обозначением 7 на Фиг.22.3, является сферической рычажной системой, по существу раскрываемой в восемнадцатом осуществлении.
Как видно из Фиг.22.1, плечо или стержень 1 выполнено с возможностью свободного поворота вокруг оси А1, и плечо или стержень 2 выполнен с возможностью поворота вокруг оси А2, в результате чего углы 4 и 5, которые являются углами между стержнем 1 и стержнем 3, и между стержнем 2 и стержнем 3, соответственно, могут отличаться друг от друга. Данное решение обеспечивает средство, согласно которому углы 4 и 5 непрерывно по существу идентичны друг другу, в результате чего два сферических треугольника, образуемые этим механизмом, остаются идентичными друг другу.
Согласно данному осуществлению, обращаясь к Фиг.22.7, обеспечен механизм, раскрываемый на Фиг.1, который также содержит зубчатое колесо, установленное между звеном 1 и звеном 2. Звено 1 и звено 2 имеют зубцы для зацепления с зубчатым колесом 3. В этом механизме углы 4 и 5 всегда будут по существу идентичными друг другу, в результате чего сферические треугольники, сформированные механизмом, также остаются по существу идентичными друг другу.
Поэтому согласно настоящему осуществлению описывается центрирующий механизм в соответствии с Фиг.22.7, и обеспечен шарнир равных угловых скоростей согласно Фиг.22.3, 4, 5 и 6; при этом центрирующий механизм 7 заменен механизмом, раскрываемым на Фиг.22.7.
Резюме.
Краткое существо вариантов выполнения
Первое вариант выполнения
Муфта равных угловых скоростей, в которой оси всех вращающихся элементов пересекаются на пересечении осей входного и выходного валов. Муфта имеет регулирующую вилку и регулирующий механизм и отличается тем, что регулирующая вилка определяет ось вращения, которая делит пополам дополнительный угол между осью входного вала и осью выходного вала муфты.
Регулирующий механизм выполнен в виде двойного ножничного узла, в котором все рычажные механизмы имеют оси, радиальные по отношению к точке пересечения осей входного и выходного валов; при этом шарнирные центры регулирующих рычажных механизмов по существу находятся на вершинах равных сферических треугольников.
Второй вариант выполнения
Муфта равных угловых скоростей, в которой все элементы идентичны элементам первого осуществления, за тем исключением, что регулирующий механизм состоит из зубчатой передачи, в которой два рычажных звена с зубчатыми сегментами зацепляются с центральным зубчатым колесом; при этом указанный узел регулирует ось регулирующей вилки, чтобы она находилась на биссектрисе дополнительного угла между осями входного и выходного валов.
Третий вариант выполнения
Муфта равных угловых скоростей, в которой либо ножничный механизм первого осуществления, либо зубчатая передача второго осуществления регулируют ось регулирующей вилки, чтобы та находилась на биссектрисе дополнительного угла между осями входного и выходного валов; при этом внутренняя и наружная вилки изменены из полностью круглой формы в частично сегментную форму.
Четвертый вариант выполнения
Муфта равных угловых скоростей, в которой элементы вращения, на которые опираются концы входного и выходного валов, отделены соединительной трубой, и в которой на соединительную трубу опирается регулирующий механизм, в результате чего ось трубы ограничена ее нахождением на биссектрисе дополнительного угла между входным и выходным валами.
Пятый вариант выполнения
Муфта равных угловых скоростей, в которой угол между входным и выходным валами может изменяться время от времени регулирующим механизмом; при этом указанный регулирующий механизм также ограничивает ориентацию регулирующей вилки таким образом, что ее ось вращения находится на биссектрисе дополнительного угла между входным и выходным валами. Муфта включает в себя изменяемое гидравлическое устройство смещения в виде наклонного диска.
Дополнительные варианты выполнения
Один из вариантов предлагает муфту равных угловых скоростей, выполненную в первом виде, согласно которому регулирующий механизм можно выполнить для определенного фиксированного угла между осями входного вала и выходного вала с помощью ограниченной сборки регулирующих элементов. Регулирующие элементы основаны на формах сферической геометрии.
Во втором виде: расширенная сборка аналогичных регулирующих элементов выполнена с возможностью обеспечения регулирующего механизма для муфты равных угловых скоростей, в которой угол между входным и выходным валами является изменяемым.
Согласно еще одному варианту обеспечена муфта равных угловых скоростей с регулирующим механизмом в виде, описываемом в первом предпочтительном осуществлении. Первоначальная форма (раскрываемая в PR5731) содержала одну половину ножничного механизма первого осуществления с модифицированной двойной ножничной системой согласно PR5992.
Согласно еще одному варианту обеспечена муфта равных угловых скоростей, которая реализована посредством совокупности рычажных механизмов для ограничения соосности оси вращения регулирующей вилки таким образом, чтобы эта ось делила пополам дополнительный угол между осями входного и выходного валов муфты. Регулирующие рычажные механизмы выполнены в виде элементов, которые основываются на дугах сферических треугольников.
Согласно еще одному варианту раскрывают рычажный механизм, который представляет собой обладающую новизной реализацию принципов системы внутренней и наружной вилки или системы универсального шарнира типа, обычно используемого в двойных карданных шарнирах. Это осуществление имеет форму вилочного механизма, используемого в четырнадцатом осуществлении.
Еще один вариант раскрывает центрирующий механизм для муфты равных угловых скоростей, содержащей систему зацепляющихся шестерен и рычагов для регулирования угловой взаимосвязи между двумя половинами муфты.
Обращаясь к первому варианту согласно Фиг.1-4, нужно отметить, что значительное число характеристик, упоминаемых во вступлении к описанию со ссылкой на Фиг.23, представлено в этом осуществлении, как то:
(а) Регулирующая вилка в совокупности с ножничным механизмом и формирующая регулирующий механизм для узла универсального шарнира, содержащего внутреннюю и наружную вилку, действует полностью симметрично вокруг биссектрисы 308 (обозначенной как С на Фиг.4) дополнительного угла;
(б) Все оси регулирующего механизма проходят через центр 307 муфты (также называемый «геометрическим центром»);
(в) В ином отношении по существу неограниченный рычажный механизм между входным и выходным валами, обеспечиваемый механизмом универсального шарнира в виде внутренней вилки и наружной вилки, ограничен регулирующим механизмом в виде регулирующей вилки; в этом случае – таким образом, что ось YY (указанная на Фиг.1) находится на гомокинетической плоскости.
Данное описание излагает только некоторые осуществления настоящего изобретения и модификации, очевидные специалистам в данной области техники, которые можно осуществить в пределах объема и концепции настоящего изобретения.
Формула изобретения
1. Муфта равных угловых скоростей, в которой регулирующий механизм выполнен с возможностью поддержания условий равной мгновенной передачи угловых скоростей между входным и выходным валами и которая содержит ось вращения входного вала, ось вращения выходного вала, регулирующий механизм, по существу, U-образную вилку выходной оси, имеющую регулирующий штифт выходной оси, прикрепленный к одному плечу U-образной вилки выходной оси, причем ось регулирующего штифта выходной оси находится в плоскости, образуемой выходной осью и осью, образуемой цапфами U-образной вилки выходной оси, и пересекает геометрический центр муфты, выступ входной оси, имеющий регулирующий штифт входной оси, причем ось регулирующего штифта входной оси находится в плоскости, образуемой входной осью и осью вращения выступа, и пересекает геометрический центр муфты, причем регулирующий механизм выполнен с возможностью удерживания по меньшей мере частей муфты для получения характеристик равных угловых скоростей.
2. Муфта равных угловых скоростей по п.1, в которой все оси вращения пересекаются в общей точке, определяемой как геометрический центр муфты.
3. Муфта равных угловых скоростей по п.2, в которой элементы регулирующего механизма ограничены в своем движении по дугам на больших кругах сфер, центр которых находится в геометрическом центре муфты.
4. Муфта равных угловых скоростей по п.3, в которой ось вращения регулирующего механизма находится на биссектрисе дополнительного угла входной и выходной осей.
5. Муфта по п.4, в которой входная ось вращения оканчивается в выступе, имеющем ось вращения под прямыми углами к оси вала, при этом пересечение осей совпадает с геометрическим центром муфты.
6. Муфта по п.5, в которой выступ выполнен с возможностью вращения вокруг оси первой внутренне-вилочной пары цапф внутренней вилки.
7. Муфта по п.6, в которой первая внутренняя вилка имеет вторую внутренне-вилочную пару цапф; при этом первая и вторая пары внутренне-вилочных цапф образуют оси вращения под прямыми углами по отношению друг к другу и пересекаются в точке, совпадающей с геометрическим центром муфты.
8. Муфта по п.7, в которой каждая из указанных цапф первой пары внутренне-вилочных цапф внутренней вилки отстоит на равном расстоянии от геометрического центра муфты.
9. Муфта по п.8, в которой каждая из указанных цапф второй пары внутренне-вилочных цапф внутренней вилки отстоит на равном расстоянии от геометрического центра муфты.
10. Муфта по п.9, в которой ось второй пары внутренне-вилочных цапф выполнена с возможностью вращения вокруг оси первой пары наружно-вилочных цапф наружной вилки.
11. Муфта по п.10, в которой наружная вилка имеет вторую пару наружно-вилочных цапф; при этом первая и вторая пары наружно-вилочных цапф образуют оси вращения, которые пересекаются в геометрическом центре муфты.
12. Муфта по п.11, в которой каждая из цапф первой пары наружно-вилочных цапф отстоит на равном расстоянии от геометрического центра муфты.
13. Муфта по п.12, в которой каждая из цапф второй пары наружно-вилочных цапф отстоит на равном расстоянии от геометрического центра муфты.
14. Муфта по п.13, в которой регулирующая вилка имеет, по существу, U-образную форму с цапфами регулирующей вилки на ее внешних концах.
15. Муфта по п.14, в которой цапфы регулирующей вилки выполнены с возможностью вращения вокруг оси первой наружно-вилочной пары цапф наружной вилки.
16. Муфта по п.15, в которой каждая из цапф регулирующей вилки отстоит на равном расстоянии от геометрического центра муфты.
17. Муфта по п.16, в которой наружная вилка имеют вторую пару наружно-вилочных цапф, при этом указанные первая и вторая пары наружно-вилочных цапф определяют оси вращения, которые пересекаются в геометрическом центре муфты.
18. Муфта по п.17, в которой каждая из цапф первой пары наружно-вилочных цапф наружной вилки отстоит на равном расстоянии от геометрического центра муфты.
19. Муфта по п.18, в которой каждая из цапф второй пары наружно-вилочных цапф наружной вилки отстоит на равном расстоянии от геометрического центра муфты.
20. Муфта по п.19, в которой выходная ось вращения оканчивается в центре основания, по существу, U-образной вилки выходной оси, имеющей на своих внешних концах цапфы выходной оси; при этом цапфы выходной оси образуют ось под прямыми углами к оси выходной оси.
21. Муфта по п.20, в которой цапфы выходной оси вилки выходной оси выполнены с возможностью вращения вокруг оси второй пары наружно-вилочных цапф.
22. Муфта по п.21, в которой каждая из цапф пары цапф выходной оси отстоит на равном расстоянии от геометрического центра муфты.
23. Муфта по любому из пп.1-22, в которой все оси вращения цапф и входная и выходная оси пересекаются в геометрическом центре муфты.
24. Муфта по п.23, в которой регулирующая вилка имеет шарнирный штифт, прикрепленный к центру основания, по существу, U-образной регулирующей вилки, в результате чего ось шарнирного штифта расположена под прямыми углами к оси цапф регулирующей вилки и пересекает геометрический центр муфты.
25. Муфта по п.1, в которой указанный регулирующий штифт выходной оси расположен под заданным углом к выходной оси.
26. Муфта по п.1, в которой регулирующий штифт входной оси расположен под заданным углом к входной оси.
27. Муфта по п.26, в которой углы регулирующего штифта к входной оси и выходной оси равны между собой.
28. Муфта по п.27, в которой регулирующий механизм выполнен в виде двойного ножничного узла.
29. Муфта по п.28, в которой ножничный узел содержит первое и второе ножничные звенья, первую и вторую ножничные кулисы, шарнирные валы ножничных звеньев.
30. Муфта по п.29, в которой первое и второе ножничные звенья своими центрами шарнирно прикреплены к шарнирному штифту регулирующей вилки.
31. Муфта по п.30, в которой указанные ножничные звенья на своих внешних концах имеют шарнирные валы; при этом шарнирные валы отстоят на равном расстоянии от шарнирного штифта регулирующей вилки и при этом оси шарнирных валов пересекаются в геометрическом центре муфты.
32. Муфта по п.31, в которой шарнирные валы ножничного звена шарнирно соединены с указанными первой и второй ножничными кулисами, в результате чего первый конец каждого ножничного звена соединен указанной первой ножничной кулисой с указанным регулирующим штифтом входного вала и второй конец каждого ножничного звена соединен указанными вторыми ножничными кулисами с указанным регулирующим штифтом выходного вала.
33. Муфта по любому из пп.1-27, в которой регулирующий механизм выполнен в виде зацепляющей зубчатой передачи.
34. Муфта по п.33, в которой указанная зацепляющая зубчатая передача содержит основное опорное звено, центральное зубчатое колесо, первое и второе соединительные звенья, первый и второй рычажные шарнирные валы.
35. Муфта по п.34, в которой основное опорное звено в своей срединной точке шарнирно установлено на шарнирном штифте регулирующей вилки.
36. Муфта по п.35, в которой центральное зубчатое колесо шарнирно установлено на шарнирном штифте регулирующей вилки.
37. Муфта по п.36, в которой основное опорное звено на своих внешних концах имеет первый и второй шарнирные валы.
38. Муфта по п.37, в которой оси первого и второго шарнирных валов проходят по радиусу к геометрическому центру муфты.
39. Муфта по п.38, в которой в геометрическом центре углы, противолежащие осям первого шарнирного вала с шарнирным штифтом регулирующей вилки и второго шарнирного вала со штифтом регулирующей вилки, равны между собой.
40. Муфта по п.39, в которой первое и второе рычажные звенья имеют на первом конце сегмент зубьев зацепляющей зубчатой передачи, зацепляющихся с центральным зубчатым колесом, когда рычажные звенья шарнирно установлены на шарнирных валах основного опорного звена.
41. Муфта по п.40, в которой первое и второе рычажные звенья имеют цапфы на своем втором конце.
42. Муфта по п.41, в которой оси цапф второго конца первого и второго рычажных звеньев проходят по радиусу к геометрическому центру муфты.
43. Муфта по п.42, в которой первое и второе рычажные звенья идентичны.
44. Муфта по п.43, в которой сферические треугольники, образованные шарнирными центрами центрального зубчатого колеса и первым и вторым концами первого и второго рычажных звеньев, равны между собой.
45. Муфта по п.44, в которой первое рычажное звено шарнирно соединено цапфой указанного первого рычажного звена с регулирующим штифтом входного вала.
46. Муфта по п.45, в которой второе рычажное звено соединено цапфой второго рычажного звена с регулирующим штифтом вилки выходного вала.
47. Муфта по любому из пп.1-46, в которой входной вал и выходной вал выполнены взаимозаменяемыми.
48. Муфта по любому из пп.30-47, в которой все шарнирные соединения реализованы с помощью шарикоподшипников с глубокой канавкой.
49. Муфта по любому из пп.30-47, в которой все шарнирные соединения реализованы с помощью игольчатых роликоподшипников.
50. Муфта по любому из пп.1-49, в которой все взаимные перемещения осей и регулирующего механизма являются вращательными.
51. Двойная муфта равных угловых скоростей, в которой регулирующий механизм выполнен с возможностью поддержания условий равной мгновенной передачи угловых скоростей между входной и выходной осями и которая содержит входную ось, выходную ось, вилку входного конца, вилку выходного конца, регулирующий механизм, при этом вилка входного конца имеет первую и вторую пары цапф вилки входного конца, причем вторая пара цапф вилки входного конца шарнирно соединена с входной концевой парой цапф соединительной трубы, а вилка выходного конца имеет первую и вторую пары цапф вилки выходного конца, причем вторая пара цапф вилки выходного конца шарнирно соединена с выходной концевой парой цапф соединительной трубы.
52. Муфта по п.51, в которой входная ось оканчивается в выступе входной оси; при этом выступ входной оси имеет ось вращения под прямыми углами к входным осям; причем пересечение входной оси и входной оси вращения выступа образует входной геометрический центр муфты.
53. Муфта по п.52, в которой выходная ось оканчивается в выступе выходной оси; при этом выступ выходной оси имеет ось вращения под прямыми углами к выходным осям; причем пересечение выходной оси и выходной оси вращения выступа определяет выходной центр муфты.
54. Муфта по п.53, в которой выступ входной оси выполнен с возможностью вращения вокруг оси первой пары цапф вилки входного конца в вилке входного конца.
55. Муфта по п.53, в которой выступ выходной оси выполнен с возможностью вращения вокруг оси первой пары цапф вилки выходного конца в вилке выходного конца.
56. Муфта по п.55, в которой вторая пара цапф вилки входного конца образует ось вращения под прямыми углами к оси первой пары цапф вилки входного конца; причем оси указанных первой и второй пар цапф вилки входного конца пересекаются во входном центре муфты.
57. Муфта по п.56, в которой вторая пара цапф вилки выходного конца определяет ось вращения под прямыми углами к оси первой пары цапф вилки выходного конца; причем оси первой и второй пар цапф вилки выходного конца пересекаются в выходном центре муфты.
58. Муфта по п.57, в которой цапфы каждой из пар цапф вилки входного конца и вилки выходного конца симметрично расположены вокруг входного и выходного центров муфты, соответственно.
59. Муфта по п.51, в которой выступ входной оси имеет регулирующий штифт, прикрепленный к выступу входной оси, в результате чего ось регулирующего штифта находится в плоскости, образуемой входной осью и осью вращения выступа, и пересекает входной центр муфты.
60. Муфта по п.51, в которой выступ выходной оси имеет регулирующий штифт, прикрепленный к выступу выходной оси, в результате чего ось регулирующего штифта находится в плоскости, определяемой выходной осью и осью вращения выступа, и пересекает выходной центр муфты.
61. Муфта по п.60, в которой ось каждого из регулирующих штифтов расположена под заданным углом к каждой из входной и выходной осей; при этом углы равны между собой.
62. Муфта по п.61, в которой регулирующий механизм содержит верхний и нижний трансмиссионные блоки, шарнирный вал трансмиссионного блока, верхний и нижний шарнирные валы блока, верхнее и нижнее регулирующие рычажные соединения.
63. Муфта по п.62, в которой регулирующий механизм установлен по центру в соединительной трубе и отстоит от каждого из входного и выходного центров муфты на равном расстоянии.
64. Муфта по п.63, в которой каждый из верхнего и нижнего трансмиссионных блоков шарнирно установлен на шарнирном валу; причем ось шарнирного вала совпадает с центральной осью соединительной трубы и пересекает входной и выходной центры муфты.
65. Муфта по п.64, в которой каждый из верхнего и нижнего трансмиссионных блоков имеет два шарнирных вала, по одному на каждом внешнем конце блоков.
66. Муфта по п.65, в которой ось шарнирных валов на входном конце верхнего и нижнего трансмиссионных блоков пересекает входной центр муфты.
67. Муфта по п.66, в которой ось шарнирных валов на выходном конце верхнего и нижнего трансмиссионных блоков пересекает выходной центр муфты.
68. Муфта по п.67, в которой каждый из шарнирных валов на входном конце верхнего и нижнего трансмиссионных блоков шарнирно соединен с регулирующим штифтом входной оси и каждый из шарнирных валов на выходном конце верхнего и нижнего трансмиссионных блоков шарнирно соединен с регулирующим штифтом выходной оси.
69. Муфта по любому из пп.51-68, в которой все шарнирные соединения предназначены для шарикоподшипников с глубокой канавкой.
70. Муфта по любому из пп.51-68, в которой все шарнирные соединения предназначены для игольчатых роликоподшипников.
71. Муфта по любому из пп.51-70, в которой все взаимные движения осей и регулирующего механизма являются вращательными.
РИСУНКИ
PC4A – Регистрация договора об уступке патента СССР или патента Российской Федерации на изобретение
Прежний патентообладатель:
ТОМПСОН Гленн Александр (AU)
(73) Патентообладатель:
Томпсон Кауплингс Лимитед (AU)
Договор № РД0039846 зарегистрирован 20.08.2008
Извещение опубликовано: 27.09.2008 БИ: 27/2008
|
|