|
|
(21), (22) Заявка: 2004122258/06, 19.07.2004
(24) Дата начала отсчета срока действия патента:
19.07.2004
(43) Дата публикации заявки: 20.01.2006
(46) Опубликовано: 27.01.2007
(56) Список документов, цитированных в отчете о поиске:
SU 922372 А, 23.04.1982. SU 1364808 A1, 07.01.1988. RU 2208717 C2, 20.07.2003. US 4674754 A, 23.06.1987. US 5113747 A, 19.05.1992.
Адрес для переписки:
445633, Самарская обл., г. Тольятти, Южное ш., 36, ОАО “АВТОВАЗ”, ДИТО, ОИР ПТУ, С.Н. Буренкову
|
(72) Автор(ы):
Кулаковский Виктор Николаевич (RU)
(73) Патентообладатель(и):
Открытое акционерное общество “АВТОВАЗ” (RU)
|
(54) ПНЕВМОЦИЛИНДР
(57) Реферат:
Изобретение относится к поршневым пневмоприводам и касается конструкции пневмоцилиндров. Техническим результатом является повышение эффективности работы пневмоцилиндра и увеличение его надежности. Пневмоцилиндр содержит гильзу, штоковую и поршневую полости, разделенные поршнем с размещенными в его проточках манжетами Г-образного сечения, распорное резиновое кольцо круглого сечения, установленное в канавке поршня и поджимающее уплотнительные лепестки Г-образной манжеты к гильзе. Основание канавки выполнено криволинейно-выпуклым с уклонами в стороны боковых стенок с образованием располагающейся посередине канавки вершины, разделяющей установленные в канавке два распорных резиновых кольца круглого сечения, поджимающих соответственно уплотнительные лепестки Г-образных манжет к гильзе. 3 ил.
Изобретение относится к поршневым пневмоприводам и касается конструкции пневмоцилиндров.
Эффективность работы пневмоцилиндра, его КПД зависит в основном от работы уплотнений штока и поршня.
Известен цилиндр, представленный в книге Т.М.Башта и др. Гидравлика гидромашины и гидроприводы, М.: Машиностроение, 1982 г., стр.350-355, рис.3.60 в, содержащий уплотняемую гильзу, поршень с канавками для установки в них резиновых манжет V-образного сечения, герметизирующих стык гильза-поршень в обоих направлениях.
Недостатки данной конструкции заключаются в следующем:
– низкий ресурс резиновых манжет,
– низкий механический КПД за счет большого коэффициента трения резины о сталь,
– значительные усилия в момент страгивания поршня с места.
Наиболее близка к предлагаемому техническому решению конструкция пневмоцилиндра с уплотнительным узлом поршня по патенту №922372, МПК F 16 J 9/00, 1982 г., содержащая гильзу, поршень с канавкой, в которой установлено с предварительным натягом в радиальном направлении распорное резиновое кольцо круглого сечения, поджимающее к гильзе пневмоцилиндра уплотнительный ус манжеты Г-образного сечения.
Данное устройство принимается за прототип.
Недостатки конструкции данного технического решения сводятся к следующему.
– При работе на нулевых и малых давлениях сжатого воздуха, небольших сечениях распорного резинового кольца круглого сечения (2,5…3 мм), достаточно большой твердости резины распорного кольца уплотнительный эффект достигается исключительно за счет того, что распорное резиновое кольцо установлено в канавке поршня с предварительным сжатием его сечения в радиальном направлении, что обеспечивается превышением диаметра сечения распорного кольца (в свободном его состоянии) над высотой полости, образованной прямолинейным (цилиндрическим) основанием канавки и уплотнительными лепестками (усами) манжет Г-образного сечения, поджимаемыми к гильзе. Однако в процессе работы пневмоцилиндра износ уплотнительных лепестков Г-образных манжет с течением времени может оказаться таковым, что уплотнительного эффекта от воздействия распорного резинового кольца, установленного с предварительным сжатием его сечения в радиальном направлении, уже будет недостаточно, т.е. уплотняемый стык гильза-поршень уже не будет герметичным, появятся перетечки из одной полости пневмоцилиндра в другую, что недопустимо. Ограниченность величины давления сжатого воздуха, подводимого к пневмоцилиндру, а точнее в полость канавки к распорному кольцу (максимальное значение давления сжатого воздуха, подаваемое от компрессора в цеховую сеть Рmax=0,63 МПа (6,3 кгс/см2), незначительная величина сечения распорного резинового кольца (2,5…3 мм) и достаточно высокая твердость резины распорного кольца не позволяют при подводе даже максимального давления сжатого воздуха (Р=0,63 МПа) в полость канавки иметь значительную деформацию сечения распорного кольца (после его перемещения в сторону воздействия давления по цилиндрическому основанию канавки до упора в боковую поверхность канавки), чтобы компенсировать недостаточный поджим распорным резиновым кольцом Г-образной манжеты к гильзе в случае износа уплотнительного лепестка (уса) выше названной манжеты.
– Изготовление распорного резинового кольца круглого сечения (ГОСТ 9383) как по внутреннему диаметру, так и по диаметру его сечения жестко регламентировано вышеуказанным ГОСТ, однако в силу того что материал резины может давать значительную усадку после спекания, то сечение распорного резинового кольца может быть значительно меньшим, чем его номинальный размер с допуском (согласно чертежу), что напрямую уменьшает предварительное сжатие его сечения при установке его в канавку на поршне, а соответственно, и качество уплотнительного эффекта будет низким.
Технической задачей, решаемой данным изобретением, является повышение эффективности работы пневмоцилиндра и увеличение его надежности.
Для решения поставленной технической задачи в пневмоцилиндре, содержащем гильзу, штоковую и поршневую полости, разделенные поршнем с размещенными в его проточках манжетами Г-образного сечения с низким коэффициентом трения, например, выполненные из фторопласта, распорное резиновое кольцо круглого сечения, установленное в канавке поршня и поджимающее уплотнительные лепестки Г-образных манжет к гильзе, основание канавки выполнено криволинейно-выпуклым с уклонами в стороны боковых стенок, с образованием располагающейся посредине канавки вершины, разделяющей установленные в канавке два распорных резиновых кольца круглого сечения. Таким образом, заявляемый объект соответствует критерию изобретения “новизна”. Сравнение заявляемого решения с другими техническими решениями в данной области техники не позволило выявить в них признаки, отличающие заявляемое решение от прототипа, что позволило сделать вывод о соответствии решения изобретательскому уровню.
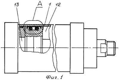
На фиг.1 изображен пневмоцилиндр, общий вид.
На фиг.2 изображен вид А на фиг.1 без воздействия на него перепада давления сжатого воздуха.
На фиг.3 изображен вид А на фиг.1 под воздействием перепада давления сжатого воздуха.
Пневмоцилиндр содержит гильзу 1, поршень 2. На поршне 2 выполнены две проточки 3, в которых размещаются манжеты 4 Г-образного сечения с уплотнительными лепестками (усами) 5. На поршне 2 также выполнена канавка 6 с криволинейно-выпуклым основанием 7 с уклонами 8 и 9 в стороны боковых стенок канавки 6. Криволинейно-выпуклое основание 7 канавки 6 содержит вершину 10, которая располагается на равных расстояниях от боковых стенок канавки 6, при этом вершина 10 разделяет установленные в канавке 6 два распорных резиновых кольца 11 круглого сечения. Поршень 2 пневмоцилиндра разделяет внутренний объем гильзы 1 на штоковую 12 и поршневую 13 полости. Выполнение основания 7 канавки 6 криволинейно-выпуклым с уклонами 8 и 9 в стороны боковых стенок канавки 6 позволяет иметь дополнительное сжатие сечения распорного кольца 11 при его перемещении (от воздействия давления Р) по сужающейся по направлению к вершине 10 канавке 6. Автоматическое сжатие в радиальном направлении сечения распорного кольца 11 происходит, например, по мере износа уплотнительного лепестка 5 Г-образной манжеты 4 (при воздействии неизменной величины давления Р) или для компенсации уменьшенного по сравнению с расчетным предварительного сжатия распорного кольца 11 (например, диаметр сечения распорного кольца 11 и толщина уплотнительного лепестка 5 Г-образной манжеты 4, а также криволинейно-выпуклое основание 7 канавки 6 выполнены по нижнему допуску или, что часто бывает, диаметр сечения распорного резинового кольца 11 выполнен заниженным по причине усадки его при литье резиновой смеси.
Установка в канавке 6 двух распорных колец 11 позволяет иметь равнозначный уплотнительный эффект при подводе давления как в штоковую полость 12 пневмоцилиндра, так и в поршневую 13.
Пневмоцилиндр работает следующим образом.
До подвода давления Р, например, в поршневую полость 13 (см. фиг.2) герметичность последней обеспечивается за счет предварительного сжатия сечений обоих распорных резиновых колец 11. При подводе давления Р в поршневую полость 13 дополнительно к имеющему место предварительному сжатию сечения распорных колец 11 (левое и правое) появляется усилие, сжимающее сечение левого распорного кольца 11 ввиду того, что под действием давления Р последнее перемещается по криволинейно-выпуклому основанию 7, имеющему уклон 9, и далее по сужающейся в сторону вершины 10 канавке 6, заклинивается, обеспечивая герметичность поршневой полости 13 пневмоцилиндра путем воздействия на уплотнительный лепесток 5 (левый) в зоне с наибольшей его эластичностью.
При подаче давления Р в штоковую полость 12 (чертеж не представлен, поскольку механизм воздействия давления такой же, что и на фиг.2) дополнительно к имеющему место предварительному поджатию уплотнительных лепестков 5 Г-образных манжет 4 с помощью распорных резиновых колец 11 к гильзе 1 добавляется усилие на правое распорное кольцо 11, сжимающее его сечение за счет того, что под действием давления Р последнее перемещается по криволинейно-выпуклому основанию 7 канавки 6, имеющей уклон 8, и далее по сужающейся в сторону вершины 10 канавке 6 – происходит надежное поджатие уплотнительного лепестка 5 (правой Г-образной манжеты 4) к уплотняемой поверхности гильзы 1.
Криволинейно-выпуклое основание 7 канавки 6 может быть также выполнено в сечении в виде плавной выпуклой кривой линии определенного радиуса, при этом уплотнительный эффект герметизируемого стыка поршень-гильза в представленном пневмоцилиндре будет равнозначным.
Представленная конструкция пневмоцилиндра с с двухнаклонным (криволинейно-выпуклым) основанием канавки на поршне (для установки в нее двух распорных резиновых колец круглого сечения) достаточно эффективна и надежна. Компенсация недостаточного сжатия сечения распорного кольца, например, в связи с износом уса манжеты, а соответственно, и усилия поджима уплотнительного лепестка (уса) Г-образной манжеты к гильзе будет осуществляться по мере необходимости автоматически путем перемещения распорного кольца к вершине криволинейно-выпуклого основания канавки поршня под воздействием давления.
Таким образом, предлагаемая конструкция пневмоцилиндра дает возможность повысить его надежность и эффективность в работе.
Формула изобретения
Пневмоцилиндр, содержащий гильзу, штоковую и поршневую полости, разделенные поршнем с размещенным в его проточках манжетами Г-образного сечения, распорное резиновое кольцо круглого сечения, установленное в канавке поршня и поджимающее уплотнительные лепестки Г-образной манжеты к гильзе, отличающийся тем, что основание канавки выполнено криволинейно-выпуклым с уклонами в стороны боковых стенок с образованием располагающейся посередине канавки вершины, разделяющей установленные в канавке два распорных резиновых кольца круглого сечения, поджимающих соответственно уплотнительные лепестки Г-образных манжет к гильзе.
РИСУНКИ
MM4A – Досрочное прекращение действия патента СССР или патента Российской Федерации на изобретение из-за неуплаты в установленный срок пошлины за поддержание патента в силе
Дата прекращения действия патента: 20.07.2007
Извещение опубликовано: 20.06.2008 БИ: 17/2008
NF4A – Восстановление действия патента СССР или патента Российской Федерации на изобретение
Дата, с которой действие патента восстановлено: 20.06.2008
Извещение опубликовано: 20.06.2008 БИ: 17/2008
|
|