|
|
(21), (22) Заявка: 2005108264/06, 24.03.2005
(24) Дата начала отсчета срока действия патента:
24.03.2005
(46) Опубликовано: 27.01.2007
(56) Список документов, цитированных в отчете о поиске:
RU 2005912 С1, 15.01.1994. RU 2135829 C1, 27.08.1999. SU 1610068 A1, 30.11.1990. SU 1803602 A1, 23.03.1993. SU 1270413 A1, 15.11.1986. US 4242053 A, 30.12.1980.
Адрес для переписки:
111250, Москва, ул. Авиамоторная, 53, ЗАО “Патентный поверенный”, пат.пов. Г.Н.Андрущак
|
(72) Автор(ы):
Игошин Владимир Иванович (RU)
(73) Патентообладатель(и):
Игошин Владимир Иванович (RU)
|
(54) СВОБОДНОПОРШНЕВОЙ КОМПРЕССОР С ЭЛЕКТРОМАГНИТНЫМ ПРИВОДОМ
(57) Реферат:
Устройство предназначено для использования в области компрессоростроения в транспортных средствах при строительстве и реконструкции зданий и сооружений, в промышленности и сельском хозяйстве и других сферах человеческой деятельности. Свободнопоршневой компрессор с электромагнитным приводом содержит ресивер переменного объема, полый цилиндрический корпус. Поршень установлен в полости цилиндрического корпуса. Впускной клапан содержит корпус. В корпусе впускного клапана расположен подпружиненный запорный элемент, выполненный со сквозным осевым каналом. Клапан выхода сжатого газа с подпружиненным запорным элементом размещен в осевом канале запорного элемента впускного клапана. Радиатор охлаждения сжатого газа выполнен в виде полой втулки, установленной коаксиально в канале запорного элемента впускного клапана. Содержит штуцер отвода сжатого газа, трубку подачи сжатого газа в ресивер, сообщенную со штуцером отвода сжатого газа. Полость цилиндрического корпуса выполнена с возможностью сообщения с ресивером через клапан выхода сжатого газа, штуцер отвода сжатого газа и трубку подачи сжатого газа в ресивер, а через впускной клапан и фильтр с атмосферой. Ресивер включает в себя несущую раму с закрепленной внутри нее направляющей осью, размещенный на направляющей оси кожух, образованный выполненной с возможностью перемещения вдоль направляющей оси гофрированной оболочкой с наружным и внутренним кольцами жесткости и связанными с ней подвижной торцевой оболочкой и неподвижной торцевой оболочкой, выполненной со штуцером входа и выхода газа, уплотнительный элемент. Узел изменения объема кожуха выполнен в виде двух тросов, вала с закрепленной на нем ленточной пружиной и червячного редуктора натяжения ленточной пружины, связанного с валом. Одни концы тросов связаны с ленточной пружиной, а вторые концы – с подвижной торцевой оболочкой. Уплотнительный элемент размещен вместе сопряжения подвижной торцевой оболочки с направляющей осью, а электромагнитный привод включает в себя, по меньшей мере, одну электромагнитную катушку с витком управления последней, размещенную снаружи цилиндрического корпуса. Позволяет повысить надежность за счет использования ресивера, фильтра и радиатора охлаждения сжатого газа, КПД и экономичность за счет использования ресивера с постоянным давлением переменного объема, повысить компактность компрессора за счет размещения запорного элемента клапана выхода сжатого газа в канале запорного элемента впускного клапана. 5 з.п. ф-лы, 2 ил.
Изобретение относится к компрессоростроению и может быть использована в транспортных средствах при строительстве и реконструкции зданий и сооружений, в промышленности и сельском хозяйстве и других сферах человеческой деятельности.
Известен свободнопоршневой компрессор с электромагнитным приводом, выбранный заявителем в качестве ближайшего аналога (прототипа), содержащий полый цилиндрический корпус, поршень, размещенный в полости цилиндрического корпуса, впускной клапан с подпружиненным запорным элементом, клапан выхода сжатого газа с подпружиненным запорным элементом, трубку подачи сжатого газа, штуцер отвода сжатого газа, сообщенный с трубкой подачи сжатого газа (см. патент РФ №2005912, опубл. 15.01.1994).
Недостатком известного свободнопоршневого компрессора с электромагнитным приводом является невысокие КПД и экономичность из-за отсутствия средств (ресивера), позволяющих аккумулировать сжатый газ для дальнейшего использования в промежутках между вынужденными остановками подключаемых к компрессору технических средств, повышенная сложность и невысокая надежность конструкции, из-за отсутствия средств (ресивера с гофрированной оболочкой), позволяющих поддерживать постоянное заданное давление.
Задачей заявленного изобретения является повышение надежности за счет использования ресивера, фильтра и радиатора охлаждения сжатого газа, КПД и экономичности за счет использования ресивера с постоянным давлением переменного объема, позволяющего аккумулировать сжатый газ для дальнейшего использования в промежутках между вынужденными остановками подключаемых к компрессору технических средств, повышение компактности за счет размещения запорного элемента клапана выхода сжатого газа в канале запорного элемента впускного клапана.
Задача заявленного изобретения достигается за счет свободнопоршневого компрессора с электромагнитным приводом, содержащим ресивер переменного объема, полый цилиндрический корпус, поршень, установленный в полости цилиндрического корпуса, впускной клапан с корпусом и расположенным в корпусе последнего подпружиненным запорным элементом, выполненным со сквозным осевым каналом, клапан выхода сжатого газа с подпружиненным запорным элементом, размещенным в осевом канале запорного элемента впускного клапана, радиатор охлаждения сжатого газа в виде полой втулки, установленной коаксиально в канале запорного элемента впускного клапана, штуцер отвода сжатого газа, трубку подачи сжатого газа в ресивер, сообщенную со штуцером отвода сжатого газа, причем полость цилиндрического корпуса выполнена с возможностью сообщения с ресивером через клапан выхода сжатого газа, штуцер отвода сжатого газа и трубку подачи сжатого газа в ресивер, а через впускной клапан и фильтр с атмосферой, при этом ресивер включает в себя несущую раму с закрепленной внутри нее направляющей осью, размещенный на направляющей оси кожух, образованный выполненной с возможностью перемещения вдоль направляющей оси гофрированной оболочкой с наружным и внутренним кольцами жесткости и связанными с ней подвижной торцевой оболочкой и неподвижной торцевой оболочкой со штуцером входа и выхода газа, уплотнительный элемент, узел изменения объема кожуха, выполненный в виде двух тросов, вала с закрепленной на нем ленточной пружиной и червячного редуктора натяжения ленточной пружины, связанного с валом, причем одни концы тросов связаны с ленточной пружиной, а вторые концы – с подвижной торцевой оболочкой, уплотнительный элемент размещен вместе сопряжения подвижной торцевой оболочки и направляющей оси, а электромагнитный привод включает в себя, по меньшей мере, одну электромагнитную катушку с витком управления последней, размещенную снаружи цилиндрического корпуса.
Уплотнительный элемент может быть выполнен в виде сальника.
Поршень может быть выполнен, по меньшей мере, с одним компрессионным кольцом.
Свободнопоршневой компрессор может быть снабжен гильзой, размещенной в корпусе впускного клапана.
Впускной клапан и клапан выхода сжатого газа могут быть снабжены упорными шайбами.
Фильтр может быть выполнен в виде корпуса, фильтрующего элемента, размещенного в корпусе, и сетки.
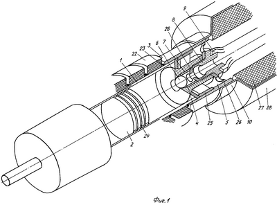
На фиг.1 изображен общий вид свободнопоршневого компрессора с электромагнитным приводом.
На фиг.2 изображен общий вид ресивера.
Свободнопоршневой компрессор с электромагнитным приводом (фиг.1) содержит ресивер переменного объема (фиг.2), полый цилиндрический корпус 1, поршень 2, установленный в полости цилиндрического корпуса 1, впускной клапан с корпусом 3, седлом и расположенным в корпусе 3 впускного клапана запорным элементом 4 с пружиной 5, выполненным со сквозным осевым каналом, клапан выхода сжатого газа с подпружиненным запорным элементом 6, размещенным в осевом канале запорного элемента 4 впускного клапана, радиатор 7 охлаждения сжатого газа в виде полой втулки, установленной коаксиально в сквозном канале запорного элемента 4 впускного клапана, штуцер 8 отвода сжатого газа, трубку 9 подачи сжатого газа в ресивер, сообщенную со штуцером 8 отвода сжатого газа. Полость цилиндрического корпуса 1 выполнена с возможностью сообщения с ресивером через клапан выхода сжатого газа, штуцер 8 отвода сжатого газа и трубку 9 подачи сжатого газа в ресивер, а через впускной клапан и фильтр 10 с атмосферой. Ресивер (фиг.2) включает в себя несущую раму 11 с закрепленной внутри нее направляющей осью 12, размещенный на направляющей оси 12 кожух, образованный выполненной с наружным и внутренним кольцами 13 и 14 жесткости и с возможностью перемещения вдоль направляющей оси 12 гофрированной оболочкой 15 с и связанными с ней подвижной торцевой оболочкой 16 и неподвижной торцевой оболочкой 17 со штуцером входа и выхода газа (не показан), уплотнительный элемент 18, узел изменения объема кожуха, выполненный в виде регулируемой пружины 19, двух тросов 20, вала (не показан) с закрепленной на нем ленточной пружиной 19 и червячного редуктора 21 натяжения ленточной пружины 19, связанного с валом. Одни концы тросов 20 связаны с ленточной пружиной 19, а вторые концы – с подвижной торцевой оболочкой 16. Уплотнительный элемент 18 размещен вместе сопряжения подвижной торцевой оболочки 16 и направляющей оси 12. Электромагнитный привод включает в себя, по меньшей мере, одну электромагнитную катушку 22 с витком 23 управления последней, размещенную снаружи цилиндрического корпуса 1. Уплотнительный элемент 18 может быть выполнен в виде сальника. Поршень 2 может быть выполнен, по меньшей мере, с одним компрессионным кольцом 24. Свободнопоршневой компрессор может быть снабжен гильзой 25, размещенной в корпусе 3 впускного клапана. Впускной клапан и клапан выхода сжатого газа могут быть снабжены упорными шайбами 26. Фильтр 10 может быть выполнен в виде корпуса, фильтрующего элемента 27, размещенного в корпусе, и сетки 28.
Принцип работы.
Из блока управления электромагнитным приводом через управляющий тиристор подается напряжение в электромагнитную катушку 22. Свободный поршень 2 начинает в нее втягиваться. Как только поршень 2 вошел в электромагнитную катушку 22, виток 24 управления отключает в ней напряжение и одновременно включает следующую электромагнитную катушку 22, и поршень 2 начинает втягиваться в эту катушку 22 и т.д. При достижении поршнем 2 последней катушки 22 виток 23 управления переключает процесс в обратном направлении. При движении поршня 2 с одной стороны происходит сжатие газов (жидкости), а с другой стороны всасывание газа (жидкости) в полость цилиндрического корпуса 1. Клапанная система свободнопоршневого компрессора (насоса) может иметь абсолютно различные варианты. Вал (не показан) с закрепленной на нем ленточной пружиной 19 приводится в действие червячным редуктором 21. Редуктор 21 закреплен к неподвижной торцевой оболочке 17 и регулируется в зависимости от заданного давления.
Формула изобретения
1. Свободнопоршневой компрессор с электромагнитным приводом, содержащий ресивер переменного объема, полый цилиндрический корпус, поршень, установленный в полости цилиндрического корпуса, впускной клапан с корпусом и расположенным в корпусе последнего подпружиненным запорным элементом, выполненным со сквозным осевым каналом, клапан выхода сжатого газа с подпружиненным запорным элементом, размещенным в осевом канале запорного элемента впускного клапана, радиатор охлаждения сжатого газа в виде полой втулки, установленной коаксиально в канале запорного элемента впускного клапана, штуцер отвода сжатого газа, трубку подачи сжатого газа в ресивер, сообщенную со штуцером отвода сжатого газа, причем полость цилиндрического корпуса выполнена с возможностью сообщения с ресивером через клапан выхода сжатого газа, штуцер отвода сжатого газа и трубку подачи сжатого газа в ресивер, а через впускной клапан и фильтр с атмосферой, при этом ресивер включает в себя несущую раму с закрепленной внутри нее направляющей осью, размещенный на направляющей оси кожух, образованный выполненной с возможностью перемещения вдоль направляющей оси гофрированной оболочкой с наружным и внутренним кольцами жесткости и связанными с ней подвижной торцевой оболочкой и неподвижной торцевой оболочкой со штуцером входа и выхода газа, уплотнительный элемент, узел изменения объема кожуха, выполненный в виде двух тросов, вала с закрепленной на нем ленточной пружиной и червячного редуктора натяжения ленточной пружины, связанного с валом, причем одни концы тросов связаны с ленточной пружиной, а вторые концы – с подвижной торцевой оболочкой, уплотнительный элемент размещен в месте сопряжения подвижной торцевой оболочки и направляющей оси, а электромагнитный привод включает в себя, по меньшей мере, одну электромагнитную катушку с витком управления последней, размещенную снаружи цилиндрического корпуса.
2. Свободнопоршневой компрессор по п.1, отличающийся тем, что уплотнительный элемент выполнен в виде сальника.
3. Свободнопоршневой компрессор по п.1, отличающийся тем, что поршень выполнен, по меньшей мере, с одним компрессионным кольцом.
4. Свободнопоршневой компрессор по п.1, отличающийся тем, что снабжен гильзой, размещенной в корпусе впускного клапана.
5. Свободнопоршневой компрессор по п.1, отличающийся тем, что впускной клапан и клапан выхода сжатого газа снабжены упорными шайбами.
6. Свободнопоршневой компрессор по п.1, отличающийся тем, что фильтр выполнен в виде корпуса, фильтрующего элемента, размещенного в корпусе, и сетки.
РИСУНКИ
MM4A – Досрочное прекращение действия патента СССР или патента Российской Федерации на изобретение из-за неуплаты в установленный срок пошлины за поддержание патента в силе
Дата прекращения действия патента: 25.03.2007
Извещение опубликовано: 20.06.2008 БИ: 17/2008
NF4A – Восстановление действия патента СССР или патента Российской Федерации на изобретение
Дата, с которой действие патента восстановлено: 20.06.2008
Извещение опубликовано: 20.06.2008 БИ: 17/2008
|
|