|
|
(21), (22) Заявка: 2003131314/06, 24.10.2003
(24) Дата начала отсчета срока действия патента:
24.10.2003
(43) Дата публикации заявки: 10.04.2005
(46) Опубликовано: 27.01.2007
(56) Список документов, цитированных в отчете о поиске:
RU 2168055 С2, 27.05.2001. RU 2084682 C1, 20.07.1997. SU 188218 A, 20.10.1966. RU 2162543 C2, 27.01.2001. SU 1560770 A1, 30.04.1990. JP 1053057 A, 01.03.1989. US 3997117 А, 14.12.1976. DE 4408245 A1, 14.09.1995.
Адрес для переписки:
390014, г.Рязань, Военный автомобильный институт, НИО, А.Д. Герасимову
|
(72) Автор(ы):
Швец Эльмир Александрович (RU), Герасимов Александр Дмитриевич (RU), Кушнарев Андрей Владимирович (RU), Григорьев Андрей Владимирович (RU), Татарнов Валентин Павлович (RU), Гуляев Виктор Викторович (RU)
(73) Патентообладатель(и):
Военный автомобильный институт (RU)
|
(54) ФОРСУНКА ДЛЯ ВПРЫСКИВАНИЯ ТОПЛИВА ПРИ БЕССЛИВНОМ ПРОЦЕССЕ ТОПЛИВОПОДАЧИ
(57) Реферат:
Изобретение относится к области двигателестроения, в частности к топливным форсункам. Изобретение позволяет увеличить мощность и экономичность дизеля и снизить токсичность его отработавших газов. Форсунка для впрыскивания топлива при бессливном процессе топливоподачи в цилиндр двигателя внутреннего сгорания содержит корпус, пружину, толкатель, проставку, распылитель форсунки с запорной иглой, топливоподводящий канал для подвода топлива к распылителю. В корпусе выполнен дополнительный топливный канал, соединенный с топливоподводящим каналом. В средней части корпуса форсунки размещен клапан тарельчатого типа с пружиной, соединяющий дополнительный топливный канал с полостью, в которой расположена пружина иглы. 1 ил.
Изобретение относится к области двигателестроения и, в частности, может использоваться в дизелях.
Известна форсунка для впрыскивания топлива при бессливном процессе топливоподачи в цилиндр двигателя внутреннего сгорания (патент РФ №2168055, МПК F 02 M 61/00 от 21.05.2001 г.), содержащая корпус, пружину, толкатель, проставку, распылитель форсунки с запорной иглой, клапан шарикового типа, установленный в проставке и на поверхности проставки, прилегающий к распылителю, выполнена кольцевая канавка, соединяющая канал подвода топлива к распылителю с полостью корпуса форсунки через клапан шарикового типа.
Указанная конструкция форсунки является наиболее близкой по технической сущности к предлагаемому устройству и выбрана в качестве прототипа.
Однако известная форсунка обладает недостаточной надежностью в работе, т.к. перед впрыскиванием топлива в цилиндр дизеля объем полости размещения пружины иглы полностью заполнен топливом. При впрыскивании топлива в цилиндр дизеля игла форсунки будет перемещаться вверх, при этом объем в полости размещения пружины уменьшается, а давление топлива возрастает. Давление топлива, действующее на верхние торцы иглы, будет препятствовать быстрому перемещению последней вверх в начале впрыскивания топлива в цилиндр двигателя. В конце впрыскивания топлива игла будет опускаться в седло с повышенной скоростью. Это приведет к сокращению времени впрыскивания топлива в цилиндр дизеля, к искажению заданной крутизны переднего и заднего фронтов характеристики впрыскивания, к износу опорных конусов иглы и распылителя, к уменьшению количества впрыскиваемого топлива и, как следствие, к снижению мощности и экономичности двигателя, к перебоям в его работе.
Увеличение сил, действующих на верхний торец иглы форсунки, способствует более быстрой посадке иглы в седло и сокращению продолжительности конечной фазы впрыскивания топлива в цилиндр двигателя. Однако чрезмерное увеличение силы предварительной затяжки пружины иглы и силы давления топлива, действующих на иглу со стороны полости размещения пружины иглы, увеличивает сопротивление распылителя и скорость посадки иглы, что может привести к преждевременному разрушению поверхностей опорных конусов иглы и распылителя [3].
При пуске дизеля не будет обеспечена заданная величина пусковой подачи, что приведет к невозможности пуска дизеля.
Технический результат направлен на повышение эффективности процесса топливоподачи дизеля с целью увеличения его мощности и экономичности.
Технический результат достигается тем, что форсунка для впрыскивания топлива при бессливном процессе топливоподачи в цилиндр двигателя внутреннего сгорания, содержащая корпус, пружину, толкатель, проставку, распылитель форсунки с запорной иглой, топливоподводящий канал для подвода топлива к распылителю, при этом в корпусе выполнен дополнительный топливный канал, соединенный с топливоподводящим каналом, в средней части корпуса форсунки размещен клапан тарельчатого типа с пружиной, соединяющий дополнительный топливный канал с полостью, в которой расположена пружина иглы.
Отличительным признаком от прототипа является то, что в корпусе дополнительно выполнен топливный канал, соединенный с топливоподводящим каналом, в средней части корпуса форсунки размещен клапан тарельчатого типа с пружиной, соединяющий дополнительный топливный канал с полостью, в которой расположена пружина иглы с возможностью открытия клапана при подходе к нему волн разрежения, образующихся в топливопроводе высокого давления и в топливоподводящих каналах форсунки в промежутках между впрыскиванием топлива в цилиндр [1, 2]. При этом топливо из полости размещения пружины иглы перетекает в топливоподводящий канал.
В случае подхода волны давления тарельчатый клапан закрывается и топливо, нагнетаемое топливным насосом высокого давления, через топливоподводящий канал форсунки подводится к распылителю и впрыскивается в цилиндр.
Применение клапана тарельчатого типа обеспечивает большую его чувствительность по сравнению с клапаном шарикового типа при его открытии в случае воздействия на его верхнюю часть разрежения, передаваемого из топливоподводящего канала форсунки. Это объясняется тем, что наружный диаметр тарелки значительно больше диаметра его стержня. Следовательно, разница давлений, действующих на стержень клапана и его тарелку при открытии клапана, будет значительно больше, чем при применении клапана шарикового типа.
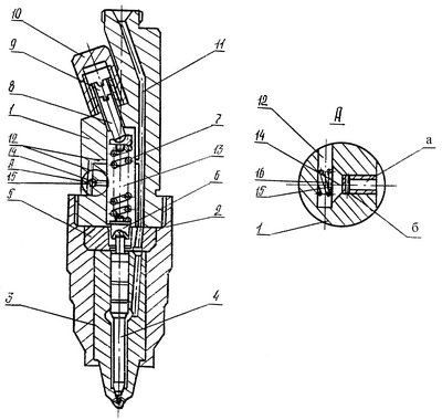
На чертеже представлена форсунка для впрыскивания топлива при бессливном процессе топливоподачи.
Форсунка для впрыскивания топлива при бессливном процессе топливоподачи содержит: корпус 1, гайку распылителя 2, распылитель 3 с иглой 4, проставку 5, штангу 6, пружину иглы 7, регулировочный винт 8, стопорный винт 9 и колпак 10.
Гайка распылителя 2 предназначена для соединения распылителя 3 с корпусом 1 форсунки, а проставка 5 для фиксации распылителя 3 относительно корпуса 1 форсунки.
В корпусе 1 форсунки выполнен топливоподводящий канал 11, а также канал 12, предназначенный для отвода из полости 13, при этом канал 12 соединен с топливоподводящим каналом 11. В полости 13 размещена пружина 7 иглы 4. В эту полость просачивается топливо по зазору между иглой 4 и распылителем 3 как при впрыскивании топлива в цилиндр, так и в промежутках времени между повторяющимися впрыскиваниями. В средней части корпуса 1 устанавливается клапан тарельчатого типа 14 с пружиной 16. Клапан тарельчатого типа 14 предназначен для удаления топлива из полости 13 пружины 7 при нахождении иглы 4 в седле распылителя 3 и полости нагнетательного клапана секции топливного насоса высокого давления в седле. Диаметр внешней тарелки клапана 14 имеет значительно больший диаметр по сравнению с диаметром стержня. Такое конструктивное решение обеспечивает значительное увеличение силы, действующей на тарелку клапана 14 в момент его открытия при воздействии на него волны разрежения.
Для ограничения хода клапана 14 и смягчения его ударов о корпус 1 на тарелке клапана размещен упор 15, выполненный из бензостойкой резины.
Клапан тарельчатого типа 14 имеет осевое а и радиальное б отверстия.
Форсунка для впрыскивания топлива при бессливном процессе топливоподачи работает следующим образом.
При подаче топлива секцией топливного насоса высокого давления в топливоподводящий канал 11 корпуса 1 форсунки топливо движется по этому каналу к распылителю 3, а по каналу 12 давление топлива передается к клапану тарельчатого типа 14. Давление топлива воздействует на тарелку клапана 14, клапан 14 садится в седло, выполненное в корпусе 1 форсунки. При этом внутренняя полость 13, в которой размещена пружина 7 иглы, отделяется от топливоподводящего канала 11 и топливо впрыскивается при поднятии иглы 4 в цилиндры дизеля, а часть топлива просачивается между иглой 4 и распылителем 3 во внутреннюю полость 13.
После окончания подачи топлива секцией топливного насоса высокого давления игла 4 опускается в седло распылителя 3 под действием пружины 7, а нагнетательный клапан секции топливного насоса высокого давления также опускается в свое седло. При этом в топливопроводе высокого давления и в топливоподводящем канале 11, выполненном в корпусе 1 форсунки, возникают волны давления и разрежения [1,2]. При образовании волны разрежения в топливоподводящем канале 1 разрежение передается по каналу 12 к клапану тарельчатого типа 14 и под действием разности давлений в полости 13 и в канале 12 клапан 14 перемещается влево до соприкосновения упора 15 клапана 14 с поверхностью канала 12.
При этом топливо из полости 13 размещения пружины 7 будет перетекать через осевое а и радиальное б отверстия клапана 14 в канал 12 и через последний в топливоподводящий канал 11. Уровень топлива в полости 13 не может быть выше места расположения клапана 14.
При подходе волны давления клапан 14 садится в седло и тем самым исключается перетекание топлива из каналов 11 и 12 в полость 13 размещения пружины 7. Поскольку волны разрежения несколько раз в промежутках между процессами впрыскивания топлива в цилиндр двигателя возвращаются к клапану 14, соответственно и несколько раз происходит его открытие. Поэтому процесс перепуска топлива из полости 13 в канал 11 и 12 периодически повторяется. Это способствует сливу топлива из полости 13 корпуса 1 форсунки с целью исключения сопротивления при открытии иглы 4 и увеличения количества впрыскиваемого в цилиндры топлива.
В случае работы дизеля на больших нагрузках и малых частотах вращения коленчатого вала, а также при применении легких топлив количество просочившегося топлива между иглой и распылителем в полость 13 корпуса 1 будет увеличиваться и применение данной конструкции форсунки обеспечит надежную работу дизеля за счет удаления топлива из полости 13 в топливоподводящий канал 11.
Таким образом, тарельчатый клапан периодически открывается после посадки иглы форсунки в седло распылителя под действием волн разрежения, образующихся в топливопроводе высокого давления и топливоподводящем канале форсунки.
Предлагаемая конструкция форсунки обеспечивает увеличение количества впрыскиваемого в цилиндр топлива и заданную крутизну переднего и заднего фронтов характеристики впрыскивания за счет уменьшения сопротивления при поднятии иглы, а следовательно, позволяет увеличить мощность и экономичность дизеля.
Источники информации
1. В.В.Горбунов, Н.Н.Патрахальцев. Токсичность двигателей внутреннего сгорания. – М: Издательство Российского университета дружбы народов, 1998. – 214 с.
3. Б.Н.Файнлеб. Топливная аппаратура автотракторных дизелей. Справочник. – Л.: Машиностроение, 1974. – 263 с.
Формула изобретения
Форсунка для впрыскивания топлива при бессливном процессе топливоподачи в цилиндр двигателя внутреннего сгорания, содержащая корпус, пружину, толкатель, проставку, распылитель форсунки с запорной иглой, топливоподводящий канал для подвода топлива к распылителю, отличающаяся тем, что в корпусе выполнен дополнительный топливный канал, соединенный с топливоподводящим каналом, в средней части корпуса форсунки размещен клапан тарельчатого типа с пружиной, соединяющий дополнительный топливный канал с полостью, в которой расположена пружина иглы.
РИСУНКИ
MM4A – Досрочное прекращение действия патента СССР или патента Российской Федерации на изобретение из-за неуплаты в установленный срок пошлины за поддержание патента в силе
Дата прекращения действия патента: 25.10.2007
Извещение опубликовано: 10.07.2009 БИ: 19/2009
|
|