|
|
(21), (22) Заявка: 2004100346/06, 05.01.2004
(24) Дата начала отсчета срока действия патента:
05.01.2004
(43) Дата публикации заявки: 10.06.2005
(46) Опубликовано: 27.01.2007
(56) Список документов, цитированных в отчете о поиске:
RU 2078980 C1, 10.05.1997. RU 2079694 С1, 20.05.1997. SU 842211 A, 30.06.1981. SU 1267035 А1, 30.10.1986. SU 1634768 A1, 07.01.1988. DE 3731206 А1, 30.03.1989. DE 3213210 А1, 13.10.1983. GB 1145804 А, 19.03.1969. DE 10044514 А1, 15.03.2001. ЕР 0441738 А2, 14.08.1991.
Адрес для переписки:
390014, г.Рязань, Военный автомобильный институт, НИО, А.Д. Герасимову
|
(72) Автор(ы):
Невдах Михаил Александрович (RU), Крайнюков Андрей Викторович (RU), Рябцовских Иван Васильевич (RU), Швец Эльмир Александрович (RU), Герасимов Александр Дмитриевич (RU), Кушнарев Андрей Владимирович (RU)
(73) Патентообладатель(и):
Военный автомобильный институт (RU)
|
(54) СИСТЕМА ДЛЯ ПОДАЧИ ТОПЛИВА В ДИЗЕЛЬ
(57) Реферат:
Изобретение относится к двигателестроению, в частности, к топливной аппаратуре дизельных двигателей внутреннего сгорания. Технический результат направлен на улучшение характеристики впрыскивания топлива в цилиндры дизеля с целью улучшения его пусковых свойств, а также увеличения мощностных, экономических и экологических показателей и повышения надежности его работы. Система для подачи топлива в дизель содержит насос высокого давления, топливопровод, форсунку с запорным органом, пружиной, подвижным элементом, выполненным в виде поршня, размещенного в гидравлической камере. В форсунке выполнен соединительный канал, сообщающий гидравлическую камеру с топливоподводящим каналом форсунки, причем в топливоподводящем канале размещен топливный жиклер. На нижнем конусе запорного органа закреплена прокладка, изготовленная из тепломаслобензостойкой резины. Распыливающие отверстия распылителя выполнены в виде конических сходящихся насадков. 1 ил.
Изобретение относится к области двигателестроения.
Известна система для подачи топлива в дизель (Патент РФ №2078980, опубл. 10.05.1997 г.), содержащая насос высокого давления, топливопровод, форсунку с запорным органом, пружиной, подвижным элементом, выполненным в виде поршня, размещенного в гидравлической камере, в форсунке выполнен соединительный канал, сообщающий гидравлическую камеру с кольцевой проточкой на направляющей распылителя, при этом кольцевая проточка выполнена на направляющей запорного органа, обеспечивающая поступление просачивающегося топлива в полость над поршнем, подаваемого к форсунке топливным насосом высокого давления (ТНВД).
Недостатками данной системы являются недостаточное быстродействие при изменении частоты вращения коленчатого вала двигателя вследствие малой просачиваемости топлива через зазоры в прецизионной паре (запорный орган – распылитель), а также усиленный износ запорных конусов распылителя и запорного органа на повышенной частоте вращения коленчатого вала двигателя из-за посадки с большой скоростью запорного органа в седло распылителя. Последнее обстоятельство связано с увеличением жесткости пружины иглы форсунки.
Технический результат направлен на улучшение характеристики впрыскивания топлива в цилиндры дизеля, с целью улучшения его пусковых свойств, а также увеличения мощностных, экономических и экологических показателей и повышения надежности его работы.
Технический результат достигается тем, что система для подачи топлива в дизель, содержащая насос высокого давления, топливопровод, форсунку с запорным органом, пружиной, подвижным элементом, выполненным в виде поршня, размещенного в гидравлической камере, при этом в форсунке выполнен соединительный канал, сообщающий гидравлическую камеру с топливоподводящим каналом форсунки, причем в топливоподводящем канале размещен топливный жиклер, на нижнем конусе запорного органа закреплена прокладка, изготовленная из тепломаслобензостойкой резины, а распыливающие отверстия распылителя выполнены в виде конических сходящихся насадков.
Отличительными признаками от прототипа является то, что в форсунке выполнен соединительный канал, сообщающий гидравлическую камеру с топливоподводящим каналом форсунки, причем в топливоподводящем канале размещен топливный жиклер, на нижнем конусе запорного органа закреплена прокладка, изготовленная из тепломаслобензостойкой резины, а распыливающие отверстия распылителя выполнены в виде конических сходящихся насадков.
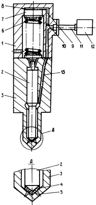
На чертеже изображена система для подачи топлива в дизель. Система для подачи топлива в дизель содержит: форсунку 1 с запорным органом 2, установленным в распылителе 3. К нижнему конусу запорного органа 2 прикреплена прокладка 4, изготовленная из теплостойкой маслобензостойкой резины. Установка прокладки 4 позволит уменьшить ударные нагрузки запорного органа 2 при его посадке в седло распылителя 3. При этом уменьшается ход запорного органа 2, что также уменьшает силу инерции, действующую на запорный орган 2 при его посадке, следовательно, уменьшается износ конусов распылителя 3 и запорного органа 2. В то же время уменьшение величины открытия запорного органа 2 приводит к уменьшению проходного сечения для протекания топлива между прокладкой 4 и распылителем 3, к увеличению гидравлического сопротивления истечению топлива и, как следствие, к потере напора. Для обеспечения одинакового расхода топлива в заявляемой системе по сравнению с прототипом и при меньшем напоре, распыливающие отверстия 5 выполнены в виде конических сходящихся насадков.
Объемный расход топлива, вытекающего из конических сходящихся насадков, определяется по такой же формуле, как и из внешнего цилиндрического насадка [1].

где Q – объемный расход топлива, м3/с;
– коэффициент расхода;
f – суммарная площадь поперечных сечений распиливающих отверстий 5 распылителя 3, м2;
g – ускорение свободного падения, м2/с;
Н – напор истечения, м.
Так как коэффициент расхода для конического сходящегося насадка ( =0,95) значительно больше коэффициента расхода для внешнего цилиндрического насадка ( =0,82), то при той же площади поперечного сечения f при меньшем напоре Н объемный расход топлива для конического сходящегося насадка будет таким же, как и у внешнего цилиндрического насадка. Скорость истечения топлива из внешнего цилиндрического насадка будет также выше по сравнению с внешним цилиндрическим насадком. Этот фактор также будет благоприятно влиять на распыливание топлива, на условия протекания смесеобразования и сгорания.
Система для подачи топлива в дизель также содержит пружину 6 для нагружения запорного органа 2, подвижный элемент 7, выполненный в виде поршня, расположенного в гидравлической камере 8, соединительный канал 9 с установленным в нем топливным жиклером 10. Соединительный канал 9 сообщает топливоподводящий канал 13 форсунки 1 с гидравлической камерой 8. Форсунка 1 соединена нагнетательным трубопроводом 11 с насосом высокого давления 12. Прокладка 4 на конце запорного органа 2 распылителя 3 обеспечивает лучшую герметизацию отверстий распылителя и исключает подтекания топлива и закоксовывание отверстий, увеличивая тем самым надежность работы форсунки.
Система для подачи топлива в дизель работает следующим образом.
При пуске двигателя и его работе на минимальной частоте вращения коленчатого вала двигателя, топливо от ТНВД 12 по топливопроводу 11 поступает к форсунке 1 и далее по каналу 13 поступает в полость распылителя 3. Одновременно топливо через топливный жиклер 10, канал 9 поступает в гидравлическую камеру 8, воздействует на поршень 7, перемещая его вниз и дополнительно нагружая пружину 6. Вследствие увеличения жесткости пружины 6, необходимо создать большее давление для подъема запорного органа 2 распылителя 3, что и требуется при пуске дизеля, так как большее давление впрыскивания топлива обеспечивает лучшее его распыливание, что способствует более лучшему смесеобразованию и полному сгоранию топлива. Кроме того, распыливающие отверстия 5, выполненные в виде конических сходящихся насадков обеспечивают при одном и том же давлении увеличение скорости истечения топлива, также благоприятно сказывается на распыливании топлива, смесеобразовании и полноте сгорания топлива рабочей смеси.
Все вышеупомянутые факторы благоприятно влияют на обеспечение надежного пуска дизеля и на его устойчивую работу на режиме минимальной частоты вращения коленчатого вала двигателя.
При увеличении частоты вращения коленчатого вала двигателя и увеличении нагрузки, вследствие увеличения скорости движения плунжера секции ТНВД, давление топлива в топливоподводящем 13 и соединительном 9 каналах возрастает. Увеличение давления в соединительном канале 9 приводит к увеличению силы давления топлива, действующего на поршень 7, который опускается вниз, сжимая пружину 6. Так как жесткость пружины 6 увеличивается, то давление впрыскивания топлива также возрастает. При этом обеспечиваются оптимальные условия для смесеобразования, так как улучшается распыливание струй топлива, вытекающих из распыливающих отверстий форсунки, как за счет увеличения скорости истечения топлива, так и за счет увеличения скорости движения воздушного заряда в камере сгорания.
Таким образом, в камере сгорания создаются благоприятные условия для сгорания рабочей смеси, что позволит повысить мощность, экономичность и надежность работы дизеля на различных режимах работы дизеля, а также улучшить его экологические показатели за счет снижения в отработавших газах продуктов неполного сгорания топлива.
Вследствие того, что при увеличении частоты вращения коленчатого вала двигателя увеличивается жесткость пружины 6 запорного органа 2, то последний будет опускаться в седло распылителя 3 с повышенной скоростью. Но в связи с тем, что на запорном конусе запорного органа 2 закреплена прокладка 4 и запорный орган 2 имеет небольшой ход, то ударные нагрузки при посадке иглы в седло запорного органа 2 возникать не будут.
Таким образом, заявляемая система топливоподачи топлива в дизель обеспечивает изменение жесткости пружины иглы форсунки на различных режимах работы дизеля, тем самым изменяет давление и скорость впрыскивания топлива, а также исключает ударные нагрузки при посадке запорного органа 2 в седло распылителя 3. При этом повышается мощность, экономичность и надежность работы дизеля, а также улучшаются его экологические характеристики.
Источник информации:
1. Башта Т.М. Гидравлика и гидравлические машины. М.: Машиностроение, 1982. – 423.
Формула изобретения
Система для подачи топлива в дизель, содержащая насос высокого давления, топливопровод, форсунку с запорным органом, пружиной, подвижным элементом, выполненным в виде поршня, размещенного в гидравлической камере, отличающаяся тем, что в форсунке выполнен соединительный канал, сообщающий гидравлическую камеру с топливоподводящим каналом форсунки, причем в топливоподводящем канале размещен топливный жиклер, на нижнем конусе запорного органа закреплена прокладка, изготовленная из тепломаслобензостойкой резины, а распыливающие отверстия распылителя выполнены в виде конических сходящихся насадков.
РИСУНКИ
MM4A – Досрочное прекращение действия патента СССР или патента Российской Федерации на изобретение из-за неуплаты в установленный срок пошлины за поддержание патента в силе
Дата прекращения действия патента: 06.01.2008
Извещение опубликовано: 27.07.2009 БИ: 21/2009
|
|