|
|
(21), (22) Заявка: 2004100342/06, 05.01.2004
(24) Дата начала отсчета срока действия патента:
05.01.2004
(43) Дата публикации заявки: 10.06.2005
(46) Опубликовано: 27.01.2007
(56) Список документов, цитированных в отчете о поиске:
RU 2079694 C1, 20.05.1997. RU 99112961 А, 10.04.2001. RU 2078980 C1, 10.05.1997. JP 55049571 А, 10.04.1980. JP 58148265 A, 03.09.1983. JP 58107869 A, 27.06.1983.
Адрес для переписки:
390014, г.Рязань, Рязанский военный автомобильный институт, НИО, А.Д. Герасимову
|
(72) Автор(ы):
Камышенцев Юрий Иванович (RU), Крайнюков Андрей Викторович (RU), Швец Эльмир Александрович (RU), Герасимов Александр Дмитриевич (RU), Рябцовских Иван Васильевич (RU), Кушнарев Андрей Владимирович (RU)
(73) Патентообладатель(и):
Рязанский военный автомобильный институт (RU)
|
(54) СИСТЕМА ДЛЯ ПОДАЧИ ТОПЛИВА В ДИЗЕЛЬ
(57) Реферат:
Изобретение относится к двигателестроению, в частности к топливной аппаратуре дизелей. Технический результат направлен на повышение надежности работы системы для подачи топлива в дизель на различных режимах работы двигателя, на увеличение мощности и экономичности дизеля, на улучшение его пуска, на снижение дымности и токсичности отработавших газов. Система для подачи топлива в дизель содержит насос высокого давления, топливопровод, форсунку с запорным органом, пружиной, подвижным элементом, выполненным в виде поршня, размещенного в камере. Поршень выполнен за одно целое со штоком, вокруг которого установлена электрическая обмотка, соединенная одним концом с отрицательным полюсом генератора, а другим концом – с положительным. В верхней части камеры установлен регулируемый упор, а между поршнем и регулируемым упором размещена дополнительная пружина. 1 ил.
Изобретение относится к двигателестроению, в частности к топливной аппаратуре дизелей.
Известна система для подачи топлива в дизель (патент РФ №2078980, МПК F 02 M 47/02, 1997), содержащая насос высокого давления, топливопровод, форсунку с запорным органом, пружиной, подвижным элементом, выполненным в виде поршня, размещенного в гидравлической камере, при этом в форсунке выполнен соединительный канал, сообщающий гидравлическую камеру с кольцевой проточкой на направляющей распылителя.
Однако известная система для подачи топлива в дизель не обладает необходимой надежностью в работе, т.к. при изменении скоростного режима работы двигателя количество перетекающего топлива между запорным органом и распылителем незначительное вследствие небольшого зазора между указанными деталями. Следовательно, степень и скорость изменения воздействия на подвижный элемент будут недостаточными для создания необходимого усилия со стороны подвижного элемента на силу упругости пружины.
Наименьшее давление начала впрыскивания топлива у прототипа будет на режиме малых цикловых подач и минимальной частоте вращения коленчатого вала, а наибольшее при возрастании частоты вращения. Но с целью оптимизации характеристик впрыскивания топлива давление впрыскивания при увеличении частоты вращения коленчатого вала должно уменьшаться [1, с.52, рис.1.16].
Угол опережения начала впрыскивания топлива с увеличением частоты вращения коленчатого вала у прототипа уменьшается в связи с уменьшением силы затяжки пружины, что также не соответствует предъявляемым требованиям к системе для подачи топлива в дизель [1].
Несоответствие углов опережения впрыскивания топлива и давления начала впрыскивания приводит к снижению мощности и экономичности дизеля, увеличению дымности и токсичности отработавших газов, к затруднению пуска дизеля, к уменьшению надежности его работы на различных режимах.
Технический результат направлен на повышение надежности работы системы подачи топлива в дизель на различных режимах работы двигателя, на увеличение мощности и экономичности дизеля, на улучшение его пуска, на снижение дымности и токсичности отработавших газов.
Технический результат достигается тем, что система для подачи топлива в дизель, содержащая насос высокого давления, топливопровод, форсунку с запорным органом, пружиной, подвижным элементом, выполненным в виде поршня, размещенного в камере, при этом поршень выполнен за одно целое со штоком, вокруг которого установлена электрическая обмотка, соединенная одним концом с отрицательным полюсом генератора, а другим концом – с положительным, при этом в верхней части камеры установлен регулируемый упор, а между поршнем и регулируемым упором размещена дополнительная пружина.
Отличительными признаками от прототипа является то, что поршень выполнен за одно целое со штоком, вокруг которого установлена электрическая обмотка, соединенная одним концом с отрицательным полюсом генератора, а другим – с положительным, при этом в верхней части камеры установлен регулируемый упор, а между поршнем и регулируемым упором размещена дополнительная пружина.
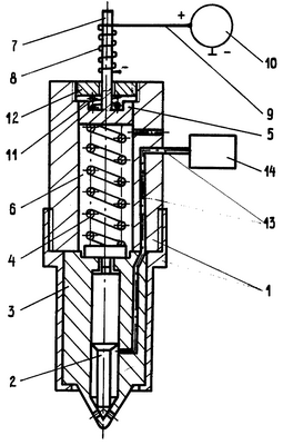
На чертеже изображена система для подачи топлива в дизель.
Система для подачи топлива в дизель содержит форсунку 1 с запорным органом 2, установленным в распылителе 3, пружину 4, предназначенную для нагружения запорного органа 2, поршень 5, расположенный в камере 6. Поршень 5 выполнен за одно целое со штоком 7. Вокруг штока 7 размещена электрическая обмотка 8. Шток 7 и электрическая обмотка 8 образуют соленоид. Один конец электрической обмотки 8 соединен электрической цепью 9 с положительным полюсом генератора, а другой – с отрицательным. Над поршнем 5 размещены дополнительная пружина 11 и регулируемый упор 12. При изменении положения регулируемого упора 12, то есть при ввертывании или вывертывании его по резьбе, выполненной в верхней части камеры 6 форсунки 1, изменяется и предварительная затяжка пружин 4 и 11, обусловливающая создание необходимого давления начала впрыскивания топлива в цилиндр дизеля.
Система для подачи топлива в дизель работает следующим образом.
При пуске двигателя частоты вращения коленчатого вала двигателя (nкв=100-200 мин-1) и якоря генератора 10 (nя=150-300 мин-1) незначительны и поэтому сила тока, действующая на шток 7 со стороны электрической обмотки 8, будет недостаточной для преодоления силы упругости дополнительной пружины 11 и перемещения ее вместе с поршнем 5 вверх. Поэтому на запорный орган 2 будут действовать силы упругости пружин 4 и 11. Это обеспечит максимальное давление начала впрыскивания топлива, эффективное его распыливание и смесеобразование в камере сгорания. Эффективное распыливание топлива компенсирует недостаточную скорость движения в камере сгорания воздушного заряда.
При пуске дизеля угол опережения впрыскивания топлива должен быть минимальным [1, с.52], чтобы получить на режиме пуска минимальный период самовоспламенения топлива и улучшить пусковые свойства дизеля и уменьшить жесткость его работы.
При работе дизеля на режиме минимальной частоты вращения коленчатого вала сила тока генератора увеличивается, следовательно, увеличивается и магнитная сила, действующая на шток 7 со стороны электрической обмотки 8. Под действием магнитной силы шток 7 и поршень 5 будут перемещаться вверх. При этом происходит сжатие дополнительной пружины 11 и уменьшение силы упругости пружины 4, что вызовет соответственно уменьшение давления начала впрыскивания топлива и увеличение угла опережения начала впрыскивания. Уменьшение давления начала впрыскивания компенсируется увеличенной скоростью движения воздушного заряда в камере сгорания. Увеличение угла опережения начала впрыскивания топлива при увеличении частоты вращения коленчатого вала позволит отказаться от применения автоматической муфты опережения впрыскивания.
При работе дизеля на режиме максимальной частоты вращения коленчатого вала сила тока генератора 10 возрастет, следовательно, возрастет и магнитная сила, действующая на шток 7 и поршень 5 со стороны электрической обмотки 8. В этом случае шток 7 и поршень 5 будут перемещаться вверх. При этом происходит сжатие дополнительной пружины 11 и соответственно уменьшение силы упругости пружины 4, что приведет к увеличению угла опережения начала впрыскивания топлива. Следовательно, будет выполнятся одно из требований, предъявляемых к системам подачи топлива в дизель [1].
После остановки дизеля якорь генератора 10 останавливается, электрический ток в электрическую обмотку 8 поступать не будет и магнитная сила, действующая на шток 7 поршня 5, исчезнет. Поршень 5 опустится вниз под действием силы упругости дополнительной пружины 11, что обусловит увеличение давления начала впрыскивания топлива, уменьшение угла опережения впрыскивания, и тем самым будут созданы оптимальные условия для надежного самовоспламенения топлива при пуске дизеля.
Таким образом, заявляемая система для подачи топлива в дизель обеспечивает не только увеличение угла опережения начала впрыскивания топлива, но и уменьшение давления впрыскивания топлива при увеличении частоты вращения коленчатого вала двигателя. Тем самым выполняются важнейшие условия оптимизации характеристик впрыскивания топлива [1]. При этом увеличиваются мощность и экономичность дизеля, снижаются дымность и токсичность отработавших газов и повышается надежность работы двигателя на различных режимах его работы.
Источники информации
1. Б.Н.Файнлеб. Топливная аппаратура автотракторных дизелей. Справочник. – Л.: Машиностроение, 1974, – 263 с.
Формула изобретения
Система для подачи топлива в дизель, содержащая насос высокого давления, топливопровод, форсунку с запорным органом, пружиной, подвижным элементом, выполненным в виде поршня, размещенного в камере, отличающаяся тем, что поршень выполнен за одно целое со штоком, вокруг которого установлена электрическая обмотка, соединенная одним концом с отрицательным полюсом генератора, а другим концом – с положительным, при этом в верхней части камеры установлен регулируемый упор, а между поршнем и регулируемым упором размещена дополнительная пружина.
РИСУНКИ
MM4A – Досрочное прекращение действия патента СССР или патента Российской Федерации на изобретение из-за неуплаты в установленный срок пошлины за поддержание патента в силе
Дата прекращения действия патента: 06.01.2008
Извещение опубликовано: 27.07.2009 БИ: 21/2009
|
|