|
|
(21), (22) Заявка: 2005137284/06, 01.12.2005
(24) Дата начала отсчета срока действия патента:
01.12.2005
(46) Опубликовано: 27.01.2007
(56) Список документов, цитированных в отчете о поиске:
SU 1774048 A1, 07.11.1992. SU 1548496 A1, 07.03.1987. SU 1337542 A1, 15.09.1987. SU 1325181 A1, 23.07.1987. RU 2072437 C1, 27.01.1997. DE 10062391 A1, 20.06.2002. DE 3129726 A1, 25.02.1982. RU 2079691 C1, 20.05.1997.
Адрес для переписки:
140180, Московская обл., г. Жуковский, ул. Жуковского, 13, кв.35, В.Г. Павлюкову
|
(72) Автор(ы):
Павлюков Владимир Григорьевич (RU), Павлюкова Екатерина Владимировна (RU), Шимберева Галина Владимировна (RU), Павлюков Владимир Александрович (RU), Пономарев Евгений Иванович (LV), Павлюков Григорий Николаевич (RU), Ларьков Михаил Федорович (RU)
(73) Патентообладатель(и):
Павлюков Владимир Григорьевич (RU), Павлюкова Екатерина Владимировна (RU), Шимберева Галина Владимировна (RU)
|
(54) СПОСОБ ПОДАЧИ ТОПЛИВА В МНОГОТОПЛИВНЫЙ ДВИГАТЕЛЬ ВНУТРЕННЕГО СГОРАНИЯ С ИСКРОВЫМ ЗАЖИГАНИЕМ И СИСТЕМА ПОДАЧИ ТОПЛИВА В МНОГОТОПЛИВНЫЙ ДВИГАТЕЛЬ ВНУТРЕННЕГО СГОРАНИЯ С ИСКРОВЫМ ЗАЖИГАНИЕМ (ВАРИАНТЫ)
(57) Реферат:
Изобретение относится к области двигателестроения и предназначено для использования в двигателях внутреннего сгорания (ДВС) с искровым зажиганием и внешним смесеобразованием, работающих одновременно на нескольких видах топлива. Технический результат заключается в получении дополнительных возможностей управления процессами топливоподачи, смесеобразования и сгорания топлива в камере сгорания двигателя и достижении возможности повышения мощности, экономичности и улучшения динамических свойств двигателя путем использования многотопливной системы топливоподачи двигателя. Способ подачи топлива в многотопливный двигатель внутреннего сгорания с искровым зажиганием заключается в подаче во впускной коллектор двигателя основного топлива газового высокооктанового топлива, и отдельно, по меньшей мере, одного вида жидкого дополнительного топлива, октановое число которого ниже октанового числа основного топлива. При работе двигателя на основном топливе осуществляют измерение температуры отработавших газов. Перед подачей дополнительного топлива в двигатель перемешивают дополнительное топливо с воздухом или основным топливом. Величину подачи дополнительного топлива увеличивают по мере увеличения подачи основного топлива в зависимости от частоты вращения вала двигателя до достижения оптимального соотношения между количествами основного и дополнительного топлива. Для этого осуществляют измерение температуры отработавших газов при работе двигателя на основном и дополнительном топливах, а оптимальное соотношение между количеством основного и дополнительного топлив определяют по величине максимального снижения температуры отработавших газов по сравнению с температурой отработавших газов при работе двигателя только на основном топливе, после чего прекращают увеличивать количество подаваемого в двигатель дополнительного топлива. Раскрыты система, реализующая первый вариант заявленного способа, а также второй вариант способа и система, реализующая второй вариант способа. 4 н. и 27 з.п. ф-лы, 4 ил.
Изобретение относится к области двигателестроения и предназначено для использования в двигателях внутреннего сгорания (ДВС) с искровым зажиганием и внешним смесеобразованием, работающих одновременно на нескольких видах топлива.
Известен наиболее близкий аналог к первому варианту способа подачи топлива в многотопливный двигатель внутреннего сгорания с искровым зажиганием и к первому варианту выполнения системы подачи топлива из патента Российской Федерации №2005904, МПК F 02 M 13/08, опубликованного 15.01.1994. Известный способ заключается в подаче во впускной коллектор двигателя основного топлива – газового высокооктанового топлива, и отдельно, по меньшей мере, одного вида жидкого дополнительного топлива, октановое число которого ниже октанового числа основного топлива, причем перед подачей дополнительного топлива в двигатель перемешивают дополнительное топливо с воздухом и с основным топливом. Из указанного источника информации известна и система подачи топлива, содержащая систему подачи основного топлива – газового высокооктанового топлива, состоящую из последовательно соединенных между собой баллона со сжиженным или сжатым газом, газового редуктора, дросселирующего устройства и дозатора основного топлива, и по меньшей мере одну систему подачи дополнительного топлива – жидкого низкооктанового топлива, октановое число которого ниже октанового числа основного топлива, состоящую из последовательно соединенных между собой бака дополнительного топлива, насоса для подачи дополнительного топлива и дозатора дополнительного топлива.
При испытаниях ДВС по патенту Российской Федерации №2005904 было установлено, что применение дополнительного жидкого топлива с более низким октановым числом, чем штатное жидкое топливо, позволило получить более существенный положительный эффект в части экологических показателей, экономичности, мощности и динамики ДВС.
Недостаток известного технического решения заключается в недостаточно эффективном смесеобразовании нескольких видов топлива с воздухом и между собой и в отсутствии оптимального соотношении между количеством основного газового топлива и количеством дополнительного жидкого топлива, определяемого по температуре отработавших газов при работе двигателя на нескольких видах топлива.
Известен наиболее близкий аналог ко второму варианту способа подачи топлива в многотопливный двигатель внутреннего сгорания с искровым зажиганием и ко второму варианту выполнения системы подачи топлива из патента США №4495930, МПК F 02 B 75/12, опубликованного 29.01.1985. Известный способ заключается в подаче во впускной коллектор двигателя основного топлива – жидкого высокооктанового топлива, и отдельно, по меньшей мере, одного вида жидкого низкооктанового дополнительного топлива, октановое число которого ниже октанового числа основного топлива, перед подачей дополнительного топлива в двигатель перемешивают дополнительное топливо с воздухом, величину подачи дополнительного топлива изменяют по мере изменения подачи основного топлива в зависимости от частоты вращения вала двигателя до достижения оптимального соотношения между количествами основного и дополнительного топлив.
Из указанного источника информации известна и система подачи топлива, содержащая систему подачи основного топлива – жидкого высокооктанового топлива, состоящую из последовательно соединенных между собой бака основного топлива, насоса для подачи основного топлива и дозатора основного топлива, по меньшей мере одну систему подачи дополнительного топлива – жидкого низкооктанового топлива, октановое число которого ниже октанового числа основного топлива, состоящую из последовательно соединенных между собой бака дополнительного топлива, по меньшей мере, одного регулируемого дозатора дополнительного топлива и электронного блока управления, вход которого сообщен с датчиками работы двигателя, а выход связан с дозатором дополнительного топлива.
Следует отметить, что в патенте США №4495930 не рассмотрено повышение эффективности влияния изменения октанового числа дополнительного топлива в сторону его наибольшего уменьшения по сравнению с октановым числом основного топлива.
Недостаток известного технического решения заключается в недостаточно эффективном смесеобразовании основного высокооктанового жидкого топлива и дополнительного низкооктанового жидкого топлива с воздухом и между собой и в отсутствии оптимального соотношения между количествами основного и дополнительного видов топлива, определяемого по температуре отработавших газов при работе двигателя на нескольких видах топлива.
Задачей и техническим результатом, на достижение которого направлено настоящее изобретение, являются определение оптимального соотношения между количеством основного и дополнительного топлива, повышение эффективности, улучшение смесеобразования топлива и воздуха, повышение полноты сгорания топлива в двигателе, повышение мощности и экономичности работы двигателя, снижение выброса несгоревших продуктов сгорания в атмосферу.
Использование дополнительного жидкого топлива с наиболее низким октановым числом (из существующих топлив), имеющего наиболее высокую скорость сгорания, позволяет существенно уменьшить запас дополнительного топлива при получении оптимальной работы ДВС. Это позволяет упростить систему топливоподачи ДВС, снизить расходы на топливо, так как в совокупности топлив большая часть приходится на более дешевое газовое топливо. Оптимальное соотношение между количеством основного и дополнительного топлив для каждого скоростного и нагрузочного режимов определяют по величине максимального снижения температуры отработавших газов.
Указанный технический результат в части первого варианта способа достигается тем, что способ подачи топлива в многотопливный двигатель внутреннего сгорания с искровым зажиганием заключается в подаче во впускной коллектор двигателя основного топлива – газового высокооктанового топлива, и отдельно, по меньшей мере, одного вида жидкого дополнительного топлива, октановое число которого ниже октанового числа основного топлива, причем при работе двигателя на основном топливе осуществляют измерение температуры отработавших газов, перед подачей дополнительного топлива в двигатель перемешивают дополнительное топливо с воздухом или основным топливом, величину подачи дополнительного топлива увеличивают по мере увеличения подачи основного топлива в зависимости от частоты вращения вала двигателя до достижения оптимального соотношения между количествами основного и дополнительного топлива, для чего осуществляют измерение температуры отработавших газов при работе двигателя на основном и дополнительном топливах, а оптимальное соотношение между количеством основного и дополнительного топлив определяют по величине максимального снижения температуры отработавших газов, по сравнению с температурой отработавших газов при работе двигателя только на основном топливе, после чего прекращают увеличивать количество подаваемого в двигатель дополнительного топлива.
Оптимальное соотношение количества дополнительного топлива составляет 2…30% от величины основного топлива.
В качестве основного топлива могут использовать смесь нескольких видов газового топлива, октановые числа которых выше октанового числа дополнительного топлива.
В качестве дополнительного топлива могут использовать несколько видов топлив, октановые числа которых меньше октанового числа основного топлива, причем при малых скоростных и нагрузочных режимах используют вид дополнительного топлива, имеющий более высокое значение октанового числа, а при увеличении частоты вращения вала двигателя и нагрузки или осуществляют переключение на подачу в двигатель другого вида дополнительного топлива, имеющего меньшую величину октанового числа, или к дополнительному топливу с высоким значением октанового числа подмешивают топливо с более низким значением октанового числа.
При необходимости могут осуществлять регулирование угла опережения зажигания в двигателе внутреннего сгорания.
В качестве основного топлива могут использовать сжиженный нефтяной газ или сжиженный природный газ, а в качестве дополнительного топлива используют бензин и/или керосин, и/или дизельное топливо.
В качестве основного топлива могут использовать сжатый нефтяной газ или сжатый природный газ, а в качестве дополнительного топлива используют бензин и/или керосин, и/или дизельное топливо.
В качестве основного топлива могут использовать сжиженный нефтяной газ или сжиженный природный газ, а в качестве дополнительного топлива используют бензины с разными октановыми числами.
В качестве основного топлива могут использовать сжатый нефтяной газ или сжатый природный газ, а в качестве дополнительного топлива используют бензины с разными октановыми числами.
Измерение температур отработавших газов при работе на основном топливе и при работе на основном и дополнительном видах топлива, а также определение оптимального соотношения между количествами основного и дополнительного топлив могут осуществлять при испытаниях двигателя и по полученной величине оптимального соотношения между количествами основного и дополнительного топлив по результатам испытаний формируют электрический сигнал, направляемый в память электронного блока управления двигателем для последующего формирования управляющего сигнала, регулирующего величину подачи дополнительного топлива при эксплуатации двигателя.
Измерение температур отработавших газов при работе на основном топливе и при работе на основном и дополнительном видах топлива, а также определение оптимального соотношения между количествами основного и дополнительного топлив могут осуществлять непосредственно при эксплуатации двигателя и по полученной величине оптимального соотношения между количествами основного и дополнительного топлив формируют электрический сигнал, направляемый в память электронного блока управления двигателем для последующего формирования управляющих сигналов, регулирующих величину подачи дополнительного топлива при эксплуатации двигателя.
Указанный технический результат в части первого варианта устройства достигается и тем, что система подачи топлива в многотопливный двигатель внутреннего сгорания с искровым зажиганием содержит систему подачи основного топлива – газового высокооктанового топлива, состоящую из последовательно соединенных между собой баллона со сжиженным или сжатым газом, газового редуктора, дросселирующего устройства и дозатора основного топлива, и по меньшей мере одну систему подачи дополнительного топлива – жидкого низкооктанового топлива, октановое число которого ниже октанового числа основного топлива, состоящую из последовательно соединенных между собой бака дополнительного топлива, насоса для подачи дополнительного топлива и дозатора дополнительного топлива, датчик температуры отработавших газов и электронный блок управления, причем датчик температуры отработавших газов соединен с входом электронного блока управления, выход которого связан с дозатором дополнительного топлива, причем электронный блок управления выполнен с возможностью сравнения температур отработавших газов при работе двигателя на основном топливе и при работе двигателя на основном и дополнительном топливах, определения оптимального соотношение между количеством основного и дополнительного топлив по величине максимального снижения температуры отработавших газов при работе двигателя на основном и дополнительном топливах и формирования управляющего сигнала дозатору дополнительного топлива для изменения количества подачи дополнительного топлива.
Дозаторы дополнительного топлива могут быть выполнены в виде форсунок с электромагнитными приводами, установленными во впускном коллекторе двигателя, причем электромагнитные приводы форсунок соединены с выходами электронного блока управления.
Дозатор дополнительного топлива может быть выполнен в виде карбюратора, привод дроссельной заслонки которого соединен с входом электронного блока.
На выходе карбюратора может быть установлен по меньшей мере один завихритель топливной смеси.
Система подачи топлива может быть снабжена системой второго вида дополнительного топлива, октановое число которого отличается от октанового числа дополнительного топлива, состоящей из последовательно соединенных между собой бака второго вида дополнительного топлива с краном, обратного клапана, промежуточной емкости второго вида дополнительного топлива, электромагнитного клапана, по меньшей мере одного регулируемого дозатора второго вида дополнительного топлива и по меньшей мере одного струйного насоса, первый активный вход которого через обратный клапан сообщен с выходом дозатора второго вида дополнительного топлива, второй пассивный вход струйного насоса сообщен с атмосферой или с системой основного топлива, а выход струйного насоса сообщен с впускным коллектором двигателя.
Система может быть снабжена вторым дозатором второго вида дополнительного топлива и вторым струйным насосом, первый активный вход которого через обратный клапан сообщен с выходом второго дозатора второго вида дополнительного топлива, второй пассивный вход второго струйного насоса сообщен с атмосферой или с системой основного топлива, выход второго струйного насоса сообщен с впускным коллектором двигателя, причем дозатор дополнительного топлива выполнен в виде двухкамерного карбюратора с двумя дроссельными заслонками, приводы дроссельных заслонок соединены с входом электронного блока, а выходы первого и второго струйного насосов сообщены с впускным коллектором двигателя через первую и вторую камеру карбюратора.
При выполнении дозатора дополнительного топлива в виде форсунки система подачи топлива в двигатель может быть снабжена системой второго вида дополнительного топлива, октановое число которого отличается от октанового числа дополнительного топлива, состоящей из последовательно соединенных между собой бака второго вида дополнительного топлива с краном, обратного клапана, насоса второго вида дополнительного топлива, электромагнитного клапана, по меньшей мере одного регулируемого дозатора второго вида дополнительного топлива и по меньшей мере одного струйного насоса, первый активный вход которого через обратный клапан сообщен с выходом дозатора второго вида дополнительного топлива, второй пассивный вход струйного насоса сообщен с атмосферой или с системой основного топлива, а выход струйного насоса сообщен с впускным коллектором двигателя.
Указанный технический результат в части второго варианта способа достигается также тем, что в способе подачи топлива в многотопливный двигатель внутреннего сгорания с искровым зажиганием, заключающемся в подаче во впускной коллектор двигателя основного топлива – жидкого высокооктанового топлива, и отдельно, по меньшей мере, одного вида жидкого низкооктанового дополнительного топлива, октановое число которого ниже октанового числа основного топлива, перед подачей дополнительного топлива в двигатель перемешивают дополнительное топливо с воздухом, при работе двигателя на основном топливе осуществляют измерение температуры отработавших газов, величину подачи дополнительного топлива увеличивают по мере увеличения подачи основного топлива в зависимости от частоты вращения вала двигателя до достижения оптимального соотношения между количествами основного и дополнительного топлив, для чего осуществляют измерение температуры отработавших газов при работе двигателя на основном и дополнительном топливах, а оптимальное соотношение между количеством основного и дополнительного топлив определяют по величине максимального снижения температуры отработавших газов по сравнению с температурой отработавших газов при работе двигателя только на основном топливе, после чего прекращают увеличивать количество подаваемого в двигатель дополнительного топлива.
Оптимальное соотношение количества дополнительного топлива составляет 2…30% от величины основного топлива.
В качестве дополнительного топлива могут использовать несколько видов топлив, октановые числа которых меньше октанового числа основного топлива, причем при малых скоростных и нагрузочных режимах используют вид дополнительного топлива, имеющий более высокое значение октанового числа, а при увеличении частоты вращения вала двигателя и нагрузки или осуществляют переключение на подачу в двигатель другого вида дополнительного топлива, имеющего меньшую величину октанового числа, или к дополнительному топливу с высоким значением октанового числа подмешивают топливо с более низким значением октанового числа.
При необходимости могут осуществлять регулирование угла опережения зажигания в двигателе внутреннего сгорания.
В качестве основного топлива могут использовать спирт или бензин с более высоким октановым числом, а в качестве дополнительного топлива используют или бензин с более низким октановым числом, чем октановое число основного топлива, и/или керосин, и/или дизельное топливо.
Измерение температур отработавших газов при работе на основном топливе и при работе на основном и дополнительном видах топлива, а также определение оптимального соотношения между количествами основного и дополнительного топлив могут осуществлять при испытаниях двигателя и по полученной величине оптимального соотношения между количествами основного и дополнительного топлив по результатам испытаний формируют электрический сигнал, направляемый в память электронного блока управления двигателем для последующего формирования управляющих сигналов, регулирующих величину подачи дополнительного топлива при эксплуатации двигателя.
Измерение температур отработавших газов при работе на основном топливе и при работе на основном и дополнительном видах топлива, а также определение оптимального соотношения между количествами основного и дополнительного топлив могут осуществлять непосредственно при эксплуатации двигателя и по полученной величине оптимального соотношения между количествами основного и дополнительного топлив формируют электрический сигнал, направляемый в память электронного блока управления двигателем для последующего формирования управляющих сигналов, регулирующих величину подачи дополнительного топлива при эксплуатации двигателя.
Кроме того, указанный технический результат в части второго варианта устройства достигается и тем, что система подачи топлива в многотопливный двигатель внутреннего сгорания с искровым зажиганием содержит систему подачи основного топлива – жидкого высокооктанового топлива, состоящую из последовательно соединенных между собой бака основного топлива, насоса для подачи основного топлива и дозатора основного топлива, по меньшей мере одну систему подачи дополнительного топлива – жидкого низкооктанового топлива, октановое число которого ниже октанового числа основного топлива, состоящую из последовательно соединенных между собой бака дополнительного топлива, по меньшей мере, одного регулируемого дозатора дополнительного топлива и по меньшей мере одного струйного насоса, датчик температуры отработавших газов и электронный блок управления, причем датчик температуры отработавших газов соединен с входом электронного блока управления, выход которого связан с дозатором дополнительного топлива, электронный блок управления выполнен с возможностью сравнения температур отработавших газов при работе двигателя на основном топливе и при работе двигателя на основном и дополнительном топливах, определения оптимального соотношения между количеством основного и дополнительного топлив по величине максимального снижения температуры отработавших газов при работе двигателя на основном и дополнительном топливах и формирования управляющего сигнала дозирующему устройству дополнительного топлива для изменения количества подачи дополнительного топлива, при этом первый активный вход струйного насоса через обратный клапан сообщен с выходом дозатора дополнительного топлива, второй пассивный вход струйного насоса сообщен с атмосферой, а выход струйного насоса сообщен с впускным коллектором двигателя.
Дозирующие устройства основного и дополнительного топлив могут быть выполнены в виде форсунок с электромагнитными приводами, установленными во впускном коллекторе двигателя, причем электромагнитные приводы форсунок соединены с выходами электронного блока управления.
Дозатор основного топлива может быть выполнен в виде карбюратора, привод дроссельной заслонки которого соединен с входом электронного блока.
На выходе карбюратора может быть установлен, по меньшей мере, один завихритель топливной смеси.
Система может быть снабжена вторым дозатором дополнительного топлива и вторым струйным насосом, первый активный вход которого через обратный клапан сообщен с выходом второго дозатора дополнительного топлива, второй пассивный вход второго струйного насоса сообщен с атмосферой, выход второго струйного насоса сообщен с впускным коллектором двигателя, причем дозатор дополнительного топлива выполнен в виде двухкамерного карбюратора с двумя дроссельными заслонками, приводы дроссельных заслонок соединены с входом электронного блока, а выходы первого и второго струйного насосов сообщены с впускным коллектором двигателя через первую и вторую камеру карбюратора.
При выполнении дозирующего устройства основного топлива в виде форсунок система может быть снабжена насосом дополнительного топлива, установленным между баком дополнительного топлива и, по меньшей мере, одним регулируемым дозатором дополнительного топлива.
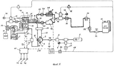
На фиг.1 показана система подачи топлива в многотопливный двигатель внутреннего сгорания, состоящая из системы подачи основного газового топлива, системы подачи жидкого дополнительного топлива и системы подачи второго вида жидкого дополнительного топлива;
на фиг.2 – система подачи топлива в многотопливный двигатель внутреннего сгорания, состоящая из системы подачи основного жидкого топлива и системы подачи жидкого дополнительного топлива;
на фиг.3 и 4 – завихрители топливной смеси.
Система подачи топлива в многотопливный двигатель 1 внутреннего сгорания с искровым зажиганием содержит систему подачи основного топлива – газового высокооктанового топлива, и по меньшей мере одну систему подачи дополнительного топлива – жидкого низкооктанового топлива, октановое число которого ниже октанового числа основного топлива.
Система подачи основного газового топлива состоит из последовательно соединенных между собой баллона 2 со сжиженным или сжатым газом, электромагнитного клапана 3 с сигнальной лампой 4, газового редуктора 5, запорного крана 6, мембранного дозатора 7 основного топлива с управляющей полостью 8, приемной полостью 9 и с нажимным штоком 10 с пятой 11, дросселирующего устройства 12, тройника 13, обратного клапана 14 и кольцевых проставок 15 и 16 с радиальными отверстиями. Привод электромагнитного клапана 3 через выключатель 17 соединен с электрической цепью 18 аккумуляторной батареи 19 и замка 20 зажигания.
На выходе из мембранного дозатора 7 газопровод 21 после тройника 13 разветвляется на две ветви, первая ветвь 22 основной подачи газа через обратный клапан 14 соединена с полостью кольцевой проставки 15, размещенной под направляющей профильной тарелкой 23 воздухоочистителя 24, вторая ветвь 25 подачи газа на холостом ходу через дросселирующее устройство 12 сообщена с полостью кольцевой проставки 16, размещенной после дозатора дополнительного топлива – электромагнитной форсунки (на фиг.1 не показана) или карбюратора 26.
В состав системы подачи топлива входит и по меньшей мере одна система подачи дополнительного топлива – жидкого низкооктанового топлива (бензина), октановое число которого ниже октанового числа основного топлива (газа), состоящая из последовательно соединенных между собой бака 27 дополнительного топлива, насоса 28 для подачи дополнительного топлива, электромагнитного клапана 29 с сигнальной лампой 30 и дозатора дополнительного топлива – электромагнитной форсунки (на фиг.1 не показана) или карбюратора 26.
В состав системы подачи топлива может входить и система второго вида дополнительного топлива, например керосина или дизельного топлива, или бензина, октановое число которого отличается от октанового числа дополнительного топлива, например бензина.
Система подачи второго вида дополнительного топлива состоит из последовательно соединенные между собой бака 31 второго вида дополнительного топлива с краном 32, обратного клапана 33, промежуточной емкости 34 второго вида дополнительного топлива, фильтра 35, электромагнитного клапана 36 с сигнальной лампой 37, предпочтительно двух регулируемых дозаторов 38 второго вида дополнительного топлива и предпочтительно двух струйных насосов 39. Первый активный вход каждого струйного насоса 39 через обратный клапан 40 сообщен с выходом дозатора 38 второго вида дополнительного топлива, второй пассивный вход каждого струйного насоса 39 сообщен с атмосферой или с системой основного газового топлива (на фиг.1 не показан), а выход каждого струйного насоса 39 сообщен с впускным коллектором 41 двигателя 1. Входы дозаторов 38 через тройник 42 сообщены с выходом электромагнитного клапана 36.
В случае выполнения дозатора дополнительного топлива в виде двухкамерного карбюратора 26 с двумя дроссельными заслонками выходы струйных насосов 39 сообщены с впускным коллектором 41 двигателя через первую и вторую камеру карбюратора 26. Привод электромагнитного клапана 36 соединен с управляющим элементом 43 электрической цепи 18.
В случае выполнения дозатора дополнительного топлива в виде электромагнитной форсунки или форсунки система подачи второго вида дополнительного топлива может быть дополнительно снабжена насосом второго вида дополнительного топлива (на фиг.1 не показан), установленным в системе вместо промежуточной емкости 34 второго вида дополнительного топлива.
Датчик 44 температуры отработавших газов, датчик 45 числа оборотов двигателя и датчик 46 расхода воздуха во впускном коллекторе двигателя соединены с входами электронного блока управления 47, выход которого связан с дозатором дополнительного топлива, например с приводами дроссельных заслонок карбюратора 26 или с приводами электромагнитных форсунок (на фиг.1 не показаны).
Электронный блок управления 47 может быть выполнен аналогично электронному блоку управления, известному из патента США №4495930, и снабжен программным обеспечением, позволяющим обеспечить сравнение температур отработавших газов при работе двигателя на основном топливе и при работе двигателя на основном и дополнительном топливах, определение оптимального соотношение между количеством основного и дополнительного топлив по величине максимального снижения температуры отработавших газов при работе двигателя на основном и дополнительном топливах и формирование управляющего сигнала дозатору дополнительного топлива, например приводам дроссельных заслонок карбюратора 26 или приводам электромагнитных форсунок для изменения количества подачи дополнительного топлива.
На выходе карбюратора 26 могут быть установлены завихрители топливной смеси (см. фиг.3 и 4).
Открытие электромагнитного клапана 29 дополнительного топлива (бензина) может осуществляться от выключателя 48 электрической цепи 18, а дополнительное топливо (бензин) подается в карбюратор 26 через фильтр 49, при этом загорается сигнальная лампа 30.
Открытие электромагнитного клапана 36 второго дополнительного топлива (керосина) может осуществляться от управляющего элемента 43 электрической цепи 18, при этом загорается сигнальная лампа 37.
Сигналы от электронного блока управления 47 к приводам заслонок карбюратора 26 и дозаторов 38 передаются по электрической цепи 51.
Способ подачи основного высокооктанового газообразного топлива и дополнительного низкооктанового жидкого топлива в многотопливный двигатель внутреннего сгорания осуществляется следующим образом.
Газовое высокооктановое основное топливо из газового баллона 2 через открытый электромагнитный клапан 3, газовый редуктор 5 и запорный кран 6 поступает в приемную полость 9 мембранного дозатора 7. Воздух, поступающий из впускного коллектора 41 двигателя в управляющую полость 8 дозатора 7 и нажимной шток 10, через пяту которого передают усилие от регулирующего органа двигателя, регулируют требуемое количество основного газового топлива, подаваемого в двигатель. Далее из дозатора 7 основное топливо по газопроводу 21 поступает в тройник 13. Из тройника 13 основное топливо по первой ветви 22 газопровода через обратный клапан 14 поступает в полость кольцевой проставки 15, откуда через радиальные отверстия поступает на вход в карбюратор 26. Из тройника 13 основное топливо по второй ветви 25 через дросселирующее устройство 12, регулирующее расход основного топлива при холостом ходе, поступает в полость кольцевой проставки 16, откуда через радиальные каналы основное топливо поступает после карбюратора 26 во впускной коллектор 41 двигателя. Открытие и закрытие электромагнитного клапана 3 осуществляют от электрической цепи 18 через выключатель 17, при этом сигнальная лампа 4 сигнализирует об открытии электромагнитного клапана 3.
Дополнительное низкооктановое топливо, например бензин, из бака 27 насосом 28 через электромагнитный клапан 29 с сигнальной лампой 30, загорающейся при открытии клапана 29, подается в карбюратор 26, где происходит перемешивание дополнительного топлива с воздухом и основным топливом (газом).
В двигатель предпочтительно подавать и второй вид дополнительного низкооктанового топлива, например керосин. Второй вид дополнительного низкооктанового топлива из бака 31 через кран 32, обратный клапан 33 поступает в промежуточную емкость 34, объем которой составляет приблизительно 5÷7% от объема бака 31. Из промежуточной емкости 34 второй вид дополнительного топлива через фильтр 35 и электромагнитный клапан 36 с сигнальной лампой 37 поступает в тройник 42. Из тройника 42 второй вид дополнительного топлива по двум ветвям трубопровода поступает на входы дозаторов 38 второго вида (регулируемых дросселей) дополнительного топлива. Из дозаторов 38 второй вид дополнительного топлива через обратные клапаны 40 поступает на активные входы струйных насосов (эжекторов) 39, где происходит подсасывание воздуха или газового топлива и их перемешивание со вторым видом дополнительного топлива. После струйных насосов 39 второй вид дополнительного топлива, смешанный с воздухом или газовым топливом, по одной ветви поступает в первую камеру карбюратора 26, а второй ветви – во вторую камеру карбюратора 26.
При работе двигателя только на основном топливе осуществляют измерение температуры отработавших газов и с помощью датчика 44 отработавших газов передают сигнал в память электронного блока управления 47.
При работе на основном топливе и дополнительном топливе или топливах электронный блок управления 47 формирует сигнал приводу заслонок карбюратора 26 и/или приводу дозаторов 38, устанавливая величину подачи дополнительного топлива или топлив. По мере увеличения подачи основного топлива в зависимости от частоты вращения вала двигателя по сигналу датчика 45 числа оборотов, подаваемого на вход электронного блока управления 47, последний формирует сигналы для увеличения подачи дополнительного топлива или топлив до достижения оптимального соотношения между количествами основного и дополнительного топлива. Для этого осуществляют измерение температуры отработавших газов при работе двигателя на основном и дополнительном топливах и с помощью датчика 44 отработавших газов передают сигнал в память электронного блока управления 47. Программное обеспечение электронного блока управления 47 определяет оптимальное соотношение между количеством основного и дополнительного топлив по величине максимального снижения температуры отработавших газов, по сравнению с температурой отработавших газов при работе двигателя только на основном топливе, после чего электронный блок управления 47 формирует сигнал для корректировки величины подачи дополнительного топлива или топлив и прекращает увеличивать количество подаваемого в двигатель дополнительного топлива.
Экспериментальным путем установлено, что оптимальное соотношение количества дополнительного топлива составляет 2…30% от величины основного топлива.
При малых скоростных и нагрузочных режимах используют вид дополнительного топлива, имеющий более высокое значение октанового числа, например бензин, а при увеличении частоты вращения вала двигателя и нагрузки или осуществляют переключение на подачу в двигатель другого вида дополнительного топлива, имеющего меньшую величину октанового числа, например керосина, или к дополнительному топливу с высоким значением октанового числа (бензину) подмешивают топливо с более низким значением октанового числа (керосин).
В качестве основного топлива может быть использована смесь нескольких видов газового топлива, октановые числа которых выше октанового числа дополнительного топлива, а при необходимости осуществляют регулирование угла опережения зажигания в двигателе внутреннего сгорания.
В качестве основного топлива может быть использован сжатый или сжиженный нефтяной газ или сжатый или сжиженный природный газ, а в качестве дополнительного топлива может быть использован бензин и/или керосин, и/или дизельное топливо.
Для подачи трех или более видов дополнительного топлива системы для их подачи предпочтительно выполнять аналогично системе подачи второго вида дополнительного топлива.
Измерение температур отработавших газов при работе на основном топливе и при работе на основном и дополнительном видах топлива, а также определение оптимального соотношения между количествами основного и дополнительного топлив могут осуществлять при испытаниях двигателя и по полученной величине оптимального соотношения между количествами основного и дополнительного топлив по результатам испытаний могут формировать электрический сигнал, направляемый в память электронного блока управления 47 двигателем для последующего формирования управляющего сигнала, регулирующего величину подачи дополнительного топлива при эксплуатации двигателя.
Измерение температур отработавших газов при работе на основном топливе и при работе на основном и дополнительном видах топлива, а также определение оптимального соотношения между количествами основного и дополнительного топлив могут осуществлять непосредственно при эксплуатации двигателя и по полученной величине оптимального соотношения между количествами основного и дополнительного топлив по результатам испытаний могут формировать электрический сигнал, направляемый в память электронного блока управления 47 двигателем для последующего формирования управляющих сигналов, регулирующих величину подачи основного и дополнительного топлив при эксплуатации двигателя.
Второй вариант выполнения системы подачи топлива в многотопливный двигатель внутреннего сгорания показан на фиг.2 и содержит систему подачи основного топлива – жидкого высокооктанового топлива, и по меньшей мере одну систему подачи дополнительного топлива – жидкого низкооктанового топлива, октановое число которого ниже октанового числа основного топлива.
Система подачи основного топлива в двигатель 52 внутреннего сгорания состоит из последовательно соединенных между собой бака 53 основного топлива, насоса 54 для подачи основного топлива, фильтра 55 и дозатора основного топлива, выполненного в виде электромагнитной форсунки или карбюратора 56.
Система подачи дополнительного вида топлива состоит из последовательно соединенных между собой бака 57 дополнительного топлива с краном 58, обратного клапана 59, промежуточной емкости 60 дополнительного топлива, фильтра 61, электромагнитного клапана 62, тройника 63, предпочтительно двух регулируемых дозаторов 64 дополнительного топлива, двух обратных клапанов 65 и предпочтительно двух струйных насосов 66. Первый активный вход каждого струйного насоса 66 через обратный клапан 65 сообщен с выходом дозатора 64 дополнительного топлива, второй пассивный вход каждого струйного насоса 66 сообщен с атмосферой, а выход каждого струйного насоса 66 сообщен с впускным коллектором 67 двигателя 52. Входы дозаторов 64 через тройник 63 сообщены с выходом электромагнитного клапана 62.
В случае выполнения дозатора дополнительного топлива в виде двухкамерного карбюратора 56 с двумя дроссельными заслонками выходы струйных насосов 66 сообщены с впускным коллектором 67 двигателя через первую и вторую камеру карбюратора 56. Привод электромагнитного клапана 62 соединен с управляющим элементом 68.
В случае выполнения дозатора основного топлива в виде электромагнитной форсунки или форсунки система может быть снабжена насосом дополнительного топлива (на фиг.2 не показан), установленным между баком 57 дополнительного топлива, и, по меньшей мере, одним регулируемым дозатором 64 дополнительного топлива вместо промежуточной емкости 60 дополнительного топлива.
Датчик 69 температуры отработавших газов, датчик 70 числа оборотов двигателя и датчик 71 расхода воздуха во впускном коллекторе двигателя соединены с входами электронного блока управления 72, выход которого связан с дозатором дополнительного топлива, например с приводами дроссельных заслонок карбюратора 56 или с приводами электромагнитных форсунок (на фиг.2 не показаны), через электрическую цепь 73.
Электронный блок управления 72 может быть выполнен аналогично электронному блоку управления, известному из патента США №4495930, и снабжен программным обеспечением, позволяющим обеспечить сравнение температур отработавших газов при работе двигателя на основном топливе и при работе двигателя на основном и дополнительном топливах, определение оптимального соотношение между количеством основного и дополнительного топлив по величине максимального снижения температуры отработавших газов при работе двигателя на основном и дополнительном топливах и формирование управляющего сигнала дозаторам 64 дополнительного топлива.
На выходе карбюратора 56 могут быть установлены завихрители топливной смеси (см. фиг.3 и 4).
Способ подачи жидкого основного высокооктанового топлива и жидкого дополнительного низкооктанового топлива в двигатель 52 (см. фиг.2) осуществляется следующим образом.
Основное высокооктановое топливо, например бензин или спирт, из бака 53 насосом 54 через фильтр 56 подается в карбюратор 56, где происходит перемешивание основного топлива с воздухом.
Дополнительное низкооктановое топливо, например керосин, и/или дизельное топливо, и/или бензин, октановое число которого меньше октанового числа бензина, используемого в качестве основного топлива, из бака 57 через кран 58, обратный клапан 59 поступает в промежуточную емкость 60, объем которой составляет приблизительно 5÷7% от объема бака 57. Из промежуточной емкости 60 дополнительное топливо через фильтр 61 и электромагнитный клапан 62 поступает в тройник 63. Из тройника 63 дополнительное топливо по двум ветвям трубопровода поступает на входы дозаторов 64 (регулируемых дросселей) дополнительного топлива. Из дозаторов 64 дополнительное топливо через обратные клапаны 65 поступает на активные входы струйных насосов (эжекторов) 66, где происходит подсасывание воздуха и его перемешивание с дополнительным топливом. После струйных насосов 66 дополнительное топливо, смешанное с воздухом, по одной ветви поступает в первую камеру карбюратора 56, а второй ветви -во вторую камеру карбюратора 56.
При работе двигателя только на основном топливе осуществляют измерение температуры отработавших газов и с помощью датчика 69 отработавших газов передают сигнал в память электронного блока управления 72.
При работе на основном топливе и дополнительном топливе или топливах электронный блок управления 72 формирует сигнал приводу дозаторов 66, устанавливая величину подачи дополнительного топлива. По мере увеличения подачи основного топлива в зависимости от частоты вращения вала двигателя по сигналу датчика 70 числа оборотов, подаваемого на вход электронного блока управления 72, последний формирует сигналы для увеличения подачи дополнительного топлива до достижения оптимального соотношения между количествами основного и дополнительного топлива. Для этого осуществляют измерение температуры отработавших газов при работе двигателя на основном и дополнительном топливах и с помощью датчика 69 отработавших газов передают сигнал в память электронного блока управления 72. Программное обеспечение электронного блока управления 72 определяет оптимальное соотношение между количеством основного и дополнительного топлив по величине максимального снижения температуры отработавших газов, по сравнению с температурой отработавших газов при работе двигателя только на основном топливе, после чего электронный блок управления 72 формирует сигнал для корректировки величины подачи дополнительного топлива и прекращает увеличивать количество подаваемого в двигатель дополнительного топлива.
Экспериментальным путем установлено, что оптимальное соотношение количества дополнительного топлива составляет 2…30% от величины основного топлива.
В качестве дополнительного топлива могут использовать несколько видов топлива, октановые числа которых меньше октанового числа основного топлива. При малых скоростных и нагрузочных режимах могут использовать вид дополнительного топлива, имеющий более высокое значение октанового числа, а при увеличении частоты вращения вала двигателя и нагрузки или могут осуществлять переключение на подачу в двигатель другого вида дополнительного топлива, имеющего меньшую величину октанового числа, или к дополнительному топливу с высоким значением октанового числа могут подмешивать топливо с более низким значением октанового числа.
При необходимости могут осуществлять регулирование угла опережения зажигания в двигателе внутреннего сгорания.
В качестве основного топлива могут использовать спирт или бензин с более высоким октановым числом, а в качестве дополнительного топлива могут использовать или бензин с более низким октановым числом, чем октановое число основного топлива, и/или керосин, и/или дизельное топливо.
Измерение температур отработавших газов при работе на основном топливе и при работе на основном и дополнительном видах топлива, а также определение оптимального соотношения между количествами основного и дополнительного топлив могут осуществлять при испытаниях двигателя и по полученной величине оптимального соотношения между количествами основного и дополнительного топлив по результатам испытаний могут формировать электрический сигнал, направляемый в память электронного блока управления двигателем для последующего формирования управляющих сигналов, регулирующих величину подачи дополнительного топлива при эксплуатации двигателя.
Измерение температур отработавших газов при работе на основном топливе и при работе на основном и дополнительном видах топлива, а также определение оптимального соотношения между количествами основного и дополнительного топлив могут осуществлять и непосредственно при эксплуатации двигателя и по полученной величине оптимального соотношения между количествами основного и дополнительного топлив могут формировать электрический сигнал, направляемый в память электронного блока управления двигателем для последующего формирования управляющих сигналов, регулирующих величину подачи дополнительного топлива при эксплуатации двигателя.
Формула изобретения
1. Способ подачи топлива в многотопливный двигатель внутреннего сгорания с искровым зажиганием, заключающийся в подаче во впускной коллектор двигателя основного топлива газового высокооктанового топлива и отдельно, по меньшей мере, одного вида жидкого дополнительного топлива, октановое число которого ниже октанового числа основного топлива, причем при работе двигателя на основном топливе осуществляют измерение температуры отработавших газов, перед подачей дополнительного топлива в двигатель перемешивают дополнительное топливо с воздухом или основным топливом, величину подачи дополнительного топлива увеличивают по мере увеличения подачи основного топлива в зависимости от частоты вращения вала двигателя до достижения оптимального соотношения между количествами основного и дополнительного топлив, для чего осуществляют измерение температуры отработавших газов при работе двигателя на основном и дополнительном топливах, а оптимальное соотношение между количеством основного и дополнительного топлив определяют по величине максимального снижения температуры отработавших газов по сравнению с температурой отработавших газов при работе двигателя только на основном топливе, после чего прекращают увеличивать количество подаваемого в двигатель дополнительного топлива.
2. Способ по п.1, отличающийся тем, что оптимальное соотношение количества дополнительного топлива составляет 2…30% от величины основного топлива.
3. Способ по п.1, отличающийся тем, что в качестве основного топлива используют смесь нескольких видов газового топлива, октановые числа которых выше октанового числа дополнительного топлива.
4. Способ по п.1, отличающийся тем, что в качестве дополнительного топлива используют несколько видов топлив, октановые числа которых меньше октанового числа основного топлива, причем при малых скоростных и нагрузочных режимах используют вид дополнительного топлива, имеющий более высокое значение октанового числа, а при увеличении частоты вращения вала двигателя и нагрузки или осуществляют переключение на подачу в двигатель другого вида дополнительного топлива, имеющего меньшую величину октанового числа, или к дополнительному топливу с высоким значением октанового числа подмешивают топливо с более низким значением октанового числа.
5. Способ по п.1, отличающийся тем, что при необходимости осуществляют регулирование угла опережения зажигания в двигателе внутреннего сгорания.
6. Способ по п.1, отличающийся тем, что в качестве основного топлива используют сжиженный нефтяной газ или сжиженный природный газ, а в качестве дополнительного топлива используют бензин, и/или керосин, и/или дизельное топливо.
7. Способ по п.1, отличающийся тем, что в качестве основного топлива используют сжатый нефтяной газ или сжатый природный газ, а в качестве дополнительного топлива используют бензин, и/или керосин, и/или дизельное топливо.
8. Способ по п.1, отличающийся тем, что в качестве основного топлива используют сжиженный нефтяной газ или сжиженный природный газ, а в качестве дополнительного топлива используют бензины с разными октановыми числами.
9. Способ по п.1, отличающийся тем, что в качестве основного топлива используют сжатый нефтяной газ или сжатый природный газ, а в качестве дополнительного топлива используют бензины с разными октановыми числами.
10. Способ по любому из пп.1-9, отличающийся тем, что измерение температур отработавших газов при работе на основном топливе и при работе на основном и дополнительном видах топлив, а также определение оптимального соотношения между количествами основного и дополнительного топлив осуществляют при испытаниях двигателя и по полученной величине оптимального соотношения между количествами основного и дополнительного топлив по результатам испытаний формируют электрический сигнал, направляемый в память электронного блока управления двигателем для последующего формирования управляющего сигнала, регулирующего величину подачи дополнительного топлива при эксплуатации двигателя.
11. Способ по любому из пп.1-9, отличающийся тем, что измерение температур отработавших газов при работе на основном топливе и при работе на основном и дополнительном видах топлив, а также определение оптимального соотношения между количествами основного и дополнительного топлив осуществляют при эксплуатации двигателя и по полученной величине оптимального соотношения между количествами основного и дополнительного топлив формируют электрический сигнал, направляемый в память электронного блока управления двигателем для последующего формирования управляющих сигналов, регулирующих величину подачи дополнительного топлива при эксплуатации двигателя.
12. Система подачи топлива в многотопливный двигатель внутреннего сгорания с искровым зажиганием, содержащая систему подачи основного топлива газового высокооктанового топлива, состоящую из последовательно соединенных между собой баллона со сжиженным или сжатым газом, газового редуктора, дросселирующего устройства и дозатора основного топлива, и по меньшей мере, одну систему подачи дополнительного топлива – жидкого низкооктанового топлива, октановое число которого ниже октанового числа основного топлива, состоящую из последовательно соединенных между собой бака дополнительного топлива, насоса для подачи дополнительного топлива и дозатора дополнительного топлива, датчик температуры отработавших газов и электронный блок управления, причем датчик температуры отработавших газов соединен с входом электронного блока управления, выход которого связан с дозатором дополнительного топлива, причем электронный блок управления выполнен с возможностью сравнения температур отработавших газов при работе двигателя на основном топливе и при работе двигателя на основном и дополнительном топливах, определения оптимального соотношения между количеством основного и дополнительного топлив по величине максимального снижения температуры отработавших газов при работе двигателя на основном и дополнительном топливах и формирования управляющего сигнала дозатору дополнительного топлива для изменения количества подачи дополнительного топлива.
13. Система по п.12, отличающаяся тем, что дозаторы дополнительного топлива выполнены в виде форсунок с электромагнитными приводами, установленными во впускном коллекторе двигателя, причем электромагнитные приводы форсунок соединены с выходами электронного блока управления.
14. Система по п.12, отличающаяся тем, что дозатор дополнительного топлива выполнен в виде карбюратора, привод дроссельной заслонки которого соединен с входом электронного блока.
15. Система по п.14, отличающаяся тем, что на выходе карбюратора установлен, по меньшей мере, один завихритель топливной смеси.
16. Система по любому из пп.12, 14 и 15, отличающаяся тем, что снабжена системой второго вида дополнительного топлива, октановое число которого отличается от октанового числа дополнительного топлива, состоящей из последовательно соединенных между собой бака второго вида дополнительного топлива с краном, обратного клапана, промежуточной емкости второго вида дополнительного топлива, электромагнитного клапана, по меньшей мере, одного регулируемого дозатора второго вида дополнительного топлива и, по меньшей мере, одного струйного насоса, первый активный вход которого через обратный клапан сообщен с выходом дозатора второго вида дополнительного топлива, второй пассивный вход струйного насоса сообщен с атмосферой или с системой основного топлива, а выход струйного насоса сообщен с впускным коллектором двигателя.
17. Система по п.16, отличающаяся тем, что снабжена вторым дозатором второго вида дополнительного топлива и вторым струйным насосом, первый активный вход которого сообщен с выходом второго дозатора второго вида дополнительного топлива, второй пассивный вход второго струйного насоса сообщен с атмосферой или с системой основного топлива, выход второго струйного насоса через обратный клапан сообщен с впускным коллектором двигателя, причем дозатор дополнительного топлива выполнен в виде двухкамерного карбюратора с двумя дроссельными заслонками, приводы дроссельных заслонок соединены с входом электронного блока, а выходы первого и второго струйных насосов сообщены с впускным коллектором двигателя через первую и вторую камеры карбюратора.
18. Система по п.13, отличающаяся тем, что снабжена системой второго вида дополнительного топлива, октановое число которого отличается от октанового числа дополнительного топлива, состоящей из последовательно соединенных между собой бака второго вида дополнительного топлива с краном, обратного клапана, насоса второго вида дополнительного топлива, электромагнитного клапана, по меньшей мере, одного регулируемого дозатора второго вида дополнительного топлива и, по меньшей мере, одного струйного насоса, первый активный вход которого через обратный клапан сообщен с выходом дозатора второго вида дополнительного топлива, второй пассивный вход струйного насоса сообщен с атмосферой или с системой основного топлива, а выход струйного насоса сообщен с впускным коллектором двигателя.
19. Способ подачи топлива в многотопливный двигатель внутреннего сгорания с искровым зажиганием, заключающийся в подаче во впускной коллектор двигателя основного топлива – жидкого высокооктанового топлива и отдельно, по меньшей мере, одного вида жидкого низкооктанового дополнительного топлива, октановое число которого ниже октанового числа основного топлива, перед подачей дополнительного топлива в двигатель перемешивают дополнительное топливо с воздухом, при работе двигателя на основном топливе осуществляют измерение температуры отработавших газов, величину подачи дополнительного топлива увеличивают по мере увеличения подачи основного топлива в зависимости от частоты вращения вала двигателя до достижения оптимального соотношения между количествами основного и дополнительного топлив, для чего осуществляют измерение температуры отработавших газов при работе двигателя на основном и дополнительном топливах, а оптимальное соотношение между количеством основного и дополнительного топлив определяют по величине максимального снижения температуры отработавших газов по сравнению с температурой отработавших газов при работе двигателя только на основном топливе, после чего прекращают увеличивать количество подаваемого в двигатель дополнительного топлива.
20. Способ по п.19, отличающийся тем, что оптимальное соотношение количества дополнительного топлива составляет 2…30% от величины основного топлива.
21. Способ по п.19, отличающийся тем, что в качестве дополнительного топлива используют несколько видов топлив, октановые числа которых меньше октанового числа основного топлива, причем при малых скоростных и нагрузочных режимах используют вид дополнительного топлива, имеющего более высокое значение октанового числа, а при увеличении частоты вращения вала двигателя и нагрузки или осуществляют переключение на подачу в двигатель другого вида дополнительного топлива, имеющего меньшую величину октанового числа, или к дополнительному топливу с высоким значением октанового числа подмешивают топливо с более низким значением октанового числа.
22. Способ по п.19, отличающийся тем, что при необходимости осуществляют регулирование угла опережения зажигания в двигателе внутреннего сгорания.
23. Способ по п.19, отличающийся тем, что в качестве основного топлива используют спирт или бензин с более высоким октановым числом, а в качестве дополнительного топлива используют или бензин с более низким октановым числом, чем октановое число основного топлива, и/или керосин, и/или дизельное топливо.
24. Способ по любому из пп.19-23, отличающийся тем, что измерение температур отработавших газов при работе на основном топливе и при работе на основном и дополнительном видах топлив, а также определение оптимального соотношения между количествами основного и дополнительного топлив осуществляют при испытаниях двигателя и по полученной величине оптимального соотношения между количествами основного и дополнительного топлив по результатам испытаний формируют электрический сигнал, направляемый в память электронного блока управления двигателем для последующего формирования управляющих сигналов, регулирующих величину подачи дополнительного топлива при эксплуатации двигателя.
25. Способ по любому из пп.19-23, отличающийся тем, что измерение температур отработавших газов при работе на основном топливе и при работе на основном и дополнительном видах топлив, а также определение оптимального соотношения между количествами основного и дополнительного топлив осуществляют при эксплуатации двигателя и по полученной величине оптимального соотношения между количествами основного и дополнительного топлив формируют электрический сигнал, направляемый в память электронного блока управления двигателем для последующего формирования управляющих сигналов, регулирующих величину подачи дополнительного топлива при эксплуатации двигателя.
26. Система подачи топлива в многотопливный двигатель внутреннего сгорания с искровым зажиганием, содержащая систему подачи основного топлива – жидкого высокооктанового топлива, состоящую из последовательно соединенных между собой бака основного топлива, насоса для подачи основного топлива и дозатора основного топлива, по меньшей мере, одну систему подачи дополнительного топлива – жидкого низкооктанового топлива, октановое число которого ниже октанового числа основного топлива, состоящую из последовательно соединенных между собой бака дополнительного топлива, по меньшей мере, одного регулируемого дозатора дополнительного топлива и, по меньшей мере, одного струйного насоса, датчик температуры отработавших газов и электронный блок управления, причем датчик температуры отработавших газов соединен с входом электронного блока управления, выход которого связан с дозатором дополнительного топлива, электронный блок управления выполнен с возможностью сравнения температур отработавших газов при работе двигателя на основном топливе и при работе двигателя на основном и дополнительном топливах, определения оптимального соотношения между количеством основного и дополнительного топлив по величине максимального снижения температуры отработавших газов при работе двигателя на основном и дополнительном топливах и формирования управляющего сигнала дозирующему устройству дополнительного топлива для изменения количества подачи дополнительного топлива, при этом первый активный вход струйного насоса через обратный клапан сообщен с выходом дозатора дополнительного топлива, второй пассивный вход струйного насоса сообщен с атмосферой, а выход струйного насоса сообщен с впускным коллектором двигателя.
27. Система по п.26, отличающаяся тем, что дозирующие устройства основного и дополнительного топлив выполнены в виде форсунок с электромагнитными приводами, установленными во впускном коллекторе двигателя, причем электромагнитные приводы форсунок соединены с выходами электронного блока управления.
28. Система по п.26, отличающаяся тем, что дозатор основного топлива выполнен в виде карбюратора, привод дроссельной заслонки которого соединен с входом электронного блока.
29. Система по п.26, отличающаяся тем, что на выходе карбюратора установлен, по меньшей мере, один завихритель топливной смеси.
30. Система по п.26, отличающаяся тем, что снабжена вторым дозатором дополнительного топлива и вторым струйным насосом, первый активный вход которого через обратный клапан сообщен с выходом второго дозатора дополнительного топлива, второй пассивный вход второго струйного насоса сообщен с атмосферой, выход второго струйного насоса сообщен с впускным коллектором двигателя, причем дозатор дополнительного топлива выполнен в виде двухкамерного карбюратора с двумя дроссельными заслонками, приводы дроссельных заслонок соединены с входом электронного блока, а выходы первого и второго струйных насосов сообщены с впускным коллектором двигателя через первую и вторую камеры карбюратора.
31. Система по п.28, отличающаяся тем, что снабжена насосом дополнительного топлива, установленным между баком дополнительного топлива, и, по меньшей мере, одним регулируемым дозатором дополнительного топлива.
РИСУНКИ
|
|