|
|
(21), (22) Заявка: 2005137287/06, 01.12.2005
(24) Дата начала отсчета срока действия патента:
01.12.2005
(46) Опубликовано: 27.01.2007
(56) Список документов, цитированных в отчете о поиске:
SU 1802198 A1, 15.03.1993. SU 1455008 A1, 30.01.1989. RU 203612 C1, 20.05.1995. RU 2184869 C2, 10.07.2002. DE 10062391 A1, 20.06.2002. JP 2004346832 A, 09.12.2004. EP 0419743 A1, 03.04.1991.
Адрес для переписки:
140180, Московская обл., г. Жуковский, ул. Жуковского, 13, кв.35, В.Г. Павлюкову
|
(72) Автор(ы):
Павлюков Владимир Григорьевич (RU), Павлюкова Екатерина Владимировна (RU), Шимберева Галина Владимировна (RU), Павлюков Владимир Александрович (RU), Пономарев Евгений Иванович (LV), Павлюков Григорий Николаевич (RU), Ларьков Михаил Федорович (RU)
(73) Патентообладатель(и):
Павлюков Владимир Григорьевич (RU), Павлюкова Екатерина Владимировна (RU), Шимберева Галина Владимировна (RU)
|
(54) СПОСОБ ПОДАЧИ ОСНОВНОГО И ДОПОЛНИТЕЛЬНОГО ТОПЛИВА В ДИЗЕЛЬ И СИСТЕМА ПОДАЧИ ОСНОВНОГО И ДОПОЛНИТЕЛЬНОГО ТОПЛИВА В ДИЗЕЛЬ (ВАРИАНТЫ)
(57) Реферат:
Изобретение относится к области двигателестроения и предназначено для использования в многотопливных дизельных двигателях внутреннего сгорания. Изобретение позволяет повысить эффективность и стабильность впрыскивания топлива в дизель, улучшить смесеобразование топлива и воздуха, повысить полноту сгорания топлива в дизеле, повысить мощность и экономичность работы дизеля, снизить выброс несгоревших продуктов сгорания в атмосферу. Способ подачи основного и дополнительного топлива в дизель заключается в подаче основного жидкого топлива из емкости основного топлива в топливный насос высокого давления основного топлива и подаче дополнительного топлива во впускной коллектор дизеля и в трубопровод высокого давления основного топлива. Формируют порцию основного топлива в насосе высокого давления основного топлива, подают порцию основного топлива в трубопровод высокого давления основного топлива и в форсунку. Формируют рабочее давление топлива, необходимое для открытия запорного органа форсунки, впрыскивают порцию основного топлива в цилиндр дизеля. Далее закрывают запорный орган форсунки и формируют в трубопроводе высокого давления основного топлива и в форсунке остаточное давление топлива. Осуществляют подачу дополнительного топлива в топливный аккумулятор, где повышают давление дополнительного топлива и формируют первую порцию дополнительного топлива для ее последующей подачи в трубопровод высокого давления основного топлива после закрытия запорного органа форсунки. Повышают величину остаточного давления в трубопроводе высокого давления основного топлива, формируют вторую порцию дополнительного топлива, смешивают часть второй порции дополнительного топлива с воздухом и подают полученную смесь во впускной коллектор дизеля. Раскрыта система, реализующая заявленный способ, а также раскрыты второй вариант способа подачи основного и дополнительного топлива в дизель и система, реализующая второй вариант способа. 4 н. и 20 з.п. ф-лы, 4 ил.
Изобретение относится к области двигателестроения и предназначено для использования в многотопливных дизельных двигателях внутреннего сгорания.
Известен наиболее близкий аналог к первому варианту способа подачи основного и дополнительного топлива в дизель и к первому варианту выполнения системы подачи основного и дополнительного топлива из авторского свидетельства СССР №1802198, МПК F 02 M 43/00, опубликованного 15.03.1993. Известный способ заключается в подаче основного жидкого топлива из емкости основного топлива в топливный насос высокого давления основного топлива, при этом формируют порцию основного топлива в последнем, подают порцию основного топлива в трубопровод высокого давления основного топлива и в форсунку, формируют рабочее давление топлива, необходимое для открытия запорного органа форсунки, впрыскивают порцию основного топлива в цилиндр дизеля, после чего закрывают запорный органа форсунки, и формируют в трубопроводе высокого давления основного топлива и в форсунке остаточное давление топлива, причем осуществляют подачу дополнительного топлива в источник повышения дополнительного топлива, где повышают давление дополнительного топлива и формируют порцию дополнительного топлива для ее последующей подачи в трубопровод высокого давления основного топлива. Из указанного источника информации известна и система подачи основного и дополнительного топлива в дизель, содержащая емкость основного топлива, топливный насос высокого давления основного топлива, сообщенный своим входом с емкостью основного топлива, а выходом – через трубопровод высокого давления основного топлива с, по меньшей мере, одной форсункой с запорным органом, установленной в цилиндре дизеля, емкость дополнительного топлива, насос дополнительного топлива, сообщенный своим входом с емкостью дополнительного топлива, а выходом сообщен через трубопровод дополнительного топлива и обратный клапан дополнительного топлива с, по меньшей мере, одним трубопроводом высокого давления основного топлива перед форсункой.
Недостаток известного технического решения заключается в недостаточно высоком значении остаточного давления Рост. в трубопроводе высокого давления основного топлива, которое является начальным давлением Рнач. для последующего впрыска основного топлива и определяет эффективность и стабильность процесса впрыска топлива в цилиндр дизеля. Кроме того, известное техническое решение не позволяет произвести смесеобразование дополнительного топлива вне цилиндра, что не обеспечивает достаточно качественное смешивание дополнительного топлива с воздухом. Указанные недостатки не обеспечивают достаточно эффективную и стабильную работу дизеля, приводят к недостаточно качественному смесеобразованию основного и дополнительного топлива с воздухом и эффективному сгоранию топлива.
Известен и наиболее близкий аналог ко второму варианту способа подачи основного и дополнительного топлива в дизель и ко второму варианту выполнения системы подачи основного и дополнительного топлива из авторского свидетельства СССР №1455008, МПК F 02 В 69/04, опубликованного 30.01.1989. Известный способ заключается в подаче основного газового топлива во впускной коллектор дизеля и впрыскивании порции жидкого запального топлива через форсунку в цилиндр дизеля, причем осуществляют подачу жидкого запального топлива из емкости в топливный насос высокого давления запального топлива, формируют порцию жидкого запального топлива в последнем, далее осуществляют подачу порции запального жидкого топлива в трубопровод высокого давления запального топлива и в форсунку, формируют рабочее давление жидкого запального топлива, необходимое для открытия запорного органа форсунки и производят впрыскивание порции жидкого запального топлива в цилиндр дизеля, после чего закрывают запорный орган форсунки и формируют в трубопроводе высокого давления запального топлива и в форсунке остаточное давление жидкого запального топлива. Из указанного источника информации известна и система подачи основного и дополнительного топлива в дизель, содержащая емкость основного газового топлива, регулятор давления с клапаном, сообщенный трубопроводом с емкостью основного газового топлива, устройство для регулирования расхода основного газового топлива, вход которого сообщен трубопроводом с регулятором давления, а выход сообщен трубопроводом со смесителем основного газового топлива и воздуха, размещенным во впускном коллекторе дизеля, емкость жидкого запального топлива, топливный насос высокого давления жидкого запального топлива, сообщенный своим входом с емкостью жидкого запального топлива, а выходом – через трубопровод высокого давления жидкого запального топлива с, по меньшей мере, одной форсункой с запорным органом, установленной в цилиндре дизеля.
Недостаток второго известного технического решения также заключается в недостаточно высоком значении остаточного давления Рост. в трубопроводе высокого давления запального топлива, которое является начальным давлением Рнач. для последующего впрыска запального топлива и определяет эффективность и стабильность процесса впрыска топлива в цилиндр дизеля. Причем как Рост, так и Рнач. не управляются по величине в зависимости от изменения режима работы ДВС и не обеспечивают стабильности подачи топлива от цикла к циклу. Кроме того, известное техническое решение не позволяет произвести смесеобразование запального топлива вне цилиндра, что не обеспечивает достаточно качественное смешивание дополнительного топлива с воздухом. Указанные недостатки не обеспечивают достаточно эффективную и стабильную работу дизеля, приводят к недостаточно качественному смесеобразованию запального топлива с воздухом и эффективному сгоранию топлива.
Задачей и техническим результатом, на достижение которого направлены первый и второй варианты способа подачи основного и дополнительного топлива в дизель и системы подачи основного и дополнительного топлива в дизель, являются повышение эффективности и стабильности впрыскивания топлива в дизель, улучшение смесеобразования топлива и воздуха, повышение полноты сгорания топлива в дизеле, повышение мощности и экономичности работы дизеля, снижение выброса несгоревших продуктов сгорания в атмосферу.
Указанный технический результат в части первого варианта способа достигается тем, что способ подачи основного и дополнительного топлива в дизель заключается в подаче основного жидкого топлива из емкости основного топлива в топливный насос высокого давления основного топлива, при этом формируют порцию основного топлива в последнем, подают порцию основного топлива в трубопровод высокого давления основного топлива и в форсунку, формируют рабочее давление топлива, необходимое для открытия запорного органа форсунки, впрыскивают порцию основного топлива в цилиндр дизеля, после чего закрывают запорный органа форсунки, и формируют в трубопроводе высокого давления основного топлива и в форсунке остаточное давление топлива, причем осуществляют подачу дополнительного топлива в топливный аккумулятор, где повышают давление дополнительного топлива и формируют первую порцию дополнительного топлива для ее последующей подачи в трубопровод высокого давления основного топлива в каждом цикле после закрытия запорного органа форсунки и до открытия запорного органа форсунки, причем в каждом цикле после закрытия запорного органа форсунки и до открытия запорного органа форсунки повышают величину давления в трубопроводе высокого давления основного топлива путем подачи в последний первой порции жидкого дополнительного топлива, при этом смешивают часть второй порции дополнительного топлива с воздухом и подают полученную смесь во впускной коллектор дизеля.
Для заданного режима работы дизеля величину давления в трубопроводе высокого давления основного топлива перед открытием запорного органа форсунки повышают до одинаковой величины в каждом цикле после закрытия запорного органа форсунки и до открытия запорного органа форсунки, причем при изменении режима работы дизеля с увеличением мощности и числа оборотов вала дизеля увеличивают величину давления в трубопроводе высокого давления основного топлива по сравнению с предшествующим режимом работы дизеля путем увеличения первой порции дополнительного топлива, подаваемой в трубопровод высокого давления основного топлива, а при изменении режима работы дизеля с уменьшением мощности и числа оборотов вала дизеля уменьшают величину давления в трубопроводе высокого давления основного топлива по сравнению с предшествующим режимом работы дизеля путем уменьшения первой порции дополнительного топлива, подаваемой в трубопровод высокого давления основного топлива.
Величина части второй порции дополнительного топлива, смешанной с воздухом, может быть меньше величины порции топлива, необходимого для самовоспламенения в цилиндре дизеля.
В качестве дополнительного топлива могут использовать топливо, скорость сгорания которого выше скорости сгорания основного топлива.
Запуск двигателя и его прогрев могут осуществлять при штатном упоре рейки топливного насоса высокого давления основного топлива.
В качестве основного топлива могут использовать дизельное топливо, а в качестве дополнительного топлива могут использовать бензин или диметиловый эфир.
При повышении числа оборотов дизеля и мощности до максимального значения могут увеличивать порции дополнительного топлива на 100% и более путем повышения давления дополнительного топлива, оставляя подачу основного топлива без изменения.
Указанный технический результат в части первого варианта устройства достигается и тем, что система подачи основного и дополнительного топлива в дизель содержит емкость основного топлива, топливный насос высокого давления основного топлива, сообщенный своим входом с емкостью основного топлива, а выходом – через трубопровод высокого давления основного топлива с, по меньшей мере, одной форсункой с запорным органом, установленной в цилиндре дизеля, емкость дополнительного топлива, насос дополнительного топлива, сообщенный своим входом с емкостью дополнительного топлива, а выходом – с входом топливного аккумулятора дополнительного топлива, первый выход которого через регулируемый дроссельный клапан, трубопровод дополнительного топлива и обратный клапан дополнительного топлива сообщен с, по меньшей мере, одним трубопроводом высокого давления основного топлива перед форсункой, причем второй выход топливного аккумулятора через последовательно установленные регулируемый редукционный клапан, первый электромагнитный клапан и обратный клапан слива трубопроводом сообщен с емкостью дополнительного топлива, с выходом первого электромагнитного клапана через второй электромагнитный клапан сообщен вход регулятора расхода дополнительного топлива, выход которого сообщен с активным входом струйного насоса, пассивный вход которого сообщен с атмосферой, а выход струйного насоса сообщен с впускным коллектором дизеля.
Насос дополнительного топлива может быть выполнен в виде насоса высокого давления.
Трубопровод дополнительного топлива может быть снабжен сплошным стержнем, установленным внутри трубопровода по всей его длине для снижения скорости нарастания давления топлива до установленной величины Рнач.
Обратный клапан дополнительного топлива может быть выполнен в виде корпуса, в котором расположен канал основного топлива, сообщенный с каналом дополнительного топлива, перекрываемым запорным органом дополнительного топлива, полость, сообщенная с каналом основного топлива, причем в полости расположен мембранный демпфер с регулируемыми ограничительными упорами для мембран.
Кроме того, указанный технический результат в части второго варианта способа может быть достигнут и тем, что способ подачи основного и дополнительного топлива в дизель заключается в подаче основного газового топлива во впускной коллектор дизеля и впрыскивании порции жидкого запального топлива через форсунку в цилиндр дизеля, причем осуществляют подачу жидкого запального топлива из емкости в топливный насос высокого давления запального топлива, формируют порцию жидкого запального топлива в последнем, далее осуществляют подачу порции запального жидкого топлива в трубопровод высокого давления запального топлива и в форсунку, формируют рабочее давление жидкого запального топлива, необходимое для открытия запорного органа форсунки, и производят впрыскивание порции жидкого запального топлива в цилиндр дизеля, после чего закрывают запорный орган форсунки и формируют в трубопроводе высокого давления запального топлива и в форсунке остаточное давление жидкого запального топлива, подают жидкое дополнительное топливо в топливный аккумулятор, где повышают давление жидкого дополнительного топлива и формируют первую порцию жидкого дополнительного топлива, подают первую порцию жидкого дополнительного топлива в трубопровод высокого давления запального топлива в каждом цикле после закрытия запорного органа форсунки и до открытия запорного органа форсунки, причем в каждом цикле после закрытия запорного органа форсунки и до открытия запорного органа форсунки повышают величину давления в трубопроводе высокого давления запального топлива путем подачи в последний первой порции жидкого дополнительного топлива, при этом формируют вторую порцию жидкого дополнительного топлива, смешивают часть второй порции дополнительного топлива с воздухом или с газовым топливом и подают полученную смесь во впускной коллектор дизеля.
Для заданного режима работы дизеля величину давления в трубопроводе высокого давления запального топлива перед открытием запорного органа форсунки повышают до одинаковой величины в каждом цикле после закрытия запорного органа форсунки и до открытия запорного органа форсунки, причем при изменении режима работы дизеля с увеличением мощности и числа оборотов вала дизеля увеличивают величину давления в трубопроводе высокого давления запального топлива по сравнению с предшествующим режимом работы дизеля путем увеличения первой порции жидкого дополнительного топлива подаваемой в трубопровод высокого давления запального топлива, а при изменении режима работы дизеля с уменьшением мощности и числа оборотов вала дизеля уменьшают величину давления в трубопроводе высокого давления запального топлива по сравнению с предшествующим режимом работы дизеля путем уменьшения первой порции жидкого дополнительного топлива, подаваемой в трубопровод высокого давления запального топлива.
Величина части второй порции жидкого дополнительного топлива, смешанной с воздухом или газовым топливом, может быть меньше величины порции жидкого запального топлива, необходимой для самовоспламенения в цилиндре дизеля.
В качестве жидкого дополнительного топлива могут использовать жидкое запальное топливо.
В качестве жидкого дополнительного топлива могут использовать топливо, скорость сгорания которого выше скорости сгорания жидкого запального топлива.
В качестве жидкого запального топлива могут использовать дизельное топливо, а в качестве дополнительного топлива могут использовать бензин или диметиловый эфир.
Запуск двигателя и его прогрев могут осуществлять при штатном упоре рейки топливного насоса высокого давления основного топлива.
При повышении числа оборотов дизеля и мощности до максимального значения могут увеличивать порции дополнительного топлива на 100% и более путем повышения давления дополнительного топлива, оставляя подачу жидкого запального топлива без изменения.
Указанный технический результат в части второго варианта устройства также может быть достигнут и тем, что система подачи основного и дополнительного топлива в дизель содержит емкость основного газового топлива, регулятор давления с клапаном, сообщенный трубопроводом с емкостью основного газового топлива, устройство для регулирования расхода основного газового топлива, вход которого сообщен трубопроводом с регулятором давления, а выход сообщен трубопроводом со смесителем основного газового топлива и воздуха, размещенным во впускном коллекторе дизеля, емкость жидкого запального топлива, топливный насос высокого давления жидкого запального топлива, сообщенный своим входом с емкостью жидкого запального топлива, а выходом – через трубопровод высокого давления жидкого запального топлива с, по меньшей мере, одной форсункой с запорным органом, установленной в цилиндре дизеля, источник жидкого дополнительного топлива – насос жидкого дополнительного топлива, сообщенный своим входом с источником жидкого дополнительного топлива, а выходом – с входом топливного аккумулятора жидкого дополнительного топлива, первый выход которого через регулируемый дроссельный клапан, трубопровод жидкого дополнительного топлива и обратный клапан жидкого дополнительного топлива сообщен с по, меньшей мере, одним трубопроводом высокого давления жидкого запального топлива перед форсункой, причем второй выход топливного аккумулятора через последовательно установленные регулируемый редукционный клапан, первый электромагнитный клапан и обратный клапан слива трубопроводом сообщен с источником жидкого дополнительного топлива, с выходом первого электромагнитного клапана через второй электромагнитный клапан сообщен вход регулятора расхода жидкого дополнительного топлива, выход которого сообщен с активным входом струйного насоса, пассивный вход которого сообщен с атмосферой или трубопроводом газового топлива, а выход струйного насоса сообщен с впускным коллектором дизеля.
Трубопровод жидкого дополнительного топлива может быть снабжен сплошным стержнем, установленным внутри трубопровода по всей его длине.
Обратный клапан жидкого дополнительного топлива может быть выполнен в виде корпуса, в котором расположен канал жидкого запального топлива, сообщенный с каналом жидкого дополнительного топлива, перекрываемым запорным органом жидкого дополнительного топлива, полость, сообщенная с каналом жидкого запального топлива, причем в полости расположен мембранный демпфер с регулируемыми ограничительными упорами для мембран.
В качестве жидкого дополнительного топлива могут использовать жидкое запальное топливо, а источник жидкого дополнительного топлива может быть выполнен в виде емкости жидкого запального топлива
В качестве жидкого дополнительного топлива могут использовать топливо, скорость сгорания которого выше скорости сгорания жидкого запального топлива, источник жидкого дополнительного топлива может быть выполнен в виде емкости жидкого дополнительного топлива, а насос жидкого дополнительного топлива выполнен в виде плунжерного насоса высокого давления.
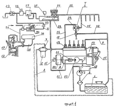
На фиг.1 показан первый вариант выполнения системы подачи основного и дополнительного топлива;
фиг.2 – обратный клапан дополнительного топлива для первого варианта выполнения системы основного и дополнительного топлива;
фиг.3 – второй вариант выполнения системы подачи основного и дополнительного топлива;
фиг.4 – обратный клапан дополнительного топлива для второго варианта выполнения системы основного и дополнительного топлива.
Первый вариант выполнения системы подачи основного и дополнительного топлива в дизель показан на фиг.1. Система подачи основного и дополнительного топлива в дизель содержит емкость 1 основного топлива, подкачивающий насос 2, вход которого через фильтр 3 грубой очистки трубопроводом сообщен с емкостью 1 основного топлива. Выход подкачивающего насоса 2 трубопроводом 4 сообщен с входом фильтра 5 тонкой очистки, выход которого сообщен с топливным насосом 6 высокого давления основного топлива. Устройство выпуска воздуха 7 из фильтра 5 тонкой очистки трубопроводом 8 сообщено с емкостью 1 основного топлива через сливной трубопровод 9 топливного насоса 6 высокого давления основного топлива (ТНВД).
Топливный насос 6 высокого давления основного топлива снабжен муфтой 10 опережения впрыска, кинематически связанной с приводом 11 от дизеля 12. Топливный насос 6 высокого давления основного топлива имеет топливовпрыскивающие секции 13 по числу цилиндров дизеля 12 и всережимный регулятор 14 с органом управления 15. Выход каждой топливовпрыскивающей секции 13 топливного насоса 6 высокого давления сообщен через трубопровод 16 высокого давления основного топлива с форсункой 17, установленной в цилиндре дизеля 12.
Емкость 18 дополнительного топлива через трубопровод 19 сообщена с входом насоса 20 дополнительного топлива. Выход насоса 20 дополнительного топлива через обратный клапан 21 и трубопровод 22, сообщен с входом топливного аккумулятора 23 дополнительного топлива. Первый выход топливного аккумулятора 23 дополнительного топлива через регулируемый дроссельный клапан 24, трубопровод 25 дополнительного топлива и обратный клапан 26 дополнительного топлива сообщен с трубопроводом 16 высокого давления основного топлива перед форсункой 17. Второй выход топливного аккумулятора 23 через последовательно установленные регулируемый редукционный клапан 27, первый электромагнитный клапан 28 и обратный клапан 29 слива трубопроводом сообщен с емкостью 18 дополнительного топлива. Выход первого электромагнитного клапана 28 через второй электромагнитный клапан 30 и через трубопровод 31 сообщен с входом регулятора 32 расхода дополнительного топлива. Выход регулятора 32 расхода дополнительного топлива сообщен с активным входом струйного насоса 33, пассивный вход которого сообщен с атмосферой, а выход струйного насоса 33 через трубопровод 34 сообщен с впускным коллектором 35 дизеля 9 после воздушного фильтра 36.
Топливный аккумулятор 23 снабжен датчиком 37 давления топлива.
Форсунка 17 снабжена сливным трубопроводом 38, сообщенным со сливным трубопроводом 9 ТНВД 6 основного топлива и с емкостью 1 основного топлива.
Обратный клапан 26 дополнительного топлива (см. фиг.2) содержит корпус 39 с каналом основного топлива, сообщенным с трубопроводом 16 высокого давления основного топлива и с каналом 40 дополнительного топлива, перекрываемым запорным элементом 41 обратного клапана. Канал 40 дополнительного топлива выполнен в штуцере 42, навинченном на корпус 39 обратного клапана 26. Седло 43 запорного элемента 41 поджато к корпусу 39 штуцером 42. С каналом основного топлива также сообщена полость, в которой размещен мембранный демпфер с регулируемыми ограничительными упорами 44 для мембран 45.
Насос 20 дополнительного топлива может быть выполнен в виде плунжерного насоса высокого давления.
Трубопровод 25 дополнительного топлива может быть снабжен сплошным стержнем (на фиг.1 не показан), установленным внутри трубопровода 25 по всей его длине.
Первый вариант способа подачи основного и дополнительного топлива в дизель осуществляется следующим образом.
Основное жидкое топливо из емкости 1 основного топлива через фильтр 3 грубой очистки подкачивающим насосом 20 подается в фильтр 5 тонкой очистки, из которого основное топливо подается на вход в топливовпрыскивающие секции 13 топливного насоса 6 высокого давления основного топлива. В топливовпрыскивающей секции 13 формируют порцию основного топлива и подают порцию основного топлива в трубопровод 16 высокого давления основного топлива и в форсунку 17, где формируют рабочее давление Рраб. топлива, необходимое для открытия запорного органа (иглы) форсунки 17. Далее впрыскивают порцию основного топлива в цилиндр дизеля 12, после чего закрывается запорный орган форсунки 17 и формируется в трубопроводе 16 высокого давления основного топлива и в форсунке 17 остаточное давление топлива Рост..
При этом из емкости 18 насосом 20 дополнительного топлива через трубопроводы 19, 22 и обратный клапан 21 осуществляют подачу дополнительного топлива в топливный аккумулятор 23. В топливном аккумуляторе 23 повышают давление дополнительного топлива и формируют первую порцию дополнительного топлива путем открытия регулируемого дроссельного клапана 24. Первую порцию дополнительного топлива через первый выход топливного аккумулятора 23, трубопровод 25 и обратный клапан 26 за счет давления, создаваемого в топливном аккумуляторе 23, подают в трубопровод 16 высокого давления основного топлива после закрытия запорного органа форсунки 17.
При этом повышается величина давления в трубопроводе 16 высокого давления основного топлива с Рост. до величины Рнач., которое является начальным давлением для последующего впрыска основного топлива и определяет эффективность и стабильность процесса впрыска топлива в цилиндр. Повышение давления топлива до величины Рнач обеспечивает оптимальный закон подачи, повышение среднего давления впрыска, сокращение длительности подачи необходимой порции топлива.
Для заданного режима работы дизеля величину давления в трубопроводе высокого давления основного топлива перед открытием запорного органа форсунки повышают до одинаковой величины Рнач в каждом цикле после закрытия запорного органа форсунки и до открытия запорного органа форсунки. При изменении режима работы дизеля с увеличением мощности и числа оборотов вала дизеля увеличивают величину давления Рнач в трубопроводе 16 высокого давления основного топлива по сравнению с предшествующим режимом работы дизеля путем увеличения первой порции дополнительного топлива, подаваемой в трубопровод 16 высокого давления основного топлива. В случае изменения режима работы дизеля с уменьшением мощности и числа оборотов вала дизеля уменьшают величину давления Рнач в трубопроводе 16 высокого давления основного топлива по сравнению с предшествующим режимом работы дизеля путем уменьшения первой порции дополнительного топлива, подаваемой в трубопровод 16 высокого давления основного топлива.
В топливном аккумуляторе 23 также формируют вторую порцию дополнительного топлива путем открытия регулируемого редукционного клапана 27. Вторая порция дополнительного топлива через второй выход топливного аккумулятора 23, первый электромагнитный клапан 28 и обратный клапан 29 слива трубопроводом частично поступает обратно в емкость 18 дополнительного топлива. Другая часть второй порции через выход первого электромагнитного клапана 28 поступает во второй электромагнитный клапан 30 и через трубопровод 31 поступает на вход регулятора 32 расхода дополнительного топлива. После выхода из регулятора 32 расхода дополнительного топлива часть второй порции дополнительного поступает в активный вход струйного насоса 33, где происходит смешивание части второй порции дополнительного топлива с воздухом, всасываемым через пассивный вход струйного насоса 33 из атмосферы. Смесь воздуха и части второй порции дополнительного топлива из струйного насоса 33 через трубопровод 34 поступает во впускной коллектор 35 и далее в цилиндр дизеля 9.
Величина части второй порции дополнительного топлива, смешанной с воздухом, предпочтительно должна быть меньше величины порции топлива, необходимого для самовоспламенения в цилиндре дизеля 9.
В качестве дополнительного топлива используют топливо, скорость сгорания которого выше скорости сгорания основного топлива, например в качестве основного топлива используют дизельное топливо, а в качестве дополнительного топлива используют бензин или диметиловый эфир.
Запуск двигателя и его прогрев предпочтительно осуществлять при штатном упоре рейки топливного насоса 6 высокого давления основного топлива.
При повышении числа оборотов дизеля и мощности до максимального значения предпочтительно увеличивать первую и вторую порции дополнительного топлива на 100% и более путем повышения давления дополнительного топлива в топливном аккумуляторе 23, оставляя подачу основного топлива без изменения.
Второй вариант выполнения системы подачи основного и дополнительного топлива в дизель показан на фиг.3. Система подачи основного и дополнительного топлива в дизель содержит емкость 46 основного газового топлива с устройством 47 для заправки газового топлива. Регулятор 48 давления газового топлива с клапаном 49 сообщен трубопроводом с емкостью 46 основного газового топлива. Устройство 50 для регулирования расхода основного газового топлива своим входом сообщено трубопроводом с регулятором 48 давления газового топлива, а выходом сообщено трубопроводом со смесителем 51 основного газового топлива и воздуха, размещенным во впускном коллекторе 52 дизеля 53.
Система подачи основного и дополнительного топлива в дизель также содержит емкость 54 жидкого запального топлива, подкачивающий насос 55 жидкого запального топлива, вход которого через фильтр 56 грубой очистки трубопроводом сообщен с емкостью 54 жидкого запального топлива. Выход подкачивающего насоса 55 трубопроводом сообщен с входом фильтра 57 тонкой очистки, выход которого сообщен с топливным насосом 58 высокого давления жидкого запального топлива. Устройство 59 выпуска воздуха из фильтра 5 тонкой очистки трубопроводом 60 сообщено с емкостью 54 жидкого запального топлива через сливной трубопровод 61 топливного насоса 58 высокого давления жидкого запального топлива (ТНВД).
Топливный насос 58 высокого давления жидкого запального топлива снабжен муфтой 62 опережения впрыска, кинематически связанной с приводом 63 от дизеля 53. Топливный насос 58 высокого давления жидкого запального топлива имеет топливовпрыскивающие секции 64 по числу цилиндров дизеля 53 и всережимный регулятор 65 с органом управления 66. Выход каждой топливовпрыскивающей секции 64 топливного насоса 6 высокого давления сообщен через трубопровод 67 высокого давления основного топлива с форсункой 68 установленной в цилиндре дизеля 53.
Система предусматривает и подачу в дизель 53 жидкого дополнительного топлива, причем в качестве последнего может быть использовано или жидкое запальное топливо или другой вид топлива. Например, в качестве жидкого запального топлива используют дизельное топливо, а в качестве дополнительного топлива используют бензин или диметиловый эфир.
Если в качестве жидкого дополнительного топлива используется жидкое запальное топливо, то насос 69 дополнительного топлива сообщен с емкостью 54 жидкого запального топлива, как показано на фиг.3.
Если в качестве жидкого дополнительного топлива используется другой вид топлива, то насос 69 дополнительного топлива сообщен с отдельной емкостью этого вида топлива, например таким образом, как показано соединение насоса 20 дополнительного топлива с емкостью 18 на фиг.1.
Выход насоса 69 жидкого дополнительного топлива (см. фиг.3) через обратный клапан 70 и трубопровод 71 сообщен с входом топливного аккумулятора 72 жидкого дополнительного топлива. Первый выход топливного аккумулятора 72 жидкого дополнительного топлива через регулируемый дроссельный клапан 73, трубопровод 74 жидкого дополнительного топлива и обратный клапан 75 жидкого дополнительного топлива сообщен с трубопроводом 67 высокого давления жидкого запального топлива перед форсункой 68.
Второй выход топливного аккумулятора 72 через последовательно установленные регулируемый редукционный клапан 76, первый электромагнитный клапан 77 и обратный клапан 78 слива трубопроводом сообщен с емкостью жидкого дополнительного топлива. Выход первого электромагнитного клапана 77 через второй электромагнитный клапан 79 и через трубопровод 80 сообщен с входом регулятора 81 расхода жидкого дополнительного топлива. Выход регулятора 81 расхода жидкого дополнительного топлива сообщен с активным входом струйного насоса 82, пассивный вход которого сообщен с атмосферой или с трубопроводом подачи основного газового топлива, а выход струйного насоса 82 через трубопровод 83 сообщен с впускным коллектором 52 дизеля 53 после воздушного фильтра 84.
Топливный аккумулятор 72 снабжен датчиком 85 давления топлива.
Форсунка 68 снабжена сливным трубопроводом 86, сообщенным со сливным трубопроводом 61 ТНВД 58 жидкого запального топлива и с емкостью 54 жидкого запального топлива.
Обратный клапан 75 жидкого дополнительного топлива (см. фиг.4) содержит корпус 87 с каналом жидкого запального топлива, сообщенным с трубопроводом 67 высокого давления жидкого запального топлива и с каналом 88 жидкого дополнительного топлива, перекрываемым запорным элементом 89 обратного клапана. Канал 88 жидкого дополнительного топлива выполнен в штуцере 90, навинченном на корпус 87 обратного клапана 75. Седло 91 запорного элемента 89 поджато к корпусу 87 штуцером 90. С каналом жидкого запального топлива также сообщена полость, в которой размещен мембранный демпфер с регулируемыми ограничительными упорами 92 для мембран 93.
Насос 69 жидкого дополнительного топлива может быть выполнен в виде плунжерного насоса высокого давления.
Трубопровод 74 жидкого дополнительного топлива может быть снабжен сплошным стержнем (на чертежах не показан), установленным внутри трубопровода 74 по всей его длине.
Второй вариант способа подачи основного и дополнительного топлива в дизель осуществляется следующим образом.
Основное газовое топливо из емкости 46 основного газового топлива через клапан 49 поступает в регулятор 48 давления основного газового топлива, откуда основное газовое топливо через устройство 50 для регулирования расхода основного газового топлива подается в смеситель 51 основного газового топлива и воздуха, расположенный во впускном коллекторе 52 дизеля 53 и далее подается в цилиндры дизеля 53. В цилиндре дизеля 53 смесь основного газового топлива и воздуха воспламеняется жидким запальным топливом, впрыскиваемым в цилиндр дизеля 53 через форсунку 68.
Жидкое запальное топливо из емкости 54 жидкого запального топлива через фильтр 56 грубой очистки подкачивающим насосом 55 подается в фильтр 57 тонкой очистки, из которого жидкое запальное топливо подается на вход в топливовпрыскивающие секции 64 топливного насоса 58 высокого давления жидкого запального топлива. В топливовпрыскивающей секции 64 формируют порцию жидкого запального топлива и подают порцию жидкого запального топлива в трубопровод 67 высокого давления жидкого запального топлива и в форсунку 68, где формируют рабочее давление Рраб. топлива, необходимое для открытия запорного органа (иглы) форсунки 68. Далее впрыскивают порцию жидкого запального топлива в цилиндр дизеля 53, после чего закрывается запорный орган форсунки 68 и формируется в трубопроводе 67 высокого давления жидкого запального топлива и в форсунке 68 остаточное давление жидкого запального топлива Рост..
При этом насосом 69 жидкое дополнительное топливо через трубопроводы 55, 71 и обратный клапан 70 осуществляют подачу жидкого дополнительного топлива в топливный аккумулятор 72 жидкого дополнительного топлива. В топливном аккумуляторе 72 повышают давление жидкого дополнительного топлива и формируют первую порцию жидкого дополнительного топлива путем открытия регулируемого дроссельного клапана 73. Первую порцию жидкого дополнительного топлива через первый выход топливного аккумулятора 72, трубопровод 74 и обратный клапан 75 за счет давления, создаваемого в топливном аккумуляторе 72, подают в трубопровод 67 высокого давления жидкого запального топлива после закрытия запорного органа форсунки 68.
При этом повышается величина давления в трубопроводе 67 высокого давления жидкого запального топлива с Рост. до стабильной величины Рнач., которое является начальным давлением для последующего впрыска топлива и определяет эффективность и стабильность процесса впрыска топлива в цилиндр. Повышение давления топлива до стабильной величины Рнач обеспечивает оптимальный закон подачи, повышение среднего давления впрыска, сокращение длительности подачи необходимой порции топлива.
Для заданного режима работы дизеля величину давления в трубопроводе 67 высокого давления жидкого запального топлива перед открытием запорного органа форсунки повышают до одинаковой величины Рнач в каждом цикле после закрытия запорного органа форсунки 68 и до открытия запорного органа форсунки 68. При изменении режима работы дизеля с увеличением мощности и числа оборотов вала дизеля увеличивают стабильную величину давления Рнач в трубопроводе 67 высокого давления жидкого запального топлива по сравнению с предшествующим режимом работы дизеля путем увеличения первой порции жидкого дополнительного топлива, подаваемой в трубопровод 67 высокого давления жидкого запального топлива. В случае изменения режима работы дизеля с уменьшением мощности и числа оборотов вала дизеля уменьшают стабильную величину давления Рнач в трубопроводе 67 высокого давления жидкого запального топлива по сравнению с предшествующим режимом работы дизеля путем уменьшения первой порции жидкого дополнительного топлива, подаваемой в трубопровод 67 высокого давления жидкого запального топлива.
В топливном аккумуляторе 72 также формируют вторую порцию дополнительного топлива путем открытия регулируемого редукционного клапана 76. Вторая порция жидкого дополнительного топлива через второй выход топливного аккумулятора 72, первый электромагнитный клапан 77 и обратный клапан 78 слива трубопроводом частично поступает обратно в емкость жидкого дополнительного топлива. Другая часть второй порции жидкого дополнительного топлива через выход первого электромагнитного клапана 77 поступает во второй электромагнитный клапан 79 и через трубопровод 80 поступает на вход регулятора 81 расхода жидкого дополнительного топлива. После выхода из регулятора 81 расхода жидкого дополнительного топлива часть второй порции жидкого дополнительного топлива поступает в активный вход струйного насоса 82, где происходит смешивание части второй порции жидкого дополнительного топлива с воздухом, всасываемым через пассивный вход струйного насоса 82 из атмосферы или основного газового топлива. Смесь воздуха или основного газового топлива и части второй порции дополнительного топлива из струйного насоса 82 через трубопровод 84 поступает во впускной коллектор 52 и далее в цилиндр дизеля 53.
Величина части второй порции жидкого дополнительного топлива смешанной с воздухом или основным газовым топливом предпочтительно должна быть меньше величины порции топлива, необходимого для самовоспламенения в цилиндре дизеля 53.
В качестве жидкого дополнительного топлива используют топливо, скорость сгорания которого выше скорости сгорания жидкого запального топлива, например в качестве жидкого запального топлива используют дизельное топливо, а в качестве жидкого дополнительного топлива используют бензин или диметиловый эфир.
Запуск двигателя и его прогрев предпочтительно осуществлять при штатном упоре рейки топливного насоса 58 высокого давления жидкого запального топлива.
При повышении числа оборотов дизеля и мощности до максимального значения, предпочтительно увеличивать первую и вторую порции дополнительного топлива на 100% и более путем повышения давления дополнительного топлива в топливном аккумуляторе 23, оставляя подачу основного топлива без изменения.
Таким образом, обеспечивается повышение эффективности и стабильности впрыскивания топлива в дизель, улучшение смесеобразования топлива и воздуха, повышение полноты сгорания топлива в дизеле, повышение мощности и экономичности работы дизеля и снижение выброса несгоревших продуктов сгорания в атмосферу.
Формула изобретения
1. Способ подачи основного и дополнительного топлива в дизель, заключающийся в подаче основного жидкого топлива из емкости основного топлива в топливный насос высокого давления основного топлива, при этом формируют порцию основного топлива в последнем, подают порцию основного топлива в трубопровод высокого давления основного топлива и в форсунку, формируют рабочее давление топлива, необходимое для открытия запорного органа форсунки, впрыскивают порцию основного топлива в цилиндр дизеля, после чего закрывают запорный орган форсунки и формируют в трубопроводе высокого давления основного топлива и в форсунке остаточное давление топлива, осуществляют подачу дополнительного топлива в топливный аккумулятор, где повышают давление дополнительного топлива и формируют первую порцию дополнительного топлива для ее последующей подачи в трубопровод высокого давления основного топлива в каждом цикле после закрытия запорного органа форсунки и до открытия запорного органа форсунки, причем в каждом цикле после закрытия запорного органа форсунки и до открытия запорного органа форсунки повышают величину давления в трубопроводе высокого давления основного топлива путем подачи в последний первой порции дополнительного топлива, при этом формируют вторую порцию дополнительного топлива, смешивают часть второй порции дополнительного топлива с воздухом и подают полученную смесь во впускной коллектор дизеля.
2. Способ по п.1, отличающийся тем, что для заданного режима работы дизеля величину давления в трубопроводе высокого давления основного топлива перед открытием запорного органа форсунки повышают до одинаковой величины в каждом цикле после закрытия запорного органа форсунки и до открытия запорного органа форсунки, причем при изменении режима работы дизеля с увеличением мощности и числа оборотов вала дизеля увеличивают величину давления в трубопроводе высокого давления основного топлива по сравнению с предшествующим режимом работы дизеля путем увеличения первой порции дополнительного топлива, подаваемой в трубопровод высокого давления основного топлива, а при изменении режима работы дизеля с уменьшением мощности и числа оборотов вала дизеля уменьшают величину давления в трубопроводе высокого давления основного топлива по сравнению с предшествующим режимом работы дизеля путем уменьшения первой порции дополнительного топлива, подаваемой в трубопровод высокого давления основного топлива.
3. Способ по п.1, отличающийся тем, что величина части второй порции дополнительного топлива, смешанной с воздухом, меньше величины порции топлива, необходимого для самовоспламенения в цилиндре дизеля.
4. Способ по п.1, отличающийся тем, что в качестве дополнительного топлива используют топливо, скорость сгорания которого выше скорости сгорания основного топлива.
5. Способ по п.1, отличающийся тем, что запуск двигателя и его прогрев осуществляют при штатном упоре рейки топливного насоса высокого давления основного топлива.
6. Способ по п.1, отличающийся тем, что в качестве основного топлива используют дизельное топливо, а в качестве дополнительного топлива используют бензин или диметиловый эфир.
7. Способ по любому из пп.1-6, отличающийся тем, что при повышении числа оборотов дизеля и мощности до максимального значения увеличивают порции дополнительного топлива на 100% и более путем повышения давления дополнительного топлива, оставляя подачу основного топлива без изменения.
8. Система подачи основного и дополнительного топлива в дизель, содержащая емкость основного топлива, топливный насос высокого давления основного топлива, сообщенный своим входом с емкостью основного топлива, а выходом через трубопровод высокого давления основного топлива – с, по меньшей мере, одной форсункой с запорным органом, установленной в цилиндре дизеля, емкость дополнительного топлива, насос дополнительного топлива, сообщенный своим входом с емкостью дополнительного топлива, а выходом – с входом топливного аккумулятора дополнительного топлива, первый выход которого через регулируемый дроссельный клапан, трубопровод дополнительного топлива и обратный клапан дополнительного топлива сообщен с по, меньшей мере, одним трубопроводом высокого давления основного топлива перед форсункой, причем второй выход топливного аккумулятора через последовательно установленные регулируемый редукционный клапан, первый электромагнитный клапан и обратный клапан слива трубопроводом сообщен с емкостью дополнительного топлива, с выходом первого электромагнитного клапана через второй электромагнитный клапан сообщен вход регулятора расхода дополнительного топлива, выход которого сообщен с активным входом струйного насоса, пассивный вход которого сообщен с атмосферой, а выход струйного насоса сообщен с впускным коллектором дизеля.
9. Система по п.8, отличающаяся тем, что насос дополнительного топлива выполнен в виде насоса высокого давления.
10. Система по п.8, отличающаяся тем, что трубопровод дополнительного топлива снабжен сплошным стержнем, установленным внутри трубопровода по всей его длине.
11. Система по любому из пп.8-10, отличающаяся тем, что обратный клапан дополнительного топлива выполнен в виде корпуса, в котором расположен канал основного топлива, сообщенный с каналом дополнительного топлива, перекрываемым запорным органом дополнительного топлива, полость, сообщенная с каналом основного топлива, причем в полости расположен мембранный демпфер с регулируемыми ограничительными упорами для мембран.
12. Способ подачи основного и дополнительного топлива в дизель, заключающийся в подаче основного газового топлива во впускной коллектор дизеля и впрыскивании порции жидкого запального топлива через форсунку в цилиндр дизеля, причем осуществляют подачу жидкого запального топлива из емкости в топливный насос высокого давления запального топлива, формируют порцию жидкого запального топлива в последнем, далее осуществляют подачу порции запального жидкого топлива в трубопровод высокого давления запального топлива и в форсунку, формируют рабочее давление жидкого запального топлива, необходимое для открытия запорного органа форсунки, и производят впрыскивание порции жидкого запального топлива в цилиндр дизеля, после чего закрывают запорный орган форсунки и формируют в трубопроводе высокого давления запального топлива и в форсунке остаточное давление жидкого запального топлива, подают жидкое дополнительное топливо в топливный аккумулятор, где повышают давление жидкого дополнительного топлива и формируют первую порцию жидкого дополнительного топлива, подают первую порцию жидкого дополнительного топлива в трубопровод высокого давления запального топлива в каждом цикле после закрытия запорного органа форсунки и до открытия запорного органа форсунки, причем в каждом цикле после закрытия запорного органа форсунки и до открытия запорного органа форсунки повышают величину давления в трубопроводе высокого давления запального топлива путем подачи в последний первой порции жидкого дополнительного топлива, при этом формируют вторую порцию жидкого дополнительного топлива, смешивают часть второй порции жидкого дополнительного топлива с воздухом или с газовым топливом и подают полученную смесь во впускной коллектор дизеля.
13. Способ по п.12, отличающийся тем, что для заданного режима работы дизеля величину давления в трубопроводе высокого давления запального топлива перед открытием запорного органа форсунки повышают до одинаковой величины в каждом цикле после закрытия запорного органа форсунки и до открытия запорного органа форсунки, причем при изменении режима работы дизеля с увеличением мощности и числа оборотов вала дизеля увеличивают величину давления в трубопроводе высокого давления запального топлива по сравнению с предшествующим режимом работы дизеля путем увеличения первой порции жидкого дополнительного топлива, подаваемой в трубопровод высокого давления запального топлива, а при изменении режима работы дизеля с уменьшением мощности и числа оборотов вала дизеля уменьшают величину давления в трубопроводе высокого давления запального топлива по сравнению с предшествующим режимом работы дизеля путем уменьшения первой порции жидкого дополнительного топлива, подаваемой в трубопровод высокого давления запального топлива.
14. Способ по п.12, отличающийся тем, что величина части второй порции жидкого дополнительного топлива, смешанной с воздухом или газовым топливом, меньше величины порции жидкого запального топлива, необходимой для самовоспламенения в цилиндре дизеля.
15. Способ по п.12, отличающийся тем, что в качестве жидкого дополнительного топлива используют жидкое запальное топливо.
16. Способ по п.12, отличающийся тем, что в качестве жидкого дополнительного топлива используют топливо, скорость сгорания которого выше скорости сгорания жидкого запального топлива.
17. Способ по п.16, отличающийся тем, что в качестве жидкого запального топлива используют дизельное топливо, а в качестве дополнительного топлива используют бензин или диметиловый эфир.
18. Способ по п.12, отличающийся тем, что запуск двигателя и его прогрев осуществляют при штатном упоре рейки топливного насоса высокого давления основного топлива.
19. Способ по любому из пп.12-16, отличающийся тем, что при повышении числа оборотов дизеля и мощности до максимального значения увеличивают порции дополнительного топлива на 100% и более путем повышения давления дополнительного топлива, оставляя подачу жидкого запального топлива без изменения.
20. Система подачи основного и дополнительного топлива в дизель, содержащая емкость основного газового топлива, регулятор давления с клапаном, сообщенный трубопроводом с емкостью основного газового топлива, устройство для регулирования расхода основного газового топлива, вход которого сообщен трубопроводом с регулятором давления, а выход сообщен трубопроводом со смесителем основного газового топлива и воздуха, размещенным во впускном коллекторе дизеля, емкость жидкого запального топлива, топливный насос высокого давления жидкого запального топлива, сообщенный своим входом с емкостью жидкого запального топлива, а выходом через трубопровод высокого давления жидкого запального топлива – с, по меньшей мере, одной форсункой с запорным органом, установленной в цилиндре дизеля, источник жидкого дополнительного топлива, насос жидкого дополнительного топлива, сообщенный своим входом с источником жидкого дополнительного топлива, а выходом – с входом топливного аккумулятора жидкого дополнительного топлива, первый выход которого через регулируемый дроссельный клапан, трубопровод жидкого дополнительного топлива и обратный клапан жидкого дополнительного топлива сообщен с по, меньшей мере, одним трубопроводом высокого давления жидкого запального топлива перед форсункой, причем второй выход топливного аккумулятора через последовательно установленные регулируемый редукционный клапан, первый электромагнитный клапан и обратный клапан слива трубопроводом сообщен с источником жидкого дополнительного топлива, с выходом первого электромагнитного клапана через второй электромагнитный клапан сообщен вход регулятора расхода жидкого дополнительного топлива, выход которого сообщен с активным входом струйного насоса, пассивный вход которого сообщен с атмосферой или трубопроводом газового топлива, а выход струйного насоса сообщен с впускным коллектором дизеля.
21. Система по п.20, отличающаяся тем, что трубопровод жидкого дополнительного топлива снабжен сплошным стержнем, установленным внутри трубопровода по всей его длине.
22. Система по п.20, отличающаяся тем, что обратный клапан жидкого дополнительного топлива выполнен в виде корпуса, в котором расположен канал жидкого запального топлива, сообщенный с каналом жидкого дополнительного топлива, перекрываемым запорным органом жидкого дополнительного топлива, полость, сообщенная с каналом жидкого запального топлива, причем в полости расположен мембранный демпфер с регулируемыми ограничительными упорами для мембран.
23. Система по любому из пп.20-22, отличающаяся тем, что в качестве жидкого дополнительного топлива используется жидкое запальное топливо, а источник жидкого дополнительного топлива выполнен в виде емкости жидкого запального топлива.
24. Система по любому из пп.20-22, отличающаяся тем, что в качестве жидкого дополнительного топлива используется топливо, скорость сгорания которого выше скорости сгорания жидкого запального топлива, источник жидкого дополнительного топлива выполнен в виде емкости жидкого дополнительного топлива, а насос жидкого дополнительного топлива выполнен в виде плунжерного насоса высокого давления.
РИСУНКИ
|
|