|
|
(21), (22) Заявка: 2003130640/06, 04.04.2002
(24) Дата начала отсчета срока действия патента:
04.04.2002
(30) Конвенционный приоритет:
06.04.2001 SE 0101266-5
(43) Дата публикации заявки: 10.04.2005
(46) Опубликовано: 27.01.2007
(56) Список документов, цитированных в отчете о поиске:
US 3710576 А, 16.01.1973. SU 322526 А, 30.11.1971. US 3893292 А, 08.07.1975. FR 2734318 A1, 22.11.1996. SU 357361 А1, 01.01.1972. RU 2044907 С1, 27.09.1995.
(85) Дата перевода заявки PCT на национальную фазу:
06.11.2003
(86) Заявка PCT:
SE 02/00666 (04.04.2002)
(87) Публикация PCT:
WO 02/081884 (17.10.2002)
Адрес для переписки:
101000, Москва, М.Златоустинский пер., 10, кв.15, “ЕВРОМАРКПАТ”, пат.пов. И.А.Веселицкой, рег. № 11
|
(72) Автор(ы):
Бертил ЙЁНССОН (SE), Ларс СУНДИН (SE)
(73) Патентообладатель(и):
ВОЛЬВО АЭРО КОРПОРЕЙШН (SE)
|
(54) ГАЗОТУРБИННЫЙ ДВИГАТЕЛЬ, СПОСОБ ТОРМОЖЕНИЯ ИМ И ТРАНСПОРТНОЕ СРЕДСТВО С ГАЗОТУРБИННЫМ ПРИВОДОМ
(57) Реферат:
Газотурбинный двигатель содержит первый компрессор, камеру сгорания и первую турбину, которая через первый вал приводит во вращение компрессор. Перед первой турбиной установлен выпускной клапан для направления части сжатого компрессором газа в обход первой турбины во время торможения двигателем. Проходное сечение выпускного клапана (12), от которого зависит количество сжатого в компрессоре газа и направляемого в обход первой турбины (11), регулируется в зависимости от давления газа на выходе из компрессора (2). Изобретение направлено на упрощение торможением двигателем с точки зрения конструкции двигателя и/или средств управления. 3 н. и 22 з. п. ф-лы, 4 ил.
Настоящее изобретение относится к газотурбинному двигателю, содержащему первый компрессор, камеру сгорания и первую турбину, которая через первый вал приводит компрессор во вращение. Сжимаемый в компрессоре газ нагревается в камере сгорания и расширяется в турбине. Настоящее изобретение относится также к способу торможения газотурбинным двигателем и к транспортному средству, содержащему такой двигатель.
Газотурбинные двигатели используют, например, в качестве приводных двигателей транспортных средств и летательных аппаратов, а также в судовых энергетических установках и на электростанциях для получения электрической энергии.
Описанный ниже газотурбинный привод относится к газотурбинным двигателям со свободной приводной турбиной. В этой связи необходимо подчеркнуть, что такой вариант осуществления изобретения является лишь предпочтительным, но не единственно возможным. В газотурбинных двигателях со свободной приводной турбиной блок, состоящий из компрессора, соединенной с ним первым валом турбины и камеры сгорания, обычно называют турбокомпрессором, или газогенератором. Расположенная за турбиной турбокомпрессора соединенная с ведущим валом свободная турбина приводится во вращение газом, поступающим в нее из первой турбины. Иными словами, в газотурбинных двигателях со свободной приводной турбиной турбокомпрессор (газогенератор) не соединен механически со свободной турбиной, а связан с ней только расширяющимися горячими газами.
В газотурбинных двигателях обычно используют турбины рекуперативного или регенерационного типа с теплообменником для отбора тепла от горячих отработавших газов.
В настоящее время отличающиеся высокой удельной мощностью (отношение полезной мощности к весу) газотурбинные двигатели широко применяются для привода в движение различных транспортных средств, на которых обычно используют газотурбинные двигатели с двумя валами, один из которых через трансмиссию транспортного средства соединяет свободную турбину с приводным валом транспортного средства. Одной из возникающих при этом проблем является проблема, связанная с торможением двигателем. В первую очередь это относится к транспортным средствам большой грузоподъемности, в частности к грузовым автомобилям. В приведенном ниже описании рассмотрен вариант применения газотурбинного двигателя для привода в движение транспортного средства. В этой связи необходимо, однако, отметить, что этот вариант лишь иллюстрирует, но не ограничивает изобретение.
В известных в настоящее время газотурбинных двигателях с компрессором, приводимым во вращение турбиной, и расположенной между ними камерой сгорания для снижения частоты вращения вала двигателя или его торможения уменьшают или полностью прекращают подачу топлива в камеру сгорания. При этом скорость вращения вала двигателя при торможении двигателем снижается сравнительно медленно, с одной стороны, из-за очень низкого внутреннего трения в газовых турбинах, а с другой стороны, из-за сравнительно большой доли затрачиваемой на сжатие газа в компрессоре энергии, которая высвобождается при последующем расширении газа в турбине. Для устранения этого недостатка в патенте US 3710576, где раскрыто решение, наиболее близкое к изобретению по технической сущности и решаемой задаче, было предложено использовать выпускной клапан с гидравлическим управлением, установленный перед первой турбиной для направления части сжатого компрессором газа в обход первой турбины во время торможения двигателем.
В основу настоящего изобретения была положена задача разработать систему торможения газотурбинным двигателем, которая обеспечивала бы возможность быстрого снижения частоты вращения вала двигателя и позволяла бы уменьшить количество потребляемого двигателем топлива при упрощении средств регулирования торможения двигателем.
Указанная задача решается с помощью предлагаемого в изобретении газотурбинного двигателя, содержащего первый компрессор, камеру сгорания и первую турбину, которая через первый вал приводит во вращение компрессор, а также установленный перед первой турбиной выпускной клапан для направления части сжатого компрессором газа в обход первой турбины во время торможения двигателем. Установленный между компрессором и первой турбиной выпускной клапан позволяет при торможении двигателем уменьшить количество газа, подаваемого в первую турбину, до необходимого сравнительно низкого уровня. Уменьшение количества газа, подаваемого в первую турбину, существенно снижает приводную мощность первого компрессора и обеспечивает возможность торможения газотурбинного двигателя. Отличие предлагаемого в изобретении газотурбинного двигателя от ближайшего аналога заключается в том, что проходное сечение выпускного клапана, от которого зависит количество газа, сжатого в компрессоре и направляемого в обход первой турбины, регулируется в зависимости от давления газа на выходе из компрессора.
Такое выполнение выпускного клапана обеспечивает возможность торможения двигателем простым с конструктивной точки зрения и/или с точки зрения регулирования путем. Регулирование такого выпускного клапана происходит автоматически без всякого внешнего вмешательства.
В предпочтительном варианте осуществления изобретения для торможения двигателем предлагается использовать выпускной клапан, имеющий подпружиненный открывающий его элемент, которым регулируется проходное сечение клапана. Такой вариант выполнения и регулирования выпускного клапана также является достаточно простым. В этом варианте, кроме того, имеется возможность за счет выбора соответствующей пружины задавать определенный закон изменения проходного сечения, или степени открытия, клапана.
В соответствии еще с одним предпочтительным вариантом осуществления изобретения для торможения двигателем предлагается использовать выпускной клапан, установленный перед камерой сгорания. Установка выпускного клапана на входе в камеру сгорания позволяет во время торможения двигателем оптимизировать подачу в камеру сгорания газа и топлива. Установленный перед камерой сгорания выпускной клапан позволяет при уменьшении количества топлива подавать в камеру сгорания большую часть сжатого компрессором газа и поддерживать в камере сгорания пламя, при котором температура горячих во время работы турбины частей не опускается во время торможения двигателем ниже предварительно заданной температуры. В таком режиме работы камеры сгорания снижается мощность, необходимая для ее охлаждения, и появляется возможность поддерживать необходимую температуру на турбине в режиме холостого хода.
Дальнейшим развитием этого варианта осуществления изобретения является вариант, в соответствии с которым газотурбинный двигатель имеет теплообменник, расположенный между компрессором и камерой сгорания. При наличии в газотурбинном двигателе теплообменника предлагаемое в изобретении направление части сжатого газа в обход камеры сгорания приобретает дополнительные преимущества, поскольку в ином случае охлаждаемые большим количеством воздуха теплообменники не только имеют из-за возникающих в них при этом значительных тепловых напряжений сравнительно низкий срок службы, но и требуют дополнительного расхода топлива для повторного нагрева теплообменника по мере увеличения частоты вращения турбины. Такое устройство позволяет избежать заметного охлаждения теплообменника. При этом не только увеличивается срок службы теплообменника из-за снижения возникающих в нем тепловых напряжений, но и увеличивается из-за отсутствия в теплообменнике больших перепадов температуры суммарный коэффициент полезного действия газовой турбины.
В соответствии еще с одним предпочтительным вариантом осуществления изобретения предлагаемый в нем газотурбинный двигатель имеет расположенную за первой турбиной (турбиной привода компрессоров) приводную (свободную) турбину, которая работает на газе, подаваемом в нее из первой турбины, и приводит во вращение второй вал. В такой турбине происходит двухступенчатое расширение газа с относительно низким в каждой ступени перепадом давления, которое сначала падает в первой турбине, а затем в приводной турбине. Такое выполнение газовой турбины позволяет оптимизировать мощность турбины с учетом ее внешней характеристики (зависимость момента от частоты вращения), в частности при использовании газотурбинного двигателя для привода в движение транспортных средств.
Предлагаемый в изобретении газотурбинный двигатель предпочтительно имеет зубчатую передачу, позволяющую при необходимости жестко соединять второй вал с первым валом, и/или устройство для регулирования расхода газа, подаваемого в приводную турбину. Такое выполнение предлагаемого в изобретении газотурбинного двигателя обеспечивает возможность более глубокого регулирования режима торможения двигателем. Наличие в газотурбинном двигателе выпускного клапана позволяет сбрасывать в атмосферу часть сжатого компрессором газа в обход турбины турбокомпрессора (первой турбины) и приводной турбины, не используя эту часть сжатого газа ни для привода компрессора, ни для привода в движение транспортного средства. Во время торможения двигателем вращение компрессора происходит за счет энергии движения транспортного средства, которая соответствующим образом преобразуется и передается через зубчатую передачу на вал привода компрессора.
Предлагаемый в изобретении газотурбинный двигатель согласно еще одному предпочтительному варианту имеет второй компрессор, соединенный последовательно с расположенным перед ним первым компрессором, и выпускной клапан, расположенный перед вторым компрессором. В выполненном таким образом газотурбинном двигателе при торможении двигателем сжатый в первом компрессоре газ целиком или частично сбрасывается в атмосферу в обход второго компрессора. В результате работа, затрачиваемая на повышение давления и сжатие газа в первом компрессоре, используется для торможения газотурбинного двигателя.
Вторая задача настоящего изобретения состояла в разработке способа торможения газотурбинным двигателем, который обеспечивал бы возможность быстрого снижения частоты вращения вала двигателя. Задача настоящего изобретения состояла также в разработке такого способа торможения газотурбинным двигателем, который обеспечивал бы эффективное торможение при сравнительно низком расходе топлива, потребляемого газовой турбиной, и упрощении средств регулирования торможения двигателем.
Указанные задачи решаются с помощью предлагаемого в изобретении способа торможения газотурбинным двигателем, содержащим первый компрессор, камеру сгорания и первую турбину, которая через первый вал приводит во вращение компрессор, при этом при торможении двигателем часть газа, сжатого в компрессоре, направляют в обход первой турбины. Сброс газа, сжатого в компрессоре, позволяет уменьшить потери тепла, связанные с охлаждением горячих частей двигателя. Одновременное с направлением части сжатого в компрессоре воздуха в обход первой турбины уменьшение расхода топлива, подаваемого в камеру сгорания, до расхода пускового режима, который меньше расхода на холостом ходу, дополнительно ограничивает возможное падение температуры горячих частей газотурбинного двигателя.
Отличие предлагаемого в изобретении способа от ближайшего аналога (US 3710576) заключается в том, что количество газа, направляемого в обход первой турбины, регулируют в зависимости от давления газа на выходе компрессора, что обеспечивает возможность торможения двигателем простым с конструктивной точки зрения и/или с точки зрения регулирования путем. Регулирование такого выпускного клапана происходит автоматически без всякого внешнего вмешательства и необходимости использования сервоприводов.
Другие предпочтительные варианты осуществления изобретения и его преимущества более подробно рассмотрены в последующем описании.
Ниже изобретение рассмотрено на примере предпочтительных вариантов его осуществления со ссылкой на прилагаемые к описанию чертежи, на которых показано:
на фиг.1 – схематичное изображение газотурбинного двигателя, соответствующего первому варианту осуществления изобретения,
на фиг.2 – схематичное изображение газотурбинного двигателя, соответствующего второму варианту осуществления изобретения,
на фиг.3 – поперечный разрез в виде сбоку выпускного клапана предлагаемого в изобретении газотурбинного двигателя и
на фиг.4 – схематичное изображение газотурбинного двигателя, соответствующего третьему варианту осуществления изобретения.
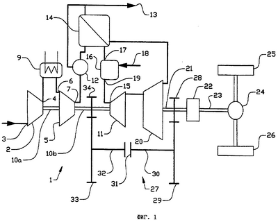
На фиг.1 показана схема двухвального газотурбинного двигателя 1, выполненного в соответствии с первым вариантом осуществления настоящего изобретения. Газотурбинный двигатель 1 имеет первый компрессор 2 с впускным 3 и выпускным 4 отверстиями и второй компрессор 5 с впускным 6 и выпускным 7 отверстиями. Впускное отверстие 3 первого компрессора через воздушный фильтр (на чертеже не показан) сообщается с атмосферой. Между выпускным отверстием 4 первого компрессора 2 и впускным отверстием 6 второго компрессора 5 расположен промежуточный холодильник 9, предназначенный для охлаждения сжатого первым компрессором 2 воздуха до его попадания во второй компрессор 5, в котором происходит дальнейшее увеличение давления воздуха. Промежуточный холодильник 9 соединен с отдельной (не показанной на чертеже) системой охлаждения.
Рабочие колеса каждого компрессора 2, 5 механически соединены между собой и с рабочим колесом первой турбины 11, которая является турбиной привода компрессоров, валами 10а, 10b.
За выпускным отверстием 7 второго компрессора 5 установлен выпускной клапан 12, который в зависимости от режима работы направляет сжатый воздух в выпускную магистраль 13 при торможении двигателем либо в теплообменник 14, предназначенный при нормальном режиме работы для отбора тепла от сжатого в компрессоре воздуха. Наличие выпускного клапана 12, расположенного между выпускным отверстием 7 второго компрессора и впускным отверстием 15 первой турбины 11, позволяет при торможении двигателем уменьшить расход газа, подаваемого в первую турбину 11, до определенного сравнительно низкого уровня. Уменьшение расхода газа сопровождается существенным снижением приводной мощности первой турбины 11, потребляемой компрессорами 2, 5, и торможением всего газотурбинного двигателя 1.
Сжатый компрессорами горячий воздух через впускное отверстие 17 подается в камеру 16 сгорания, в которой он сгорает вместе с топливом 18, которое подается в камеру сгорания из отдельной (не показанной на чертеже) системы питания. Образующиеся в камере сгорания в результате сгорания топлива горячие газы выходят из камеры сгорания 16 через выпускное отверстие 19 и подаются в первую турбину 11, в которой они предварительно расширяются и часть содержащейся в газах энергии превращается в механическую энергию, необходимую для привода компрессоров 2, 5. Окончательное расширение газов до давления, близкого к атмосферному, происходит во второй, приводной или свободной, турбине 20, которая расположена за первой турбиной 11. Для повышения общего коэффициента полезного действия газовой турбины 1 выходящие из приводной турбины 20 газы пропускают через расположенный до выпускной магистрали 13 теплообменник 14, в котором содержащееся в них тепло используется для дополнительного подогрева сжатого воздуха, сжигаемого в камере сгорания.
Как уже было отмечено выше, сжатый компрессорами газ с помощью выпускного клапана 12 можно направить не в приводную турбину 20, а сбросить в атмосферу либо напрямую, либо через теплообменник.
Выходной вал 21 приводной турбины 20 через коробку передач 22 соединен с карданным валом 23 автомобиля или, в более общем случае, транспортного средства, которое приводится в движение газотурбинным двигателем 1. Карданный вал 23 в свою очередь соединен с дифференциалом 24, через который развиваемый двигателем крутящий момент передается на ведущие колеса 25, 26 автомобиля.
В предлагаемой в изобретении газовой турбине имеется зубчатая передача 27, которая через выходной вал 21 приводной турбины соединяет карданный вал 23 автомобиля с валом 10а, 10b и позволяет в режиме торможения двигателем использовать энергию движения автомобиля для привода компрессоров 2, 5 и эффективного торможения газотурбинного двигателя 1 и всего автомобиля. Зубчатая передача 27 содержит первую, неподвижно закрепленную на выходном валу 21 приводной турбины шестерню 28, которая входит в зацепление со второй шестерней 29, неподвижно закрепленной на первом промежуточном валу 30. Первый промежуточный вал 30 можно соединить управляемой муфтой 31 сцепления, предпочтительно фрикционной, со вторым промежуточным валом 32, на котором закреплена третья шестерня 33, которая входит в зацепление с четвертой шестерней 4, неподвижно закрепленной на валу 10b.
Наличие в газотурбинном двигателе выпускного клапана 12 позволяет при торможении двигателем подавать в камеру 16 сгорания через канал для прохода газа небольшую часть сжатого воздуха и небольшое количество топлива, достаточное для поддержания в ней процесса горения и высокой температуры и позволяющее ограничить на минимальном уровне возникающие в камере сгорания тепловые напряжения. Поддерживая при торможении двигателем в камере сгорания определенное пламя, можно также избежать заметного охлаждения горячих частей газотурбинного двигателя. Иными словами, при соответствующей интенсивности пламени температуру горячих частей газотурбинного двигателя можно постоянно поддерживать на определенном уровне. К горячим частям газотурбинного двигателя относятся помимо прочего камера сгорания, теплообменник и различные каналы для прохода горячего газа. Предлагаемое в изобретении решение позволяет, таким образом, избежать заметного охлаждения горячих частей газотурбинного двигателя. Достигается это, как уже было сказано выше, за счет того, что в режиме торможения двигателем большая часть сжатого компрессорами газа направляется и сбрасывается в атмосферу в обход камеры сгорания. Одновременно с этим в камеру сгорания подается такое количество топлива, при котором температура газов на входе в турбину постоянно поддерживается на определенном, большем заданной величины уровне.
В показанном на фиг.2 газотурбинном двигателе 1, выполненном в соответствии со вторым вариантом осуществления изобретения, выпускной клапан 12 в отличие от первого варианта расположен между выпускным отверстием 4 первого компрессора 2 и впускным отверстием 6 второго компрессора 5. С помощью расположенного таким образом выпускного клапана во время торможения двигателем сжатый в первом компрессоре 2 воздух можно полностью или частично направить в обход второго компрессора 5. При этом всю работу, затрачиваемую на повышение давления воздуха в первом компрессоре, можно использовать для торможения газотурбинного двигателя 1.
На фиг.3 в виде сбоку в поперечном разрезе показан выпускной клапан 12, который используется в газотурбинном двигателе 1 для торможения двигателем. Выпускной клапан 12 имеет впускной патрубок 35, который соединяется с выпускным отверстием 4 или 7 соответствующего компрессора, первый выходной (выпускной) патрубок 36, который соединяется с выпускной магистралью 13, и второй выходной (главный) патрубок 37, который в зависимости от варианта соединяется с теплообменником 14 либо с впускным отверстием 6 второго компрессора 5. Открытие и закрытие выпускного клапана 12 осуществляется с помощью тарельчатого (дискового) клапана 38, который линейно перемещается пневматическим устройством 39 управления. В пневматическом устройстве 39 управления имеется поршень 40 с герметичной диафрагмой 41, которая вместе с крышкой 42 образует закрытую полость 43, соединенную с трубкой 44, в которой создается высокое давление. Трубка 44 через (не показанный на чертежах) электромагнитный клапан соединена с выпускным отверстием 7 компрессора. Перемещающийся под действием давления поршень 40 должен преодолеть усилие винтовой пружины 47, от характеристики которой зависит рабочее давление, которое поддерживается в главном патрубке 37 клапана и, следовательно, в расположенной за клапаном магистрали. Количество сжатого газа, не попадающего из компрессора в камеру сгорания, регулируется выполненным таким образом выпускным клапаном в зависимости от давления газа на выходе компрессора, т.е. автоматически. При этом сжатый в компрессоре газ, который не попадает в камеру сгорания, напрямую сбрасывается в атмосферу.
На фиг.4 схематично показан газотурбинный двигатель, соответствующий третьему варианту осуществления изобретения. Этот вариант отличается от первого варианта несколькими моментами. Выполненный в соответствии с этим вариантом осуществления изобретения газотурбинный двигатель 1 имеет, в частности, предназначенное для регулирования тормозного эффекта устройство 45 для регулирования производительности компрессора 2. Такое устройство 45 можно выполнить в виде расположенных на входе компрессора поворотных направляющих лопаток. Поворотные направляющие лопатки позволяют путем изменения угла потока на входе компрессора менять степень сжатия газов в компрессоре.
Карданный вал 23 автомобиля в этом варианте соединен с двумя приводными турбинами 20, 20′. Каждая приводная турбина 20, 20′ имеет устройство 40, 40′, предназначенное для регулирования количества подаваемых в турбину газов. Такое устройство можно выполнить в виде поворотного статора с лопатками или поворотных направляющих лопаток. Поворотные направляющие лопатки позволяют путем регулирования количества газа, поступающего в приводную турбину, регулировать температуру на входе турбины.
На трубопроводе, соединяющем выпускной клапан с атмосферой, целесообразно установить глушитель 46.
Ниже рассмотрен показанный на фиг.4 предпочтительный вариант способа торможения газотурбинным двигателем.
При работе газотурбинного двигателя в нормальном режиме во время движения автомобиля каждый из поворотных статоров 40, 40′ приводных турбин 20, 20′ находится в номинальном положении, выпускной клапан 12 закрыт, муфта 31 сцепления, расположенная между турбокомпрессором (газогенератором) и приводной турбиной, находится в разомкнутом положении, а направляющие лопатки 45, установленные на входе компрессора 2, находятся в открытом положении (угол закрытия равен нулю). Иными словами, при работе газотурбинного двигателя в нормальном режиме компрессор не задросселирован, и он работает с максимальным для данной скорости расходом воздуха. При работе газотурбинного двигателя в нормальном режиме частота вращения турбокомпрессора меняется от частоты вращения при холостом ходе до частоты вращения при максимальной мощности, а частота вращения приводной турбины определяется скоростью вращения ведущих колес автомобиля и передаточным отношением трансмиссии.
При прикрытии дроссельной заслонки уменьшается количество топлива, поступающего в камеру 16 сгорания. Одновременно с прикрытием дроссельной заслонки и падением частоты вращения турбокомпрессора и снижением мощности приводной турбины падает и скорость движения автомобиля, к ведущим колесам 25, 26 которого от газотурбинного двигателя при этом по-прежнему подводится определенная мощность. Одновременно с уменьшением количества топлива, подаваемого в камеру сгорания путем регулирования угла наклона и закрытия установленных на входе компрессора 2 направляющих лопаток 45, уменьшают массовый расход поступающего в компрессор воздуха. Альтернативно или дополнительно к этому в качестве рабочего параметра для перехода в режим торможения двигателем можно использовать не только степень открытия дроссельной заслонки. Так, в частности, для перехода в режим торможения двигателем можно использовать связанную с дроссельной заслонкой педаль, которой можно регулировать частоту вращения турбокомпрессора и количество воздуха, поступающего в газотурбинный двигатель.
При дальнейшем прикрытии дроссельной заслонки до положения холостого хода топливо из системы питания подается только в расположенную в камере 16 сгорания вспомогательную форсунку, поддерживающую в камере сгорания минимальное пламя. Прикрытие заслонки сопровождается поворотом в положение торможения направляющих лопаток 40, 40′ приводных турбин 20, 20′ и их торможением. Начиная с этого момента развиваемая вращающимися ведущими колесами 25, 26 движущегося по инерции автомобиля мощность передается газотурбинному двигателю.
“Активное” торможение двигателем начинается при воздействии на педаль тормоза или другой элемент управления, например элемент ручного управления. При “активном” торможении поворотные лопатки статора 40 приводной турбины 20 поворачиваются в положение торможения, и приводная турбина 20 механически путем включения муфты 31 сцепления соединяется с турбокомпрессором. Окончательное включение муфты сцепления на полную нагрузку происходит с определенным скольжением и небольшой задержкой после синхронизации скорости вращения валов 10b и 23. После включения муфты сцепления открывается выпускной клапан 12. Одновременно с уменьшением количества воздуха, поступающего в камеру сгорания, пропорционально изменяется и количество подаваемого в нее топлива, которое поддерживает в камере сгорания определенную температуру и исключает возможность заметного охлаждения горячих частей газотурбинного двигателя. При переходе к “активному” торможению двигателем направляющие лопатки 45 компрессора 2 находятся в закрытом положении, и компрессор, который при этом работает с минимально возможным для данной частоты вращения массовым расходом воздуха, практически не оказывает никакого воздействия на происходящий при открытом выпускном клапане процесс торможения.
Максимальный тормозной момент в режиме торможения двигателем создается при полном открытии направляющих лопаток 45 компрессора 2.
Тормозной момент при торможении двигателем можно регулировать путем изменения угла наклона направляющих лопаток приводной турбины и направляющих лопаток компрессора.
Настоящее изобретение не ограничено рассмотренными выше вариантами его осуществления и не исключает возможности внесения в них различных изменений и усовершенствований, не выходящих за его объем, определяемый формулой изобретения. К таким изменениям относятся, в частности, изменения, связанные с увеличением или уменьшением количества ступеней в компрессоре и турбине.
В предлагаемом в изобретении газотурбинном двигателе для торможения двигателем можно установить несколько выпускных клапанов. При наличии в турбокомпрессоре двух компрессоров первый выпускной клапан можно установить в соответствии с первым вариантом осуществления изобретения за компрессорами, а второй – в соответствии со вторым вариантом осуществления изобретения между компрессорами. Второй выпускной клапан можно использовать для регулирования тормозного эффекта вместе с поворотными направляющими лопатками или вместо них.
Кроме того, одну из приводных турбин, предпочтительно первую, можно выполнить с регулируемым статором. Такое решение упрощает конструкцию турбины и снижает ее стоимость.
Настоящее изобретение относится также к одновальным газовым турбинам, в которых турбина привода компрессора одновременно используется в качестве приводной турбины для приведения в движение транспортного средства.
Формула изобретения
1. Газотурбинный двигатель (1, 101, 201), содержащий первый компрессор (2), камеру (16) сгорания и первую турбину (11), которая через первый вал (10а, 10b) приводит во вращение компрессор, а также установленный перед первой турбиной выпускной клапан (12) для направления части сжатого компрессором газа в обход первой турбины во время торможения двигателем, отличающийся тем, что проходное сечение выпускного клапана (12), от которого зависит количество газа, сжатого в компрессоре и направляемого в обход первой турбины (11), регулируется в зависимости от давления газа на выходе из компрессора (2).
2. Газотурбинный двигатель по п.1, отличающийся тем, что выпускной клапан (12) имеет подпружиненный открывающий его элемент (38), которым регулируется проходное сечение клапана.
3. Газотурбинный двигатель по п.1 или 2, отличающийся тем, что выпускной клапан (12) расположен перед камерой сгорания (16).
4. Газотурбинный двигатель по п.1, отличающийся наличием расположенной за первой турбиной (11) приводной турбины (20), которая приводит во вращение второй вал (21) и работает на газе, который подается в нее из первой турбины.
5. Газотурбинный двигатель по п.4, отличающийся наличием зубчатой передачи (27), позволяющей механически соединять через нее второй вал (21) с первым валом (10а, 10b).
6. Газотурбинный двигатель по п.5, отличающийся наличием в зубчатой передаче (27) управляемой муфты (31) сцепления, которая предназначена для механического соединения второго вала (21) с первым валом (10а, 10b).
7. Газотурбинный двигатель по п.4, отличающийся наличием устройства (40) для регулирования расхода газа, подаваемого в приводную турбину (20).
8. Газотурбинный двигатель по п.1, отличающийся наличием теплообменника (14), расположенного между компрессором (2) и камерой (16) сгорания.
9. Газотурбинный двигатель по п.8, отличающийся тем, что выпускной клапан (12) расположен перед теплообменником (14).
10. Газотурбинный двигатель по п.1, отличающийся тем, что он имеет второй компрессор (5), расположенный за первым компрессором (2), при этом выпускной клапан (12) расположен перед вторым компрессором (5).
11. Газотурбинный двигатель по п.1, отличающийся наличием устройства (45) для регулирования тормозного эффекта путем регулирования количества воздуха, поступающего в компрессор (2).
12. Транспортное средство, содержащее газотурбинный двигатель по п.1 для приведения транспортного средства в движение.
13. Способ торможения газотурбинным двигателем (1, 101, 201), содержащим первый компрессор (2), камеру (16) сгорания и первую турбину (11), которая через первый вал (10а, 10b) приводит во вращение компрессор, при этом при торможении двигателем часть газа, сжатого в компрессоре (2), направляют в обход первой турбины (11), отличающийся тем, что количество газа, направляемого в обход первой турбины, регулируют в зависимости от давления газа на выходе компрессора (2).
14. Способ по п.13, отличающийся тем, что проходное сечение выпускного клапана (12), через который сжатый в компрессоре газ направляют в обход первой турбины (11), регулируют непосредственно давлением газа на выходе компрессора.
15. Способ по п.14, отличающийся тем, что проходное сечение выпускного клапана (12) регулируют с помощью расположенного в нем открывающего элемента (38), который при открытии клапана перемещается, преодолевая заданное усилие пружины.
16. Способ по любому из пп.13-15, отличающийся тем, что часть сжатого газа направляют в обход камеры (16) сгорания.
17. Способ по п.13, отличающийся тем, что газотурбинный двигатель содержит расположенную за первой турбиной (11) приводную турбину (20), которая приводит во вращение второй вал (21) и работает на газе, который подается в нее из первой турбины.
18. Способ по п.13, отличающийся тем, что при торможении двигателем второй вал (21) механически соединяют с первым валом (10а, 10b).
19. Способ по п.18, отличающийся тем, что валы (21, 10а, 10b) механически соединяют между собой после зафиксированного воздействия на элемент управления торможением.
20. Способ по п.13, отличающийся тем, что при торможении двигателем уменьшают количество топлива, подаваемого в камеру (16) сгорания, а достаточно большую часть сжатого в компрессоре (2) газа направляют в камеру сгорания для поддержания в ней пламени, при котором температура горячих во время работы газовой турбины в нормальном режиме частей не опускается ниже определенной величины.
21. Способ по п.13, отличающийся тем, что для торможения приводной турбины направляющие лопатки, которые предназначены для регулирования количества газа, подаваемого в приводную турбину, устанавливают в положение торможения.
22. Способ по п.21, отличающийся тем, что направляющие лопатки регулируют после зафиксированного прикрытия дроссельной заслонки.
23. Способ по п.13, отличающийся тем, что сжатый компрессором газ, который направляют в обход первой турбины (11), сбрасывают непосредственно в атмосферу.
24. Способ по п.13, отличающийся тем, что газотурбинный двигатель содержит теплообменник, расположенный за компрессором до камеры сгорания.
25. Способ по п.24, отличающийся тем, что часть сжатого газа направляют в обход теплообменника.
РИСУНКИ
|
|