|
|
(21), (22) Заявка: 2005103781/06, 14.02.2005
(24) Дата начала отсчета срока действия патента:
14.02.2005
(43) Дата публикации заявки: 20.07.2006
(46) Опубликовано: 27.01.2007
(56) Список документов, цитированных в отчете о поиске:
US 3769946 A, 06.11.1973. RU 2063526 C1, 10.07.1996. US 0261758 A1, 30.12.2004. US 4844708 A, 04.07.1989. DE 3501779 A1, 24.07.1985. DE 19744591 A1, 15.04.1999.
Адрес для переписки:
610021, г.Киров, пр. Строителей, 50, корп.1, кв.64, В.В. Мултановскому
|
(72) Автор(ы):
Мултановский Всеволод Вячеславович (RU)
(73) Патентообладатель(и):
Мултановский Всеволод Вячеславович (RU)
|
(54) РОТОРНО-ЛОПАСТНОЙ ДВИГАТЕЛЬ ВНУТРЕННЕГО СГОРАНИЯ
(57) Реферат:
Изобретение может быть использовано в двигателестроении. Роторно-лопастной двигатель внутреннего сгорания содержит корпус с кольцевой рабочей камерой, имеющей впускное и выпускное окна, с расположенными в ней двумя парами лопастей, имеющих возможность совершать вращательное движение с переменной скоростью и установленных на соосных валах, соединенных с выходным валом механизмом синхронизации, содержащим зубчатые колеса переменного радиуса. Зубчатые колеса механизма синхронизации, закрепленные на валах ротора и выходном валу, имеют специальную форму делительной поверхности, обеспечивающую гармонический, например синусоидальный, закон изменения угловой скорости роторов при равномерном вращении вала отбора мощности. Повышается надежность, экономичность и технологичность изготовления двигателя. 3 ил.
Изобретение относится к двигателестроению, в частности к роторным двигателям, точнее к той их разновидности, которую обычно называют роторно-лопастными двигателями (Бирюков Б.Н. От водяного колеса до квантового ускорителя. М.: Машиностроение, 1990, с.66-68). Принцип действия таких двигателей состоит в следующем. На валах, проходящих по оси цилиндрического корпуса, вращаются два двухлопастных ротора, лопасти которых делят полость корпуса на четыре замкнутых объема. Роторы кинематически связаны между собой специальным механизмом связи (синхронизации), который обеспечивает неравномерность вращения роторов при равномерном вращении выходного вала (вала отбора мощности). При этом замкнутые объемы между лопастями изменяются и в них могут протекать рабочие циклы двигателя внутреннего сгорания (ДВС).
Известен роторно-лопастной двигатель внутреннего сгорания (RU 2043521 C1, 10.09.1995), содержащий корпус с цилиндрической полостью, в которой с образованием камер переменного объема установлены поворотные лопасти, связанные с выходным валом через механизм преобразования движения, имеющий две пары эллиптических зубчатых колес.
Основными недостатками конструкции являются: несоответствие эллиптической формы зубчатых колес условию постоянства межосевого расстояния при вращении вокруг центров симметрии без проскальзывания (в зацеплении), большое значение угла зацепления (угла давления), особенно при значительной (более 40°) разности хода лопастей, что увеличивает нагрузку в зацеплении, снижает надежность конструкции, ограничивает величину разности хода лопастей, то есть рабочий объем и мощность.
Известен также роторно-лопастной двигатель внутреннего сгорания, наиболее близкий по технической сути к предложенному и принятый за прототип (RU 2063526 C1, 10.07.1996). Он содержит корпус с рабочей камерой в виде полутора, в которой на соосных валах расположены поршни в виде диаметрально противоположных секторов, имеющих возможность совершать вращательное движение с переменной скоростью благодаря механизму синхронизации, содержащему две пары симметричных зубчатых колес переменного радиуса (параболических).
Причиной, препятствующей получению высокой эффективности двигателя, является ограниченность разности хода лопастей на уровне 40-50° допустимыми значениями угла зацепления (угла давления) зубчатых колес переменного радиуса в мертвых точках. Кроме того, использование в механизме связи одинаковых зубчатых колес переменного радиуса приводит к несимметричности функции передаточного отношения, то есть к неоправданно большому с точки зрения получения достаточной разности хода лопастей значению углового ускорения роторов, что в свою очередь увеличивает инерционные нагрузки на детали двигателя. Несимметричность функции передаточного отношения приводит также к неуравновешенности инерционных моментов роторов и к увеличению неравномерности крутящего момента двигателя.
Задачей данного изобретения является разработка конструкции высокоэффективного, экономичного, надежного и долговечного двигателя, имеющего высокие эксплутационные характеристики и технологичного в изготовлении.
Указанная задача достигается тем, что в роторно-лопастном двигателе внутреннего сгорания, содержащем корпус с кольцевой рабочей камерой, имеющей впускное и выпускное окна, с расположенными в ней двумя парами лопастей, имеющих возможность совершать вращательное движение с переменной скоростью и установленных на соосных валах, соединенных с выходным валом механизмом синхронизации, содержащим зубчатые колеса переменного радиуса, согласно изобретению зубчатые колеса механизма синхронизации, закрепленные на валах ротора и выходном валу, имеют специальную форму делительной поверхности, обеспечивающую гармонический, например синусоидальный, закон изменения угловой скорости роторов при равномерном вращении вала отбора мощности, которая (форма) задается уравнениями:
R1=L(1+0,5 РCos2 1)/(2+0,5 РCos2 1)
R2=L-R1=L/(2+0,5 РCos2 1), 2= 1+0,25 РSin2 1,
где R1, 1, – полярные координаты делительной поверхности зубчатого колеса, расположенного на валу отбора мощности, R2, 2, – расположенного на валу ротора, L – межосевое расстояние, P – разность хода лопастей (максимальный угловой размер одной камеры в радианной мере).
Использование в механизме связи некруглых зубчатых колес указанной формы позволяет увеличить разность хода лопастей (а следовательно, и рабочий объем, и мощность) при допустимых значениях угла зацепления. Например, при К=0,5 разность хода достигает 60° при максимальном угле зацепления 45° (при стандартном значении угла зацепления производящей рейки 20°).
При этом бóльшая разность хода достигается при меньших (по сравнению с прототипом) значениях угловых ускорений.
Симметричность функции передаточного отношения обеспечивает уравновешенность инерционных моментов роторов и снижает неравномерность крутящею момента двигателя.
Все это уменьшает нагрузки на детали двигателя, снижает требования к их прочности, повышает долговечность, технологичность изготовления, экономичность производства и эксплуатации.
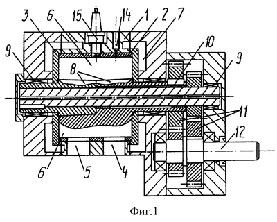
На фиг.1 приведен продольный разрез, на фиг.2 – поперечный разрез предложенного двигателя, на фиг.3 изображены зубчатые колеса.
Роторно-лопастной двигатель содержит корпус 1, рабочая полость которого выполнена в виде кольцевой камеры и имеет впускное 4 и выпускное 5 окна. В рабочей полости расположены лопасти 6, в которых выполнены канавки для уплотнений 13. Лопасти установлены на валах 8 ротора, соединенных с выходным валом 12 механизмом синхронизации, содержащим зубчатые колеса переменного радиуса 11, установленные на валах ротора 8 и выходном валу 12. При такой конструкции механизма синхронизации между лопастями 6 ротора образуются камеры переменного объема, в каждой из которых за один оборот выходного вала и ротора совершается полный 4-тактный цикл ДВС. В зоне окончания такта сжатия в стенке рабочей камеры имеется отверстие 14 для запального устройства или свеча зажигания 15.
Двигатель работает следующим образом: при равномерном вращении выходного вала 12 в соответствии с переменным передаточным отношением механизма синхронизации лопасти 6 ротора имеют переменную скорость вращения, что приводит к изменению объема камер между лопастями при их неравномерном вращении в одном направлении. Увеличение объема происходит в зоне расположения впускного окна 4, через которое всасывается свежий заряд или воздух. В это же время в увеличивающейся камере с противоположной стороны ротора происходит расширение продуктов сгорания рабочей смеси – рабочий ход. В конце такта всасывания, когда объем камеры достигает максимального значения, впускное окно закрывается передней кромкой «отстающей» лопасти и начинается такт сжатия. С противоположной стороны ротора в этот момент задняя кромка «опережающей» лопасти открывает выпускное окно и начинается выпуск. В конце такта сжатия происходит воспламенение рабочей смеси запальным устройством 14 или свечой зажигания 15 и при переходе через мертвую точку начинается рабочий ход.
Формула изобретения
Роторно-лопастной двигатель внутреннего сгорания, содержащий корпус с кольцевой рабочей камерой, имеющей впускное и выпускное окна, с расположенными в ней двумя парами лопастей, имеющих возможность совершать вращательное движение с переменной скоростью и установленных на соосных валах, соединенных с выходным валом механизмом синхронизации, содержащим зубчатые колеса переменного радиуса, отличающийся тем, что зубчатые колеса механизма синхронизации, закрепленные на валах ротора и выходном валу, имеют специальную форму делительной поверхности, обеспечивающую гармонический, например синусоидальный, закон изменения угловой скорости роторов при равномерном вращении вала отбора мощности, которая (форма) задается уравнениями
R1=L(1+0,5 РCos2 1)/(2+0,5 РCos2 1);
R2=L-R1=L/(2+0,5 РCos2 1), 2= 1+0,25 РSin2 1,
где R1, 1, – полярные координаты делительной поверхности зубчатого колеса, расположенного на валу отбора мощности; R2, 2 – расположенного на валу ротора; L – межосевое расстояние; P – разность хода лопастей (максимальный угловой размер одной камеры в радианной мере).
РИСУНКИ
|
|