|
|
(21), (22) Заявка: 2004122121/06, 13.12.2002
(24) Дата начала отсчета срока действия патента:
13.12.2002
(30) Конвенционный приоритет:
17.12.2001 DE 10162161.2
(43) Дата публикации заявки: 10.10.2005
(46) Опубликовано: 27.01.2007
(56) Список документов, цитированных в отчете о поиске:
ЕР 0245737 А1, 04.05.1987. DE 4104637 A1, 29.08.1991. US 5506028 A, 09.04.1996. US 5645803 А, 08.07.1997. US 3325256 А, 13.06.1967. WO 99/61151 A1, 02.12.1999. DE 4217632 A1, 06.05.1993. RU 2107828 C1, 27.03.1998.
(85) Дата перевода заявки PCT на национальную фазу:
19.07.2004
(86) Заявка PCT:
EP 02/14229 (13.12.2002)
(87) Публикация PCT:
WO 03/052243 (26.06.2003)
Адрес для переписки:
101000, Москва, М.Златоустинский пер., 10, кв.15, “ЕВРОМАРКПАТ”, пат.пов. И.А.Веселицкой, рег. № 11
|
(72) Автор(ы):
БРЮКК Рольф (DE)
(73) Патентообладатель(и):
ЭМИТЕК ГЕЗЕЛЬШАФТ ФЮР ЭМИССИОНСТЕХНОЛОГИ МБХ (DE)
|
(54) УСТРОЙСТВО И СПОСОБ ГЛУШЕНИЯ ШУМА В СИСТЕМЕ ВЫПУСКА ОТРАБОТАВШИХ ГАЗОВ ДВИГАТЕЛЯ ВНУТРЕННЕГО СГОРАНИЯ
(57) Реферат:
Сотовый элемент устанавливается в системе выпуска отработавших газов ДВС и имеет в основном отделенные друг от друга проточные для отработавших газов каналы и осевую длину (L). Такой сотовый элемент имеет по меньшей мере первое подмножество каналов и второе подмножество каналов. При этом площади поперечного сечения каналов по меньшей мере одного из обоих их подмножеств изменяются по осевой длине (L) сотового элемента, за счет чего обеспечивается неодинаковая продолжительность прохождения отработавших газов через каналы, относящиеся к различным их подмножествам. Особое преимущество, связанное с подобным различием в продолжительности прохождения отработавших газов через каналы, относящиеся к различным их подмножествам, состоит в возможности его использования для ослабления или гашения звуковых волн одной или нескольких длин, что обеспечивает возможность глушения шума в системах выпуска отработавших газов, оснащенных сотовыми элементами для нейтрализации отработавших газов, без необходимости установки в системе выпуска отработавших газов дополнительных конструктивных элементов. 3 н. и 15 з.п. ф-лы, 5 ил.
Настоящее изобретение относится к сотовому элементу, устанавливаемому в системе выпуска (ОГ) двигателя внутреннего сгорания (ДВС), к системе выпуска ОГ ДВС, содержащей по меньшей мере один такой сотовый элемент, а также к способу глушения шума в системе выпуска ОГ ДВС. Настоящее изобретение может найти применение, например, для гашения звуковых волн, имеющих одну или большое число частот, наиболее опасных для ДВС или, например, для автомобиля, на котором установлен этот ДВС.
В автомобилестроении известны многочисленные устройства и способы глушения шума. При этом часто возникает необходимость гасить звуковые волны критических частот, которые вызывают, например, резонансные колебания деталей автомобиля. Указанная проблема решается частично за счет осуществления дорогостоящих в реализации конструктивных мер. При этом часто приходится использовать, в частности, дополнительные конструктивные элементы.
Исходя из вышеизложенного, в основу настоящего изобретения была положена задача обеспечить глушение шума, прежде всего гашение звуковых волн, имеющих наиболее опасные частоты, в системах выпуска ОГ ДВС, оснащенных сотовыми элементами для нейтрализации ОГ и по существу не требующих применения дополнительных конструктивных элементов.
Указанная задача решается в сотовом элементе указанного выше типа, имеющем в основном отделенные друг от друга проточные для отработавших газов каналы и осевую длину. Отличие предлагаемого в изобретении сотового элемента состоит в том, что он имеет по меньшей мере первое подмножество каналов и второе подмножество каналов, при этом площади поперечного сечения каналов по меньшей мере одного из обоих их подмножеств изменяются по осевой длине сотового элемента, за счет чего обеспечивается неодинаковая продолжительность прохождения отработавших газов через каналы, относящиеся к различным их подмножествам.
Принципиальная конструктивная схема сотовых элементов, используемых для глушения шума в системах выпуска ОГ ДВС, известна, например, из заявок ЕР 0245737 В1 или ЕР 0430945 В1. Однако согласно изобретению можно также использовать и другие конструктивные формы, например полученные скручиванием или свертыванием спиральные формы. Кроме того, например, из WO 99/56010 известны конструктивные формы, имеющие конический элемент, ориентированный в определенном направлении. При осуществлении настоящего изобретения можно также использовать методы, известные из технологии изготовления сотовых элементов. Однако последние разработки в данной области техники, относящиеся к геометрии ячеек сотовых элементов, предусматривают использование микропрофильных элементов в стенках каналов, как это известно, например, из WO 90/08249 и WO 99/31362. Эти разработки можно также использовать дополнительно при осуществлении настоящего изобретения. В общем случае при осуществлении настоящего изобретения можно также использовать известные методы изготовления или повышения эффективности таких сотовых элементов.
Как указано выше, предлагаемый в изобретении сотовый элемент имеет определенную осевую длину и в основном отделенные друг от друга проточные для ОГ каналы. Каналы делятся по меньшей мере на первое подмножество и второе подмножество. Площадь поперечного сечения каналов по меньшей мере одного из двух подмножеств изменяется в осевом направлении сотового элемента таким образом, чтобы продолжительность прохождения потоков ОГ через каналы, относящиеся к различным их подмножествам, была неодинаковой.
Для глушения шума в системе выпуска ОГ ДВС целесообразно применять сотовый элемент, поскольку такие сотовые элементы широко применяются, например, в каталитических нейтрализаторах ОГ и тем самым в любом случае уже имеются в системе выпуска ОГ автомобиля. Такое решение позволяет снижать уровень шума, возникающего в системе выпуска ОГ, без использования в ней дополнительных конструктивных элементов. Тем самым обеспечивается экономически целесообразная возможность глушения шума без применения дополнительных, конструктивно сложных элементов.
В канале с изменяющейся площадью поперечного сечения скорость потока газа изменяется обратно пропорционально площади проходимого им поперечного сечения. Следовательно, скорость потока газа снижается, если площадь поперечного сечения канала по осевой длине сотового элемента увеличивается. И наоборот, скорость потока газа повышается, если площадь поперечного сечения канала по осевой длине сотового элемента уменьшается. Согласно изобретению поток ОГ, входящий в сотовый элемент, разделяется по меньшей мере на две части, каждая из которых проходит через каналы, образующие отдельное их подмножество. Если сотовый элемент имеет осевую длину L в основном направлении z движения потока ОГ, то продолжительность прохождения t(L) газа через сотовый элемент со скоростью v, зависящей от z, можно вычислять по следующей формуле:

Таким образом, можно с очень высокой точностью регулировать продолжительность прохождения ОГ через канал, поскольку функция скорости v(z) зависит от изменения площади поперечного сечения канала, а продолжительность прохождения газа через канал зависит, с одной стороны, от его длины, а, с другой стороны, от действительной для канала функции скорости.
Согласно изобретению применительно к каналам обоих подмножеств имеется возможность устанавливать разность между продолжительностью прохождения каждой из обеих частей потока ОГ через каналы обоих их подмножеств. Если ОГ являются проводниками звуковых волн, то можно обеспечить требуемый фазовый сдвиг между звуковыми волнами в каналах обоих подмножеств за счет этой разности между продолжительностью прохождения каждой из обеих частей потока ОГ через каналы сотового элемента. При соответствующем выборе разности между продолжительностью прохождения каждой из обеих частей потока ОГ через сотовый элемент обеспечивается ослабление или гашение звуковых волн определенной длины.
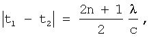
Если необходимо ослабить или погасить звуковые волны с длиной , фазовой скоростью с и круговой частотой , то разность в продолжительности прохождения ОГ через сотовый элемент как разность между продолжительностью t1 прохождения первой части потока ОГ через каналы первого их подмножества и продолжительностью t2 прохождения второй части потока ОГ через каналы второго их подмножества предпочтительно вычислять по формуле:

где n представляет собой натуральное число. Согласно одному из предпочтительных вариантов выполнения сотового элемента каналы первого их подмножества имеют соответственно первую площадь входного поперечного сечения и первую площадь выходного поперечного сечения, а каналы второго их подмножества имеют в своем осевом направлении соответственно вторую площадь входного поперечного сечения и вторую площадь выходного поперечного сечения. Согласно изобретению отношение первой площади входного поперечного сечения к первой площади выходного поперечного сечения не равно отношению второй площади входного поперечного сечения ко второй площади выходного поперечного сечения. В соответствии с этим в рассматриваемом случае площадь поперечного сечения каждого из каналов первого их подмножества и площадь поперечного сечения каждого из каналов второго их подмножества изменяются не одинаково. Это обусловливает изменение скорости обеих частей потока ОГ, которые проходят через каналы обоих подмножеств, и, следовательно, определяет разность между продолжительностью прохождения каждой из обеих частей потока ОГ через сотовый элемент.
В соответствии еще с одним вариантом выполнения сотового элемента площадь поперечного сечения каналов по меньшей мере одного их подмножества увеличивается, предпочтительно монотонно увеличивается, наиболее предпочтительно строго монотонно увеличивается, в основном направлении z потока ОГ и/или площадь поперечного сечения каналов по меньшей мере одного другого их подмножества уменьшается, предпочтительно монотонно уменьшается, наиболее предпочтительно строго монотонно уменьшается, в основном направлении z потока ОГ. Понятие “монотонно” в контексте настоящего изобретения означает, что вся отдельная часть канала или же весь канал может иметь одну и ту же площадь поперечного сечения в любом месте канала по его осевой длине L. В отличие от этого понятие “строго монотонно” означает, что по осевой длине должно иметь место постоянное увеличение, соответственно уменьшение площади поперечного сечения канала. Согласно следующему предпочтительному варианту выполнения сотового элемента наиболее предпочтительно, чтобы каналы по меньшей мере одного их подмножества конически расширялись и/или каналы по меньшей мере одного другого их подмножества конически сужались. Таким образом, согласно изобретению площадь поперечного сечения каналов первого их подмножества может оставаться постоянной, а каналы второго их подмножества могут конически расширяться или сужаться, или же площадь поперечного сечения каналов может монотонно увеличиваться, соответственно уменьшаться в основном направлении z движения потока ОГ иным образом. Согласно изобретению возможен также вариант, в соответствии с которым каналы первого их подмножества конически расширяются, а каналы второго их подмножества конически сужаются. Такое решение обеспечивает очень простое конструктивное исполнение предлагаемого в изобретении сотового элемента.
Согласно еще одному предпочтительному варианту выполнения сотового элемента каналы обоих подмножеств выполнены таким образом, чтобы интегралы площадей поперечного сечения каналов, относящихся к различным их подмножествам, различались между собой по осевой длине сотового элемента, т.е. чтобы интегралы площадей поперечного сечения каналов по осевой длине сотового элемента были различны. Это позволяет выполнять каналы, снабженные предпочтительно камерами, расширяющимися или сужающимися частями, и тем самым обеспечить выполнение различных требований касательно, например, требуемых величин падения давления и поперечного сечения потока, а также конструктивных условий, соответственно ограничений. Кроме того, существует возможность обеспечить большие значения разности между продолжительностью прохождения каждой из обеих частей потока ОГ через сотовый элемент при относительно небольшой его осевой длине L.
Объектом изобретения является также система выпуска ОГ ДВС, которая содержит по меньшей мере один сотовый элемент, имеющий проточные для ОГ каналы и осевую длину. Путь движения первой части потока ОГ задается каналами, образующими первое их подмножество, а путь движения второй части потока ОГ задается каналами, образующими второе их подмножество. Площади поперечного сечения каналов по меньшей мере одного из обоих их подмножеств изменяются по осевой длине сотового элемента. Это обусловливает неодинаковую продолжительность прохождения ОГ через каналы, относящиеся к различным их подмножествам. В этом случае можно также обеспечить ослабление или гашение передаваемых ОГ звуковых волн по меньшей мере одной частоты путем соответствующего выбора геометрических характеристик каналов обоих их подмножеств. При этом наиболее предпочтительно, чтобы каждый из каналов первого их подмножества имел соответственно первую площадь входного поперечного сечения и первую площадь выходного поперечного сечения, каждый из каналов второго их подмножества имел соответственно вторую площадь входного поперечного сечения и вторую площадь выходного поперечного сечения, а отношение первой площади входного поперечного сечения к первой площади выходного поперечного сечения было не равно отношению второй площади входного поперечного сечения ко второй площади выходного поперечного сечения.
В соответствии с одним из предпочтительных вариантов выполнения системы выпуска ОГ площадь поперечного сечения каналов по меньшей мере одного их подмножества увеличивается, предпочтительно монотонно увеличивается, наиболее предпочтительно строго монотонно увеличивается, в основном направлении z потока ОГ и/или площадь поперечного сечения каналов по меньшей мере одного другого их подмножества уменьшается, предпочтительно монотонно уменьшается, наиболее предпочтительно строго монотонно уменьшается, в основном направлении z потока ОГ. При этом понятие “монотонно” в контексте настоящего изобретения означает, что площадь поперечного сечения части канала или же всего канала не обязательно должна изменяться, однако при этом канал не может, например, сначала расширяться, затем снова сужаться. Понятие “увеличивается строго монотонно” в контексте настоящего изобретения означает, что каждой точке на координатной оси z, совпадающей с основным направлением движения потока, соответствует другая величина площади поперечного сечения, увеличивающаяся с увеличением координаты z, т.е. имеет место непрерывное увеличение площади поперечного сечения. Сказанное выше справедливо и в отношении монотонного или строго монотонного уменьшения площади поперечного сечения. В этом отношении наиболее предпочтительно выполнять систему выпуска ОГ таким образом, чтобы имеющиеся по меньшей мере в одном сотовом элементе каналы по меньшей мере одного их подмножества конически расширялись и/или каналы по меньшей мере одного другого их подмножества конически сужались. Тем самым возможен такой вариант, в соответствии с которым каналы первого их подмножества конически расширяются или сужаются, а площадь поперечного сечения каналов второго из подмножества остается неизменной по их осевой длине. Возможен также вариант, согласно которому каналы первого их подмножества конически расширяются, а каналы второго их подмножества конически сужаются. Это позволяет выполнять систему выпуска ОГ, имеющую предпочтительно простую конструкцию. Согласно изобретению изменение площади поперечного сечения можно обеспечить путем придания каналам не только конической формы, но и любой другой формы, обеспечивающей монотонное изменение площади поперечного сечения в основном направлении z движения потока ОГ.
В еще одном предпочтительном варианте система выпуска ОГ выполнена таким образом, чтобы интегралы площадей поперечного сечения каналов, относящихся к различным их подмножествам, различались между собой по осевой длине L сотового элемента, т.е. чтобы интегралы площадей поперечного сечения каналов по осевой длине сотового элемента были различны. Это позволяет выполнять, например, камеры с расширяющимися или сужающимися частями, с помощью которых, например, несмотря на конструктивные ограничения, можно обеспечивать эффективное глушение шума.
Объектом изобретения является также способ глушения шума в системе выпуска ОГ ДВС. При этом система выпуска ОГ содержит по меньшей мере один сотовый элемент, имеющий проточные для ОГ каналы и осевую длину. В соответствии с предлагаемым в изобретении способом первую часть потока ОГ пропускают через каналы, образующие первое их подмножество, а вторую часть потока ОГ пропускают через каналы, образующие второе их подмножество. Площади поперечного сечения каналов по меньшей мере одного из обоих их подмножеств изменяются по осевой длине сотового элемента, за счет чего обеспечивается неодинаковая продолжительность прохождения ОГ через каналы, относящиеся к различным их подмножествам. Отдельные части потока ОГ вновь объединяют в один общий поток за по меньшей мере одним сотовым элементом. Согласно изобретению этот способ позволяет ослаблять или гасить распространяющиеся в ОГ звуковые волны по меньшей мере одной определенной частоты.
В соответствии с одним из предпочтительных вариантов осуществления способа каждый из каналов первого их подмножества имеет первую площадь входного поперечного сечения и первую площадь выходного поперечного сечения, а каждый из каналов второго их подмножества имеет вторую площадь входного поперечного сечения и вторую площадь выходного поперечного сечения. Отношение первой площади входного поперечного сечения к первой площади выходного поперечного сечения при этом не равно отношению второй площади входного поперечного сечения ко второй площади выходного поперечного сечения. При этом наиболее предпочтительно, чтобы площадь поперечного сечения каналов по меньшей мере одного их подмножества увеличивалась, предпочтительно монотонно увеличивалась, наиболее предпочтительно строго монотонно увеличивалась, в основном направлении z потока ОГ, а площадь поперечного сечения каналов по меньшей мере одного другого их подмножества, как альтернативный или дополнительный вариант, уменьшалась, предпочтительно монотонно уменьшалась, наиболее предпочтительно строго монотонно уменьшалась, в основном направлении z потока отработавших газов. Это позволяет осуществлять предлагаемый в изобретении способ глушения шума особенно простым образом.
Согласно следующему предпочтительному варианту осуществления способа ОГ предлагается пропускать по меньшей мере через один сотовый элемент, имеющий по меньшей мере одно подмножество каналов, которые конически расширяются, и/или по меньшей мере одно другое подмножество каналов, которые конически сужаются. Такое решение упрощает расчет и точное регулирование разности между продолжительностью прохождения каждой из обеих частей потока ОГ через сотовый элемент.
В соответствии еще с одним предпочтительным вариантом осуществления способа ОГ предлагается пропускать через каналы, для которых интегралы площадей поперечного сечения каналов, относящихся к различным их подмножествам, различаются между собой по осевой длине, т.е. для которых интегралы площадей поперечного сечения каналов разных подмножеств по осевой длине различны. Это позволяет, например, осуществлять также способ, например, в условиях неблагоприятных геометрических пропорций и ограничений.
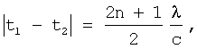
Согласно следующему предпочтительному варианту осуществления способа различие в продолжительности прохождения отдельных частей потока ОГ через сотовый элемент выбирают с таким расчетом, чтобы при последующем объединении по меньшей мере двух отдельных частей потока ОГ по меньшей мере частично имела место деструктивная интерференция звуковых волн по меньшей мере одной частоты. С этой целью различие в продолжительности прохождения первой части потока ОГ и продолжительностью прохождения второй части потока ОГ определяется точно для звуковых волн с круговой частотой , длиной и фазовой скоростью с таким образом, чтобы была справедлива зависимость

где n представляет собой натуральное число. Таким образом задается еще один волновой фазовый коэффициент в волновом уравнении, которое можно представить для амплитуды A1 звуковых волн в первой части потока ОГ и для амплитуды A2 звуковых волн во второй части потока ОГ следующим образом:
(z)=exp(i t1+ikz)[A1+А2 ехр (-i(2n+1) )].
Амплитуды A1 и А2 регулируются путем подбора соотношения между первой площадью входного поперечного сечения каналов первого их подмножества и второй площадью входного поперечного сечения каналов второго их подмножества. Если эти обе амплитуды A1 и А2 равны друг другу, то волна с круговой частотой и гасится полностью. В этом случае имеет место деструктивная интерференция звуковых волн.
Однако если амплитуда A1 звуковых волн в первой части потока ОГ и амплитуда А2 звуковых волн во второй части потока ОГ не равны друг другу, то в любом случае наблюдается гашение звуковой волны и соответствующих гармоник или обертонов.
В соответствии со следующим предпочтительным вариантом осуществления способа происходит деструктивная интерференция звуковых волн именно критической частоты. Это позволяет гасить звуковые волны с частотами, критическими, например, для самого ДВС, а также для автомобиля, на котором установлен этот ДВС. При этом речь может идти, например, о резонансной частоте. Звуковые волны с такой частотой обычно нежелательны, поскольку создают повышенную нагрузку, воздействующую на материалы, из которых изготовлены детали ДВС.
Согласно следующему варианту осуществления способа различие в продолжительности прохождения отдельных частей потока ОГ через сотовый элемент выбирают с таким расчетом, чтобы при последующем объединении по меньшей мере двух отдельных частей потока ОГ по меньшей мере частично имела место деструктивная интерференция звуковых волн по меньшей мере двух частот. Преимущество такого решения состоит в том, что обеспечивается возможность гасить различные звуковые волны на нескольких критических частотах.
Другие преимущества изобретения более подробно рассмотрены ниже на примере наиболее предпочтительных, но не ограничивающих объем изобретения вариантов его осуществления со ссылкой на прилагаемые чертежи, на которых показано:
на фиг.1 – схематичное изображение системы каналов в предлагаемом в изобретении сотовом элементе,
на фиг.2 – вид с торца фрагмента предлагаемого в изобретении сотового элемента, выполненного по первому варианту,
на фиг.3 – гофрированный металлический лист, используемый для изготовления предлагаемого в изобретении сотового элемента в первом варианте его выполнения,
на фиг.4 – вид с торца фрагмента предлагаемого в изобретении сотового элемента, выполненного по второму варианту, и
на фиг.5 – профилированный металлический лист, используемый для изготовления предлагаемого в изобретении сотового элемента во втором варианте его выполнения.
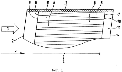
На фиг.1 схематично показан фрагмент предлагаемого в изобретении сотового элемента 1 в продольном разрезе. Поток 3 ОГ поступает в сотовый элемент 1 с его входной стороны 2 и выходит из него с его выходной стороны 4. Каналы в сотовом элементе условно подразделяются на два подмножества, образующие которые каналы различаются между собой характером изменения площади их поперечного сечения по их осевой длине L. Первое подмножество каналов образовано расширяющимися каналами 5, которые имеют первую площадь 6 входного поперечного сечения с входной стороны 2 и большую первую площадь 7 выходного поперечного сечения с выходной стороны 4 сотового элемента 1. Второе подмножество каналов образовано сужающимися каналами 8, которые соответственно имеют вторую площадь 9 входного поперечного сечения с входной стороны 2 и меньшую вторую площадь 10 выходного поперечного сечения с выходной стороны 4 сотового элемента 1. В рассматриваемом примере, с одной стороны, первая площадь 6 входного поперечного сечения соответствует второй площади 10 выходного поперечного сечения, а с другой стороны, вторая площадь 9 выходного поперечного сечения соответствует первой площади 7 входного поперечного сечения. В соответствии с этим соотношение между первой площадью 6 входного поперечного сечения и первой площадью 7 выходного поперечного сечения равно обратной величине соотношения между второй площадью 9 входного поперечного сечения и второй площадью 10 выходного поперечного сечения.
Площадь поперечного сечения каждого из каналов 5 и 8 изменяется строго монотонно. В каждое из подмножеств каналов входит одинаковое их количество. Через каналы первого их подмножества проходит первая часть потока ОГ, а через каналы второго их подмножества проходит остальная – вторая – часть потока ОГ от всего их количества. В расположенной по ходу потока за каналами обоих их подмножеств зоне 11 смешения обе части потока ОГ смешиваются между собой и выходят из сотового элемента 1 с его выходной стороны 4.
При распространении в потоке 3 ОГ звуковых волн с длиной и фазовой скоростью с интенсивность звуковых волн на выходе сотового элемента 1 с его выходной стороны 4 обычно отличается от интенсивности звуковых волн на входе в сотовый элемент 1. Скорость каждого из частичных потоков ОГ изменяется из-за изменения площадей поперечных сечений каналов. В рассматриваемом примере скорость v потока ОГ в основном направлении z его движения обратно пропорциональна площади проходимого потоком ОГ поперечного сечения. Поэтому в расширяющихся каналах 5 скорость первой части потока ОГ уменьшается, а в сужающихся каналах 8 скорость второй части потока ОГ, наоборот, увеличивается. Скорость обеих частей потока ОГ при их прохождении через каналы обоих их подмножеств изменяется непрерывно. В этом случае при продолжительности прохождения первой части потока ОГ через сотовый элемент, равной t1, и при продолжительности прохождения второй части потока ОГ через сотовый элемент, равной t2, справедлива следующая зависимость:

при этом функции скорости v(z) для обеих частей потока ОГ различаются между собой. Иными словами, первой части потока ОГ для прохождения каналов первого их подмножества требуется время t1, а второй части потока ОГ для прохождения каналов второго их подмножества требуется время t2. Если для разности t1 – t2 между продолжительностью прохождения каждой из обеих частей потока ОГ через каналы 5 и 8 каждого из обоих их подмножеств справедлива зависимость

где n представляет собой целое число, то получают дополнительный волновой коэффициент. В этом случае полное волновое уравнение можно представить следующим образом:
(z)=exp(i t1+ikz)[A1+A2 exp (-i(2n+1) )],
где представляет собой круговую частоту звуковой волны, а A1 и A2 представляют собой амплитуды звуковых волн в первой и второй частях потока ОГ соответственно. При разделении потока 3 ОГ на две равные части, т.е. при A1=A2, звуковая волна полностью гасится. Если же амплитуды A1 звуковых волн в первой части потока ОГ и амплитуды А2 звуковых волн во второй части потока ОГ не равны между собой, то в любом случае происходит ослабление или гашение звуковой волны с длиной и соответствующих гармоник или обертонов. Этот факт можно использовать для гашения в потоке 3 ОГ не только звуковых волн одной длины, но и, более того, звуковых волн различных длин. С этой целью поток ОГ следует пропускать через различные каналы, которые по своим параметрам подразделяются не только на два подмножества, но и на соответственно большее число подмножеств.
На фиг.2 показан фрагмент предлагаемого в изобретении сотового элемента 1, выполненного по одному из вариантов и изображенного в виде с торца с его входной стороны 2. Такой сотовый элемент имеет образующие первое подмножество расширяющиеся каналы 5 и образующие второе подмножество сужающиеся каналы 8. Каждый из расширяющихся каналов 5 имеет первую – меньшую – площадь 6 входного поперечного сечения, а каждый из сужающихся каналов 8 имеет вторую – большую – площадь 9 входного поперечного сечения. В этом варианте площади поперечного сечения каналов в обоих их подмножествах изменяются по осевой длине L сотового элемента строго монотонно. Сотовый элемент состоит из попеременно чередующихся слоев гладких 12 и гофрированных 13 металлических листов.
На фиг.3 показан возможный вариант выполнения гофрированного металлического листа 13. Высота гофров у такого гофрированного металлического листа 13 строго монотонно изменяется в направлении продольной оси, и в соответствии с этим площадь поперечного сечения образованных гофрированным металлическим листом 13 с соседним с ним гладким металлическим листом 12 каналов также изменяется строго монотонно в направлении продольной оси. Иными словами, гофрированный металлический лист в сочетании с соседним с ним и расположенным по одну его сторону гладким металлическим листом 12 образует каналы с первой площадью 6 входного поперечного сечения, а с соседним с ним и расположенным по другую его сторону металлическим листом образует каналы со второй площадью 9 входного поперечного сечения. Размещение в сотовом элементе соседних с одним и тем же гладким металлическим листом 12, но расположенных по разные его стороны гофрированных металлических листов 13 в повернутом вокруг средней оси 14 на 180° друг относительно друга положении позволяет в предпочтительном варианте получить цилиндрический сотовый элемент 1, имеющий расширяющиеся 5 и сужающиеся 8 каналы. В таком сотовом элементе расширяющиеся 5 и сужающиеся 8 каналы послойно чередуются между собой, при этом площадь поперечного сечения расширяющихся каналов 5 строго монотонно изменяется по их длине от первой площади 6 их входного поперечного сечения до первой площади 7 их выходного поперечного сечения, а площадь поперечного сечения сужающихся каналов 8 строго монотонно изменяется от второй площади 9 их входного поперечного сечения до второй площади 10 их выходного поперечного сечения. Преимущество, связанное с послойным чередованием в подобном сотовом элементе 1 расширяющихся каналов 5 и сужающихся каналов 8, состоит в том, что такой сотовый элемент 1 не имеет предпочтительного направления относительно своей продольной оси и поэтому при его установке в систему выпуска ОГ не имеет значения, какой из его торцов должен быть обращен навстречу потоку ОГ.
На фиг.4 схематично показан фрагмент предлагаемого в изобретении сотового элемента, выполненного по второму варианту и изображенного со стороны одного из его торцов. Такой сотовый элемент состоит в основном из гладких металлических листов 12 и профилированных металлических листов 13 и имеет образующие первое подмножество расширяющиеся каналы 5 и образующие второе подмножество сужающиеся каналы 8. Расширяющиеся каналы 5 имеют первую площадь 6 входного поперечного сечения. За счет расширения каналов 5 в основном направлении z движения потока ОГ в этом же направлении соответственно увеличивается и площадь их поперечного сечения. Сужающиеся каналы 8 имеют вторую площадь 9 их входного поперечного сечения. Площадь поперечного сечения этих каналов уменьшается в основном направлении z движения потока.
На фиг.5 показан один из профилированных металлических листов 13, образующих изображенный на фиг.4 сотовый элемент. Такой профилированный металлический лист 13 отличается тем, что шаг 15 повторения его профильных элементов, измеряемый как расстояние между вершинами 16 двух соседних профильных элементов, непрерывно изменяется в основном направлении z движения потока, совпадающем с направлением продольной оси этого профилированного металлического листа 13. В результате в сотовом элементе имеется два подмножества каналов, которые образованы профилированным металлическим листом 13 вместе с соседним с ним не показанным на чертеже в основном гладким металлическим листом 12. Одно их этих подмножеств каналов образовано сужающимися каналами 8, а другое – расширяющимися каналами 5. Как указано выше, наличие в сотовом элементе расширяющихся и сужающихся в его продольном направлении каналов обеспечивает при соответствующем выполнении профилированных металлических листов 13 ослабление или гашение звуковых волн по меньшей мере одной частоты.
Предлагаемое в изобретении решение позволяет простым путем использовать в любом случае имеющийся в системе выпуска ОГ сотовый элемент и для целенаправленного глушения шума.
Формула изобретения
1. Сотовый элемент (1), устанавливаемый в системе выпуска отработавших газов двигателя внутреннего сгорания и имеющий в основном отделенные друг от друга проточные для отработавших газов каналы (5, 8) и осевую длину (L), отличающийся тем, что он имеет по меньшей мере первое подмножество каналов (5) и второе подмножество каналов (8), при этом площади (6, 7, 9, 10) поперечного сечения каналов (5, 8) по меньшей мере одного из обоих их подмножеств изменяются по осевой длине (L) сотового элемента (1), за счет чего обеспечивается неодинаковая продолжительность прохождения отработавших газов (3) через каналы (5,8), относящиеся к различным их подмножествам.
2. Сотовый элемент (1) по п.1, отличающийся тем, что каждый из каналов (5) первого их подмножества имеет первую площадь (6) входного поперечного сечения и первую площадь (7) выходного поперечного сечения, а каждый из каналов (8) второго их подмножества имеет вторую площадь (9) входного поперечного сечения и вторую площадь (10) выходного поперечного сечения, при этом отношение первой площади (6) входного поперечного сечения к первой площади (7) выходного поперечного сечения не равно отношению второй площади (9) входного поперечного сечения ко второй площади (10) выходного поперечного сечения.
3. Сотовый элемент (1) по п.1 или 2, отличающийся тем, что площадь поперечного сечения каналов (5, 8) по меньшей мере одного их подмножества увеличивается, предпочтительно монотонно увеличивается, наиболее предпочтительно строго монотонно увеличивается в основном направлении (z) потока отработавших газов и/или площадь поперечного сечения каналов (5, 8) по меньшей мере одного другого их подмножества уменьшается, предпочтительно монотонно уменьшается, наиболее предпочтительно строго монотонно уменьшается в основном направлении (z) потока отработавших газов.
4. Сотовый элемент (1) по п.1 или 2, отличающийся тем, что каналы (5, 8) по меньшей мере одного их подмножества конически расширяются и/или каналы (5, 8) по меньшей мере одного другого их подмножества конически сужаются.
5. Сотовый элемент по п.1 или 2, отличающийся тем, что интегралы площадей поперечного сечения каналов, относящихся к различным их подмножествам, различаются между собой по осевой длине (L) сотового элемента.
6. Система выпуска отработавших газов двигателя внутреннего сгорания, содержащая по меньшей мере один сотовый элемент (1), имеющий проточные для отработавших газов (3) каналы (5, 8) и осевую длину (L), отличающаяся тем, что путь движения первой части потока отработавших газов образован каналами (5), образующими первое их подмножество, а путь движения второй части потока отработавших газов образован каналами (8), образующими второе их подмножество, при этом площади (6, 7, 9, 10) поперечного сечения каналов (5, 8) по меньшей мере одного из обоих их подмножеств изменяются по осевой длине (L) сотового элемента (1), за счет чего обеспечивается неодинаковая продолжительность прохождения отработавших газов (3) через каналы (5, 8), относящиеся к различным их подмножествам.
7. Система выпуска отработавших газов по п.6, отличающаяся тем, что каждый из каналов (5) первого их подмножества имеет первую площадь (6) входного поперечного сечения и первую площадь (7) выходного поперечного сечения, а каждый из каналов (8) второго их подмножества имеет вторую площадь (9) входного поперечного сечения и вторую площадь (10) выходного поперечного сечения, при этом отношение первой площади (6) входного поперечного сечения к первой площади (7) выходного поперечного сечения не равно отношению второй площади (9) входного поперечного сечения ко второй площади (10) выходного поперечного сечения.
8. Система выпуска отработавших газов по п.6 или 7, отличающаяся тем, что площадь поперечного сечения каналов (5, 8) по меньшей мере одного их подмножества увеличивается, предпочтительно монотонно увеличивается, наиболее предпочтительно строго монотонно увеличивается в основном направлении (z) потока отработавших газов и/или площадь поперечного сечения каналов (5, 8) по меньшей мере одного другого их подмножества уменьшается, предпочтительно монотонно уменьшается, наиболее предпочтительно строго монотонно уменьшается в основном направлении (z) потока отработавших газов.
9. Система выпуска отработавших газов по п.6 или 7, отличающаяся тем, что имеющиеся по меньшей мере в одном сотовом элементе (1) каналы (5, 8) по меньшей мере одного их подмножества конически расширяются и/или каналы (5, 8) по меньшей мере одного другого их подмножества конически сужаются.
10. Система выпуска отработавших газов по п.6 или 7, отличающаяся тем, что интегралы площадей поперечного сечения каналов, относящихся к различным их подмножествам, различаются между собой по осевой длине (L) сотового элемента.
11. Способ глушения шума в системе выпуска отработавших газов двигателя внутреннего сгорания, содержащей по меньшей мере один сотовый элемент (1), имеющий проточные для отработавших газов (3) каналы (5, 8) и осевую длину (L), отличающийся тем, что первую часть потока отработавших газов пропускают через каналы (5), образующие первое их подмножество, а вторую часть потока отработавших газов пропускают через каналы (8), образующие второе их подмножество, при этом площади (6, 7, 9, 10) поперечного сечения каналов (5, 8) по меньшей мере одного из обоих их подмножеств изменяются по осевой длине (L) сотового элемента (1), за счет чего обеспечивается неодинаковая продолжительность прохождения отработавших газов (3) через каналы (5, 8), относящиеся к различным их подмножествам, и отдельные части потока отработавших газов вновь объединяют в один общий поток за по меньшей мере одним сотовым элементом (1).
12. Способ по п.11, отличающийся тем, что каждый из каналов (5) первого их подмножества имеет первую площадь (6) входного поперечного сечения и первую площадь (7) выходного поперечного сечения, а каждый из каналов (8) второго их подмножества имеет вторую площадь (9) входного поперечного сечения и вторую площадь (10) выходного поперечного сечения, при этом отношение первой площади (6) входного поперечного сечения к первой площади (7) выходного поперечного сечения не равно отношению второй площади (9) входного поперечного сечения ко второй площади (10) выходного поперечного сечения.
13. Способ по п.11 или 12, отличающийся тем, что площадь поперечного сечения каналов (5, 8) по меньшей мере одного их подмножества увеличивается, предпочтительно монотонно увеличивается, наиболее предпочтительно строго монотонно увеличивается в основном направлении (z) потока отработавших газов и/или площадь поперечного сечения каналов (5, 8) по меньшей мере одного другого их подмножества уменьшается, предпочтительно монотонно уменьшается, наиболее предпочтительно строго монотонно уменьшается в основном направлении (z) потока отработавших газов.
14. Способ по п.11 или 12, отличающийся тем, что отработавшие газы пропускают по меньшей мере через один сотовый элемент (1), имеющий по меньшей мере одно подмножество каналов (5, 8), которые конически расширяются, и/или по меньшей мере одно другое подмножество каналов (5, 8), которые конически сужаются.
15. Способ по п.11 или 12, отличающийся тем, что интегралы площадей поперечного сечения каналов, относящихся к различным их подмножествам, различаются между собой по осевой длине (L) сотового элемента.
16. Способ по п.12, отличающийся тем, что различие в продолжительности прохождения отдельных частей потока отработавших газов через сотовый элемент выбирают с таким расчетом, чтобы при последующем объединении по меньшей мере двух отдельных частей потока отработавших газов по меньшей мере частично имела место деструктивная интерференция звуковых волн по меньшей мере одной частоты.
17. Способ по п.16, отличающийся тем, что происходит деструктивная интерференция звуковых волн критической частоты.
18. Способ по п.12, отличающийся тем, что различие в продолжительности прохождения отдельных частей потока отработавших газов через сотовый элемент выбирают с таким расчетом, чтобы при последующем объединении по меньшей мере двух отдельных частей потока отработавших газов по меньшей мере частично имела место деструктивная интерференция звуковых волн по меньшей мере двух частот.
РИСУНКИ
|
|