|
|
(21), (22) Заявка: 2005122562/06, 18.07.2005
(24) Дата начала отсчета срока действия патента:
18.07.2005
(43) Дата публикации заявки: 10.07.2006
(46) Опубликовано: 27.01.2007
(56) Список документов, цитированных в отчете о поиске:
RU 2175720 C2, 10.11.2001. RU 2211336 C1, 27.08.2003. RU 2023184 C1, 15.11.1994. GB 2295857 A, 12.06.1996. US 5686269 A, 11.11.1997.
Адрес для переписки:
143000, Московская обл., г. Одинцово, ул. Бульвар Крылова, 14, кв.149, В.В.Гридину
|
(72) Автор(ы):
Гридин Валерий Владиславович (RU)
(73) Патентообладатель(и):
Гридин Валерий Владиславович (RU)
|
(54) РОТОРНО-ЛОПАСТНОЙ ДВИГАТЕЛЬ ГРИДИНА
(57) Реферат:
Изобретение относится к двигателестроению, в частности к двигателям внутреннего сгорания с неравномерным движением рабочих органов в кольцевой рабочей камере. Изобретение позволяет избавиться от вибрационных процессов, повысить плавность изменения угловых скоростей лопастных роторов и надежность механизма периодического изменения скоростей. Роторно-лопастной двигатель содержит кольцевую рабочую камеру с впускными и выпускными отверстиями, торцовые крышки, выходной вал и лопастные роторы, разделяющие внутренний объем камеры на изолированные друг от друга сектора, свечу зажигания и механизм периодического изменения скоростей. Механизм периодического изменения скоростей выполнен в виде зубчатой передачи с внешним или внутренним зацеплением, передаточным числом два. Колесо зубчатой передачи жестко связано с лопастным ротором, а шестеренка располагается с торца двигателя, имеет неподвижную ось вращения и жестко связана с кривошипом. На полуоси кривошипа крепится ползун, скользящий по направляющей, жестко закрепленной на валу, который имеет неподвижную ось вращения, находящуюся между осью шестеренки и полуосью кривошипа, и кинематическое соединение с ведущим валом. 2 з.п. ф-лы, 6 ил.
Изобретение относится к двигателям внутреннего сгорания с неравномерным движением рабочих органов в кольцевой рабочей камере, его наилучшее применение в качестве секции многосекционного двигателя внутреннего сгорания, оно может также использоваться как роторная машина объемного типа, пневмо- и гидромашина, при создании насосов, компрессоров, гидроприводов.
Известна роторная машина, содержащая корпус, торцовые крышки с окнами подвода и отвода рабочей среды, соосные валы с шестеренками, установленные на валах роторы с лопастями, образующие рабочие камеры и промежуточный вал с шестернями. Причем механизм неравномерного вращения роторов образован с помощью овальных шестерен. Применение овальных шестерен затрудняет использование данной машины из-за нетехнологичности их изготовления. Поэтому в данной машине применен механизм неравномерного вращения роторов в виде сложного карданного механизма с регулировочным винтом, обеспечивающим регулирование производительности за счет изменения угла преломления в шарнирах.
Данный механизм не может обеспечить необходимую амплитуду колебаний роторов для создания высокопроизводительной машины без увеличения числа лопастей роторов. Примененный в данной роторной машине механизм с прерывистым движением роторов имеет существенный недостаток в том, что неизбежны ударные нагрузки на все звенья машины (SU, а.с. №1521914, кл. F 04 С 18/00, 15.11.1989).
Наиболее близким к предлагаемому изобретению по своей технической сущности и простоте конструкции является роторно-лопастная машина, содержащая неподвижный корпус, внутри которого вращаются лопастные роторы с изменяющейся скоростью, так что объемы, на которые разделен корпус роторами, изменяются циклически. Роторы закреплены на соосных валах, имеющих на свободных концах водила. Механизм периодического изменения скоростей выполнен в виде установленного на внутреннем конце выходного вала водила с свободно вращающимися на полуосях зубчатыми колесами, на дисках которых установлены полуоси, и неподвижного зубчатого колеса, входящего в зацепление с этими зубчатыми колесами. Водила на концах валов с роторами имеют радиальный паз, сквозь который проходит полуось, установленная на диске зубчатого колеса.
Данный механизм имеет неуравновешенные водила, что сопровождается вибрацией механизма, а кроме того, степень сжатия механизма зависит от минимального расстояния между полуосью проходящей через радиальные пазы водил и осью вращения центрального вала, которое в данном механизме ограничивается расстоянием, необходимым для их крепления, уменьшение этого расстояние приведет к уменьшению жесткости крепления водил и снижению надежности, кроме того, длинные водила предложенного механизма подвергаются воздействию крутящих сил, направленных перпендикулярно их оси, что ведет к уменьшению надежности предложенного механизма (RU 2175720 С2, МПК F 01 С 1/00, F 04 С 2/00, 10.11.2001).
Задача изобретения – избавиться от вибрационных процессов, вызванных невозможностью уравновесить вращающиеся детали, предложить решение, позволяющее получать любые степени сжатия между двумя парами лопастных роторов, и повысить плавность изменения угловых скоростей лопастных роторов, увеличить надежность механизма периодического изменения скоростей.
Данная задача решается в двигателе, содержащем кольцевую рабочую камеру с впускными и выпускными отверстиями, торцовые крышки, выходной вал и лопастные роторы, разделяющие внутренний объем камеры на изолированные друг от друга сектора, свечу зажигания и механизм периодического изменения скоростей, который выполнен в виде зубчатой передачи с внешним или внутренним зацеплением, передаточным числом два, колесо которой жестко связано с лопастным ротором, а шестеренка располагается с торца двигателя, имеет неподвижную ось вращения и жестко связана с кривошипом, на полуоси которого крепится ползун, скользящий по направляющей, жестко закрепленной на валу, который имеет неподвижную ось вращения, находящуюся между осью шестеренки и полуосью кривошипа, и кинематическое соединение с ведущим валом.
Кроме того, кинематическое соединение осуществляется через жесткое крепление валов с направляющими на выходном валу или через зубчатую передачу двух и более зубчатых колес, одно из которых жестко закреплено на ведущем валу, а другие – на валах с направляющими.
Кроме того, каждая пара лопастных роторов может иметь одну и более шестеренок с кривошипом, расположенных на одной торцовой крышке корпуса или на двух противоположных, и соответствующее количество валов с направляющими.
Анализ прототипа показывает, что двигатель отличается конструкцией механизма периодического изменения скоростей, он лишен вибрации, так как в его конструкции все детали уравновешиваются, он обеспечивает любые степени сжатия, которые зависят от расположения оси вращения вала с направляющей относительно оси шестеренки с кривошипом и полуосью кривошипа. Надежность двигателя достигается установкой в механизме периодического изменения скоростей необходимого количества узлов, составляющих этот механизм.
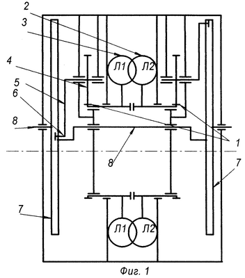
На Фиг.1 представлен пример схемы расположения узлов механизма периодического изменения скоростей, расположенных на противоположных торцовых крышках корпуса, и их связи через ведущий вал (внешнее зацепление между лопастью и шестеренкой).
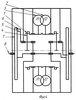
На Фиг.2 представлен пример схемы расположения узлов механизма периодического изменения скоростей, расположенных на противоположных торцовых крышках корпуса, и их связь через зубчатую передачу (внешнее зацепление между лопастью и шестеренкой).
На Фиг.3 представлен пример схемы расположения узлов механизма периодического изменения скоростей на одной торцовой крышке корпуса и их связь через зубчатую передачу (внешнее зацепление между лопастью и шестеренкой).
На Фиг.4 представлен пример схемы расположения узлов механизма периодического изменения скоростей, расположенных на противоположных торцовых крышках корпуса, и их связь через ведущий вал (внутреннее зацепление между лопастью и шестеренкой).
На Фиг.5 представлен рисунок, отражающий пример относительного расположения осей вращения узла механизма периодического изменения скоростей для достижения необходимого коэффициента сжатия.
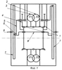
На Фиг.6 представлен пример схемы крепления и соединения деталей двигателя с расположением кривошипов на одной торцовой крышке корпуса и их связь через зубчатую передачу с внешним зацеплением.
Двигатель содержит механизм периодического изменения скоростей, каждая пара лопастных роторов 2 и 3 имеет жесткую связь с колесом зубчатой передачи 1, шестеренка которой 4 жестко связана с кривошипом 5, на полуоси 6 которого крепится ползун, скользящий по направляющей 7, жестко закрепленной на валу 8.
Вал 8 является выходным валом для схемы (Фиг.1, Фиг.4), для схемы (Фиг.2, Фиг.3, Фиг.6) он не является выходным, на нем жестко крепятся зубчатые колеса 9, входящие в зацепление с зубчатым колесом 10, жестко закрепленным на выходном валу 11.
Работа двигателя осуществляется следующим образом. В рабочих камерах, между двумя парами лопастных роторов, одновременно проходят весе циклы рабочего процесса двигателя: сжатие горючей смеси, сгорание, выхлоп и всасывание. В двигателе предусмотрена свеча зажигания и два отверстия, через одно из которых подается горючая смесь, а через другое удаляются отработанные газы. Движение в камере двух пар лопастных роторов происходит по кругу в одном направлении, причем в мертвой точке их угловые скорости одинаковые и равны половине угловой скорости вращения вала с направляющими. Угол между лопастными роторами в этой точке минимальный (Фиг.5) и определяется расположением оси вращения вала с направляющей относительно оси шестеренки с кривошипом и полуосью кривошипа. После прохождения мертвой точки одна пара лопастных роторов снижает угловую скорость до минимальной, другая плавно набирает скорость и в своем максимуме имеет угловую скорость, равную угловой скорости вращения вала 8 с направляющими 7 (Фиг.1-4). Цикл повторяется через 360 градусов для вала 8 с направляющими 7, при этом благодаря наличию между кривошипом 5 и лопастными роторами 2 и 3 понижающей зубчатой передачи 1 и 4 лопастные роторы поворачиваются лишь на 180 градусов, обеспечивая полный цикл работы четырехтактного двигателя.
Схемы (Фиг.1, Фиг.2, Фиг.3, Фиг.4), обеспечивая работу двигателя в четырехтактном режиме, по совокупности признаков ведут к получению одного и того же технического результата, а именно к плавному изменению угловых скоростей между лопастными роторами, созданию между ними необходимой степени сжатия, обеспечивают передачу крутящего момента на ведущий вал.
ИСТОЧНИКИ ИНФОРМАЦИИ
1. Патент RU №2175720 С2, F 01 С 1/00, F 04 С 2/00, 10.11.2001.
2. Авторское свидетельство SU №1521914. Кл. F 04 С 18/00, 15.11.1989.
3. Патент RU №2054122, F 01 С 1/00, 10.02.1996.
Формула изобретения
1. Роторно-лопастной двигатель, содержащий кольцевую рабочую камеру с впускными и выпускными отверстиями, торцовые крышки, выходной вал и лопастные роторы, разделяющие внутренний объем камеры на изолированные друг от друга сектора, свечу зажигания и механизм периодического изменения скоростей, отличающийся тем, что механизм периодического изменения скоростей выполнен в виде зубчатой передачи с внешним или внутренним зацеплением, передаточным числом два, колесо которой жестко связано с лопастным ротором, а шестеренка располагается с торца двигателя, имеет неподвижную ось вращения и жестко связана с кривошипом, на полуоси которого крепится ползун, скользящий по направляющей, жестко закрепленной на валу, который имеет неподвижную ось вращения, находящуюся между осью шестеренки и полуосью кривошипа, и кинематическое соединение с ведущим валом.
2. Двигатель по п.1, отличающийся тем, что кинематическое соединение осуществляется через жесткое крепление валов с направляющими на выходном валу или через зубчатую передачу двух и более зубчатых колес, одно из которых жестко закреплено на ведущем валу, а другие на валах с направляющими.
3. Двигатель по п.1, отличающийся тем, что каждая пара лопастных роторов может иметь одну и более шестеренок с кривошипом, расположенных на одной торцовой крышке корпуса или на двух противоположных, и соответствующее количество валов с направляющими.
РИСУНКИ
|
|