|
|
(21), (22) Заявка: 2005124562/03, 02.08.2005
(24) Дата начала отсчета срока действия патента:
02.08.2005
(46) Опубликовано: 27.01.2007
(56) Список документов, цитированных в отчете о поиске:
А.М.ЦЫПКИС и др. Проходческие лебедки для глубоких шахтных стволов, Москва, НИИИНФОРМТЯЖМАШ, 1966, с.11-15. SU 191447 А, 26.01.1967. SU 240639 А, 01.04.1969. SU 374455 А, 20.03.1973. SU 514957 А, 25.05.1976. DE 1007713 А, 09.05.1957.
Адрес для переписки:
115193, Москва, ул. П. Романова, 7, ОАО “ЦНИИподземмаш”, Главному конструктору проекта Р.О. Ступелю
|
(72) Автор(ы):
Лутков Иван Савельевич (RU), Сыркин Сергей Петрович (RU), Скобликов Василий Васильевич (RU), Брагинский Григорий Семенович (RU), Ступель Рэм Ойзерович (RU)
(73) Патентообладатель(и):
Закрытое акционерное общество “Объединенная шахтостроительная компания “Союзспецстрой” – ЗАО “ОШК “Союзспецстрой” (RU)
|
(54) УСТРОЙСТВО ДЛЯ ПОДВЕСКИ ПОЛКА ПРИ ПРОХОДКЕ ГЛУБОКИХ СТВОЛОВ
(57) Реферат:
Изобретение относится к горной промышленности, а именно к устройствам для подвески полков с размещенным на полке горнопроходческим оборудованием при проходке глубоких шахтных стволов, преимущественно буровзрывным способом. Задача изобретения – снижение веса канатов подвески полка по полиспастной схеме за счет уменьшения длины канатов, обеспечение возможности проходки глубоких шахтных стволов, повышение надежности эксплуатации горнопроходческого оборудования. Поставленная задача решается за счет того, что устройство для подвески полка при проходке глубоких стволов, включающее шкивы, лебедки, каждая из которых соединена с полком канатом по полиспастной схеме подвески посредством гидроцилиндра, закрепленного на полке, штоковая полость которого соединена со штоковыми полостями других гидроцилиндров для выравнивания натяжения канатов, снабжено балками, размещенными над полком, с жестким закреплением их в стволе и возможностью переустановки по мере углубки ствола, при этом каждая балка снабжена шкивами, огибаемыми канатами полиспастной подвески. 2 ил.
Изобретение относится к горной промышленности, а именно к устройствам для подвески полков с размещенным на полке горнопроходческим оборудованием при проходке глубоких шахтных стволов, преимущественно буровзрывным способом.
Известны устройства для подвески полка при проходке глубоких стволов из обзора А.М.Цыпкис, А.В.Вышинский, В.М.Дубров “Проходческие лебедки для глубоких шахтных стволов”, М.: НИИИНФОРМТЯЖМАШ, 1966, с.11-15, фиг.6 (прототип).
Устройство состоит из многоэтажного полка, шкивов, лебедок (однобарабанной или двухбарабанной), соединенных с полком канатом по полиспастной схеме подвески, гидроцилиндров на свободных концах канатов, одноименные полости каждого из которых соединены между собой для выравнивания натяжения канатов. Тяжелый проходческий полок с помощью описанного устройства подвешивается следующим образом.
Канат от лебедки, огибая шкив на копре, шкив на многоэтажном полке, крепится на подшкивной площадке, а для выравнивания канатов подвески при наличии двухбарабанных лебедок с двукратной полиспастной схемой подвески свободные концы канатов соединены с гидроцилиндрами, одноименные полости каждого из которых соединены между собой.
При проходке ствола глубиной 2000 м необходимо устройство для подвески полка с учетом размещенного на нем горнопроходческого оборудования, оснащенное трехкратной полиспастной подвеской. В этом случае длина каната составляет не менее 6500 м.
Известное устройство не может обеспечить безаварийную эксплуатацию тяжелого горнопроходческого оборудования на полке, подвешенном на канатах такой длины, и самое главное, что изготовление, транспортировка к месту эксплуатации и навивка на лебедки канатов больших длин является технически сложной, порой невыполнимой задачей.
Техническая задача изобретения – снижение веса канатов подвески полка по полиспастной схеме за счет уменьшения длины канатов, обеспечение возможности проходки глубоких шахтных стволов, повышение надежности эксплуатации горнопроходческого оборудования.
Поставленная задача решается за счет того, что устройство для подвески полка при проходке глубоких стволов, включающее шкивы, лебедки, каждая из которых соединена с полком канатом по полиспастной схеме подвески посредством гидроцилиндра, закрепленного на полке, штоковая полость которого соединена со штоковыми полостями других гидроцилиндров для выравнивания натяжения канатов, снабжено балками, размещенными над полком, с жестким закреплением их в стволе и возможностью переустановки по мере углубки ствола, при этом каждая балка снабжена шкивами, огибаемыми канатами полиспастной подвески.
Преимущества изобретения и его конструктивные особенности изложены ниже и поясняются чертежами, где:
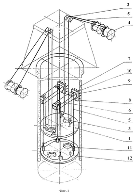
на фиг.1 схематично изображено устройство для подвески (вариант с двумя двухбарабанными лебедками на трехкратных полиспастах);
на фиг.2 – то же, вид сверху.
Устройство для подвески состоит из полка 1 (на фиг.1 изображен двухэтажный полок), шкивов: 2 – установленного на проходческом копре, 3 – установленного на полке 1, лебедок 4, соединенных с полком 1 канатом 5 по полиспастной схеме подвески. Над полком 1, параллельно ему, на некотором расстоянии размещены по меньшей мере две балки 6, концы которых в рабочем состоянии, при углубке ствола, жестко закреплены к стенкам ствола 7 с помощью кронштейнов 8 и анкеров 9. Балки 6 могут переустанавливаться по мере углубки ствола 7. На балках 6 смонтированы дополнительные шкивы 10. Таким образом, канаты 5, идущие от лебедок 4, огибают шкивы 2, установленные на копре, шкивы 3, установленные на полке 1 и далее, огибая дополнительные шкивы 10, установленные на балках 6, крепятся своими концами к смонтированным на полке 1 гидроцилиндрам 11, наполненным смазочным веществом. Для выравнивания натяжения канатов 5 штоковые полости гидроцилиндров 11 соединены между собой в единую гидросистему 12, снабженную прибором, реагирующим на превышение номинального давления в системе сверх допустимого предела и отключающим в этом случае привод лебедок 4 подвески полка 1.
Работает устройство для подвески полка 1 следующим образом.
Первый участок ствола, 500-600 м от верхней площадки, проходится с использованием известного устройства подвески полка 1, при этом длина канатов 5 составляет около 1900 м. В это время дополнительные шкивы 10 и балки 6 установлены на подшкивной площадке. Далее полок 1 с горнопроходческим стволовым оборудованием устанавливается на забой, к стенкам ствола 7 с помощью кронштейнов 8 и анкеров 9 жестко закрепляются на некотором расстоянии, 30-40 м, от полка 1 балки 6, на которых монтируются дополнительные шкивы 10. В этом случае канаты 5 огибают шкивы 2, 3 и 10 по полиспастной схеме, как это описано выше, и опускаются к заделкам на объединенных гидросистемой 12 гидроцилиндрах 11, закрепляемых к полку. Полок 1 приподнимается с помощью лебедок 4 и начинается процесс проходки ствола.
Как следует из описания и чертежа, вместо трех длинных ветвей каната 5 остается одна (от копра до полка 1), а две другие благодаря наличию балок 6 и дополнительных шкивов 10 являются короткими, что значительно сокращает общую длину канатов 5 подвески полка 1.
По мере углубки ствола 7 балки 6 со шкивами 10 могут переустанавливаться несколько раз, при этом проходка ведется с одной длинной и двумя короткими ветвями канатов 5. Длинная ветвь каната 5 может выполнять в том числе и функции направляющей, например, для бадьи.
Для проходки шахтного ствола 7 глубиной 2 км с использованием описанного устройства для подвески полка 1 достаточно иметь канат длиной 2400 м.
Следовательно, предлагаемое устройство для подвески полка обеспечивает возможность проходки глубоких шахтных стволов, снижает вес канатов за счет уменьшения их длины, упрощает задачу изготовления каната уменьшенной длины, его транспортировки к месту эксплуатации и навивки на лебедки, что повышает в целом надежность эксплуатации горнопроходческого оборудования.
Формула изобретения
Устройство для подвески полка при проходке глубоких стволов, включающее шкивы, лебедки, каждая из которых соединена с полком канатом по полиспастной схеме подвески посредством гидроцилиндра, закрепленного на полке, штоковая полость которого соединена со штоковыми полостями других гидроцилиндров для выравнивания натяжения канатов, отличающееся тем, что устройство снабжено балками, размещенными над полком, с жестким закреплением их в стволе и возможностью переустановки по мере углубки ствола, при этом каждая балка снабжена шкивами, огибаемыми канатами полиспастной подвески.
РИСУНКИ
MM4A – Досрочное прекращение действия патента СССР или патента Российской Федерации на изобретение из-за неуплаты в установленный срок пошлины за поддержание патента в силе
Дата прекращения действия патента: 03.08.2007
Извещение опубликовано: 20.08.2008 БИ: 23/2008
NF4A – Восстановление действия патента СССР или патента Российской Федерации на изобретение
Дата, с которой действие патента восстановлено: 27.08.2008
Извещение опубликовано: 27.08.2008 БИ: 24/2008
|
|