|
|
(21), (22) Заявка: 2005118698/03, 16.06.2005
(24) Дата начала отсчета срока действия патента:
16.06.2005
(46) Опубликовано: 27.01.2007
(56) Список документов, цитированных в отчете о поиске:
ГУЛЬЯНЦ Г.М. Справочное пособие по противовыбросовому оборудованию скважин. – М.: Недра, 1983, с.157, рис.11.41. SU 309116 А, 09.07.1971. SU 977703 A, 30.11.1982. SU 1564323 A1, 15.05.1990. RU 2217574 C2, 27.11.2003.
Адрес для переписки:
400005, г.Волгоград, ул. 7-я Гвардейская, 2/324, ООО “ИНТОВ”
|
(72) Автор(ы):
Шишлянников Алексей Николаевич (RU), Сторублевцев Василий Павлович (RU)
(73) Патентообладатель(и):
Общество с ограниченной ответственностью “ИНТОВ” ООО “ИНТОВ” (RU)
|
(54) УСТРОЙСТВО ДЛЯ СНИЖЕНИЯ УДАРНЫХ НАГРУЗОК ОТ КВАДРАТА И ПОДКВАДРАТНОГО ПЕРЕВОДНИКА НА УСТЬЕ СКВАЖИНЫ
(57) Реферат:
Изобретение относится к устройствам для снижения ударных нагрузок от квадрата подквадратного переводника на устье скважины и может применяться при бурении нефтяных и газовых скважин и их капитальном ремонте. Технической задачей изобретения является снижение ударных нагрузок от квадрата и подквадраного переводника на устьевую обвязку и первую обсадную трубу путем обеспечения фиксации ведущей трубы и подквадратного переводника, как минимум, в двух точках, для чего оно дополнительно содержит, как минимум, одну защитную втулку 4, закрепленную на подквадратном переводнике 3, выполненную из упругого материала, разъемную по длине, диаметром не менее 1,1-1,2 диаметра муфты подквадратного переводника 3, при этом ее наружная поверхность снабжена канавками 7 клиновидного сечения для размещения элементов крепления 9, выполненных в виде ремней клиновидного сечения с концами, образующими замок, а толщина ремней выполнена не более глубины канавки 8, при этом защитная втулка 1 надпревенторной катушки 2 выполнена из упругого материала и установлена внутри надпревенторной катушки 2 с возможностью визуального контроля ее износа за счет разницы ее внутреннего диаметра и внутреннего диаметра металлических втулок-вставок 10 Г-образного сечения, размещенных одной полкой вдоль торцевой поверхности защитной втулки надпревенторной катушки концом наружу, а другой полкой с равномерно расположенными по образующей поверхности отверстиями для фиксации – внутри упругого материала защитной втулки 1 надпревенторной катушки 2. 3 ил.
Изобретение относится к устройствам для снижения ударных нагрузок от квадрата и подквадратного переводника на устье скважины и может применяться при бурении нефтяных и газовых скважин и их капитальном ремонте.
Известно устройство для снижения ударных нагрузок от квадрата и подквадратного переводника на устье скважины, содержащее как минимум одну защитную втулку, размещенную в надпревенторной катушке ствола скважины для перемещения подквадратного переводника, образованного воронкой, превенторами, катушками и первой обсадной трубой (см Г.М.Гульянц. Справочное пособие по противовыбросовому оборудованию скважин, М.: Недра, 1983 г, стр.157, рис.11.41).
Установка металлической защитной втулки в надпревенторной катушке не обеспечивает соосное перемещение подквадратного переводника относительно канала устья скважины в виду значительной разницы размеров (длины и диаметра защитной втулки и подквадратного переводника), не позволяющих обеспечивать снижение ударных нагрузок от подквадратного переводника ведущей трубы на первую обсадную трубу.
Качество крепления устья скважины и надежность элементов обвязки устья являются важным фактором, влияющим как на процесс бурения скважины, так и на ее дальнейшую эксплуатацию.
При бурении скважины во время вращения бурильной колонны элементы устьевой обвязки, противовыбросовое оборудование и первая обсадная труба воспринимают ударные нагрузки от ведущей трубы и подквадратного переводника. Это приводит к препиранию первой обсадной трубы, а также к нарушению герметичности резьбовых соединений в устьевой части скважины, что является основной причиной межколонных проявлений.
На практике для снижения ударных нагрузок от подквадратного переводника на его корпус наваривают резиновую втулку, которая подлежит замене после ее истирания. Замена отработанной втулки затруднена т.к. подквадратный переводник необходимо снимать с бурильной колонны и отправлять на завод резино-технических изделий, где удаляют изношенную и устанавливают новую втулку.
У втулки отсутствуют элементы контроля износа (износ определяется визуально), поэтому при ее износе возникают аварийные ситуации.
Технической задачей предлагаемого изобретения является снижение ударных нагрузок от квадрата и подквадраного переводника на устьевую обвязку и первую обсадную трубу путем обеспечения фиксации ведущей трубы и подквадратного переводника, как минимум, в двух точках.
Техническая задача решается тем, что устройство для снижения ударных нагрузок от квадрата и подквадратного переводника на устье скважины, содержащее защитную втулку, размещенную в надпревенторной катушке ствола скважины, образованного воронкой, превенторами, катушками и первой обсадной трубой, отличается тем, что оно дополнительно содержит, как минимум, одну защитную втулку, закрепленную на подквадратном переводнике, выполненную из упругого материала, разъемную по длине, диаметром не менее 1,1-1,2 диаметра муфты подквадратного переводника, при этом ее наружная поверхность снабжена канавками клиновидного сечения для размещения элементов крепления, выполненных в виде ремней клиновидного сечения с концами, образующими замок, а толщина ремней выполнена не более глубины канавки, при этом защитная втулка надпревенторной катушки выполнена из упругого материала и установлена внутри надпревенторной катушки с возможностью визуального контроля ее износа за счет разницы ее внутреннего диаметра и внутреннего диаметра металлических втулок-вставок Г-образного сечения, размещенных одной полкой вдоль торцевой поверхности защитной втулки надпревенторной катушки концом наружу, а другой полкой с равномерно расположенными по образующей поверхности отверстиями для фиксации – внутри упругого материала защитной втулки надпревенторной катушки.
Разница наружных диаметров защитной втулки подквадратного переводника и ремней клиновидного сечения, а также разница внутреннего диаметра надпревенторной катушки и внутреннего диаметра металлических втулок-вставок используется в качестве элементов для визуального контроля износа защитных втулок, чтобы предупреждать аварийные ситуации.
Установка одной защитной втулки в надпревенторной катушке и как минимум одной защитной втулки на подквадратном переводнике позволяет фиксировать ведущую трубу и подквадратный переводник в любой момент времени в двух точках, полностью исключая ударные нагрузки на устье скважины, даже при нарушении центровки буровой вышки и искривлении устья скважины.
Выполнение защитной втулки, устанавливаемой на подквадратном переводнике, разъемной позволяет обеспечить ее замену непосредственно на рабочем месте, что снижает время простоя скважины.
Сущность изобретения поясняется чертежами, где:
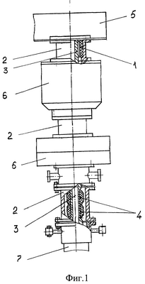
на фиг.1 изображен общий вид устройства;
на фиг.2 – продольное сечение защитной втулки подквадратного переводника;
на фиг.3 – продольное сечение защитной втулки надпревенторной катушки.
Устройство для снижения ударных нагрузок от квадрата и подквадратного переводника на устье скважины содержит как минимум одну защитную втулку 1, размещенную в катушке 2, например, надпревенторной, ствола устья скважины, предназначенного для перемещения подквадратного переводника 3, и как минимум одну защитную втулку 4, закрепленную на подквадратном переводнике 3. Ствол устья скважины образован воронкой 5, превенторами 6, катушками 2 и первой обсадной трубой 7.
Защитная втулка 4 выполнена из упругого материала, разъемная по длине, диаметром не менее 1,1-1,2 диаметра муфты подквадратного переводника 3. Наружная поверхность защитной втулки 4 снабжена канавками 8 клиновидного сечения для размещения элементов 9 крепления. Элементы крепления 9 выполнены в виде ремней клиновидного сечения с концами, образующими замок. Высота элементов 9 крепления не более 1/4 глубины канавки 8.
Защитная втулка 1 надпревенторной катушки 2 выполнена из упругого материала, а ее торцы снабжены металлическими вставками-втулками 10 Г-образного сечения, размещенными одной полкой вдоль торцевой поверхности защитной втулки 1 надпревенторной катушки 2 концом наружу, а другой полкой с равномерно расположенными по образующей поверхности отверстиями (на чертеже условно не показаны) для фиксации – внутри упругого материала защитной втулки 1 надпревенторной катушки 2.
Защитную втулку 1 размещают в отверстии надпревенторной катушки 2, выполненном ступенчатого сечения, совмещая торец одной вставки-втулки 10 с торцом ступени, а другую вставку-втулку 10 фиксируют посредством воронки 5. Внутренний диаметр металлических втулок-вставок 10 меньше диаметра надпревенторной катушки 2 на 2-5 мм.
Крепление защитной втулки 4 на подквадратном переводнике 3 осуществляют в следующей последовательности. Защитную втулку 4 устанавливают на корпусе подквадратного переводника 3, совмещая канавки 8 клиновидного сечения, затем в канавках 8 клиновидного сечения размещают элементы крепления 9 в виде ремней клиновидного сечения, производят натяжку ремней и формируют клиновидный замок.
Демонтаж защитной втулки 4 с подквадратного переводника 3, в случае ее замены, осуществляют в обратной последовательности.
В собранном состоянии наружный диаметр элементов крепления 9 и замков равен диаметру муфты подквадратного переводника 3 и является контрольной поверхностью, определяющей момент замены защитной втулки 4. При истирании резины защитной втулки 4 до поверхности клиновидных замков элементов крепления 9 и защитной втулки 1 до поверхности втулок-вставок 10 производят замену защитной втулки 4 и защитной втулки 1 соответственно.
Формула изобретения
Устройство для снижения ударных нагрузок от квадрата и подквадратного переводника на устье скважины, содержащее защитную втулку, размещенную в надпревенторной катушке ствола скважины, образованного воронкой, превенторами, катушками и первой обсадной трубой, отличающееся тем, что оно дополнительно содержит, как минимум, одну защитную втулку, закрепленную на подквадратном переводнике, выполненную из упругого материала, разъемную по длине, диаметром не менее 1,1-1,2 диаметра муфты подквадратного переводника, при этом ее наружная поверхность снабжена канавками клиновидного сечения для размещения элементов крепления, выполненных в виде ремней клиновидного сечения с концами, образующими замок, а толщина ремней выполнена не более глубины канавки, при этом защитная втулка надпревенторной катушки выполнена из упругого материала и установлена внутри надпревенторной катушки с возможностью визуального контроля ее износа за счет разницы ее внутреннего диаметра и внутреннего диаметра металлических втулок-вставок Г-образного сечения, размещенных одной полкой вдоль торцевой поверхности защитной втулки надпревенторной катушки концом наружу, а другой полкой с равномерно расположенными по образующей поверхности отверстиями для фиксации – внутри упругого материала защитной втулки надпревенторной катушки.
РИСУНКИ
|
|