|
(21), (22) Заявка: 2006109353/03, 24.03.2006
(24) Дата начала отсчета срока действия патента:
24.03.2006
(46) Опубликовано: 27.01.2007
(56) Список документов, цитированных в отчете о поиске:
SU 662689 А, 15.15.1979. SU 42957 А, 31.05.1935. SU 83733 А, 28.01.1960. RU 2259463 С1, 27.08.2005. SU 601387 A, 05.04.1978. SU 1548403 А1, 07.03.1990. US 4127297 A, 28.11.1978. US 3651867 А, 28.03.1972.
Адрес для переписки:
129345, Москва, ул. Осташковская, 19, кв.4, Е.Н. Оркину (для ООО “КАСКАД”)
|
(72) Автор(ы):
Костенко Павел Викторович (RU), Железняк Александр Петрович (RU)
(73) Патентообладатель(и):
Общество с ограниченной ответственностью “КАСКАД” (RU)
|
(54) УСТРОЙСТВО ДЛЯ ИЗВЛЕЧЕНИЯ ИНСТРУМЕНТА
(57) Реферат:
Изобретение относится к нефтяной и газовой промышленности и предназначено для использования в буровых скважинах, в частности при ловильных работах, например, для извлечения инструмента при обрыве проволоки. Устройство включает связанные между собой подвеску и ловильный узел в виде перьевых элементов с внутренними захватными выступами на нижних концах, имеющих возможность ограниченного радиального перемещения. Перьевые элементы подпружинены в осевом направлении для обеспечения возможности возвращения в исходное положение. Перьевые элементы имеют на боковых краях проточки, образующие внешние захватные выступы, и своими верхними концами шарнирно соединены с нижней частью подвески. Нижняя часть подвески выполнена в виде штока с ограничителем. Пружина охватывает шток и взаимодействует одним концом с торцами верхних концов перьевых элементов через опорную шайбу, а другим – с ограничителем. Опорная шайба выполнена с кольцевым выступом, охватывающим с внешней стороны верхние концы перьевых элементов. Повышается надежность захвата инструмента, упрощается конструкция. 10 з.п. ф-лы, 3 ил.
Изобретение относится к области горной промышленности и предназначено для использования в буровых скважинах, в частности эксплуатационных при ловильных работах, например, для извлечения инструмента при обрыве проволоки.
Известен ловитель для извлечения скважинного оборудования, включающий корпус, захватную цангу с выступами на нижних концах перьев и фиксатор в виде плоских пружин (SU 883325, 1981).
Недостатком известного ловителя является низкая его надежность, т.к. при использовании происходит преждевременная фиксация перьев цанги и их слом (смятие) в процессе захвата извлекаемого объекта. Ловитель не предназначен для захвата проволоки.
Известен ловитель, включающий полый корпус, с боковыми окнами, установленную в нем пружину и размещенную под ней с возможностью ограниченного осевого перемещения цангу с захватными выступами на нижних концах ее перьев, при этом перья цанги и захватные выступы на их концах сопряжены по сферической поверхности, наружная поверхность нижних концов перьев и внутренняя поверхность корпуса под боковыми окнами, контактирующие друг с другом, выполнены коническими, а величина осевого перемещения цанги меньше высоты конической поверхности корпуса под боковыми окнами, поверхность захватных выступов, сопряженная с внутренней поверхностью перьев цанги, расположена под острым углом к продольной оси цанги (RU 2171355, 2001).
В известном ловителе прочность перьев цанги как за счет их конструктивного решения, так и иного характера взаимодействия с корпусом повышена. Однако он лишен возможности быть использованным в скважине для захвата проволоки.
Известно устройство для извлечения инструмента, включающее связанные между собой подвеску и ловильный узел в виде перьевых элементов с внутренними захватными выступами на нижних концах, имеющих возможность ограниченного радиального перемещения, и подпружиненных в осевом направлении для обеспечения возможности возвращения в исходное положение (SU 662689, 1979).
Известное устройство предназначено для ликвидации аварий с глубинно-насосными штангами в насосно-компрессорных трубах и лишено возможности быть использованным в скважине для захвата проволоки или инструмента, опускаемого на проволоке, в случае обрыва последней.
Задачей изобретения является создание простого по конструкции устройства для извлечения инструмента, обеспечивающего захват за выступающие элементы на узле подвески инструмента, например, за уступ, образованный “аварийной” проточкой на узле подвески, за оборванную проволоку, за скрутки проволоки.
Технический результат – повышение надежности захвата инструмента.
Поставленная задача решается тем, что в устройстве для извлечения инструмента, включающем связанные между собой подвеску и ловильный узел в виде перьевых элементов с внутренними захватными выступами на нижних концах, имеющих возможность ограниченного радиального перемещения, и подпружиненных в осевом направлении для обеспечения возможности возвращения в исходное положение, перьевые элементы ловильного узла имеют на боковых краях проточки, образующие внешние захватные выступы, и своими верхними концами шарнирно соединены с нижней частью подвески.
Способствует решению поставленной задачи то, что:
– нижняя часть подвески выполнена в виде штока с ограничителем;
– перьевые элементы своими верхними концами шарнирно соединены со штоком, пружина охватывает шток и взаимодействует одним концом с торцами верхних концов перьевых элементов через опорную шайбу, а другим – с ограничителем, при этом шток имеет резьбовой участок, ограничитель выполнен в виде шайбы и гайки, размещенных на резьбовом участке штока, а опорная шайба выполнена с кольцевым выступом, охватывающим с внешней стороны верхние концы перьевых элементов.
Внутренние захватные выступы на нижних концах перьевых элементов имеют центрирующие конусные выборки, что в совокупности с радиусными закруглениями на нижних концах перьевых элементов обеспечивает лучшее взаимодействие с извлекаемым объектом (инструментом, проволокой, скруткой проволоки) и последующий их захват.
Устройство снабжено встроенными в подвеску ударным механизмом (ясом) и выше него утяжелителем (грузом), что позволяет обеспечить устойчивый спуск устройства в скважину, устранять его зависания.
Ловильный узел устройства содержит два перьевых элемента, что предпочтительно, т.к. большее их число в ловильном узле предложенной конструкции усложняет устройство в изготовлении.
На боковых краях перьевых элементов ловильного узла имеются внешние захватные выступы, образованные проточками (выборками). Эти выступы имеют клинообразную форму, обращенную клином вверх. Выступы расположены ярусами. Один выступ переходит в другой.
Между перьевыми элементами ловильного узла в исходном положении существует гарантированный зазор.
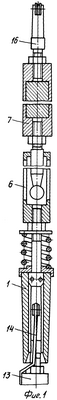
На фиг.1 показан общий вид устройства, продольный разрез; на фиг.2 – ловильный узел в разрезе; на фиг.3 – вид сбоку на фиг.2.
Устройство включает связанные между собой подвеску и ловильный узел в виде перьевых элементов 1 с внутренними захватными выступами 2 на нижних концах, имеющих возможность ограниченного радиального перемещения, и подпружиненных в осевом направлении пружиной 3 для обеспечения возможности возвращения в исходное положение. Перьевые элементы 1 ловильного узла имеют на боковых краях проточки (выборки, выемки), образующие внешние захватные выступы 4, и своими верхними концами шарнирно соединены с нижней частью подвески. Внутренние захватные выступы 2 на нижних концах перьевых элементов 1 имеют центрирующие конусные выборки 5.
Устройство снабжено встроенными в подвеску ударным механизмом (ясом) 6 и выше него утяжелителем (грузом) 7.
Нижняя часть подвески выполнена в виде штока 8 с ограничителем в виде шайбы 9 и гайки 10, размещенных на резьбовом участке штока 8. Пружина 3 охватывает шток 8 и взаимодействует одним концом с торцами верхних концов перьевых элементов 1 через опорную шайбу 11, а другим – с ограничителем.
Перьевые элементы 1 своими верхними концами шарнирно соединены штифтами 12 со штоком 8. Опорная шайба 11 выполнена с кольцевым выступом, охватывающим с внешней стороны верхние концы перьевых элементов 1.
Ловильный узел устройства в конкретном воплощении содержит два перьевых элемента 1, на боковых краях которых имеются внешние захватные выступы 4, образованные проточками (выборками). Эти выступы 4 имеют клинообразную форму.
Шток 8 в месте соединения с перьевыми элементами 1 имеет головку. Поверхность головки штока 8 в верхней части имеет профиль (выполнена под конус), обеспечивающий радиальное перемещение нижних концов перьевых элементов 1 при заходе на узел подвески (подвеску) извлекаемого инструмента 13. Пружина 3 с опорной шайбой 11 служат для возвращения в первоначальное положение перьевых элементов 1 после зацепления с подвеской извлекаемого инструмента 13. Внешние захватные выступы 4 на боковых краях перьевых элементов 1 образованы проточками (выборками) (выфрезерованы выточками), напоминают вид “ершика” и служат для зацепки проволоки 14, если она осталась в скважине в значительном количестве. На нижних концах перьевые элементы 1 имеют радиусные закругления (выбраны радиусы) 15 для обеспечения захода скрутки и остатка проволоки 14 в прорези (в гарантированный зазор).
К верхней части утяжелителя (штанги, груза) 7 присоединен узел подвески 16. Опорная головка подвесного винта узла подвески 16, опираясь на выступ корпуса узла подвески 16, позволяет ей поворачиваться вокруг своей оси и таким образом не передавать крутящие моменты от извлекаемого инструмента (очистного устройства) 13 на тяговый орган (проволока, связанная с барабаном лебедки). На ролик узла подвески 16 крепится конец проволоки (скребковой), которая вторым концом соединена с барабаном лебедки. Тяговый орган на графике не показан.
Ударный механизм (яс) 6 служит для создания ударных нагрузок при спуске устройства, на ловильный узел устройства при зацепе за подвеску извлекаемого инструмента для обеспечения направления скрутки скребковой проволоки в гарантированный зазор (прорези) между перьевыми элементами 1 или его срезки острыми кромками внутренних захватных выступов 2 на нижних концах перьевых элементов 1, образованных центрирующими конусными выборками 5, или острыми кромками внешних захватных выступов 4, обусловленных клинообразной формой их выполнения.
Ударный механизм (яс) 6 состоит из полого корпуса сварной конструкции, на нижнем конце которого выполнено отверстие с резьбой, в которое пропущен шток 8. В верхней части корпуса яса 6 отверстие для выхода бойка нижний конец бойка выполнен в виде шара. На верхнем конце бойка выполнена резьба для соединения с утяжелителем (штангой, грузом) 7. В корпусе яса 6 выфрезерованы продольные отверстия (пазы) для выхода жидкости из полости корпуса при движении бойка. Штанга (груз) 7 (фиг.1) сварной конструкции представляет собой трубу 32×3.5 мм с приваренными с обоих ее концов крышками с резьбовыми отверстиями и залитую свинцом. В резьбовые отверстия крышек установлены с одной стороны узел подвески 16, а с другой – ударный механизм (яс) 6 или ловильный узел.
Устройство работает следующим образом. Перед спуском устройства в скважину проверяют легкость движения его элементов и степень износа внутренних и внешних захватных выступов 2, 4 перьевых элементов 1 ловильного узла. При необходимости регулируют усилие пружины 3 гайкой 10.
Производят сборку компоновки устройства. Все резьбовые соединения устройства фиксируются от самопроизвольного развинчивания известным образом. Заправляют проволоку в сальниковое устройство устья скважины. Закрепляют конец проволоки на узел подвески 16 за его вертлюжок. Крепление производят с применением двойной вязки. Устанавливают на скважине два лубрикатора с учетом длины устройства и извлекаемого инструмента. В случае нахождения в скважине проволоки оборванного инструмента применяют превентор. Вставляют устройство в лубрикатор и наворачивают сальниковое устройство, устанавливают ролик. Натягивают проволоку вручную и удерживают в верхнем положении устройство, устанавливают счетчик метража лебедки на “0”. Открывают до конца лубрикаторную задвижку фонтанной арматуры. Вручную медленно спускают устройство на глубину 10-12 метров. Отпуская тормоз лебедки, производят свободный спуск устройства, не допуская образования свободных витков проволоки на барабане лебедки.
При подходе устройства к интервалу нахождения аварийного инструмента за 100 м производят медленный спуск до остановки. После остановки производят натяжку и отпуск проволоки вручную примерно 0,5-0,7 м для создания ударных усилий и посадки устройства на вертлюжок аварийного инструмента. Производят 5-6 ударов при увеличении нагрузки на проволоку, производят подъем компоновки с применением второго ролика, установленного в нижней части арматуры скважины.
Если глубина местонахождения аварийного инструмента более 900 м, то при подходе устройства к интервалу нахождения аварийного инструмента за 100 м производят медленный спуск до остановки. После остановки приподнимают устройство на 25-30 м и производят свободный отпуск устройства, повторяют операцию 3-4 раза. При увеличении нагрузки на проволоку производят подъем компоновки с применением второго ролика, установленного в нижней части арматуры скважины. Подъем инструмента первые 25-30 метров производят вручную, затем – на первой передаче лебедки.
В случае заклинивания инструмента в “противополетном” кольце необходимо при глубине до 900 м извлечение производить в следующей последовательности: 5-6 ударов ясом, натяжка проволоки, до выхода устройства из заклинивания. При глубине более 900 м извлечение производят в следующей последовательности: при возникновении заклинивания инструмента производят максимальную вытяжку проволоки, отстой не менее 15 минут, затем свободный отпуск. Затем увеличить нагрузку на проволоку произвести выдержку не менее 15 минут, произвести снятие нагрузки. Следующее увеличение нагрузки производить до выхода инструмента из клина.
При захвате инструмента 13 ловильным узлом, нижние концы перьевых элементов 1 своими внутренними захватными выступами 2 на нижних концах перьевых элементов 1 надвигаются на объект захвата, центрирующие конусные выборки 5 способствуют правильному позиционированию устройства. Радиусные закругления 15 обеспечивают удобный заход скрутки и остатка проволоки 14 в прорези (в гарантированный зазор) между перьевыми элементами 1.
Подъем инструмента производят с применением второго ролика, установленного в нижней части арматуры, на первой передаче лебедки на минимальных оборотах двигателя. При достижении глубины 500 м допускается увеличение оборотов двигателя. Не доходя до устья 20-25 м необходимо выключить привод лебедки и произвести подъем компоновки вручную. Необходимо убедится в том, что компоновка полностью в лубрикаторе, для исключения ее деформации. Закрывают задвижку и стравливают давление в лубрикаторе.
Использование изобретения позволяет упростить конструкцию устройства для извлечения инструмента, обеспечивающего захват инструмента за выступающие элементы на узле подвески, за оборванную проволоку, за скрутки проволоки, позволяет извлечь остатки оборванной проволоки, а также осуществить срезку остатков проволоки.
Формула изобретения
1. Устройство для извлечения инструмента, включающее связанные между собой подвеску и ловильный узел в виде перьевых элементов с внутренними захватными выступами на нижних концах, имеющих возможность ограниченного радиального перемещения и подпружиненных в осевом направлении для обеспечения возможности возвращения в исходное положение, отличающееся тем, что перьевые элементы ловильного узла имеют на боковых краях проточки, образующие внешние захватные выступы, и своими верхними концами шарнирно соединены с нижней частью подвески.
2. Устройство по п.1, отличающееся тем, что нижняя часть подвески выполнена в виде штока с ограничителем, перьевые элементы своими верхними концами шарнирно соединены со штоком, пружина охватывает шток и взаимодействует одним концом с торцами верхних концов перьевых элементов, а другим – с ограничителем.
3. Устройство по п.2, отличающееся тем, что шток имеет резьбовой участок, а ограничитель выполнен в виде шайбы и гайки, размещенных на резьбовом участке штока.
4. Устройство по п.2, отличающееся тем, что пружина взаимодействует с торцами верхних концов перьевых элементов через опорную шайбу.
5. Устройство по п.1, отличающееся тем, что внутренние захватные выступы на нижних концах перьевых элементов имеют центрирующие конусные выборки.
6. Устройство по п.1, отличающееся тем, что перьевые элементы на нижних концах имеют радиусные закругления.
7. Устройство по п.4, отличающееся тем, что опорная шайба выполнена с кольцевым выступом, охватывающим с внешней стороны верхние концы перьевых элементов.
8. Устройство по п.1, отличающееся тем, что снабжено ударным механизмом, встроенным в подвеску.
9. Устройство по п.8, отличающееся тем, что снабжено утяжелителем, встроенным в подвеску выше ударного механизма.
10. Устройство по п.1, отличающееся тем, что ловильный узел содержит, предпочтительно, два перьевых элемента.
11. Устройство по п.1 или 10, отличающееся тем, что внешние захватные выступы, образованные проточками на боковых краях перьевых элементов ловильного узла, имеют клинообразную форму.
РИСУНКИ
|