|
(21), (22) Заявка: 2005102811/03, 12.07.2002
(24) Дата начала отсчета срока действия патента:
12.07.2002
(43) Дата публикации заявки: 10.07.2005
(46) Опубликовано: 27.01.2007
(56) Список документов, цитированных в отчете о поиске:
DE 803075 А, 26.02.1951. WO 0070169 A1, 23.11.2000. JP 1226687 А, 11.09.1989. EP 1063368 B1, 27.12.2000. SU 1694819 A1, 30.11.1991.
(85) Дата перевода заявки PCT на национальную фазу:
14.02.2005
(86) Заявка PCT:
EP 02/07764 (12.07.2002)
(87) Публикация PCT:
WO 2004/007869 (22.01.2004)
Адрес для переписки:
191002, Санкт-Петербург, а/я 5, ООО “Ляпунов и партнеры”, пат.пов. А.С. Пантелееву, рег.№ 1071
|
(72) Автор(ы):
ШТИНГЛЬ Александр (DE)
(73) Патентообладатель(и):
ШТИНГЛЬ ГмбХ (DE)
|
(54) РАБОЧИЕ ПОДМОСТИ
(57) Реферат:
Изобретение относится к рабочим подмостям для установки и/или перемещения рабочей площадки. Техническим результатом изобретения является создание рабочих подмостей простой конструкции для шахт лифтов и прочих шахт с возможностью монтажа в короткий срок одним человеком в области дверного проема или отверстия в стене. Рабочие подмости включают приспособление (1) для установки и/или перемещения рабочей площадки (2), приспособление (1) для рабочей площадки (2) соединено с упором (4), к которому прикреплена рабочая площадка (2). Упор (4) имеет первое крепление (12), с помощью которого рабочая площадка (2) может опираться на опору или стену (7). Рабочая площадка (2) с противоположной стороны (6) включает второе крепление (9), поддерживающее рабочую площадку (2). Указанное второе крепление (9) соединено с укосиной (11). Указанная укосина (11) жестко или с возможностью перемещения соединена с одного конца – с рабочей площадкой (2), а с другого конца – с первой вертикальной стойкой (14). К рабочей площадке (2) может быть присоединена отдельно от первой вертикальной стойки (14), по меньшей мере, еще одна вторая вертикальная стойка (33), служащая в качестве опоры для одной или более перекладин (30). 17 з.п. ф-лы, 4 ил.
Изобретение относится к подмостям для установки и/или перемещения рабочей площадки.
Подмости имеют приспособление для установки и/или перемещения рабочей площадки.
Механизм рабочей площадки имеет упор, служащий опорой для всего устройства и соединенный посредством первого крепления с рабочей площадкой.
Посредством первого крепления рабочая площадка в области первой стороны может опираться на опору или стену.
Рабочая площадка с помощью первого крепления связана с первой вертикальной стойкой, расположенной, по существу, под прямым углом к поперечной балке рабочей площадки.
Со второй стороны рабочей площадки, расположенной напротив первой стороны, рабочая площадка имеет второе крепление, благодаря чему создается опора для рабочей площадки.
Второе крепление соединено с укосиной. Один конец укосины жестко и/или подвижно соединен с рабочей площадкой, а второй конец – с первой вертикальной стойкой.
На рабочей площадке параллельно первой стойке и на некотором расстоянии от нее может быть расположена, по меньшей мере, еще одна вертикальная стойка, служащая в качестве опоры для одной или нескольких перекладин.
В публикации FR 2641018 раскрыто монтажное устройство для шахт лифтов. Устройство крепится к порогу двери и имеет две параллельные балки, опирающиеся на противоположную стену. Кроме того, предусмотрена поддерживающая лестничная конструкция, служащая для входа на горизонтальную рабочую площадку. Балки выполнены в виде телескопических тяг со стопорными штифтами и направлены под углом 25° к горизонтальной плоскости. Это монтажное устройство состоит из множества деталей и имеет очень сложную конструкцию, не позволяющую производить простой и быстрый монтаж.
Известны также рабочие подмости, обладающие следующими признаками (DE 19928574 С2). Рабочие подмости имеют приспособление для установки и (или) перемещения рабочей площадки. Это приспособление предназначено для перемещения рабочей площадки и оснащено креплением (опорной деталью). Крепление служит в качестве опоры для перемещаемой рабочей площадки. Для этого крепление имеет приспособление, с помощью которого рабочая площадка с одной стороны может опираться на опору или стену. Кроме того, с противоположной стороны рабочая площадка имеет второе приспособление, которое посредством опорной детали также может опираться на опору или стену. С противоположной стороны крепление имеет предохранительное устройство для рабочей площадки, состоящее из блокирующего устройства и балки в качестве опорного устройства, а также вторую, прилегающую к стене опорную деталь. Блокирующее устройство выполнено в виде детали, один конец которой подвижно соединен с рабочей площадкой, а второй конец – с балкой. Чтобы создать опору для рабочей площадки, необходимо, чтобы в шахте были, по меньшей мере, две расположенные друг напротив друга боковые стены.
В публикациях DE 803075 С и WO 00/70169 А раскрыты рабочие подмости со стойкой, расположенной неподвижно относительно дверного проема. Способная поворачиваться поперечная балка опирается на стойку и служит в качестве опоры для рабочей площадки. Балку со стороны, противоположной поперечной стойке, фиксируют с помощью тяги, прикрепленной к стойке над поперечной балкой. Тяга выполнена с возможностью изгиба под углом для предоставления возможности складывать и раскладывать рабочую площадку.
В основе настоящего изобретения лежит задача создания рабочих подмостей простой конструкции для шахт лифтов и прочих шахт с возможностью монтажа в короткий срок одним человеком в области дверного проема или отверстия в стене.
В изобретении эта задача решена за счет того, что соединенные посредством укосины поперечная балка рабочей площадки и вертикальная стойка опираются с помощью первого крепления на упор и выполнены с возможностью поворота вокруг общего болта.
Благодаря соответствующей конструкции и расположению рабочие подмости легко закрепить на одной вертикальной стене с отверстием, наличия еще одной стены напротив дверного проема или отверстия в стене не требуется. Подмости с вертикальной стойкой помещают в отверстие в стене, нижнюю часть вертикальной стойки опирают на пол или покрывающий его элемент, а верхнюю часть поворачивают и прислоняют к внутренней части опорной стены.
С точки зрения упрощения монтажа удобно то, что поперечную балку и стойку вставляют в первое крепление и каждую из этих деталей фиксируют с помощью болта.
Преимущество данной конструкции также состоит в том, что рабочая площадка образована поперечной балкой и лежащей на ней плитой основания, причем поперечная балка посредством второго крепления соединена с укосиной.
В отношении подгонки к размерам шахты удобно, что укосина с помощью шарнирного соединения подвижно соединена со вторым креплением.
Удобно, что первая вертикальная стойка посредством трех, по существу, горизонтальных перекладин соединена со второй вертикальной стойкой.
С точки зрения гибкости использования удобно то, что над рабочей площадкой предусмотрена вторая рабочая площадка с плитой основания, соединенная поперечной балкой с первой и второй стойками.
Удобно также то, что со второй рабочей площадкой соединены вертикальная стойка и ориентированная вертикально задняя стойка, причем первую крепят к поперечной балке, а заднюю стойку вставляют во вторую вертикальную стойку.
Особенно удобно то, что вертикальная и задняя стойки соединены посредством трех, по существу, горизонтальных перекладин.
Дополнительное удобство заключается в том, что в рабочей площадке выполнено отверстие для прохождения и установки приставной лестницы.
К преимуществам конструкции относится также то, что первая вертикальная стойка служит опорой для всей рабочей площадки.
Дополнительные возможности предоставляет усовершенствованная конструкция, в которой упор рабочей площадки выполнен в виде захвата и/или замыкающей детали.
Далее, к преимуществам конструкции относится то, что вышеуказанный упор выполнен в виде угловой балки, опирающейся на угол стены или дверной порог. Благодаря применению угловой балки первую вертикальную стойку достаточно опереть на угол основания и зажать, при этом основание принимает на себя основную нагрузку, создаваемую всей рабочей площадкой, а верхняя часть первой вертикальной стойки – лишь растягивающую нагрузку со стороны рабочей площадки.
Кроме того, преимуществом данной конструкции является то, что первое крепление имеет вертикальный опорный элемент для фиксации с захватом первой вертикальной стойки и/или горизонтальный второй опорный элемент – для создания опоры для горизонтальной поперечной балки, соединенной с плитой основания, а также U-образный опорный элемент – для создания опоры для вертикального и горизонтального опорных элементов.
Благодаря использованию горизонтальных опорных элементов на рабочей площадке легко смонтировать боковые элементы, решетчатые крепления или даже дополнительные распорки, принимающие нагрузку со стороны рабочей площадки и облегчающие перемещение по высоте в пределах устройства. В приведенном примере конструкции показана лишь правая часть подмостей. Рабочие подмости состоят из двух одинаковых или идентичных опорных узлов, между которыми навешивают или закрепляют рабочую площадку или плиту основания. Сбоку плита основания или рабочая площадка ограждена ограничительными элементами, выполненными в виде перекладин.
Наконец, согласно одному из предпочтительных вариантов воплощения изобретения по меньшей мере, горизонтальный опорный элемент и вертикальный опорный элемент образуют единый конструктивный узел.
Особое значение в данном случае имеет то, что предусмотрена возможность жестко соединить U-образный опорный элемент с выполненным в виде угловой балки упором.
В соответствии с настоящим изобретением предпочтительно, чтобы укосина была связана с первой вертикальной стойкой посредством верхнего крепления в верхней части стойки.
Далее, к преимуществам конструкции относится то, что на креплениях и/или вертикальных стойках предусмотрено, по меньшей мере, одно соединительное звено, служащее опорой для проходящих горизонтально, почти горизонтально или под наклоном остальных перекладин, и/или плит основания.
Дополнительное преимущество заключено в том, что соединительные звенья выполнены с возможностью установки на вертикальные стойки в разных местах с креплением к стойкам с помощью стопорных элементов (болтов).
Далее, к преимуществам данной конструкции согласно настоящему изобретению относится то, что опорные элементы частично выполнены в виде трубчатых элементов, а частично – в виде угловых, L-образных или U-образных элементов.
Кроме того, преимуществом данной конструкции является то, что опорные элементы выполнены с возможностью шарнирного соединения между собой.
Наконец, ширина и/или длина рабочей площадки или плиты основания допускают их поворот в дверном проеме.
Дополнительные преимущества и признаки изобретения раскрыты в формуле изобретения и последующем описании и показаны на чертежах.
КРАТКОЕ ОПИСАНИЕ РИСУНКОВ
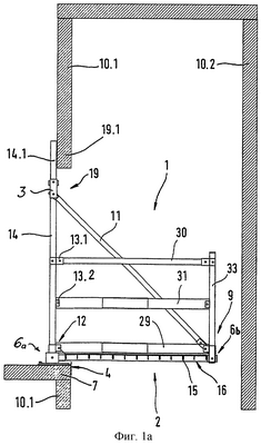
На Фиг.1а схематично изображены рабочие подмости, предназначенные для шахт лифтов или для установки в проемах стен зданий.
На Фиг.1b изображены поворотные рабочие подмости в различных положениях.
На Фиг.2 изображен еще один пример конструкции сдвоенных рабочих подмостей со вторым помостом, закрепленным сверху подмостей.
На Фиг.3 и 4 изображены различные приспособления для соединения стоек рабочих подмостей.
Под номером 1 на чертежах обозначено устройство для установки и/или перемещения рабочей площадки 2, устанавливаемое и закрепляемое либо между двумя противоположными стенами 10.1 и 10.2 шахты лифта, либо просто в отверстии в вертикальной стене, в области дверного порога 7. Устройство 1 для установки рабочей площадки 2 имеет основание в виде упора 4, выполненного в данном примере в форме угловой балки. Упор/угловую балку 4 устанавливают на угловую кромку стены 10.1 или дверного порога 7. Таким образом, упор служит опорой для всего устройства 1, предназначенного для установки и/или перемещения рабочей площадки 2. С упором/угловой балкой 4 жестко соединено первое крепление 12.
Как показано на фиг.4, первое крепление 12 включает горизонтальный опорный элемент 12.1, имеющий сечение U-образной формы. В U-образный опорный элемент 12.1 крепления 12 вставлен горизонтальный опорный элемент 12.2, выполненный в виде квадратной или прямоугольной трубы. Опорный элемент 12.2 либо соединен с вертикальным опорным элементом 12.3, либо приварен к стенкам опорного элемента 12.3, выполненного в виде трубы квадратного или прямоугольного сечения. В горизонтальный элемент 12.2 первого крепления 12 вставлена и закреплена горизонтальная поперечная балка 16. В боковинах U-образного опорного элемента 12.1 может быть предусмотрено, по меньшей мере, одно отверстие 24 для болта 23, проходящего через отверстия (на чертеже не показанные), выполненные в горизонтальном опорном элементе 12.2, поперечной балке 16 и вертикальном опорном элементе 12.3. Существует возможность выполнения в боковинах U-образного опорного элемента 12.1 и/или в поперечной балке 16 нескольких соседних отверстий, позволяющих передвигать поперечную балку 16 вдоль упора 4 в горизонтальном направлении для ее регулировки в зависимости от условий, например, от ширины шахты между стенами 10.1 и 10.2, как показано на фиг.1а и 1b.
Расположенный сбоку от поперечной балки 16 вертикальный опорный элемент 12.3 может служить опорой для нижнего конца первой вертикальной стойки 14. Первая вертикальная стойка 14 также может быть зафиксирована с помощью вышеупомянутого болта 23. Первая вертикальная стойка 14 может быть выполнена в виде простой трубы прямоугольного сечения или телескопической трубы, чтобы длину стойки 14 можно менять и регулировать согласно различным рабочим условиям.
Как было упомянуто выше, первое крепление 12 жестко или посредством резьбового разъемного соединения (на чертеже не показанного) соединено с угловой балкой 4. На фиг.4 изображено только правое крепление 12. Однако для рабочей площадки 2 необходимы, по меньшей мере, два одинаковых первых крепления 12, расположенные на некотором расстоянии друг от друга в направлении, перпендикулярном плоскости чертежа, с соответствующей поперечной балкой 16 для каждого крепления. Плита основания 15, наглядно показанная на фиг.1а и 1b, лежит на двух поперечных балках 16, расположенных на некотором расстоянии друг от друга. Плита может быть прикреплена к указанным балкам. Первое крепление 12, находящееся позади в направлении, перпендикулярном плоскости чертежа, а также соответствующая поперечная балка 16 на чертеже не показаны. Плита основания 15 образует рабочую площадку 2, предоставляющую возможность свободного перемещения по ней.
Упор 4 закреплен с первой стороны 6а рабочей площадки 2. На противоположной стороне 6b, расположенной напротив упора 4, рабочей площадки 2 находится второе крепление 9. Это крепление более подробно изображено на фиг.3 и 4. Второе крепление 9 служит для жесткого или шарнирного присоединения к нему одного конца укосины 11 с помощью болта или шарнирного соединения 20, другой конец укосины 11, также с помощью шарнирного соединения или болта 21, соединен с расположенным выше еще одним креплением 3. Согласно фиг.2 и 4 верхнее крепление 3 жестко соединено с первой вертикальной стойкой 14 с возможностью перемещения по высоте.
Как показано на фиг.3 и 4, второе крепление 9 состоит из вертикального опорного элемента 26 и горизонтального опорного элемента 17, которые также могут быть выполнены в виде труб прямоугольного сечения. На опорный элемент 26 опирается вторая вертикальная стойка 33, а на опорный элемент 17 – горизонтальная поперечная балка 16. Показанные подробно на фиг.1а и 2 поперечная балка 16 и вторая вертикальная стойка 33, могут быть зафиксированы посредством болтов 23, как показано на фиг.4.
К опорному элементу 26 примыкает наклонно расположенный держатель 18, имеющий в поперечном сечении U-образный профиль. В держатель 18 вставлен нижний конец укосины 11, фиксируемый болтом 20. В держателе 18 и/или укосине 11 могут быть выполнены несколько расположенных рядом отверстий, обеспечивающие различные положения установки стопорного болта 20 и позволяющие менять место фиксации укосины 11. Другой, то есть верхний конец укосины 11, вставляют в наклонно расположенный держатель 18.1 и фиксируют стопорным болтом 21. Оба держателя 18 и 18.1, образующие с вертикалью и горизонталью углы в 45°, могут быть соединены с горизонтальным опорным элементом 17 и вертикальным опорным элементом 26 с возможностью изменения угла наклона держателей 18.1 и 18 относительно горизонтали.
Два крепления 9 и 12 установлены с двух сторон рабочей площадки 2, которая в примере, показанном на фиг.1, 1b и 2, имеет прямоугольную форму. В этом примере присутствуют две вертикальные стойки 14 и 33 с присоединенной укосиной 11. Вертикальные стойки 14 и 33 расположены на некотором расстоянии друг от друга, причем вторая вертикальная стойка 33 установлена со второй стороны 6b на плите основания 15. Между стойками 14 и 33 расположены горизонтальная поперечная балка 16, служащая опорой для плиты основания 15, и перекладины 29, 30 и 31 или 34.2, 35 и 36, как показано на фиг.2, а также поперечная балка 34, служащая опорой для еще одной плиты основания 39. Согласно фиг.1а концы перекладин 30 и 31 установлены в соединительных звеньях 13.1 и 13.2. Соединительные звенья 13.1 и 13.2, как показано на примере соединительного звена 13.3 на фиг.4, присоединены к различным креплениям 12 и 9 или, как показано на фиг.2, непосредственно к вертикальным стойкам 14 и 33.
Соединительные звенья вместе с креплением 5 также могут быть посажены на вертикальные стойки 14 и 33. Соединительные звенья 13.1 и 13.2, как было упомянуто выше и показано на фиг.1а, служат опорами для горизонтальных перекладин 30 и 31. Согласно фиг.2 перекладина 34.2 соединена с соединительным звеном 13.4, установленным непосредственно на креплении 5. Перекладины 29-31 и 34.2-36 вместе с соединительными звеньями 13.1-13.4 и поперечными балками 16 и 34 могут быть зафиксированы болтами (на чертеже не показанными), причем перекладина 36 может быть выполнена в виде поручня.
Перекладины 29-31 и 34.2-36, во-первых, ограничивают с боков рабочие площадки 2 и 2′ и служат для обеспечения безопасности находящихся на площадках 2 и 2′ людей. Во-вторых, поперечные балки 16 и 34 также служат опорами для плит основания 15, монтируемых в зависимости от рабочих условий на различной высоте. Это сделано для того, чтобы по мере продвижения строительства иметь возможность перемещения вверх и работы на разных уровнях при использовании одной или нескольких рабочих площадок 2 и 2′.
Показанная на фиг.2 конструкция содержит дополнительную вертикальную стойку 14.2 и заднюю стойку 37, причем нижний конец вертикальной стойки 14.2 посредством соединительного устройства может быть соединен с использованием жесткого или разъемного соединения с поперечной балкой 34. Вертикальная стойка 14.2 также имеет соединительные звенья с установленными перекладинами 35, 34.2 и 36. Это позволяет получить две различные рабочие площадки, расположенные на разных уровнях. На верхнюю площадку 2′ или плиту основания 39 можно попасть по лестнице 38, устанавливаемой в области нижней рабочей площадки 2.
Вертикальные стойки 14 и/или 14.2 сконструированы таким образом, что они способны воспринимать весь вес одной или нескольких рабочих площадок 2 и всех их элементов. Для этого, как было упомянуто выше, нижняя часть стойки 14 опирается на фрагмент стены 10.1, а верхняя часть 14.1 – на внутреннюю сторону 40 дверной перемычки 19.1 дверного проема 19. Дверная перемычка 19.1 принимает на себя весь опрокидывающий момент рабочей площадки 2. Остальные элементы рабочей площадки 2 удерживаются лишь двумя расположенными по бокам укосинами 11. Дополнительные несущие элементы не требуются.
Поперечная балка 16, а также перекладины 29-31 и 34-36 также могут быть выполнены с возможностью изменения их длины. Это позволяет, например, увеличивать рабочую зону площадки 2 или подгонять площадку 2 под размеры шахты, которая на чертеже не показана.
СПИСОК ОБОЗНАЧЕНИЙ
1 устройство
2 рабочая площадка
2′ рабочая площадка
3 верхнее крепление
4 упор, угловая балка
5 крепление
6а первая сторона рабочей площадки
6b вторая сторона рабочей площадки
7 опора, стена, дверной порог
9 второе крепление
10.1 стена шахты лифта
10.2 стена шахты лифта
11 укосина
12 первое крепление
12.1 U-образный опорный элемент
12.2 горизонтальный опорный элемент
12.3 вертикальный опорный элемент
13.1 соединительное звено
13.2 соединительное звено
13.3 соединительное звено
13.4 соединительное звено
14 первая вертикальная стойка, стойка
14.1 верхняя часть стойки
14.2 вертикальная стойка
15 плита основания
16 поперечная балка
17 горизонтальный опорный элемент
18 держатель
18.1 держатель
19 дверной проем
19.1 дверная перемычка
20 шарнирное соединение, стопорный болт
21 шарнирный болт, стопорный болт
23 болт, стопорная деталь
24 отверстие
26 вертикальный опорный элемент
29 перекладина
30 перекладина
31 перекладина
33 вторая вертикальная стойка, стойка
34 поперечная балка
34.2 перекладина
35 перекладина
36 перекладина
37 задняя стойка
38 лестница
39 плита основания
40 внутренняя сторона
Формула изобретения
1. Рабочие подмости, представляющие собой приспособление (1) для установки и/или перемещения рабочей площадки (2), включающее упор (4), несущий на себе все устройство (1) с присоединенной к нему посредством первого крепления (12) рабочей площадкой (2), выполненной с возможностью опираться на опору (7) или стену (10.1) посредством первого крепления (12) в области первой стороны (6а) и соединенной с помощью первого крепления (12) с первой вертикальной стойкой (14), расположенной, по существу, под прямым углом к поперечной балке (16) рабочей площадки (2), имеющей второе крепление (9), создающее опору для рабочей площадки (2) со второй стороны (6b), расположенной напротив первой стороны (6а), причем второе крепление (9) соединено с укосиной (11), один конец которой жестко и/или шарнирно соединен с рабочей площадкой (2), а второй конец – с первой вертикальной стойкой (14), и имеющее возможность размещения на рабочей площадке (2) параллельно первой вертикальной стойке (14) и на некотором расстоянии от нее, по меньшей мере, еще одной второй вертикальной стойки (33), служащей в качестве опоры для одной или нескольких перекладин (30), отличающиеся тем, что соединенные посредством укосины поперечная балка (16) рабочей площадки (2) и вертикальная стойка (14) опираются с помощью первого крепления (12) на упор (4) и выполнены с возможностью поворота вокруг общего болта (23).
2. Рабочие подмости по п.1, отличающиеся тем, что поперечная балка (16) и первая вертикальная стойка (14) выполнены с возможностью установки в первом креплении (12) и фиксации с помощью болта (23).
3. Рабочие подмости по п.2, отличающиеся тем, что рабочая площадка (2) образована поперечной балкой (16) и опирающейся на поперечную балку (16) плитой основания (15), причем поперечная балка (16) посредством второго крепления (9) соединена с укосиной (11).
4. Рабочие подмости по п.3, отличающиеся тем, что укосина (11) подвижно соединена с помощью шарнирного соединения (20) со вторым креплением (9).
5. Рабочие подмости по п.4, отличающиеся тем, что первая вертикальная стойка (14) посредством трех, по существу, горизонтальных перекладин (29, 30 и 31) соединена со второй вертикальной стойкой (33).
6. Рабочие подмости по п.5, отличающиеся тем, что над рабочей площадкой (2) предусмотрена вторая рабочая площадка (2′) с плитой основания (39), соединенная посредством поперечной балки (34) с первой вертикальной стойкой (14) и второй вертикальной стойкой (33).
7. Рабочие подмости по п.6, отличающиеся тем, что ко второй рабочей площадке (2′) присоединены вертикальная стойка (14.2) и вертикально расположенная задняя стойка (37), причем вертикальная стойка (14.2) прикреплена к поперечной балке (34), а задняя стойка (37) вставлена во вторую вертикальную стойку (33).
8. Рабочие подмости по п.7, отличающиеся тем, что вертикальная стойка (14.2) и задняя стойка (37) соединены посредством трех, по существу, горизонтальных перекладин (34.2, 35 и 36).
9. Рабочие подмости по п.8, отличающиеся тем, что в рабочей площадке (2′) выполнено отверстие для прохода и лестницы (38).
10. Рабочие подмости по п.1, отличающиеся тем, что первая вертикальная стойка (14) служит опорой для всей рабочей площадки (2).
11. Рабочие подмости по п.1, отличающиеся тем, что упор (4) представляет собой угловую балку, выполненную с возможностью опираться на угол стены (10.1) или дверной порог (7).
12. Рабочие подмости по любому из пп.1-10, отличающиеся тем, что первое крепление (12) включает вертикально расположенный опорный элемент (12.3), служащий опорой с захватом первой вертикальной стойки (14) и/или горизонтальный второй опорный элемент (12.2), служащий опорой для горизонтальной поперечной балки (16), соединяемой с плитой основания (15), а также U-образный опорный элемент (12.1) для установки вертикального и горизонтального опорных элементов (12.2 и 12.3).
13. Рабочие подмости по п.12, отличающиеся тем, что, по меньшей мере, горизонтальный опорный элемент (12.2) и вертикальный опорный элемент (12.3) образуют единый конструктивный узел.
14. Рабочие подмости по п.10, отличающиеся тем, что U-образный опорный элемент (12.1) жестко соединен с выполненным в виде угловой балки упором (4).
15. Рабочие подмости по любому из пп.1-10, отличающиеся тем, что укосина (11) соединена с первой вертикальной стойкой (14) в ее верхней части посредством крепления (3).
16. Рабочие подмости по любому из пп.1-10, отличающиеся тем, что на креплениях (12 и 9) и/или вертикальных стойках (14 и 33) предусмотрено, по меньшей мере, по одному соединительному звену (13.1, 13.2 и 13.3), служащему в качестве опоры для горизонтальных, почти горизонтальных или наклонных перекладин (30) и/или плит основания.
17. Рабочие подмости по п.16, отличающиеся тем, что соединительные звенья (13.1 и 13.2) установлены на вертикальных стойках (14 и 33) с помощью стопорных элементов или болтов (23) с возможностью переустановки и фиксации в различных местах на вертикальных стойках (14 и 33).
18. Рабочие подмости по любому из пп.1-10, отличающиеся тем, что рабочая площадка (2) или плита основания (15) имеют такую ширину и/или длину, что возможен их поворот через дверной проем (19).
РИСУНКИ
|