|
|
(21), (22) Заявка: 2004113609/03, 05.05.2004
(24) Дата начала отсчета срока действия патента:
05.05.2004
(43) Дата публикации заявки: 27.10.2005
(46) Опубликовано: 27.01.2007
(56) Список документов, цитированных в отчете о поиске:
ЕР 0413063 А1, 20.02.1991. RU 32982 U1, 10.10.2003. US 5809583 A, 22.09.1998. WO 97/38176 А1, 16.10.1997. DE 3541489 А1, 21.08.1986. WO 03/016642 А1, 27.02.2003. FR 2784885 А1, 28.04.2000. US 5553334 A, 10.09.1996.
Адрес для переписки:
105173, Московская обл., Балашихинский р-он, с.Щитниково, 9, стр.1, Г.О.Багмаджяну
|
(72) Автор(ы):
Багмаджян Григорий Оганесович (RU)
(73) Патентообладатель(и):
Багмаджян Григорий Оганесович (RU)
|
(54) УСТРОЙСТВО ТУАЛЕТА С ЕСТЕСТВЕННОЙ ПОЗОЙ ЧЕЛОВЕКА ПРИ АКТЕ ДЕФЕКАЦИИ
(57) Реферат:
Изобретение относится к области медицинской техники и санитарно-техническому оборудованию, а именно к туалету с унитазом, конструкция которого позволяет принять человеку естественную позу при акте дефекации. Устройство туалета состоит из унитаза для дефекации при естественной позе человека, крышки унитаза, подножки для ног и резервуара для смыва воды в унитазе, при этом в унитазе, имеющем переднюю и заднюю части, кромка верхнего отверстия в передней части приподнята, а размеры унитаза выбраны из следующих соотношений: Н=(1,1-1,5)Н’, где Н – минимальное расстояние от поверхности подножки для ног до поверхности кромки верхнего отверстия унитаза, Н’ – средняя статистическая высота от выхода анального отверстия до поверхности расположения ног при естественной физиологической позе акта дефекации; L=(2,0-2,5)W, где L – длина верхнего отверстия унитаза, W – ширина верхнего отверстия унитаза; Lв=(1,05-1,2)L, где Lв – длина верхнего отверстия унитаза по внешней кромке; Wв=(1,05-1,4)W, где Wв – ширина верхнего отверстия унитаза по внешней кромке; h=(0,4-0,6)H, где h – глубина профиля кромки верхнего отверстия унитаза. Технический результат: создание конструкции унитаза, позволяющей принять человеку позу при акте дефекации, которая максимально приближена к естественному физиологическому и оздоровительному положению тела человека во время акта дефекации, с проведением профилактического массажа ряда участков тела. 6 з.п. ф-лы, 5 ил.
Изобретение относится к области медицинской физиотерапии и санитарно-техническому оборудованию и может быть использовано при создании туалета с унитазом для осуществления позы, которая максимально приближена к естественному физиологическому и оздоровительному положению тела человека во время акта дефекации, то есть на корточках, с проведением профилактического массажа ряда участков тела.
Известен туалет, в котором поза для акта физиологической дефекации осуществляется при помощи унитаза, и в унитазе имеется покрытие для защиты пользователя от инфекции [1]. Основной недостаток данного туалета в том, что создаваемая унитазом поза человека отличается от естественной позы, что со временем приводит к травме выхода прямой кишки и органов брюшной полости.
Известен туалет, в котором для удобства эксплуатации крышка унитаза поднимается при помощи двигателя [2]. Однако в этом случае не создается естественная поза человека при акте дефекации.
Наиболее близким туалетом того же назначения к заявленному изобретению по совокупности признаков является устройство туалета, предназначенного для облегчения акта дефекации [3]. Это устройство туалета состоит из унитаза для дефекации при естественной позе человека, подножки для ног и резервуара для смыва воды в унитазе, имеющего переднюю и заднюю части. К основной причине, препятствующей достижению требуемого результата при использовании данного туалета, относится то, что унитаз с предложенным профилем поверхности верхнего отверстия и подножкой для ног, на которой ноги расположены противоположно тому положению, которое они принимают при естественной позиции человека во время акта дефекации, не позволяет осуществлять естественную позу человека при акте дефекации.
Сущность изобретения заключается в следующем.
Заявленное изобретение решает задачу осуществления максимального приближения к физиологическому и оздоровительному положению тела человека во время акта дефекации с учетом цивилизованных потребностей.
При осуществлении изобретения может быть получен технический результат, а именно при акте дефекации создается поза человека, которая независимо от возраста является исторически и физиологически естественной. При этой позе человека происходят попутно оздоровительно-лечебные эффекты в виде естественного профилактического массажа за счет создания естественного физиологического давления в брюшной полости, малом тазе и на мышцы, а также улучшается функциональная работа суставов нижних конечностей и мышц.
Указанный технический результат достигается за счет того, что в устройстве туалета, состоящем из унитаза для дефекации при естественной позе человека, крышки унитаза, подножки для ног и резервуара для смыва воды в унитазе, унитаз имеет переднюю и заднюю части, кромка верхнего отверстия в передней части приподнята, а размеры унитаза выбраны из следующих соотношений:
Н=(1,1-1,5)Н’,
где Н – минимальное расстояние от поверхности подножки для ног до поверхности кромки верхнего отверстия унитаза, Н’ – средняя статистическая высота от выхода анального отверстия до поверхности расположения ног при естественной физиологической позе акта дефекации;
L=(2,0-2,5)W,
где L – длина верхнего отверстия унитаза, W – ширина верхнего отверстия унитаза;
Lв=(1,05-1,2)L,
где Lв – длина верхнего отверстия унитаза по внешней кромке, L – длина верхнего отверстия унитаза;
Wв=(1,05-1,4)W,
где Wв – ширина верхнего отверстия унитаза по внешней кромке, W – ширина верхнего отверстия унитаза;
h=(0,4-0,6)Н,
где h – глубина профиля кромки верхнего отверстия унитаза, Н – минимальное расстояние от поверхности подножки для ног до поверхности кромки верхнего отверстия унитаза.
Унитаз и подножка для ног могут быть выполнены как единое целое, из одного материала, общей высотой, выбранной из соотношения:
А=(2,3-3,0)Н,
где А – общая высота унитаза, Н – минимальное расстояние от поверхности подножки для ног до поверхности кромки верхнего отверстия унитаза, при этом размеры подножки для ног выбраны из следующих соотношений:
Т=(1,0-1,25)Н,
где Т – высота подножки для ног, Н – минимальное расстояние от поверхности подножки для ног до поверхности кромки верхнего отверстия унитаза;
С=(2,0-2,5)W,
где С – ширина подножки для ног относительно передней части унитаза, W – ширина верхнего отверстия унитаза.
В предпочтительном варианте выполнения устройства передняя часть подножки для ног по горизонтали расположена на расстоянии относительно начала кромки верхнего отверстия унитаза, выбранном из соотношения:
В=(0,2-0,4)А,
где В – расстояние по горизонтали от передней части подножки для ног до начала кромки верхнего отверстия унитаза, А – общая высота унитаза.
Подножка для ног может быть размещена вокруг унитаза и выполнена в виде прямоугольника или полуовала.
По предпочтительному варианту крышка унитаза выполнена в соответствии с профилем поверхности кромки верхнего отверстия унитаза. При этом по одному из вариантов внутренняя сторона крышки унитаза выполнена в соответствии с профилем поверхности кромки верхнего отверстия унитаза, а внешняя сторона – плоской. По другому варианту крышка унитаза выполнена из двух отдельных частей, при этом одна часть крышки выполнена в соответствии с профилем поверхности кромки верхнего отверстия унитаза, а вторая часть крышки – плоской.
Предложенный в туалете унитаз с кривизной профиля поверхности кромки верхнего отверстия в передней части унитаза, которая выполнена в соответствии с кривизной конфигурации поверхности вдоль больших ягодичных мышц при естественной позе акта дефекации в природе, который осуществляется в условиях минимального расстояния от поверхности расположения ног до выхода анального отверстия, а в унитазе на этом расстоянии расположена поверхность подножки для ног, совместно с выбранными размерами частей унитаза позволяет осуществить естественную позу человека при акте дефекации, при которой создаются условия, обеспечивающие достижение оздоровительных и лечебных эффектов.
Заявитель провел дополнительный поиск известных решений с целью выявления признаков, совпадающих с отличительными признаками устройства туалета для создания естественной позы человека при акте дефекации в заявленном изобретении. Результаты показывают, что заявленное изобретение не следует из известного уровня техники, так как не выявлены технические решения, содержащие унитаз, при пользовании которым анальное отверстие располагалось бы на минимальном расстоянии до поверхности расположения ног, и это расстояние позволяет осуществлять голеностопными суставами регулировку естественного физиологического давления в брюшной полости и малом тазе, а унитаз имеет овальное верхнее отверстие, кромка поверхности которого сформирована в соответствии с кривизной профиля изгиба бедра, что вместе с подножкой для ног в соответствии с предложенными размерами позволяет создавать естественную физиологическую позу человека при акте дефекации, что облегчает сам процесс дефекации, и проводить естественную оздоровительно-лечебную процедуру.
Сведения, подтверждающие возможность осуществления заявленного изобретения с получением вышеуказанного технического результата, заключаются в следующем.
Поясняющие заявленное изобретение материалы представлены на чертежах.
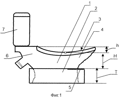
На фиг.1 показан вариант конструкции туалета с унитазом, съемной подножкой для ног и резервуаром для смыва воды в унитазе.
На фиг.2 показан вариант конструкции туалета с унитазом, выполненным с подножкой для ног как одно целое, с предложенными размерами.
На фиг.3 условно показан туалет с унитазом, на котором поза человека аналогична естественной физиологической позе при акте дефекации.
На фиг.4 показан вид сверху одного из вариантов туалета, в котором унитаз выполнен с подножкой для ног как одно целое.
На фиг.5 показан вид спереди конструкции унитаза, который выполнен с подножкой для ног как одно целое.
Конструкция туалета на фиг.1 содержит унитаз 1 со съемной подножкой для ног 2, унитаз 1 имеет кромку овального верхнего отверстия 3 с кривизной профиля поверхности, которая соответствует по кривизне конфигурации поверхности вдоль больших ягодичных мышц при естественной позе изгиба бедра и с глубиной h профиля кромки верхнего отверстия унитаза, а сам унитаз 1 состоит из передней части 4 и задней части 6. На поверхности съемной подножки для ног 2 указано место расположения ног 5. Поверхность подножки расположена на минимальном расстоянии Н относительно поверхности кромки верхнего отверстия унитаза. Минимальное расстояние Н выбрано с учетом средней статистической высоты H’ от выхода анального отверстия до поверхности расположения ног при естественной физиологической позе акта дефекации на подножке для ног с высотой Т. Расчет Н’ производится на базе среднего статистического роста человека, например, для роста от 1 м 70 см до 1 м 75 см высота Н’ имеет величины от 140 мм до 150 мм.
На задней части 6 унитаза расположен резервуар 7 для смыва воды. Унитаз с высотой А на фиг.2 выполнен с подножкой для ног 2 как единое целое с указанными размерами в соответствии с предложенными соотношениями. Передняя часть подножки для ног расположена на расстоянии В по горизонтали до начала кромки верного отверстия 3 унитаза. Данное расположение подножки для ног 2 повышает удобство использования туалета.
На фиг.3 показана поза человека, аналогичная естественной физиологической позе при акте дефекации. Из этого рисунка видно также, что предлагаемый унитаз позволяет реализовать условия, при которых осуществляется естественное физиологическое давление в брюшной полости и малом тазе.
На фиг.4 показан вид сверху одного из вариантов туалета с размерами, в котором унитаз выполнен как одно целое с подножкой 2 для ног, кромка верхнего отверстия 3 имеет форму овала с внутренними размерами L, W и внешними размерами Lв, Wв, а поверхность подножки для ног 2 относительно края поверхности задней части 6 унитаза имеет форму в виде полуовала. Практически форма края поверхности подножки 2 может быть различной.
На фиг.5 показана конструкция унитаза спереди с размерами, который выполнен с подножкой для ног как одно целое, где С – ширина подножки для ног относительно передней части унитаза, а W – ширина верхнего отверстия унитаза.
Предлагаемый туалет позволяет человеку принять позу при дефекации, совпадающую с естественной позой, в которой давление бедер на область живота приводит к естественному давлению на органы брюшины и диафрагму, что можно рассматривать как естественный самомассаж, регулирующий обменные процессы в организме, исключающие застойные явления, а полное сгибание всех суставов нижних конечностей, выполняемое хотя бы один раз в сутки, является также и оздоровительным упражнением, позволяющим регулировать состояние суставов. Кроме этого, в процессе активно участвуют мышцы спины и нижних конечностей, а кишечник в создаваемой позе значительно легче работает, улучшается перистальтика кишок. Прямая кишка занимает естественное положение, что облегчает акт дефекации. Предложенный унитаз удобен для людей любого возраста, включая детей и пожилых людей.
Устройство туалета в соответствии с указанными соотношениями может иметь следующие размеры:
Н=150 мм, L=370 мм, W=170 мм, Lв=420 мм, Wв=220 мм, h=70 мм, А=370 мм, Т=150 мм, С=340 мм, В=80 мм, Н’=125 мм.
Таким образом, вышеизложенные сведения свидетельствуют о выполнении при использовании заявленного изобретения следующей совокупности условий:
– средство, воплощающее заявленное изобретение при его осуществлении, предназначено для создания санитарно-технического оборудования;
– для заявленного изобретения в том виде, как оно охарактеризовано в независимом пункте формулы изобретения, подтверждена возможность его осуществления при помощи изложенных в заявке или известных до даты приоритета средств и методов;
– средство, воплощающее заявленное изобретение при его осуществлении, способно обеспечить достижение усматриваемого заявителем технического результата.
Источники информации
1. Заявка на патент US 2002/0184701, кл. А 47 К 13/14, 12.12.2002.
2. Заявка на патент US 2004/0060104, кл. А 47 К 1/00, 01.04.2004.
3. Патент US 5553334, кл. E 03 D 11/02, 10.09.1996.
Формула изобретения
1. Устройство туалета, состоящее из унитаза для дефекации при естественной позе человека, крышки унитаза, подножки для ног и резервуара для смыва воды в унитазе, при этом в унитазе, имеющем переднюю и заднюю части, кромка верхнего отверстия в передней части приподнята, а размеры унитаза выбраны из следующих соотношений:
Н=(1,1-1,5)Н’,
где Н – минимальное расстояние от поверхности подножки для ног до поверхности кромки верхнего отверстия унитаза, Н’ – средняя статистическая высота от выхода анального отверстия до поверхности расположения ног при естественной физиологической позе акта дефекации;
L=(2,0-2,5)W,
где L – длина верхнего отверстия унитаза, W – ширина верхнего отверстия унитаза;
Lв=(1,05-1,2)L,
где Lв – длина верхнего отверстия унитаза по внешней кромке, L – длина верхнего отверстия унитаза;
Wв=(1,05-1,4)W,
где Wв – ширина верхнего отверстия унитаза по внешней кромке, W – ширина верхнего отверстия унитаза;
h=(0,4-0,6)Н,
где h – глубина профиля кромки верхнего отверстия унитаза, Н – минимальное расстояние от поверхности подножки для ног до поверхности кромки верхнего отверстия унитаза.
2. Устройство туалета по п.1, отличающееся тем, что унитаз и подножка для ног выполнены как единое целое, из одного материала, общей высотой, выбранной из соотношения:
А=(2,3-3,0)Н,
где А – общая высота унитаза, Н – минимальное расстояние от поверхности подножки для ног до поверхности кромки верхнего отверстия унитаза, при этом размеры подножки для ног выбраны из следующих соотношений:
Т=(1,0-1,25)Н,
где Т – высота подножки для ног, Н – минимальное расстояние от поверхности подножки для ног до поверхности кромки верхнего отверстия унитаза;
С=(2,0-2,5)W,
где С – ширина подножки для ног относительно передней части унитаза, W – ширина верхнего отверстия унитаза.
3. Устройство туалета по п.1 или 2, отличающееся тем, что передняя часть подножки для ног по горизонтали расположена на расстоянии относительно начала кромки верхнего отверстия унитаза, выбранном из соотношения:
В=(0,2-0,4)А,
где В – расстояние по горизонтали от передней части подножки для ног до начала кромки верхнего отверстия унитаза, А – общая высота унитаза.
4. Устройство туалета по п.1 или 2, отличающееся тем, что подножка для ног размещена вокруг унитаза и выполнена в виде прямоугольника или полуовала.
5. Устройство туалета по п.1 или 2, отличающееся тем, что крышка унитаза выполнена в соответствии с профилем поверхности кромки верхнего отверстия унитаза.
6. Устройство туалета по п.1 или 2, отличающееся тем, что внутренняя сторона крышки унитаза выполнена в соответствии с профилем поверхности кромки верхнего отверстия унитаза, а внешняя сторона – плоской.
7. Устройство туалета по п.1 или 2, отличающееся тем, что крышка унитаза выполнена из двух отдельных частей, при этом одна часть крышки выполнена в соответствии с профилем поверхности кромки верхнего отверстия унитаза, а вторая часть крышки – плоской.
РИСУНКИ
MM4A – Досрочное прекращение действия патента СССР или патента Российской Федерации на изобретение из-за неуплаты в установленный срок пошлины за поддержание патента в силе
Дата прекращения действия патента: 06.05.2007
Извещение опубликовано: 27.07.2008 БИ: 21/2008
|
|