|
|
(21), (22) Заявка: 2004133049/03, 11.04.2003
(24) Дата начала отсчета срока действия патента:
11.04.2003
(30) Конвенционный приоритет:
11.04.2002 (пп.1-4) TR 2002/00994
(43) Дата публикации заявки: 20.04.2005
(46) Опубликовано: 27.01.2007
(56) Список документов, цитированных в отчете о поиске:
DE 19752069 A1, 10.06.1999. US 5325544 А, 05.07.1994. GB 2237825 А, 15.05.1991. US 4442555 А, 17.04.1984. FR 2606804 A1, 20.05.1988.
(85) Дата перевода заявки PCT на национальную фазу:
11.11.2004
(86) Заявка PCT:
TR 03/00033 (11.04.2003)
(87) Публикация PCT:
WO 03/085214 (16.10.2003)
Адрес для переписки:
129010, Москва, ул. Б.Спасская, 25, стр.3, ООО “Юридическая фирма Городисский и Партнеры”, пат.пов. С.А.Дорофееву
|
(72) Автор(ы):
ЕР Осман (TR), АЛИС Камил (TR), ИЛЕРИЙЕ Пелин (TR), КОСИЙГИТ Озген (TR)
(73) Патентообладатель(и):
ЭКЗАКИБАСИ ЯПИ ГЕРЕКЛЕРИ САНАЙИ ВЕ ТИКАРЕТ А.С. (TR)
|
(54) СИСТЕМА УСТРАНЕНИЯ НЕПРИЯТНОГО ЗАПАХА ИЗ ТУАЛЕТА
(57) Реферат:
Изобретение относится к воздухоочистительной системе, устанавливаемой внутри туалетного бачка, содержащего трубу переполнения стандартного сливного механизма. Система очистки воздуха от неприятных запахов содержит воздушный вентилятор и фильтр очистки неприятных запахов, установленные в ящике, подключенном к каналу чистого воздуха и размещенном в туалетном бачке на фиксирующей трубе, имеющей разгрузочные отверстия и снабженной установленным на ней предохранительным поплавком, выполненным с возможностью закрывания разгрузочных отверстий во время высасывания неприятных запахов. Труба переполнения стандартного сливного механизма применяется как канал всасывания неприятных запахов, когда туалет используется, а так же, как канал спуска воды в унитаз, когда уровень воды внутри бачка туалета поднимается выше трубы переполнения. Изобретение позволяет упростить процесс монтажа воздухоочистительной системы и повысить эффективность ее работы. 3 з.п. ф-лы, 6 ил.
Настоящее изобретение имеет отношение к воздухоочистительной системе, устанавливаемой внутри туалетного бачка.
В унитазах используются различные дезодораторы или средства, выделяющие ароматы для уничтожения неприятного запаха. Дезодораторы имеют определенный срок службы и должны заменяться через регулярные промежутки времени. С другой стороны, для ароматизирующих средств требуется, чтобы пользователь заменял их дезодорирующие парфюмы или аналогичные растворы через регулярные промежутки времени. Ни один из методов, описанных выше, не удаляет неприятные запахи из окружающего воздуха. Они просто выделяют запахи, приятные для пользователей, так, чтобы они не чувствовали неприятных запахов.
Для решения этой проблемы были разработаны различные воздухоочистительные системы. Одна из систем, доступных на рынке, содержит вентилятор, который высасывает неприятный запах из унитаза и доставляет его в трубу отходов во время совершения пользователем своих отправлений. Для этой системы требуется вентилятор, установленный на стене. Другая система содержит вентилятор, который высасывает неприятный запах из унитаза во время совершения пользователем своих отправлений и доставляет его в колено, подключенное к сливному механизму, отфильтровывая неприятный запах и возвращая очищенный воздух в окружающее пространство. Известны две модели этой системы, первая из них устанавливается в ящике на стене, а вторая устанавливается внутри стены.
Тем не менее, ни одна из вышеупомянутых систем не является достаточно эффективной. Системы, установленные внутри стены, сложно монтировать, кроме того, к ним затруднен доступ для ремонта. Системы, размещенные в ящике, прикрепленном к стене, нежелательны из эстетических соображений и занимают пространство в ванной комнате.
Задачей настоящего изобретения является создание воздухоочистительной системы, устанавливаемой в туалетном бачке, которая решает вышеупомянутые и другие проблемы.
Поставленная задача достигается путем создания системы очистки воздуха от неприятных запахов, установленной в туалетном бачке, содержащем трубу переполнения стандартного сливного механизма, содержащей воздушный вентилятор и фильтр очистки неприятных запахов, установленные в ящике, подключенном к каналу чистого воздуха и размещенном в туалетном бачке на фиксирующей трубе, имеющей разгрузочные отверстия и снабженной установленным на ней предохранительным поплавком, выполненным с возможностью закрывания разгрузочных отверстий во время всасывания неприятных запахов.
Предпочтительно, фиксирующая труба расположена на трубе переполнения стандартного сливного механизма.
Целесообразно также выполнение предохранительного поплавка с возможностью выталкивания вверх поднимающейся водой и поднимающегося выше разгрузочных отверстий, когда вода в туалетном бачке поднимается выше уровня использования.
Кроме того, разгрузочные отверстия могут быть выполнены с возможностью пропускания воды в трубу переполнения для слива в унитаз, когда вода в туалетном бачке поднимается выше уровня использования.
Настоящее изобретение подробно описано ниже, со ссылками на чертежи, где
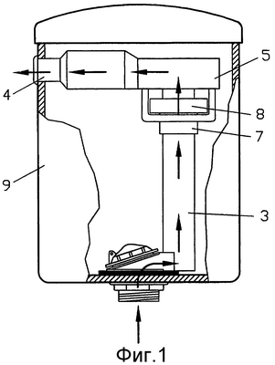
Фиг.1 – схематический чертеж ящика по настоящему изобретению, установленного в туалетном бачке.
Фиг.2 – схематический чертеж подвижного предохранительного поплавка по настоящему изобретению при неконтролируемом подъеме уровня воды в бачке.
Фиг.3 – схематический чертеж формата вентилятора и фильтра по настоящему изобретению, установленных в ящике.
Фиг.4 – схематический чертеж трубы для высасывания неприятных запахов по настоящему изобретению, соединенной с трубой переполнения стандартного сливного механизма.
Фиг.5 – схематический чертеж подвижного предохранительного поплавка трубы для высасывания неприятных запахов по настоящему изобретению, соединенной с трубой переполнения стандартного сливного механизма, при неконтролируемом подъеме уровня воды в бачке.
Фиг.6 – схематический чертеж настоящего изобретения, иллюстрирующий работу с различными иными сливными механизмами.
Когда пользователь сидит в туалете, сенсор с электронным контролем ощущает его и посылает сигнал на главное управляющее устройство. Главное управляющее устройство включает вентилятор. Вентилятор (1), установленный в ящике (5), высасывает неприятный запах из унитаза через трубу (3) переполнения стандартного сливного механизма. Таким образом, неприятный запах проходит через трубу (3) переполнения, проходит через фиксирующую трубу, расположенную между трубой (3) переполнения и ящиком (5), содержащим вентилятор (1) и фильтр (2), и достигает вентилятора (1). Пока система работает, подвижный предохранительный поплавок (8) закрывает разгрузочные отверстия (6) фиксирующей трубы (7) для предотвращения всасывания неприятных запахов изнутри туалетного бачка (9) и для обеспечения их всасывания только через трубу (3) переполнения (как показано на Фиг.1). Вентилятор (1), установленный в ящике (5), передает всосанные неприятные запахи в фильтр (2) внутри ящика (5). Пока неприятные запахи проходят через фильтр (2), их грязные и дурно пахнущие частицы улавливаются и удерживаются фильтром (2), и неприятный запах, таким образом, удаляется. Всосанный воздух, очищенный после прохождения через фильтр (2) внутри ящика (5), возвращается в окружающий воздух через канал чистого воздуха (4). Когда пользователь встает, сенсор с электронным контролем посылает сигнал для остановки системы и включения сливного механизма.
Когда уровень воды внутри туалетного бачка (9) поднимается выше уровня использования, подвижный предохранительный поплавок (8) выталкивается вверх поднимающейся водой выше разгрузочных отверстий (6) (как показано на Фиг.3), так что поднимающаяся вода проходит через разгрузочные отверстия (6), проходит через трубу переполнения (3) и сливается в унитаз. В этом случае второй сенсор с электронным контролем ощущает подъем уровня воды и посылает сигнал на главное управляющее устройство, которое выключает вентилятор (1) внутри ящика (5).
Другое приложение этой системы (как показано на Фиг.4) состоит в том, что вентилятор (1), установленный в ящике (5), высасывает неприятные запахи через трубу (3) переполнения стандартного сливного механизма унитаза, так что они проходят через канал (10) всасывания загрязненного воздуха, соединенный с трубой (3) переполнения и достигают ящика (5), содержащего вентилятор (1) и фильтр (2). В этом приложении подвижный предохранительный поплавок (8) закрывает трубу (3) переполнения стандартного сливного механизма.
В описанном выше приложении, когда уровень воды в туалетном бачке (9) поднимается выше уровня использования, подвижный предохранительный поплавок (8) выталкивается вверх поднимающейся водой, так что она поднимается выше трубы (3) переполнения, проходит через трубу (3) переполнения и сливается в унитаз (как показано на Фиг.5).
Как описано выше, эта система устранения неприятного запаха из туалета полностью удаляет неприятные запахи. Эта система также проста в установке и легко доступна для осмотра, благодаря тому, что она устанавливается в туалетном бачке.
Формула изобретения
1. Система очистки воздуха от неприятных запахов, установленная в туалетном бачке, содержащем трубу (3) переполнения стандартного сливного механизма, содержащая воздушный вентилятор (1) и фильтр (2) очистки неприятных запахов, установленные в ящике (5), подключенном к каналу чистого воздуха (4) и размещенном в туалетном бачке (9) на фиксирующей трубе, имеющей разгрузочные отверстия (6) и снабженной установленным на ней предохранительным поплавком (8), выполненным с возможностью закрывания разгрузочных отверстий (6) во время высасывания неприятных запахов.
2. Система по п.1, в которой фиксирующая труба расположена на трубе (3) переполнения стандартного сливного механизма.
3. Система по п.1, в которой предохранительный поплавок (8) выполнен с возможностью выталкивания вверх поднимающейся водой и поднимающийся выше разгрузочных отверстий (6), когда вода в туалетном бачке (9) поднимается выше уровня использования.
4. Система по п.1, в которой разгрузочные отверстия выполнены с возможностью пропускания воды в трубу (3) переполнения для слива в унитаз, когда вода в туалетном бачке (9) поднимается выше уровня использования.
РИСУНКИ
|
|