|
(21), (22) Заявка: 2004136900/03, 17.12.2004
(24) Дата начала отсчета срока действия патента:
17.12.2004
(30) Конвенционный приоритет:
23.12.2003 (пп.1-10) DE 10360910.5
(43) Дата публикации заявки: 27.05.2006
(46) Опубликовано: 27.01.2007
(56) Список документов, цитированных в отчете о поиске:
ЕР 0291027 А1, 17.11.1988. ЕР 1350893 В1, 08.10.2003. SU 1086152 A1, 15.04.1984. SU 1010217 A1, 07.04.1983. RU 2196203 C1, 10.01.2003. DE 3926976 А, 21.02.1991.
Адрес для переписки:
191186, Санкт-Петербург, а/я 230, “АРС-ПАТЕНТ”, пат.пов. В.М.Рыбакову, рег. № 90
|
(72) Автор(ы):
АРЦБЕРГЕР Максимилиан (DE), ЗЕЙТЛЕ Игнац Антон (DE), ХУБЕР Людвиг Андреа (DE)
(73) Патентообладатель(и):
БАУЭР МАШИНЕН ГМБХ (DE)
|
(54) ОТКИДНОЙ РЕЖУЩИЙ ЭЛЕМЕНТ ДЛЯ ФРЕЗЫ, ДИСКОВАЯ ФРЕЗА И ЩЕЛЕРЕЗНОЕ ФРЕЗЕРНОЕ УСТРОЙСТВО
(57) Реферат:
Изобретение относится к откидному режущему элементу для дисковой фрезы. Техническим результатом является создание откидного режущего элемента, который более прост в монтаже и лучше удерживается на дисковой фрезе, а также создание дисковой фрезы и щелерезного фрезерного устройства. Для этого откидной режущий элемент содержит поворотную опору для его установки с возможностью поворота на шарнирном пальце на ступице дисковой фрезы, держатель фрезерных зубьев, выступающий от поворотной опоры, и направляющий рычаг, выступающий по существу в противоположную сторону от держателя фрезерных зубьев, и гнездо для фрезерных зубьев. При этом держатель фрезерных зубьев и направляющий рычаг выполнены в виде единого несущего элемента, в котором для создания поворотной опоры образовано опорное отверстие. Причем в держателе фрезерных зубьев между поворотной опорой и гнездом для фрезерных зубьев выполнено сужение. Также предложены дисковая фреза и щелерезное фрезерное устройство. 4 н. и 6 з.п. ф-лы, 5 ил.
Область техники, к которой относится изобретение
Настоящее изобретение относится к откидному режущему элементу для дисковой фрезы, содержащему поворотную опору для его установки с возможностью поворота на шарнирном пальце на ступице дисковой фрезы, держатель фрезерных зубьев, выступающий от поворотной опоры, и направляющий рычаг, выступающий по существу в противоположную сторону от держателя фрезерных зубьев.
Уровень техники
Откидные режущие элементы такого типа известны из патентного документа ЕР 0291027 В1 данного заявителя. Во фрезерных устройствах для возведения в грунте изоляционных стен с дисковыми фрезами, расположенными по обе стороны от опорного щита, существует проблема в том, что область грунта непосредственно под опорным щитом не может прямо разрабатываться дисковыми фрезами. Поэтому в документе ЕР 0291027 В1 предложено на сторонах дисковых фрез, смежных с опорным щитом, устанавливать режущие элементы с возможностью откидывания. Посредством направляющего устройства кулачкового типа откидные режущие элементы могут откидываться в область под опорным щитом для разработки области грунта под ним, а при дальнейшем вращении дисковых фрез они вновь убираются, так что опорный щит не повреждается ими.
По условиям своей работы откидные режущие элементы из-за своего косого положения подвергаются значительно повышенным усилиям и нагрузкам, в особенности при разработке более твердого или скалистого грунта. Таким образом, известные откидные режущие элементы подвергаются очень интенсивному износу и, кроме того, могут преждевременно выходить из строя с необходимостью их замены. Замена откидных режущих элементов ведет не только к длительным простоям дорогостоящего оборудования, но и к повышенным затратам вследствие необходимости их монтажа с возможностью поворота и требуемой прочности на износ.
Сущность изобретения
Задача, на решение которой направлено настоящее изобретение, заключается в создании откидного режущего элемента, который более прост в монтаже и лучше удерживается на дисковой фрезе. Кроме того, задачей изобретения является создание дисковой фрезы и щелерезного фрезерного устройства.
В соответствии с изобретением решение поставленной задачи достигается за счет особенностей, изложенных в независимых пунктах формулы изобретения, при этом предпочтительные примеры выполнения защищены зависимыми пунктами формулы изобретения.
Откидной режущий элемент по изобретению содержит поворотную опору для его установки с возможностью поворота на шарнирном пальце на ступице дисковой фрезы, держатель фрезерных зубьев, выступающий от поворотной опоры, и направляющий рычаг, выступающий по существу в противоположную сторону от держателя фрезерных зубьев. Для решения поставленной задачи в заявляемом откидном режущем элементе поворотная опора, держатель фрезерных зубьев и направляющий рычаг выполнены в виде единого несущего элемента. При этом откидной режущий элемент может быть изготовлен литым или кованым, хотя предпочтительно он изготовлен из листа способом газовой резки. По сравнению с изготовлением в виде сварной конструкции выполнение заодно поворотной опоры и отдельных выступающих элементов откидного режущего элемента обеспечивает повышенную прочность при снижении затрат на изготовление.
Предпочтительный пример выполнения изобретения заключается в том, что в держателе фрезерных зубьев выполнено гнездо, в котором разъемно укреплены упрочненные фрезерные зубья. В выполненном как одно целое несущем элементе могут быть установлены фрезерные зубья из специально упрочненного материала для разрушения грунта. Для соединения с несущим элементом могут использоваться обычные крепежные средства и методы жесткого силового крепления.
Далее, согласно изобретению в держателе фрезерных зубьев между поворотной опорой и гнездом для фрезерных зубьев может быть выполнено сужение. Такое сужение обеспечивает улучшенную упругость держателя фрезерных зубьев, так что изгибающие нагрузки могут восприниматься в месте сужения, и поворотная опора освобождается от нагрузки. Кроме того, это сужение допускает также больший разворот откидного режущего элемента к опорному щиту.
В принципе поворотная опора может быть выполнена в виде единственного опорного отверстия, образованного в несущем элементе способом газовой резки или сверления. Однако для улучшения упругости поворотной опоры согласно изобретению предусмотрено, что поворотная опора содержит по меньшей мере две отстоящие друг от друга опорные стенки, снабженные соосными друг другу опорными отверстиями. Опорные стенки могут быть образованы путем выполнения паза в едином несущем элементе. Опорные отверстия могут быть выполнены также способом газовой резки или сверления.
Дальнейший предпочтительный пример выполнения заключается в том, что в области направляющего рычага расположен упорный элемент. Он служит для контакта направляющего рычага со ступицей дисковой фрезы, на которой установлен откидной режущий элемент. Этим упором ограничивается максимальный угол откидывания наружу к опорному щиту. Упорный элемент может быть изготовлен из материала высокой прочности на износ, так как при эксплуатации откидной режущий элемент передает на упорный элемент повышенное давление от сопротивления разрабатываемого грунта.
Дальнейшее решение указанных выше задач заключается в том, что на направляющем рычаге разъемно укреплена сменная изнашиваемая накладка. Изнашиваемая накладка служит в качестве кулачкового ведомого элемента для контакта откидного режущего элемента с направляющей накладкой на опорном щите, которая определяет момент времени и амплитуду поворотного откидывания откидного режущего элемента в зависимости от угла поворота дисковой фрезы. В отличие от упомянутого упорного элемента эта изнашиваемая накладка по условиям работы подвергается повышенному воздействию трения скольжения. Поэтому предпочтительно изнашиваемая накладка содержит смазывающие легирующие добавки, которые могут включать бронзу или латунь. Изнашиваемая накладка может изготавливаться отдельно, что снижает общую стоимость изготовления откидного режущего элемента. После износа накладка может быть быстро и экономично заменена без снятия откидного режущего элемента с несущего элемента дисковой фрезы.
Согласно изобретению особенно предпочтительно, чтобы изнашиваемая накладка была привинчена к направляющему рычагу. Крепление винтами особенно экономично в изготовлении и обеспечивает легкость разборки и последующей сборки.
В дальнейшем примере выполнения предпочтительно, чтобы был предусмотрен направляющий паз между направляющим рычагом и изнашиваемой накладкой. Такой направляющий паз по типу ласточкина хвоста обеспечивает быструю и точную установку изнашиваемой накладки на откидном режущем элементе. За счет этого могут быть дополнительно снижены время и затраты на техническое обслуживание. Экономия материала при изготовлении достигается в соответствии с изобретением за счет того, что изнашиваемая накладка выполнена по форме почки.
При этом в соответствии с изобретением изнашиваемая накладка в своих боковых областях выполнена со скосами. Эти скосы, которые могут быть прямыми или дугообразными, обеспечивают плавное взаимодействие с направляющей планкой, так что откидной режущий элемент может откидываться и втягиваться по существу плавно, без рывков и толчков. Кроме того, это увеличивает долговечность откидного режущего элемента.
Задача изобретения решена также в дисковой фрезе, содержащей по меньшей мере один описанный выше откидной режущий элемент, а также в щелерезном фрезерном устройстве для возведения в грунте изоляционных стен, содержащем по меньшей мере одну дисковую фрезу с таким откидным режущим элементом.
Откидной режущий элемент по изобретению может использоваться в принципе на самых различных дисковых фрезах. Однако предпочтительным является его использование в щелерезном фрезерном устройстве в специальном оборудовании для возведения в грунте защитных и изоляционных стен.
Перечень фигур чертежей
Далее со ссылками на прилагаемые чертежи будет подробно описан предпочтительный пример осуществления изобретения. На чертежах:
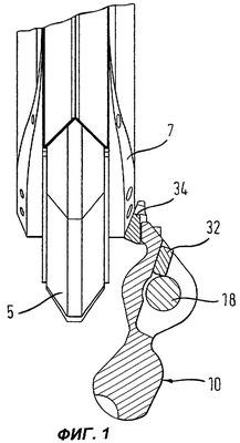
фиг.1 схематично изображает на виде с частичным разрезом откидной режущий элемент по изобретению, установленный на опорном щите фрезерного оборудования,
фиг.2 изображает откидной режущий элемент на виде сверху,
фиг.3 изображает откидной режущий элемент по фиг.2 на виде сбоку,
фиг.4 изображает откидной режущий элемент на виде с частичным разрезом по линии А-А на фиг.2,
фиг.5 изображает в перспективе сменную изнашиваемую накладку откидного режущего элемента.
Сведения, подтверждающие возможность осуществления изобретения
На фиг.1 показаны расположение и действие откидного режущего элемента 10, установленного на опорном щите 5 щелерезного фрезерного устройства для возведения в грунте изоляционных стен. На опорном щите 5 с двух сторон установлены с возможностью вращения две дисковые фрезы, не показанные на чертеже в целях наглядности. На обращенных к опорному щиту 5 сторонах дисковых фрез расположены шарнирные пальцы 18 для установки с возможностью поворота откидного режущего элемента 10. Поворотное движение откидного режущего элемента 10 определяется направляющей накладкой 7, которая жестко укреплена на опорном щите 5 и вдоль которой скользит откидной режущий элемент 10. На фиг.1 показано рабочее положение откидного режущего элемента 10, при котором он откинут для разработки грунтового материала под опорным щитом 5. Конструкция и действие откидного режущего элемента будут подробнее описаны со ссылками на фиг.2-4.
Откидной режущий элемент 10 содержит выполненный как единое целое несущий корпус 11, в котором предусмотрена поворотная опора 12 для установки шарнирного пальца, закрепленного на ступице дисковой фрезы. Как показано на фиг.4, для формирования поворотной опоры 12 в корпусе образованы две опорные стенки 14, разделенные пазом 15 и содержащие опорные отверстия 16. Отверстия 16 расположены соосно друг другу, так что шарнирный палец может быть введен в них, при необходимости, вместе с втулкой скольжения, и за счет этого откидной режущий элемент 10 может быть установлен с возможностью поворота. Для установки схематично представленных фрезерных зубьев 24 на несущем корпусе 11 выполнен так называемый держатель 20 фрезерных зубьев с двумя гнездами 22 для фрезерных зубьев. Для улучшения упругости и способности откидного режущего элемента к развороту в несущем корпусе 11 выполнено сужение 26 между опорной поворотной опорой 12 и держателем 20 фрезерных зубьев, что придает несущему корпусу 11 в целом форму песочных часов.
От области поворотной опоры 12 в противоположную сторону от держателя 20 фрезерных зубьев проходит так называемый направляющий рычаг 30, выполненный заодно с несущим корпусом 11. На свободном конце направляющего рычага 30 разъемно укреплена сменная изнашиваемая накладка 34, имеющая форму почки. Изнашиваемая накладка 34 будет подробно описана со ссылкой на 5. В области направляющего рычага 30 расположен упорный элемент 32 – см. фиг.1.
Как показано в увеличенном виде на фиг.5, изнашиваемая накладка 34 почкообразной формы имеет переднюю поверхность 38 с центральной областью 40, к которой примыкают скосы 42. Скосы 42 служат для плавного скольжения изнашиваемой накладки 34 по направляющей планке 7 на опорном щите 5 без рывков и толчков.
На противоположной задней стороне схематично показан направляющий паз 44, который служит для простой и точной установки изнашиваемой накладки 34 на откидном режущем элементе 10. В верхней области задней стороны предусмотрены две схематично показанные резьбовые проточки 46 для крепления изнашиваемой накладки 34 на корпусе 11 с помощью винтов. В области резьбовых проточек 46 предусмотрены приливы 48 для защиты от износа при обеспечении достаточной жесткости соединения.
Формула изобретения
1. Откидной режущий элемент для дисковой фрезы, содержащий поворотную опору (12) для его установки с возможностью поворота на шарнирном пальце (18) на ступице дисковой фрезы, держатель (20) фрезерных зубьев, выступающий от поворотной опоры (12), и направляющий рычаг (30), выступающий по существу в противоположную сторону от держателя (20) фрезерных зубьев, и гнездо (22) для фрезерных зубьев (24), отличающийся тем, что держатель (20) фрезерных зубьев и направляющий рычаг (30) выполнены в виде единого несущего элемента, в котором для создания поворотной опоры (12) образовано опорное отверстие, причем в держателе (20) фрезерных зубьев между поворотной опорой (12) и гнездом (22) для фрезерных зубьев (24) выполнено сужение (26).
2. Режущий элемент по п.1, отличающийся тем, что упрочненные фрезерные зубья (24) закреплены в гнезде (22) держателя (20) фрезерных зубьев разъемно.
3. Режущий элемент по п.1 или 2, отличающийся тем, что поворотная опора (12) содержит по меньшей мере две отстоящие друг от друга опорные стенки (14), снабженные соосными друг другу опорными отверстиями (16).
4. Режущий элемент по п.1 или 2, отличающийся тем, что в области направляющего рычага (30) расположен упорный элемент (32).
5. Откидной режущий элемент для дисковой фрезы, содержащий поворотную опору (12) для его установки с возможностью поворота на шарнирном пальце (18) на ступице дисковой фрезы, держатель (20) фрезерных зубьев, выступающий от поворотной опоры (12), и направляющий рычаг (30), выступающий по существу в противоположную сторону от держателя (20) фрезерных зубьев, отличающийся тем, что на направляющем рычаге (30) разъемно укреплен сменный кулачковый ведомый элемент, выполненный в виде изнашиваемой накладки (34) со скосами в своих боковых областях.
6. Режущий элемент по п.5, отличающийся тем, что изнашиваемая накладка (34) привинчена к направляющему рычагу (30).
7. Режущий элемент по п.5 или 6, отличающийся тем, что между направляющим рычагом (30) и изнашиваемой накладкой (34) предусмотрен направляющий паз.
8. Режущий элемент по п.5 или 6, отличающийся тем, что изнашиваемая накладка (34) выполнена по форме почки.
9. Дисковая фреза, отличающаяся тем, что в ней предусмотрен по меньшей мере один откидной режущий элемент (10), заявленный в любом из пп.1-8.
10. Щелерезное фрезерное устройство для возведения в грунте изоляционных стен, отличающееся тем, что содержит по меньшей мере одну дисковую фрезу, заявленную в п.9.
РИСУНКИ
|