|
|
(21), (22) Заявка: 2004106603/04, 06.08.2002
(24) Дата начала отсчета срока действия патента:
06.08.2002
(30) Конвенционный приоритет:
08.08.2001 EP 01402144.8
(43) Дата публикации заявки: 27.07.2005
(46) Опубликовано: 27.01.2007
(56) Список документов, цитированных в отчете о поиске:
ЕР 01316656 А1, 24.05.1989. GB 2157854 А, 30.10.1985. SU 1468913 А1, 30.03.1989. US 4990242 А, 05.02.1991. JP 4046993 A, 17.02.1992.
(85) Дата перевода заявки PCT на национальную фазу:
09.03.2004
(86) Заявка PCT:
EP 02/08807 (06.08.2002)
(87) Публикация PCT:
WO 03/014264 (20.02.2003)
Адрес для переписки:
103735, Москва, ул. Ильинка, 5/2, ООО “Союзпатент”, Н.Н.Высоцкой
|
(72) Автор(ы):
МАРТЭН Бернар (FR), РУБИ Жан-Люк Кристьян (NL), ТИММЕРМАНС Ваутер Фредерик (NL), ВИЕЛЬ Фредерик (NL)
(73) Патентообладатель(и):
ШЕЛЛ ИНТЕРНЭШНЛ РИСЕРЧ МААТСХАППИЙ Б.В. (NL)
|
(54) СПОСОБ ПОЛУЧЕНИЯ УГЛЕВОДОРОДНОГО ПРОДУКТА С СОДЕРЖАНИЕМ СЕРЫ НИЖЕ 0,05 МАС.%
(57) Реферат:
Использование: нефтеперерабатывающая отрасль промышленности. Сущность: (а) смешивают два или более видов углеводородного сырья с содержанием серы выше 0,05 мас.% с образованием смешанного сырья; (b) снижают содержание серы в смешанном сырье на стадии гидродесульфуризации (HDS); (с) получают углеводородную фракцию с пониженным содержанием серы, включающую эффлюент со стадии (b). Определяют содержание серы в углеводородной фракции, (d) получают конечный углеводородный продукт из непосредственного продукта со стадии (с). Корректировке процесса с целью достижения такой ситуации, когда серосодержание углеводородного продукта близко или равно желательному содержанию серы в углеводородном продукте, причем производство углеводородного продукта с желательным содержанием серы оптимизируют в результате интегрированного регулирования процесса смешивания на стадии (а) и работы HDS установки на стадии (b) с учетом содержания серы в углеводородной фракции, определенного на стадии (с). Технический результат: максимизация получения газойля с низким содержанием серы. 23 з.п. ф-лы, 4 ил.
Область техники
Настоящее изобретение относится к способу получения углеводородного продукта с содержанием серы ниже 0,05 мас.% из двух или более видов углеводородного сырья с содержанием серы выше 0,05 мас.% при необязательном присутствии других исходных материалов. Главным образом, изобретение относится к способу, в котором углеводородный продукт представляет собой газойлевый (дизельный) продукт.
Предшествующий уровень техники
Известны процессы нефтепереработки, в которых готовые продукты газойлевого ряда получают смешиванием различных компонентов газойля, подвергнутых или не подвергнутых гидроочистке в ходе их хранения в резервуарах в так называемом хранилище для смешивания газойля. Подвергнутые гидроочистке компоненты газойля получают в результате обработки различных источников подходящих углеводородных потоков нефтепереработки с повышенным содержанием серы на технологической установке обессеривания (HDS) с целью снижения содержания серы до низких значений. Примерами таких потоков нефтепереработки могут служить керосиновые фракции, газойль прямой гонки, вакуумный газойль, газойль, получаемый в процессе термического крекинга, а также легкое и тяжелое масло, получаемые на установке жидкофазного каталитического крекинга. Примером не подвергнутых гидроочистке компонентов газойля, используемых в процессе смешивания, предназначенного для получения готового газойля, может служить фракция газойля, получаемая в процессе гидрокрекинга топлив.
В последние годы по экологическим причинам резко ужесточены требования к содержанию серы в газойлях. Ожидается дальнейшее уменьшение допустимых уровней содержания серы. Было установлено, что при удовлетворении таких жестких требований, касающихся содержания серы, описанный выше способ получения неспецифицированного газойля не обеспечивает максимальной производительности по газойлю.
Раскрытие изобретения
Целью настоящего изобретения является способ, позволяющий максимизировать получение газойля с низким содержанием серы в условиях нефтепереработки.
Поставленная цель достигается с помощью следующего способа. Рассматриваемый способ предназначен для непрерывного получения углеводородного продукта с желаемым содержанием серы, имеющим установленное значение ниже 0,05 мас.%, при использовании в качестве исходного материала, по меньшей мере, двух или более видов углеводородного сырья с содержанием серы выше 0,05 мас.%, причем такой способ включает стадии
(a) смешивания двух или более видов углеводородного сырья с содержанием серы более 0,05 мас.% с получением смешанного сырья,
(b) снижения содержания серы в смешанном сырье на стадии гидродесульфуризации (обессеривания) (HDS),
(c) получения углеводородной фракции с пониженным содержанием серы, содержащей поток со стадии (b) и определения содержания серы в углеводородной фракции, и
(d) получения конечного углеводородного продукта непосредственно из продукта со стадии (с) и сравнения содержания серы, определенного на стадии (с), с желательным содержанием серы в углеводородном продукте, с последующей регулировкой процесса с целью достижения содержания серы в углеводородном продукте, близкого или равного ее желательному содержанию в углеводородном продукте, причем при такой регулировке производительность по углеводородному продукта с желательным содержанием серы оптимизируют с помощью объединенного контроля смешивания на стадии (а) и эксплуатации HDS установки на стадии (b) с учетом содержания серы в углеводородной фракции, определенного на стадии (с).
Установлено, что с помощью способа настоящего изобретения обеспечивается улучшенный контроль процесса получения газойля с низким содержанием серы. Благодаря улучшенному регулированию процесса и его компоновке появилась возможность оптимизации, например, производительности по низкосернистому газойлю. Другим преимуществом процесса является тот факт, что отпадает необходимость в использовании хранилища для смешивания. Углеводородную фракцию, получаемую в качестве основного продукта на стадии (с), превращают в углеводородный продукт либо непосредственно, либо после аккумуляции в резервуаре-хранилище. Ниже приведено более подробное описание настоящего изобретения, включающее некоторые предпочтительные воплощения. Из приведенного описания станут очевидными другие преимущества настоящего изобретения.
Хотя способ настоящего изобретения может использоваться для любого процесса получения продуктов с низким содержанием серы, например моторного бензина, рассматриваемый способ главным образом относится к процессу получения газойля. Продукты газойлевого ряда, также называемые в Соединенных Штатах Америки дизельными продуктами, дополнительно характеризуются тем, что менее 65% вещества (об./об.) выкипает в интервале до 250°С, 95% вещества выкипает при температуре ниже 360°С, продукт имеет цетановый индекс ниже 40 или выше соответствующего цетанового числа, температуру помутнения ниже 0°С, содержание полиароматических углеводородов ниже 11% (м/м) и температуру вспышки выше 55°С. Хотя ниже часто ссылаются на газойль, следует иметь в виду, что в соответствии с сущностью настоящего изобретения раскрытая ниже информация также относится к производству других продуктов нефтепереработки с низким содержанием серы.
Исходными материалами для рассматриваемого способа служат, по меньшей мере, два или более видов углеводородного сырья с содержанием серы выше 0,05 мас.%. Кроме этого также могут использоваться другие виды сырья, например, углеводороды с низким содержанием серы и присадки.
На стадии (а) производят смешивание двух или более видов углеводородного сырья с содержанием серы выше 0,05 мас.%. Предпочтительно на стадии (а) проводят смешивание трех или более, и еще предпочтительнее, четырех или более видов высокосернистого сырья. Преимущества настоящего изобретения проявляются еще в большей степени, когда на стадии (а) смешивают большое число различных видов сырья с высоким содержанием серы. При использовании большого числа исходных сырьевых материалов усложняется способ оптимизации всего процесса. Было установлено, что при использовании описанных ниже способов контроля может быть достигнута улучшенная оптимизация.
Примерами исходных материалов, используемых на стадии (а), являются следующие продукты, обычно получаемые в процессе нефтепереработки различных источников сырья: керосиновые фракции, газойль прямой гонки, вакуумный газойль, газойль, получаемый в процессе термического крекинга, а также легкое и тяжелое масло, получаемые на установке жидкофазного каталитического крекинга. Согласно настоящему изобретению керосиновая фракция имеет начальную точку кипения (IBP) в интервале 160-180°С и конечную точку кипения (FBP) в интервале 220-26О°С. Фракция прямогонного газойля представляет собой газойлевую фракцию, полученную в результате дистилляции при атмосферном давлении исходного сырья на основе сырой нефти. Эта фракция имеет IBP в интервале 180-280°С и FBP в интервале 320-380°С. Вакуумный газойль представляет собой фракцию газойля, полученную в результате вакуумной дистилляции остатка после цитированной выше атмосферной дистилляции сырого нефтяного сырья. Вакуумный газойль имеет IBP в интервале 240-300°С и FBP в интервале 340-380°С. При осуществлении процесса термического крекинга также получают фракцию газойля, которую можно использовать на стадии (а). Такая газойлевая фракция имеет IBP в интервале 180-280°С и FBP в интервале 320-380°С. Фракция легкого масла, получаемая в процессе жидкофазного каталитического крекинга, имеет IBP в интервале 180-260°С и FBP в интервале 320-380°С. Тяжелая масляная фракция, получаемая в процессе жидкофазного каталитического крекинга, характеризуется значением IBP в интервале 240-280°С и FBP в интервале 340-380°С. Такое сырье имеет содержание серы выше 0,05 мас.%. Максимальное содержание серы составляет более 2 мас.%.
Согласно способу настоящего изобретения на стадии (а) проводят смешивание различного высокосернистого сырья из различных источников. Избыток исходного сырья, не находящий прямого применения на стадии (а), может использоваться в качестве исходного материала для установки гидроочистки, например, для установки гидрокрекинга топлив, или установки жидкофазного каталитического крекинга, или может временно храниться в резервуарах. Содержимое такого хранилища, иногда включающего несколько резервуаров, может использоваться в качестве примешиваемого компонента на более поздних стадиях процесса. Предпочтительно использовать, по меньшей мере, два сосуда для хранения, один из которых предназначен для хранения избытка масла каталитического крекинга, а другой может использоваться для хранения необязательных смесей из оставшегося углеводородного сырья. Предпочтительно хранить масло каталитического крекинга отдельно от других видов сырья.
Стадию (b) осуществляют на обычной для данного уровня техники HDS установке. В такой установке смешанное сырье контактирует в реакторе с подходящим HDS катализатором в присутствии водорода. Серосодержащие компоненты превращаются в H2S, который легко удаляется совместно с другими легкими компонентами в рабочей и фракционирующей секции HDS-установки из потока, отходящего из HDS реактора. Используемый катализатор представляет собой соответствующий гетерогенный катализатор, включающий носитель, металл VIB группы и неблагородный металл VIII группы. Примерами подходящих катализаторов могут служить никель-молибденовый катализатор на оксиде алюминия, или кобальт-молибденовый катализатор на оксиде алюминия. Возможные варианты проведения HDS процесса описаны в Handbook of Petroleum Refining Processes, Robert A. Meyers Editor in Chief, 2nd edition, McGraw Hill, pages 8.29-8.38.
На стадии (b) полезно проводить дополнительную каталитическую депарафинизацию газойля с целью понижения температуры текучести и /или температуры помутнения газойлевого продукта. Предпочтительно проводить стадию каталитической депарафинизации после завершения HDS стадии. Более предпочтительно проводить HDS стадии и стадии каталитической депарафинизации в одном реакционном сосуде, содержащем слои различных катализаторов. Подходящие катализаторы депарафинизации включают молекулярные сита, связующее вещество и металл VIII группы, в качестве которого может использоваться такой неблагородный металл, как никель или кобальт. Молекулярное сито обычно представляет собой материал со средним размером пор, имеющих диаметр в интервале 0,35-0,80 нм. Примерами подходящих молекулярных сит могут служить ZSM-11, ZSM-12, ZSM-22, ZSM-23, ZSM-12, ZSM-35, ZSM-38, ZSM-48, ZSM-57, SSZ-23, SSZ-24, SSZ-25, SSZ-26, SSZ-32, SSZ-33 и МСМ-22. Предпочтительными молекулярными ситами являются ZSM-5, ZSM-12 и ZSM-23. Предпочтительный связующий компонент представляет собой тугоплавкий слабокислотный оксид материал, практически не содержащий оксида алюминия, например оксид кремния. Поверхность алюмосиликатных цеолитных кристаллитов, примеры которых приведены выше, предпочтительно модифицировать путем деалюминирования. Дополнительные сведения о таком катализаторе депарафинизации, его приготовлении и применении в реакции депарафинизации газойля содержатся в WO-A-0029512.
На стадии (с) эффлюент со стадии (b) смешивают с углеводородным сырьем, имеющим содержание серы ниже 0,05 мас.%, при условии наличия такого низкосернистого углеводородного сырья на соответствующем нефтеперерабатывающем заводе. Так, например, на нефтеперерабатывающем заводе, где имеется установка для гидрокрекинга топлив, на ней может вырабатываться газойлевое сырье с содержанием серы менее 0,05% масс. Другими примерами такого сырья могут служить гидроочищенная керосиновая фракция, метиловые эфиры жирных кислот, а также топливные фракции, получаемые из продукта синтеза Фишера-Тропша. Вполне очевидно, что более выгодно смешивать такие низкосернистые фракции с эффлюентом со стадии (b), чем смешивать их с высокосернистыми фракциями на стадии (а).
В том случае, когда добавляют газойль Фишера-Тропша, его получают из продукта синтеза Фишера-Тропша, подвергнутого гидрокрекингу. Примеры газойля полученного из продуктов синтеза Фишера-Тропша описаны в ЕР-А-583836, WO-A-011116, WO-A-011117, WO-A-0183406, WO-A-0183648, WO-A-0183647, WO-A-0183641, WO-A-0020535, WO-A-0020534, EP-A-1101813, US-A-5888376 и US-A-6204426.
Подходящий газойль, полученный из продуктов синтеза Фишера-Тропша, содержит, по меньшей мере, 90 мас.%, более предпочтительно, по меньшей мере, 95 мас.% изо- и нормальных парафинов. Массовое соотношение между количеством изопарафинов и нормальных парафинов составляет более 0,3. Это соотношение может иметь значение до 12. Подходящее значение такого соотношения лежит в интервале 2-6. Действительное значение рассматриваемого соотношения определяют с помощью процесса гидроконверсии, используемого для получения керосина и газойля из продуктов синтеза Фишера-Тропша. В продуктах может присутствовать некоторое количество циклопарафинов.
Газойль, полученный из продуктов синтеза Фишера-Тропша, имеет цетановое число выше 60 и, предпочтительно, выше 70 и дистилляционные характеристики, в основном соответствующие интервалу кипения обычного газойля: в пределах от 150°С до 400°С. Газойль Фишера-Тропша имеет Т 90 мас.% в интервале 340-400°С, плотность в интервале 0,76-0,79 г/см3 при 15°С и вязкость при 40°С в интервале 2,5-4,0 сантистоксов.
На стадии (с) в эффлюент со стадии (b) предпочтительно добавляют присадки. Примерами присадок к газойлю могут служить присадки, повышающие цетановое число, регулирующие электропроводность, подавляющие такие свойства холодной текучести, как CFPP (температура закупоривания холодного фильтра), уменьшающие температуру текучести и/или значение цветового индекса и индекса маслянистости.
Определяют содержание серы в углеводородной фракции, полученной на стадии (с). Такая операция может осуществляться с помощью on-line анализатора или путем автономных измерений с использованием метода XRF (рентгеновская флуоресценция) или UVF (флуоресценция в ультрафиолетовой области). Для определения содержания серы также могут использоваться методы измерения в ближней инфракрасной области спектра, описанные, например, в GB-A-2303918. Кроме этого, для определения содержания серы может использоваться модельная оценка качества (model-based quality estimator), подробно описанная ниже.
На стадии (d) проводят сравнение содержания серы, определенного на стадии (с) с желаемым содержанием серы. Если значение содержания серы, измеренное на стадии (с), сильно отличается от желаемого содержания серы в конечном газойле, процесс нуждается в корректировке. Корректировка процесса предусматривает интегральное управление процессом смешивания на стадии (а) и работой HDS установки на стадии (b). Интегральное управление подробно описано ниже, и оно включает корректировку рабочих условий HDS установки на стадии (b) и корректировку свойств смешанного сырья путем изменения состава смешанного сырья, полученного на стадии (а). Также может корректироваться необязательное добавление низкосернистого углеводородного сырья на стадии (с).
Корректировку условий проведения процесса в HDS установке на стадий (b) осуществляют с использованием моделирующего контроллера, например, контроллера нескольких взаимосвязанных переменных, в частности хорошо известного МРС (Multivariable Predictive Controller) контроллера. Рабочие условия, которыми управляют с целью достижения желаемого содержания серы, представляют собой, например, скорость подачи смешанного сырья на HDS установку, рециркуляцию водорода и температурный профиль в HDS реакторе. На температурный профиль может влиять изменение температуры на входе сырья или изменение количества охлаждающей смеси, добавляемой в реагенты между двумя каталитическими слоями в HDS реакторе. Охлаждающая смесь может представлять собой часть смешанного сырья, полученного на стадии (а). При таком контуре управления следует принимать во внимание ограничения, касающиеся эксплуатации HDS установки. Предпочтительно, чтобы МРС контроллер максимизировал скорость подачи сырья на HDS установку при условии, что содержание серы в конечном газойле близко или равно желаемому содержанию серы.
Содержание серы, которое определено на стадии (с), предпочтительно представляет собой содержание серы во фракции газойля после добавления любого низкосернистого сырья. Такой вариант является выгодным, поскольку измеренная величина представляет собой содержание серы в конечной фракции газойля со стадии (с), т.е. непосредственного продукта, получаемого на стадии (с), определяющего содержание серы в конечном газойле, т.е. в углеводородном продукте. Если временно доступен значительный объем низкосернистого смешиваемого сырья для смешивания с потоком газойля со стадии (b), то могут быть снижены требования к уменьшению содержания серы на HDS стадии (т.е. требуется меньшее снижение уровня содержания серы), вследствие чего после смешивания содержание серы в продукте со стадии (с) остается близким к желаемому значению. В результате этого на стадии (b) может перерабатываться большее количество смешанного сырья или большее количество такого высокосернистого газойлевого сырья, как масло каталитического крекинга, может входить в состав смешанного сырья, получаемого на стадии (а).
Конечный газойль имеет содержание серы близкое или равное желаемому значению. Под термином “близкое” подразумевается отклонение в 10 ч/млн (0,001 мас.%) и более предпочтительно, в 5 ч./млн от желаемого содержания серы. Желаемое содержание серы составляет менее 0,05 мас.%, предпочтительно, менее 0,01 мас.% и, более предпочтительно, менее 0,005 мас.% и зависит от технических характеристик продукта, которые могут быть отличаться для различных рыночных ситуаций. Желаемое содержание серы обычно имеет значение выше 0,0005 мас.% (5 ч./млн). Следует иметь в виду, что указанная нижняя граница может быть понижена еще в большей степени в случае введения в действие еще более строгих правительственных правил.
Конечный газойль может представлять собой фракцию газойля, полученную на стадии (с). Имеется в виду, что в течение некоторого периода времени содержание серы во фракции газойля, полученной на стадии (с), постоянно равно или имеет близкое значение к желательному содержанию серы. Это требуется, например, в тех случаях, когда фракцию, полученную на стадии (с), непосредственно транспортируют к промышленному трубопроводу или при загрузке указанной фракции на такие транспортные средства, как судно или поезд.
Также возможен вариант, когда фракцию газойля со стадии (с) вначале собирают и хранят в складских резервуарах. В этом случае важно, чтобы содержание серы в смеси, находящейся в резервуаре, после его заполнения до заданного уровня было равно или имело близкое значение к желаемому содержанию серы. Свойства такого конечного газойля, находящегося в складском резервуаре, могут быть определены расчетом средних свойств сырья, т.е. эффлюента со стадии (с), которое в течение времени подают в указанный резервуар, и зависят от качества любого материала, находящегося в складском резервуаре с начала прогона. В этом случае сравнение на стадии (d) содержания серы, определенного на стадии (с), с желаемым содержанием серы в конечном газойле, проводят путем первоначальной оценки содержания серы в газойле уже присутствующем в резервуаре в расчете на среднее содержание серы, базирующееся на содержании серы на стадии (с), после чего проводят сравнение оценки содержания серы в газойле, находящемся в резервуаре, с желаемым содержанием серы. В этом случае на так важно, чтобы содержание серы в углеводородной (газойлевой) фракции, полученной на стадии (с), постоянно было близким желаемому содержанию серы при проведении загрузки в указанный складской резервуар. В результате управления технологическим процессом в течение некоторого времени содержание серы в углеводородной фракции может даже превышать желаемое содержание серы в углеводородном продукте, если это превышение компенсируется пониженным содержанием серы в смеси, уже находящейся в резервуаре, или в углеводородных фракциях, полученных позже. Сказанное означает, что процесс обладает большой гибкостью, обеспечивающей получение желаемого конечного и хранимого газойля.
Оценка содержания серы в частично заполненном складском резервуаре используется для регулировки требуемого содержания серы (“регулируемая переменная”), определяемого на стадии (с). Так, например, если продукт, уже находящийся в складском резервуаре, содержит серу в количестве меньшем желаемого специфицированного содержания серы, то могут быть смягчены требования к содержанию серы в эффлюенте со стадии (с) (т.е. содержание серы может быть большим). Такой способ оценки качества содержимого складской емкости и его использование для снижения или повышения требований к уменьшению содержания серы на стадии (b), состав смешанного сырья на стадии (а) и/или влияние примешивания низко-сернистого сырья на стадии (с) дополнительно понижают шанс получения неспецифицированного продукта (т.е. с качеством выше требуемого).
Обычно имеется значимое и изменяющееся мертвое время между рабочими условиями HDS установки на стадии (b) и реакцией анализатора на содержание серы в углеводородной фракции, полученной на стадии (с). Из-за наличия такого мертвого времени увеличивается время срабатывания, по истечении которого происходит коррекция рабочих параметров HDS установки с помощью МРС, связанная, например, с изменением состава сырья. В результате этого может образовываться неспецифицированный (off-spec) продукт или не достигаться оптимальная производительность по газойлю. По этой причине предпочтительно использовать модельную оценку качества для определения содержания серы во фракции на стадии (с). Рабочие характеристики МРС могут быть улучшены, если в качестве, так называемой “регулируемой переменной” используется содержание серы, предсказанное с помощью модельной оценки качества вместо описанного выше измерения с помощью анализатора. Для предсказания содержания серы с помощью модельной оценки качества необходима дополнительная информация. Такой дополнительной информацией может служить содержание серы в смешанном сырье, получаемом на стадии (а), содержание серы в низкосернистом сырье, которое может добавляться на стадии (с), и рабочие условия HDS установки, например парциальное давление водорода, средняя температура реактора и/или другие ранее упомянутые условия работы HDS установки.
Помимо определения содержания серы во фракции полученной на стадии (с), модельная оценка качества может успешно использоваться для предсказания некоторых других свойств газойлевой фракции. Примерами таких свойств могут служить упомянутые ранее цетановый индекс, цетановое число, температура помутнения, температура закупоривания на холодном фильтре (CFPP), температура вспышки, температура текучести, плотность, вязкость, цветовой индекс, маслянистость, электропроводность, общее содержание ароматики, содержание ди+-ароматики, содержание полиароматических соединений и пределы выкипания 90, 95 и 100% вещества, кривая дистилляции, распределение сернистых соединений по температурным интервалам кипения, а также содержание азота. В качестве входных данных для модельной оценки качества используются свойства смешанного сырья, рабочие условия HDS установки и/или природа и объем фракций и присадок, добавляемых на стадии (с). Полученные расчетные свойства используются в описанном ниже улучшенном способе управления. В том случае, когда конечный газойль получают для окончательного хранения в складском резервуаре, как и в случае серы, могут быть оценены оставшиеся и другие релевантные свойства газойля. Как разъясняется ниже, такие оценки свойств хранимого газойля могут использоваться в усовершенствованном способе управления.
Модельные оценки качества хорошо известны и описаны, например в книге Viel. F., Hupkes W., Inferred Measurement, Hydrocarbon Engineering, April 2001, pp.73-76. Предпочтительно, чтобы такие модельные оценки качества подвергались периодической калибровке. Калибровку предпочтительно проводить с использованием реального и проверенного измерения качества, которое оценено с помощью функции оценки качества. Обычно калибровку проводят в стационарном состоянии с целью сравнения реальных и проверенных данных с расчетными значениями. В нестационарных условиях такое сравнение затруднено, если существует значительное мертвое время. Авторы настоящего изобретения разработали способ, позволяющий решить указанные проблемы за счет возможности on-line калибровки модельной оценочной функции (QE) в нестационарных условиях. В способе настоящего изобретения предпочтительно использовать так называемый Robust Quality Estimator (RQE). Новый способ с применением такого RQE подробно описан ниже (см., например, Фигуры 3-4). Реальное и подтвержденное измерение может представлять собой лабораторный анализ или, более предпочтительно, данные, полученные с помощью on-line анализатора, в котором могут использоваться методы ближней инфракрасной (NIR) или ядерно-магнитно-резонансной спектрографии.
На стадии (а) регулируют соотношения смешивания высокосернистых видов сырья с целью получения смешанного сырья. Рассматриваемое соотношение выбирается таким образом, чтобы были удовлетворены некоторые требования спецификации по сере для смешанного сырья со стадии (а), в то время как одно или более других свойств смешанного сырья, эффлюента со стадии (b), углеводородной фракции со стадии (с) и/или, конечного углеводородного продукта находятся в рамках желаемой спецификации. Таким другим свойством может служить цетановый индекс, цетановое число, температура помутнения, температура закупоривания на холодном фильтре (CFPP), температура вспышки, температура текучести, плотность, вязкость, цветовой индекс, маслянистость, электропроводность, общее содержание ароматики, содержание ди+-ароматики, содержание полиароматических соединений, и пределы выкипания 90%. 95 и 100% вещества, кривая дистилляции, распределение сернистых соединений по температурным интервалам кипения, а также содержание азота.
Содержание серы может измеряться на стадии (а). Более предпочтительно, когда смешивание на стадии (а) регулируется с использованием модельной оценки качества для определения содержания серы в смешанном сырье. Рассматриваемая операция смешивания, базирующаяся на содержании серы в смешанном сырье, может приводить к различным отклонениям (например, чрезмерному повышению качества), касающимся цитированных выше свойств газойля. С целью снижения степени возможных отклонений и повышения надежности работы, на стадии (а) используют хорошо известный так называемый, Blend Property Controller (BPC). Blend Property Controller позволяет оптимизировать состав смеси в том, что касается желаемых свойств и при минимальных затратах с учетом свойств различных компонентов смеси (например, углеводородного сырья используемого на стадии (а)) и экономической ценности указанных компонентов смеси. BPC предназначен для регулирования процесса смешивания с учетом качества (содержание серы и/или одно или более других свойств) смешанного сырья получаемого на стадии (а). Такие свойства могут непосредственно измеряться и рассчитываться с помощью модельной оценки качестве, более предпочтительно, с помощью упомянутой выше Robust Quality Estimator. Входные данные для расчетных моделей, используемых в функции оценки качества, предпочтительно представляют собой соотношения смешивания, свойство, касающееся контроля смешивания, а также свойства и/или индексы смешивания различных видов сырья, используемых на стадии (а). Свойства различных видов сырья могут измеряться в режиме реального времени (on-line) или автономно (off-line). В предпочтительном способе измерения различных свойств используются методы на основе NIR, как описано, например, в GB-A-2303918 и ЕР-А-555216.
Модельную функцию оценки качества следует периодически калибровать с целью компенсации погрешностей и дрейфа модели. Реальные и подтвержденные значения свойств, которые рассчитаны с использованием модельной оценки, могут измеряться с использованием отбора образцов в лабораторных условиях, или с помощью автономного полуавтоматического NIR/ЯМР анализатора. Усовершенствованные методы статистического регулирования технологического процесса применяются для установления необходимости коррекции функции оценки качества. В соответствии с наиболее предпочтительным воплощением для оценки свойств смешанного сырья используют упомянутый выше RQE.
Было установлено, что описанная выше схема регулирования, включающая управляющий контур с МРС и ВРС, необязательно в комбинации с (R)QE, обеспечивает соответствующее регулирование лишь в случае интеграции регулирующих функций ВРС и МРС. В описанной схеме управления содержание серы регулируется с помощью МРС, тогда как другие свойства регулируются с помощью ВРС. В случае нарушения интегрированного регулирования могут возникать конфликты между МРС и ВРС. Для решения таких конфликтов в интегральном регулировании предусмотрен слой глобального согласования (набор правил в верхней части МРС и ВРС). Без слоя глобального согласования МРС может снизить вход на HDS установку для того, чтобы выполнить требования, касающиеся содержания серы при удовлетворении динамических ограничений с помощью HDS. Однако с экономической точки зрения в такой ситуации выгоднее регулировать состав смешанного сырья подаваемого в HDS установку с тем, чтобы обеспечить с помощью МРС надлежащий контроль содержания серы при максимальной подаче сырья на HDS установку. Слой глобального согласования позволяет избежать принятия таких субоптимальных решений, касающихся регулирования.
Более предпочтительно, когда управление операцией смешивания и работой HDS установки осуществляется одним МРС контролером с расширенными возможностями, который оптимизирует операцию смешивания на стадии (а), HDS процесс на стадии (b) и, необязательно, смешивание конечного продукта на стадии (с). В результате этого достигается максимальная экономическая прибыль. Примером подходящего МРС контроллера с расширенными возможностями может служить Shell Multivariate and Optimiser Controller (SMOC), подробно описанный в работе Marquis P., Broustail J.P., SMOC, a bridge between State Space and Model Predictive Controllers, Application to the automation of hydrotreating unit, IFAC Model Based Process Control, Georgia, USA, 1988, pp.37-45. При такой конфигурации управления МРС с расширенными возможностями контролирует содержание серы и, предпочтительно, одно или более из оставшихся свойств газойля во фракции полученной на стадии (с) (“регулируемые переменные”), мгновенно регулируя смешивание на стадии (а), необязательное смешивание эффлюента со стадии (b) с низкосернистым углеводородным сырьем на стадии (с) и управляя HDS установкой на стадии (b). МРС с расширенными возможностями также оптимизирует общий технологический процесс в терминах экономики, максимизируя функцию общей нелинейной прибыли (“Мах Profit”), включающую настраиваемые в режиме реального времени коэффициенты для отношения компоненты/стоимость продукта в расчете на вес или объем установки 

Где обозначает объемную скорость потока готового продукта на стадии (с), выраженную в единицах массы или объема деленных на время; “$product” представляет собой величину, относящуюся к готовому продукту имеющую ту же размерность, что и ; обозначает объемную скорость потока углеводородного сырья на стадии (а), и необязательно на стадии (с), выраженную в тех же единицах, что и . Максимизация функции прибыли эквивалента минимизации функции стоимости, которая может быть представлена выражением под знаком sum в приведенном выше уравнении.
Предпочтительно, содержание серы и одно или более других свойств газойля в углеводородной фракции полученной на стадии (с) и указанные свойства смешанного сырья, полученного на стадии (а) вводятся в МРС с расширенными функциями в качестве расчетного качества. Модельную функцию для оценки качества, более предпочтительно упомянутую Robust Quality Estimator, используют для оценки качества (свойства) газойля. Далее настоящее изобретение иллюстрируется следующими фигурами 1-4. Фигура 1 иллюстрирует современную компоновку HDS установки. Фигура 2 иллюстрирует воплощение настоящего изобретения, в котором используется схема предпочтительного управления.
Фигуры 3-4 иллюстрируют Robust Quality Estimator. Фигура 1 иллюстрирует состояние техники в области HDS установок. В HDS установку (101) подают различные виды сырья (102, 103, 104). Эти исходные материалы хранят в складских резервуарах (105, 106, 107). Хранилище расположено между источником различных видов углеводородного сырья (на рисунке не показано) и HDS установкой (101). Продукты с HDS установки хранятся в отдельных резервуарах (108, 109, 110) хранилища смесей (111). В результате раздельного хранения низкосернистых HDS продуктов и HDS продуктов с относительно повышенным содержанием серы имеется возможность получения смешанного газойлевого продукта с желаемой спецификацией, который хранят в сосуде (112). Хранилище смесей (111) может также включать складской резервуар (113) для низкосернистого углеводородного сырья, не являющегося продуктом с HDS установки. Присадки добавляют в конечный газойлевый продукт с помощью on-line инжекции (114).
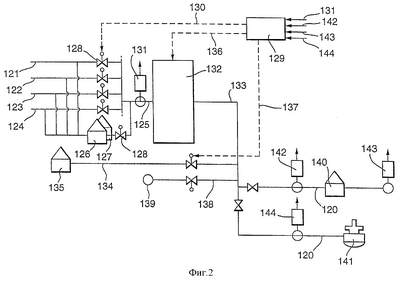
Фигура 2 иллюстрирует предпочтительно воплощение настоящего изобретения. Фигура 2 изображает процесс непрерывного получения газойля (120) с желаемым содержанием серы. В таком процессе в качестве исходных материалов используется керосиновое сырье (121), сырье на основе газойля прямой гонки (122), сырье на основе вакуумного газойля (123) и сырье на основе масла каталитического крекинга (124), причем содержание серы во всех исходных материалах составляет выше 0,05 мас.%. В соответствии со стадией а) способа настоящего изобретения готовят смесь из указанных исходных материалов с получением смешанного сырья (125). Любое избыточное сырье может временно храниться в складских резервуарах (126, 127). Часть ранее запасенного сырья может входить в состав смешанного сырья (125). Смешивание осуществляют с использованием клапанов (128), которые управляются с помощью технологического контроллера с расширенной моделью (Extended Model Process Controller) (129) по регулирующей линии (130). Для управления операцией смешивания оценивают качество смешанного сырья (125) с использованием функции оценки надежного качества (Robust Quality Estimator) (131). Расчетное качество представляет собой, по меньшей мере, содержание серы и, предпочтительно, одно или более других свойств газойля.
На стадии (b) рассматриваемого способа содержание серы в смешанном сырье уменьшают на HDS установке (132). Рабочие условия HDS установки (132) регулируют по линии (136) с помощью технологического контроллера с расширенной моделью (129) таким образом, что с помощью установки (132) достигается уменьшенное содержание серы, достаточное для получения конечного газойля (120) с желаемым содержанием серы и другими оставшимися свойствами.
На стадии с) рассматриваемого способа в отходящий поток (133) с HDS установки (эффлюент со стадии (b)) добавляют низкосернистый газойль (134), полученный на установке гидрокрекинга. Это сырье подают из отдельного складского резервуара (135). Скорость подачи газойля (134) регулируют с помощью технологического контроллера с расширенной моделью (129) по линии (137). Присадки из одного или более резервуаров (139) для хранения присадок вводят в эффлюент (133) с помощью in-line инжектора (138). Скорость добавления присадок может регулироваться контроллером (129) или с помощью отдельного устройства. Содержание серы, а также одно или более других свойств полученной в результате углеводородной фракции, представляющей собой прямой продукт со стадии с), определяют после добавления низкосернистого сырья и присадок.
Полученный таким образом продукт со стадии (с) может накапливаться и содержаться в резервуаре (140) для хранения конечного газойля или непосредственно погружаться на судно (141). Содержание серы и одно или более из оставшихся свойств газойля в углеводородной фракции, полученной на стадии (с) и подаваемой в указанный складской резервуар (140), может оцениваться с использованием функции оценки надежного качества (Robust Quality Estimator) (142). Оценочные значения служат “регулируемыми переменными” для контроллера (129). Свойства газойля, находящегося в складской емкости (140), также оценивают с использованием функции оценки надежного качества (Robust Quality Estimator) (143). Полученные расчетные величины также используют в качестве вводимых данных для контроллера (129). На основе этих данных оптимизатор задает значение для содержания серы (и других “регулируемых переменных”) в промежуточном продукте, подаваемом в указанный резервуар для хранения (140).
В том случае, когда качество продукта со стадии (с) должно быть постоянно близким качеству конечного газойля, как это имеет место в случае погрузки на судно (141), описанный выше RQE (143) не используют. В этом случае качество продукта, погруженного на судно, оценивают с использованием RQE (144).
Для проведения оценок с использованием RQE, изображенных на фигуре 2, требуются входные данные. Требующиеся входные данные и соответствующие измерения на фигуре 2 не показаны. RQE подлежит дополнительной on-line калибровке с использованием реальных и проверочных измерений. На фигуре 2 не отражены требующиеся для этого on-line или off-line измерения.
На схеме, изображенной на фигуре 2, контроллер (129) предназначен для такой оптимизации работы HDS установки, что получают продукт (120), обладающий свойствами близкими или одинаковыми с желательными свойствами (для того, чтобы избежать образования продукта низкого качества), в результате регулирования состава смешанного сырья по линии (130), регулирования рабочих условий HDS установки по линии (136) и регулирования количества низко-сернистого сырья по линии (137). Решения контроллера основываются на качественных оценках, измеренных по линиям (131), (142), (143) и (144). Дополнительными входными данными для контроллера служат стоимость компонентов (см. приведенную выше формулу) и желаемые свойства продукта.
Модельные функции для оценки качества, используемые в способе настоящего изобретения, подлежат калибровке с использованием измерений истории качества. Использование измерений истории качества не является простой операцией. Так, например, в способе настоящего изобретения проходит относительно много времени (мертвое время) между моментом, когда становится известным действительное измерение свойства, например содержания серы в продукте со стадии (с), и моментом самого измерения. Кроме этого, такое явление как динамика между вводом данных в QE (например, рабочих условий HDS установки и качества сырья, подаваемого в HDS процесс) и измеренными качествами, а также явление, на которое обычно ссылаются как на изменение прибыльности процесса, т.е. дрейф отношения между входными и выходными данными, должны приниматься во внимание при использовании таких исторических данных для калибровки технологической модели.
Традиционным методом преодоления таких нежелательных ситуаций является калибровка функций оценки качества, в то время когда процесс, для которого они предназначены, находится в так называемом стационарном состоянии, т.е. когда на входе и выходе из рабочего цикла технологическая жидкость характеризуется однородным и постоянным составом, состоянием и скоростью. Хотя такая калибровка дает хорошие результаты, касающиеся системы подлежащей контролю, она все-таки рассматривается, как не совсем оптимальная, поскольку не используется имеющаяся динамическая (нестационарная) информация. Это происходит в связи с тем, что при калибровке приходится ждать достижения стационарного протекания процесса. Кроме этого, для того чтобы знать, когда можно начинать калибровку, требуется наличие детектора стационарного состояния.
Предпочтительно использовать следующий метод калибровки, который также может применяться в нестационарных условиях. В рассматриваемом методе калибровки используются модельные оценочные функции, на которые в настоящей заявке ссылаются как на функции оценки надежного качества (RQE). RQE настоящего изобретения обеспечивает более точное и надежное предсказание качества, что улучшает рабочие характеристики схемы регулирования качества согласно настоящему изобретению. Усовершенствованный автоматический метод калибровки on-line включает:
A) сбор необработанных технологических данных.
B) обработку данных собранных на стадии А) с помощью технологической модели, с целью получения прогноза качества газойля,
C) обработку полученных прогностических данных с помощью динамических передаточных функций, в результате чего создается два промежуточных сигнала,
D) запоминание и запись в историю этих двух промежуточных сигналов, полученных на стадии С), в виде временной функции,
Е) во время реального и проверочного измерения качества газойля, восстановление из истории значений абсолютного максимума и минимума двух промежуточных сигналов за время, соответствующее минимальному и максимальному значению мертвого времени, величины которого определяют минимально и максимально возможное прогностическое значение,
F) расчет отклонения в виде разности между реальным и подтверждающим измерением и площадью между минимально и максимально возможными прогнозами, полученными на стадии Е),
G) переход к стадии I) если абсолютная величина отклонения, полученного на стадии F), равна нулю, или переход к стадии Н), если абсолютная величина отклонения, полученного на стадии F) больше нуля,
Н) введение отклонения в технологическую модель,
I) повторение стадий А)-Н).
Технологическая модель, которую калибруют в соответствии со способом настоящего изобретения, представляет собой так называемую параметрическую модель с входным и выходным сигналами, которую получают автономно из данных истории процесса и измерения качества газойля. Примерами таких моделей являются множественная линейная регрессия, описанная, например, в Introduction to linear regression analysis, Montgomery and Peck, John Willey & Sons, 1992, линейная динамическая модель (в области преобразования Лапласа), описанная, например, в Linear Systems by Keilath, Prentice-Hall, Information & System science series, 1980 и нейронная сеть с функцией радиального смещения (необязательно с функцией Гаусса), описаная, например, в книге Т.Poggio, F.Girosi, Network for approximation and learning. The Proceedings of the IEEE, 78(9): pp.1485-1497, September 1990. В зависимости от применяемой модели процесса и типа полученных данных по сырью, специалисту в данной области не составит труда выбрать тип технологической модели для оценки качества газойля, которая наилучшим образом удовлетворяет поставленным целям.
На фигуре 3 изображена технологическая модель (1) с вводом необработанных технологических данных (2). Технологическая модель (1) предусматривает расчетное качество газойля (11), которое используется для ввода в контроллер (12), который может управлять, например, клапаном (на рисунке не показан). На фигуре 3 также изображен модуль (3), в котором осуществляют стадии (С) и (D). Также показан проверочный модуль (5), который обеспечивает проверку измерения качества реального газойля (4) с получением реального и проверочного измерения (6) качества газойля. На основе выходных данных из модуля (3) и реального и проверочного измерения качества газойля (6) в (7) рассчитывается отклонение. Если полученное отклонение больше нуля, то, как указано на стадии (G), такое отклонение (8) используется для калибровки технологической модели (1), предпочтительно с использованием фильтра Kalman (9).
Сбор необработанных технологических данных (2) на стадии (А), используемой в способе настоящего изобретения, может осуществляться известными методами. В области технологического контроля общепринято получать данные измерений (2) в ряде точек в течение определенного периода времени. Так, например, в области нефтепереработки, принято измерять такие рабочие параметры, как температура, давление и объемная скорость, через короткие промежутки времени или даже непрерывно, и полученные данные могут храниться и обрабатываться различными способами, известными специалисту в данной области техники.
Для прогноза качества газойля (11) на основе собранных необработанных технологических данных (2) все, что было сказано выше относительно технологической модели (1) может использоваться применительно к стадии (В). Таким образом, стадия (В) представляет собой стадию прогноза качества газойля.
Наиболее существенной частью способа автоматической on-line калибровки является стадия (С). Эта и последующие стадии также проиллюстрированы на Фигуре 4. На этих стадиях осуществляется расчет минимально и максимально возможного прогноза за время реального и проверочного измерения качества газойля. Стадию (С) осуществляют с применением двух динамических передаточных функций (так называемая неопределенная динамика) с целью прогноза качества (11) газойля (режим реального времени), в результате чего получают два промежуточных сигнала. Динамические передаточные функции являются хорошо известным инструментом для специалиста в данной области, и они описаны, например, в Linear Systems by Keilath, Prentice-Hall, Information & System sciences series, 1980. На стадии (D) такие промежуточные сигналы (20, 21) сохраняют в истории, в виде временной функции. Это приводит к возникновению области (неопределенности) (22), в которой должна располагаться действительная технологическая характеристика и которая становится очень узкой при достижении стационарного режима (23, 24). Возможно также, что область неопределенности (22), в случае нестационарного режима, превращается в линию, соответствующую случаю, когда независимые динамические передаточные функции становятся идентичными (такая ситуация на Фигуре 4 не показана). Так называемый минимально и максимально возможный прогноз получают путем расчета из истории значений абсолютного минимума (27) и максимума (28) двух промежуточных сигналов (20, 21) за период времени, соответствующий минимальному (25) и максимальному (26) значением мертвого времени. Мертвое время представляет собой функцию действительного положения функции оценки качества газойля относительно места измерения качества газойля, времени измерения качества реального газойля и других рабочих условий, например объемной скорости и удерживания жидкости. Мертвое время может быть легко определено специалистом в данной области техники. Из введенных данных определяют максимальное (26) и минимальное (25) мертвое время, представляющее собой временной период истории процесса, на стадии (F) которого реальное и подтвержденное измерение качества газойля (29 29′) сравнивают с прогностической областью значений качества газойля (22) и минимально (27) и максимально (28) возможными значениями качества газойля.
До достижения стационарного состояния область (22) может быть очень широкой. Существующие системы способны осуществлять калибровку только в стационарном состоянии, а в том случае, когда реальные и проверочные измерения качества газойля попадают в отмеченную выше область, имеется опасность ложной калибровки. Способ настоящего изобретения специально предназначен для калибровки в том случае, когда реальное и проверочное измерение (29) качества газойля находится вне области неопределенности (22), вследствие чего предотвращается нестабильность в замкнутом контуре. Важным преимуществом способа калибровки согласно настоящему изобретению является тот факт, что калибровку можно проводить как в стационарных, так и в нестационарных условиях.
На стадии (Е) способа настоящего изобретения часть калибровочного процесса осуществляют путем расчета отклонения (30) (так называемой прогностической ошибки) в виде расстояния между реальным и проверочным измерением (29′) и областью между рассчитанными ранее минимально (27) и максимально (28) возможными прогностическими значениями.
Реальное и подтвержденное позже измерение (29) качества газойля может представлять собой оперативное (on-line) или автономное (off-line) измерение качества газойля. Примеры качественных характеристик газойля и возможных методов их измерения, включающих методы NIR и/или ЯМР, обсуждались выше.
На стадии (G) определяют пригодность реального и проверочного измерения качества газойля для целей калибровки. Лишь измерения (29′) качества газойля, находящие вне области неопределенности (22), могут использоваться для калибровки модели. Другим словами, если описанный выше расчет отклонения (30) показывает, что его абсолютное значение равно нулю, что подразумевает попадание проверочного и реального измерения качества газойля в область неопределенности (22), или точнее в область между минимально (27) и максимально (28) возможными значениями качества газойля, то найденное отклонение (30) не может использоваться для последующего ввода в процесса калибровки, но функционирование системы в режиме повторяющихся стадий будет продолжаться, как и до настоящего времени, поскольку в этом случае нет необходимости в улучшении системы. Однако, в том случае, когда расчет отклонения (30) показывает, что его абсолютное значение больше нуля, как показано на Фигуре 4, полученное значение отклонения (30) будет вводиться в технологическую модель на стадии (Н), с повторением предыдущих стадий (стадия I). Конечный результат состоит в формировании модифицированной, точнее, прогностической модели процесса, которая служит основой для последующих изменений, зависящих от уровня отклонений, наблюдающихся в ходе процесса калибровки.
Стадию (Н) предпочтительно проводить таким образом, что инкорпорация отклонения (8) в технологическую модель (1) осуществлялась с использованием фильтра Kalman (9) (см. Фигуру 3). В результате такого проведения стадии (Н) значение отклонения может вводиться в технологическую модель путем коррекции ее линейных параметров, вследствие чего происходит обновление прогностического диапазона и улучшение технологической модели. Использование Kalman фильтра хорошо известно в области управления технологическими процессами. В этом отношении можно сослаться на “Stochastic Processes and Filtering Theory” by Jazwinski (Academic Press, Mathematics and Science and Engineering, v.64, 1970). Поскольку Kalman фильтры, по существу, представляют собой оптимальные стохастические фильтры, они отфильтровывают или даже устраняют шум при измерении качества газойля, что делает их весьма подходящими для использования в способе настоящего изобретения.
Следует отметить, что использование Kalman фильтров не ограничивается калибровочными операциями, которые проводят в нестационарных условиях, поскольку такие фильтры в равной мере способны обеспечивать полезную информацию при проведении процесса в стационарных условиях.
Было установлено, что использование Kalman фильтра в способе настоящего изобретения обеспечивает еще более устойчивый способ регулирования. Дополнительное преимущество от использования Kalman фильтра состоит в повышении точности процесса оценки качества газойля. В том случае, когда не получено реального и подтвержденного измерения качества газойля, калибровку с использованием стадий Е, F и G не проводят. В этом случае система будет повторять стадии A-D до получения очередного реального и подтвержденного измерения качества газойля.
Формула изобретения
1. Способ непрерывного получения углеводородного продукта с желательным содержанием серы, имеющим специфицированное значение менее 0,05 мас.%, с использованием в качестве исходного материала, по меньшей мере, двух или более видов углеводородного сырья с содержанием серы выше 0,05 мас.%, включающий стадии
(a) смешивания двух или более видов углеводородного сырья с содержанием серы выше 0,05 мас.% с образованием смешанного сырья,
(b) снижения содержания серы в смешанном сырье на стадии гидродесульфуризации (обессеривания) (HDS),
(c) получения углеводородной фракции с пониженным содержанием серы, включающей эффлюент со стадии (b) и определения содержания серы в углеводородной фракции,и
(d) получения конечного углеводородного продукта из непосредственного продукта со стадии (с) и сравнения содержания серы, определенного на стадии (с), с желательным содержанием в углеводородном продукте и корректировки процесса с целью достижения такой ситуации, когда серосодержание углеводородного продукта близко или равно желательному содержанию серы в углеводородном продукте, причем производство углеводородного продукта с желательным содержанием серы оптимизируется в результате интегрированного регулирования процесса смешивания на стадии (а) и работы HDS установки на стадии (b), с учетом содержания серы в углеводородной фракции, определенного на стадии (с).
2. Способ по п.1, в котором для интегрированного регулирования стадии (d) используют многопараметрический прогностический контроллер (МРС).
3. Способ по п.1 или 2, в котором в ходе регулирования также учитывается содержание серы в смешанном сырье, полученном на стадии (а).
4. Способ по п.1, в котором в ходе регулирования, помимо содержания серы, также учитывается, по меньшей мере, еще одно свойство жидкости, выбранной из группы, состоящей из смешанного сырья, эффлюента со стадии (b) и углеводородной фракции.
5. Способ по п.1, в котором регулирование процесса организовано таким образом, чтобы оптимизировать, по меньшей мере, одно свойство углеводородного продукта, отличное от содержания серы, в результате чего, по меньшей мере, одно другое свойство углеводородного продукта становится близким или равным желательному качеству углеводородного продукта.
6. Способ по п.5, в котором, по меньшей мере, одно другое свойство выбирают из группы, состоящей из цетанового индекса, цетанового числа, температуры помутнения, температуры закупоривания на холодном фильтре (CFPP), температуры вспышки, температуры текучести, плотности, вязкости, цветового индекса, маслянистости, электропроводности, общего содержания ароматики, содержания ди+- ароматики, содержания полиароматических соединений, а также пределов выкипания 90, 95 и 100% вещества, дистилляционной кривой, распределения сернистых соединений по температурным интервалам кипения, а также содержания азота.
7. Способ по п.1 или 2, в котором интегрированное регулирование также предусматривает контроль добавления присадок на стадии (с).
8. Способ по п.1, в котором интегрированное регулирование также предусматривает контроль добавления на стадии (с) низкосернистого углеводородного сырья в эффлюент со стадии (b).
9. Способ по п.8, в котором низкосернистое углеводородное сырье, смешиваемое на стадии (с) с эффлюентом со стадии (b), содержит серу в количестве менее 0,05 мас.%.
10. Способ по п.8 или 9, в котором низкосернистое углеводородное сырье выбирают из группы, состоящей из фракции газойля, полученного на установке гидрокрекинга топлив, гидроочищенной керосиновой фракции, сложных метиловых эфиров жирных кислот, а также топливных фракций, полученных из продукта реакции Фишера-Троп ша.
11. Способ по любому из п.8 или 9, в котором определение содержания серы в газойлевой фракции на стадии (с) осуществляют после добавления низкосернистого сырья.
12. Способ по пп.1 и 2, в котором измерение используют для определения свойства сырья, выбранного из группы, состоящей из содержания серы в смешанном сырье, содержания серы в эффлюенте со стадии (b), содержания серы в углеводородной фракции, а также смешанного сырья, выбранного из группы, состоящей из цетанового индекса, цетанового числа, температуры помутнения, температуры закупоривания на холодном фильтре (CFPP), температуры вспышки, температуры текучести, плотности, вязкости, цветового индекса, маслянистости, электропроводности, общего содержания ароматики, содержания ди+- ароматики, содержания полиароматических соединений, а также пределов выкипания 90, 95 и 100% вещества, дистилляционной кривой, распределения сернистых соединений по температурным интервалам кипения, а также содержания азота, эффлюента со стадии (b) или углеводородной фракции.
13. Способ по п.1, в котором модельная функция для оценки качества используется для определения свойства, выбранного из группы, состоящей из содержания серы в смешанном сырье, содержания серы в эффлюенте со стадии (b), содержания серы в углеводородной фракции, а также смешанного сырья, выбирают из группы, состоящей из цетанового индекса, цетанового числа, температуры помутнения, температуры закупоривания на холодном фильтре (CFPP), температуры вспышки, температуры текучести, плотности, вязкости, цветового индекса, маслянистости, электропроводности, общего содержания ароматики, содержания ди+- ароматики, содержания полиароматических соединений, а также пределов выкипания 90, 95 и 100% вещества, дистилляционной кривой, распределения сернистых соединений по температурным интервалам кипения, а также содержания азота, эффлюента со стадии (b) или углеводородной фракции.
14. Способ по п.13, в котором модельная функция для оценки качества представляет собой автокалибрующуюся функцию оценки качества, способную к калибровке в стационарных и нестационарных условиях.
15. Способ по любому из пп.13 и 14, в котором модельную функцию оценки качества подвергают on-line калибровке с использованием реального и подтвержденного измерения содержания серы с применением автономного (off-line) или оперативного (on-line) аналитического метода на основе рентгеновской флуоресценции, или off-line или on-line аналитического метода на основе флуоресценции в ультрафиолетовой области, с целью измерения содержания серы.
16. Способ по п.1 или 2, в котором углеводородный продукт получают на стадии (d) в складском резервуаре, заполненном углеводородной фракцией со стадии (с).
17. Способ по п.16, в котором содержание серы и/или качество, по меньшей мере, одного из других свойств содержимого резервуара, определяют при частичном заполнении складского резервуара и с помощью многопараметрического и прогностического контроллера это определение используется для регулирования процесса с целью оптимизации свойств всего углеводородного продукта, находящегося в складском резервуаре при определенном уровне заполнения последнего.
18. Способ по п.17, в котором определение содержания серы и/или качества, по меньшей мере, одного другого свойства осуществляют с использованием модельной функции оценки качества.
19. Способ по п.1 или 2, в котором стадию (d) процесса регулируют таким образом, чтобы максимизировать функцию прибыли “Max Profit”, выраженную в единицах стоимость/время,
Max Profit=Product_flowrate · $product – Sum of (Component_i_flowrate · $component_i),
где “Product_flowrate” представляет собой объемную скорость потока углеводородной фракции на стадии (с), выраженную в единицах объема или массы, деленных на время;
“$product” представляет собой стоимость готового продукта в расчете на массу или объем установки;
“Component_i_flowrate” представляет собой объемную скорость сырьевого компонента i в единицах массы или объема, деленных на время, где сырьевой компонент представляет собой углеводородное сырье, используемое на стадии (а) или (с), или присадку, используемую на стадии (с),
“$component_i” обозначает стоимость компонента i в расчете на массу или объем и суммирование проводится по всем компонентам сырья; где суммирование в Sum of Component_i_flowrate * $component_i проводится по всем компонентам сырья.
20. Способ по п.1 или 2, в котором углеводородный продукт представляет собой газойль.
21. Способ по любому из пп.1-20, в котором углеводородное сырье, используемое на стадии (а), включает два или более продукта нефтепереработки, выбранных из керосиновой фракции, фракции газойля прямой гонки, фракции вакуумного газойля, газойлевой фракции, полученной в процессе термического крекинга, а также легкого и тяжелого масла, полученного в процессе жидкофазного каталитического крекинга.
22. Способ по п.1 или 2, в котором стадию (b) проводят в присутствии водорода и гетерогенного катализатора, включающего носитель, металл VIB группы и неблагородный металл VIII группы.
23. Способ по п.1 или 2, в котором на стадии (b) после обессеривания осуществляют также стадию каталитической депарафинизации.
24. Способ по п.1 или 2, в котором стадии проведения калибровки включают
A) сбор необработанных технологических данных,
B) обработку данных, собранных на стадии А) с использованием модели процесса с получением прогностического значения качества газойля,
C) обработку полученного прогноза с использованием динамических передаточных функций, в результате чего создается два промежуточных сигнала,
D) сохранение в истории двух промежуточных сигналов, полученных на стадии С), в виде временной функции,
Е) во время реального и проверочного измерения качества газойля, восстановление из истории значений абсолютного максимума и минимума двух промежуточных сигналов за время, соответствующее минимальному и максимальному значения мертвого времени, величины которого определяют минимально и максимально возможное прогностическое значение,
F) расчет отклонения в виде разности между реальным и проверочным измерением и площадью между минимально и максимально возможными прогнозами, полученными на стадии Е),
G) переход к стадии I), если абсолютная величина отклонения, полученного на стадии F), равна нулю, или переход к стадии Н), если абсолютная величина отклонения, полученного на стадии F), больше нуля,
Н) введение отклонения в технологическую модель, и
(I) повторение стадий А)- Н).
РИСУНКИ
QB4A – Регистрация лицензионного договора на использование изобретения
Лицензиар(ы): ШЕЛЛ ИНТЕРНЭШНЛ РИСЕРЧ МААТСХАППИЙ Б.В. (NL)
Вид лицензии*: НИЛ
Лицензиат(ы): ШЕЛЛ РИСЕЧ ЛИМИТИД (GB)
Договор № РД0044384 зарегистрирован 09.12.2008
Извещение опубликовано: 20.01.2009 БИ: 02/2009
* ИЛ – исключительная лицензия НИЛ – неисключительная лицензия
|
|