|
|
(21), (22) Заявка: 2005130773/04, 07.08.2004
(24) Дата начала отсчета срока действия патента:
07.08.2004
(30) Конвенционный приоритет:
17.10.2003 (пп.1-3, 6, 7, 8, 12) DE 10349016.7 03.05.2004 (пп.9-11) DE 102004021595.2
(43) Дата публикации заявки: 10.02.2006
(46) Опубликовано: 27.01.2007
(56) Список документов, цитированных в отчете о поиске:
GB 1250690 А, 20.10.1971. US 5532335 A, 02.07.1996. DE 10151434, 30.04.2003. RU 2205844 С2, 10.06.2003. RU 94000733 А1, 10.05.1997. SU 377240 A, 17.04.1973.
(85) Дата перевода заявки PCT на национальную фазу:
04.10.2005
(86) Заявка PCT:
DE 2004/001778 (07.08.2004)
(87) Публикация PCT:
WO 2005/044901 (19.05.2005)
Адрес для переписки:
129010, Москва, ул. Б.Спасская, 25, стр.3, ООО “Юридическая фирма Городисский и Партнеры”, пат.пов. Е.Е.Назиной, рег. № 517
|
(72) Автор(ы):
БРУКМАНН Теодор (DE)
(73) Патентообладатель(и):
БКГ БРУКМАНН УНД КРЕЙЕНБОРГ ГРАНУЛИРТЕХНИК ГМБХ (DE)
|
(54) СПОСОБ ТЕРМИЧЕСКОЙ ОБРАБОТКИ ГРАНУЛ ПОЛИЭТИЛЕНТЕРЕФТАЛАТА И УСТРОЙСТВО ДЛЯ ЕЕ ОСУЩЕСТВЛЕНИЯ
(57) Реферат:
Изобретение относится к способам термической обработки гранул сложного полиэфира и устройствам для ее осуществления. Техническая задача – разработка способа кристаллизации гранул полиэтилентерефталата (ПЭТ), который обходится без подвода внешней энергии или теплоты. Предложен способ термической обработки гранул ПЭТ для достижения частичной кристаллизации, заключающийся в подаче расплава ПЭТ в подводный гранулятор горячей резки, его гранулировании, подаче полученного гранулята в устройство, разделяющее воду и твердое вещество, где начинается кристаллизация, и осушенный гранулят с температурой гранулята более 100°С направляют на транспортер, из которого гранулят выходит с температурой выше 100°С. Предложено также устройство для реализации этого способа. 2 н. и 10 з.п. ф-лы, 1 ил.
Изобретение касается способа термической обработки гранул сложного полиэфира с целью достижения кристаллизации.
Полиэтилентерефталат, в последующем сокращенно называемый ПЭТ, является сложным полиэфиром с повторяющимися эфирными группами.
ПЭТ может быть представлен различными структурами, а именно находиться в аморфной или кристаллической, или частично кристаллической форме. При этом аморфный ПЭТ в большинстве случаев прозрачен, кристаллический ПЭТ является непрозрачным или белым. Как для всех термопластов, которые существуют в аморфной или кристаллической форме, для ПЭТ также невозможна степень кристаллизации 100%. Только часть структуры ПЭТ в состоянии ориентироваться, следовательно, кристаллизоваться. Кристаллические и аморфные области чередуются. Поэтому во всех случаях можно говорить о частичной кристалличности.
У ПЭТ степень кристалличности может достигать приблизительно 50%, чтобы предотвращать склеивание гранул или гранулята друг с другом. Это означает, что в этом состоянии половина цепей молекул ориентирована друг к другу, так что они располагаются рядом друг с другом параллельно или сворачиваются в кругообразную форму. Таким образом, в частично кристаллических областях неизбежно существует более сильное взаимодействие (ван-дер-ваальсовые силы) между цепями молекул. Цепи взаимно притягиваются, и вследствие этого промежуточное пространство между молекулами становится меньше.
Как термопластичный полимер ПЭТ формуется при температуре 250°С. Цепи молекул тогда становятся настолько подвижными, что полимер плавится и образуется вязкая масса, которой может быть придана практически любая форма. При охлаждении цепи молекул вновь замерзают, и полимер застывает в желаемой форме – простой и многократно повторяемый принцип. Этот способ, например, также используют при получении бутылок из ПЭТ. На первой стадии получают так называемую предварительную форму. В качестве предшественника бутылок из ПЭТ эта предварительная форма уже снабжена готовой винтовой нарезкой. Чтобы получить настоящие бутылки, их повторно размягчают при 100°С, растягивают сжатым воздухом и раздувают с образованием бутылки (процесс выдувания бутылок).
Получение кристаллического ПЭТ в форме гранулята до сих пор включало объемные и сложные способы в псевдоожиженном или кипящем слое, требующие больших вложений и высоких расходов организации производства (DE 19848245 A).
Гранулят ПЭТ должен быть закристаллизован при температуре, ниже той, при которой материал становится липким, чтобы препятствовать слиянию гранулята в твердую и едва перерабатываемую массу. Хотя температура плавления кристаллического полиэфира имеет значение 240-250°С, однако он может уже до кристаллизации, при температуре несколько выше 70°С, стать липким.
Насколько известны непрерывные способы получения сухого гранулята ПЭТ, для них необходимы, в целом, очень большие установки, так как этого требует продолжительное время кристаллизации.
Так, например, в заявке US 5532335 A предложен способ термической обработки гранул сложного полиэфира, при котором гранулы загружают в емкость для обработки, и в эту емкость также вводят жидкую среду, причем гранулы и жидкую среду смешивают друг с другом. При этом в качестве жидкой среды в предлагаемом процессе используют находящуюся под давлением или так называемую перегретую воду. Температура варки может легко контролироваться путем изменения давления в реакционном сосуде. В одном примере выполнения гранулы сложного полиэфира обрабатывают при 120-182°С. Воду вводят при 160°С, удерживают в жидком состоянии и примешивают гранулы, в то время как давление в элементе реактора удерживают при 7 кг/см2 или выше. Очевидно, что такой способ чрезвычайно дорог и поэтому едва ли является рентабельным.
Известные способы, работающие по принципу аэродинамической обработки, также имеют существенные недостатки, поскольку в них используются большие количества инертных газов. Здесь также слишком высоки энергетические затраты и издержки способа для масштабного практического применения.
В заявке GB 1 250 690 A предложен способ получения гранулята полиэтилентерефталата, пригодного после термической обработки в твердой фазе для литья под давлением. Для этого исходный материал получают, как при обычной конденсации в расплаве, около 280°С вводят горячий расплав сложного полиэфира в подводный гранулятор, причем горячий пруток полимера, выдавливаемый из сопла, охватывает струя воды, идущая из кольцевого сопла, и охлаждает его. Далее этот пруток затем подводят через подводный участок охлаждения к режущему механизму. Вслед за режущим механизмом гранулят движется над ситом, которое отделяет твердый продукт от воды, причем вода через холодильник отводится в круговой цикл. Затем влажный гранулят может быть использован после сушки для последующей термической конденсации. Этот гранулят в твердом состоянии в особенности пригоден для литья под давлением, если он подвергнут обработке последующей термической конденсации при температуре свыше 200°С.
В этом процессе важно, что продукт, полученный в способе гранулирования прутка (система гранулирования посредством подводной холодной резки) и поэтому значительно охлажденный, должен быть вновь разогрет для какой-нибудь последующей термической обработки, следовательно, требует значительной затраты энергии, которая теряется при предшествующем охлаждении.
Согласно уровню техники, чтобы достаточно закристаллизовать материал, всегда было необходимо подводить для процесса кристаллизации достаточное количество внешней энергии или теплоты. Эти названные проблемы до сих пор затрудняют замкнутый цикл ПЭТ.
Задачей изобретения является разработка способа кристаллизации гранулята ПЭТ, который обходится без подвода внешней энергии или теплоты и не требует длительной продолжительности процесса.
Поставленная задача согласно изобретению решается объектом независимого пункта формулы изобретения.
Предпочтительные формы выполнения пояснены в зависимых пунктах формулы изобретения.
Другими словами, предлагается следующее: исходный материал ПЭТ экструдируют в экструдере при пригодной температуре. Затем отфильтровывают примеси посредством, например, техники разделения на ситах. Расплав полимера подают в подводный гранулятор горячей резки, далее называемый «подводное гранулирование», и перерабатывают до гранулята, который вследствие подводного гранулирования характеризуется шарообразной формой или формой линзы и имеет высокую внутреннюю температуру.
Этот гранулят ПЭТ через нагнетательный трубопровод с высокой скоростью продвигают к устройству для разделения воды и твердого вещества, причем в качестве движущей среды используют горячую воду, предпочтительно вплоть до 98°С. Важным аспектом для эффективности способа согласно изобретению является относительно короткий транспортный путь между подводным гранулятором горячей резки и устройством для разделения воды и твердого вещества.
Гранулят ПЭТ покидает устройство для разделения воды и твердого вещества с внутренней температурой 130-180°С, поскольку при этом обеспокоены тем, чтобы температура экструзии ПЭТ поддерживалась по возможности долго.
Гранулят, характеризующийся этой температурой, затем подвергают перемещению на транспортере, при этом начинается кристаллизация. Эта кристаллизация, согласно способу по изобретению, обусловлена теплоемкостью, и тем самым достигается, что продукт, то есть гранулят, больше не слипается и не склеивается друг с другом.
Этот эффект также повышается благодаря тому, что закристаллизованный продукт характеризуется шарообразной формой или формой линзы, то есть обладает возможно более малой поверхностью соприкосновения гранул друг с другом. На транспортере гранулы могут омываться текучей средой или через слой гранулятя может протекать текучая среда.
Длительность пребывания шарообразного гранулята в фазе передвижения составляет, например, 3-8 минут, и после прохождения этой фазы гранулят ПЭТ кристаллизуется до 40% и более и имеет температуру больше 100°С. Транспортировка горячего гранулята ПЭТ в запасный бункер или в отделение последующей обработки становится возможной, поскольку гранулят более не слипается.
Далее задачей изобретения является устройство, обеспечивающее возможность передвижения гранулята эффективным образом.
В качестве устройства для передвижения гранулята предпочтительно предусмотрен так называемый желоб кристаллизации. Этот желоб кристаллизации выполнен аналогично транспортному желобу для гранулята, но в направлении перемещения предусмотрительно подразделен на следующие друг за другом камеры, отделенные друг от друга перегородками. Желоб кристаллизации имеет вибрационный мотор, благодаря которому находящийся в нем гранулят непрерывно движется, и таким образом его собственная энергия может передаваться другим гранулам. В отдельных камерах имеет место обкатка гранулята ПЭТ, и склеивание гранулята более невозможно.
Способом согласно изобретению и устройством согласно изобретению достигается мягкая, экономичная и быстрая кристаллизация гранулята ПЭТ.
Пример выполнения изобретения далее поясняется посредством чертежа.
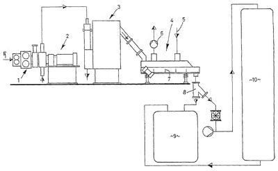
На чертеже цифрой 1 обозначен насос для расплава и ситчатый разделитель (Siebwechsler), к которому в соответствии со стрелкой F1 подают сложный полиэфир. На выходе ситчатого разделителя предусмотрен подводный гранулятор горячей резки 2, с помощью которого получают гранулят в форме шариков или линз. Этот гранулят с помощью транспортера направляют к устройству, разделяющему воду и твердое вещество 3, например к центрифуге, причем транспортировка происходит с помощью технологической воды, которая предпочтительно имеет температуру выше 80°С. Гранулят покидает устройство, разделяющее воду и твердое вещество 3, с температурой выше 110°С и подается на транспортный желоб 4, к которому через ввод 5 может быть подведен приточный воздух, который покидает транспортер 4 из устройства 6 и обеспечивает отвод влаги. Транспортер 4 выполнен как качающийся транспортный желоб с перегородками 7, расположенными поперек направления движения транспортируемого материала, и гранулят выходит из транспортера 4 с температурой гранулята выше 100°С и может через так называемый «распределитель» гранулята (распределительный патрубок) 8 подаваться в устройство для последующей обработки 9 или в бункер 10. Этот гранулят закристаллизован до 40% и более и готов к использованию.
Формула изобретения
1. Способ термической обработки гранул полиэтилентерефталата для достижения частичной кристаллизации, отличающийся тем, что расплав полиэтилентерефталата подают в подводный гранулятор горячей резки и гранулируют, полученный гранулят коротким транспортным путем подают из подводного гранулятора горячей резки в устройство, разделяющее воду и твердое вещество, где начинается кристаллизация, и осушенный гранулят затем, без подвода внешней энергии или теплоты, с температурой гранулята более 100°С направляют на транспортер, причем термическая обработка, приводящая к частичной кристаллизации, происходит за счет теплоемкости гранулята.
2. Способ по п.1, отличающийся тем, что гранулят во время его передвижения на транспортере омывают текучей средой, такой как воздух, инертный газ или жидкость.
3. Способ по п.1, отличающийся тем, что через слой гранулята во время его передвижения на транспортере протекает текучая среда, такая как воздух, инертный газ или жидкость.
4. Способ по п.1, отличающийся тем, что подачу гранулята от подводного гранулятора горячей резки к устройству, разделяющему воду и твердое вещество, осуществляют посредством горячей технологической воды.
5. Способ по п.4, отличающийся тем, что температура технологической воды составляет 98°С.
6. Способ по п.1, отличающийся тем, что гранулят покидает транспортер с температурой выше 80°С.
7. Устройство для проведения способа термической обработки гранул полиэтилентерефталата для достижения частичной кристаллизации гранул по п.1 с насосом для расплава и ситчатым разделителем, а также подводным гранулятором, отличающееся тем, что включает подводный гранулятор горячей резки (2) и транспортер (4) для транспортировки гранулята, непрерывно перемещающий гранулят, последовательно соединенный с устройством, разделяющим воду и твердое вещество (3), причем гранулят кристаллизуется во время транспортировки за счет собственной теплоемкости.
8. Устройство по п.7, отличающееся тем, что транспортер (4) выполнен в виде качающегося конвейера.
9. Устройство по п.7 или 8, отличающееся тем, что транспортер (4) выполнен в виде транспортного желоба.
10. Устройство по п.9, отличающееся тем, что по длине транспортного желоба размещено несколько перегородок (7), отстоящих на расстоянии друг от друга и в каждом случае обеспечивающих скопление материала.
11. Устройство по п.7, отличающееся тем, что транспортер (4), по меньшей мере, частично окружен кожухом.
12. Устройство по п.7, отличающееся тем, что в качестве устройства, разделяющего воду и твердое вещество (3), предусмотрена центрифуга.
РИСУНКИ
|
|